«Գրանցված է»
ՀՀ արդարադատության
նախարարության կողմից
3 սեպտեմբերի 2007 թ.
Պետական գրանցման թիվ 32207312
ՀԱՅԱՍՏԱՆԻ ՀԱՆՐԱՊԵՏՈՒԹՅԱՆ
ԿԱՌԱՎԱՐՈՒԹՅԱՆՆ ԱՌԸՆԹԵՐ
ԱՆՇԱՐԺ ԳՈՒՅՔԻ ԿԱԴԱՍՏՐԻ ՊԵՏԱԿԱՆ ԿՈՄԻՏԵ
23 ապրիլի 2007 թ. |
N 86-Ն |
Հ Ր Ա Մ Ա Ն
I, II, III ԵՎ IV ԴԱՍԵՐԻ ՆԻՎԵԼԻՐԱՑՄԱՆ ՀՐԱՀԱՆԳԸ ՀԱՍՏԱՏԵԼՈՒ ՄԱՍԻՆ
Ղեկավարվելով «Գեոդեզիայի և քարտեզագրության մասին» Հայաստանի Հանրապետության օրենքի 4-րդ հոդվածի 1-ին մասի «գ» ենթակետով, 5-րդ հոդվածի 1-ին մասի «բ» և «գ» ենթակետերով, 8-րդ հոդվածի և Հայաստանի Հանրապետության կառավարության 2002 թվականի սեպտեմբերի 19-ի «Հայաստանի Հանրապետության գեոդեզիայի ոլորտի 2002-2006 թվականների զարգացման ծրագիրը հաստատելու մասին» N 1530-Ն որոշման 1-ին կետի և Հայաստանի Հանրապետության կառավարության 2001 թվականի հոկտեմբերի 24-ի «Գեոդեզիայի և քարտեզագրության բնագավառում Հայաստանի Հանրապետության կառավարության լիազորած պետական կառավարման մարմնի իրավասությունները Հայաստանի Հանրապետության կառավարությանն առընթեր անշարժ գույքի կադաստրի պետական կոմիտեին վերապահելու մասին» N 1028 որոշման պահանջներով՝
Հրամայում եմ՝
1. Հաստատել I, II, III և IV դասերի նիվելիրացման հրահանգը` համաձայն հավելվածի։
2. Հայաստանի Հանրապետության կառավարությանն առընթեր անշարժ գույքի կադաստրի պետական կոմիտեի աշխատակազմի իրավաբանական և օրենսդրության մշակման բաժնի պետ Ա. Հարությունյանին` սույն հրամանը սահմանված կարգով ներկայացնել Հայաստանի Հանրապետության արդարադատության նախարարություն` պետական գրանցման:
3. Սույն հրամանը ուժի մեջ է մտնում պաշտոնական հրապարակմանը հաջորդող տասներորդ օրը:
Կոմիտեի նախագահ՝ |
Մ. Վարդանյան |
Հավելված N 1 | |
Հաստատված է՝ |
Հ Ր Ա Հ Ա Ն Գ
I, II, III ԵՎ IV ԴԱՍԵՐԻ ՆԻՎԵԼԻՐԱՑՄԱՆ
1. ՆԱԽԱԲԱՆ
1.1. Սույն հրահանգով սահմանվում է Հայաստանի Հանրապետության նիվելիրացման աշխատանքների իրականացման կարգը, որը հանդիսանում է որպես տեխնիկական կանոնակարգ:
1.2. Հրահանգում անհրաժեշտ ծավալով և մանրամասնությամբ տրված են տեխնոլոգիական բոլոր պրոցեսները, որոնցով կատարվում են նիվելիրացման աշխատանքները:
2. ԸՆԴՀԱՆՈՒՐ ԴՐՈՒՅԹՆԵՐ
2.1. Հայաստանի Հանրապետությունում պետական նիվելիրային ցանցը բաժանվում է I, II, III և IV դասերի:
2.2. Պետական նիվելիրային ցանցերը նախատեսված են ՀՀ ողջ տարածքում բարձունքային միասնական համակարգ ստեղծելու համար և հիմք են հանդիսանում բոլոր մասշտաբների տեղագրական հանույթների, ինժեներագեոդեզիական, աերոտիեզերահանութային աշխատանքների և երկրի պաշտպանության ու այլ բնագավառներում անհրաժեշտ աշխատանքների կատարման համար:
2.3. Հայաստանի Հանրապետությունում որպես բարձունքային գեոդեզիական համակարգ ընդունված է Բալթիկ ծովի միջին մակարդակը և պետական նիվելիրացման ցանցի բացարձակ բարձրության զրոյական նիշ է հանդիսանում Կրոնշտադտի ֆուտշտոկը:
2.4. Հայաստանի Հանրապետության տարածքում գիտական և գործնական աշխատանքների իրականացման համար գլխավոր բարձունքային հիմք են հանդիսանում I և II դասերի նիվելիրային ցանցերը:
Այդ ցանցերը կառուցվում են հատուկ մշակված ծրագրերով և սխեմաներով՝ կախված I և II դասերի նիվելիրային աշխատանքների բնույթից և դրանց կատարման ժամկետներից:
«Գեոդեզիայի և քարտեզագրության մասին» ՀՀ օրենքի համաձայն I և II դասերի նիվելիրային ցանցերի աշխատանքները հանդիսանում են պետական նշանակության գեոդեզիական աշխատանքներ, որոնք ֆինանսավորվում են ՀՀ պետական բյուջեից, դրանց իրականացման ծրագրերը հաստատվում են ՀՀ կառավարության կողմից, իսկ տեխնիկական նախագծերը հաստատվում են ՀՀ կառավարության տվյալ բնագավառի լիազորած պետական կառավարման մարմնի կողմից:
I և II դասերի նիվելիրային ցանցերն օգտագործվում են Երկրի ձևի և նրա արտաքին գրավիտացիոն դաշտի ուսումնասիրման համար:
I և II դասերի կրկնակի նիվելիրացման արդյունքներն օգտագործվում են՝
ա) բարձունքային ցանցը ժամանակակից մակարդակի վրա պահելու համար,
բ) երկրի մակերևույթի ժամանակակից ուղղաձիգ շարժումների ուսումնասիրման համար,
գ) շրջակա միջավայրի վրա օգտակար հանածոների արդյունահանման ազդեցության կանխատեսման համար,
դ) Հայաստանի Հանրապետության տարածքի սեյսմիկ շրջանացման համար:
Լեռնային շրջաններում կրկնակի նիվելիրացման արդյունքներն օգտագործվում են երկրակեղևի կառուցվածքի ուսումնասիրման, առանձին բլոկների շարժման արագության և ուղղվածության տվյալների ստացման ու երկրակեղևի գործող խզվածքների բացահայտման համար:
2.5. I և II դասերի նիվելիրային գծերն անցկացվում են առավելապես խճուղային կամ երկաթուղային ճանապարհների երկայնքով, իսկ դրանց բացակայության դեպքում՝ գրունտային ճանապարհներով: Բոլոր դեպքերում I և II դասերի նիվելիրային գծերն անցկացվում են տվյալ տարածաշրջանի համար բարենպաստ գրունտային և ոչ բարդ ռելիեֆային պայմաններ ունեցող ուղեգծերով:
2.6. Քաղաքներում և գեոդինամիկական պոլիգոններում բարձունքային ցանցի ստեղծման առանձնահատկությունները տրված են հրահանգի 3-րդ և 4-րդ բաժիններում:
2.7. I դասի նիվելիրացումը կատարում են առավելագույն ճշտությամբ, ժամանակակից սարքերի և դիտարկման մեթոդների կիրառմամբ, որոնք հնարավորություն են տալիս բացառել նիվելիրացման սիստեմատիկ սխալները:
I դասի նիվելիրացման մշակումից ստացված սիստեմատիկ և պատահական միջին քառակուսային սխալների արժեքները և I դասի պոլիգոններում թույլատրելի անկապքները չպետք է գերազանցեն 1 աղյուսակում բերված արժեքները:
Սիստեմատիկ ԵՎ պատահական միջին քառակուսային սխալները ԵՎ պոլիգոնների թույլատրելի անկապքները
Աղյուսակ 1
Նիվելիրացման |
Միջին քառակուսային սխալը |
Պոլիգոններում և գծերում | |
պատահական |
սիստեմատիկ | ||
I |
0.8 |
0.08 |
3 մմ√L* |
II |
2.0 |
0.20 |
5 մմ√L |
III |
5.0 |
- |
10 մմ√L |
IV |
10.0** |
- |
20 մմ√L |
* √L - պոլիգոնի պարագիծը կամ գծի երկարությունը կմ-ով:
** Սխալները հաշվվում են գծերի կամ պոլիգոնների անկապքներով:
2.8. Նիվելիրացման միջին քառակուսային սխալը հաշվում են հետևյալ բանաձևով՝
h2 = (1/4n) ∑ (d2/r), |
s 2 = (1/4∑L) ∑ (S2/L), |
որտեղ d=hուղ. -hհակ., hուղ. և hհակ. - համապատասխանաբար ուղիղ և հակադարձ ընթացքներում ստացված վերազանցումներն են ըստ սեկցիաների մմ-ով, r-ը սեկցիաների երկարությունն է կմ-ով, n-ը սեկցիաների թիվն է, S-ը տվյալ տեղամասում տարբերությունների ∑d կուտակումն է մմ-ով, L-ը տվյալ տեղամասի (գծի) երկարությունն է կմ-ով:
Տեղամասի (գծի) երկարությունը պետք է լինի 100 կմ-ից ոչ պակաս:
Նիվելիրային պոլիգոնների պարագծերը կախված աշխատանքների իրականացման տարածքներից և այլ պայմաններից նշված են 2 աղյուսակում:
Նիվելիրային պոլիգոնների պարագծերը կախված աշխատանքների իրականացման տարածքներից
Աղյուսակ 2
Նիվելիրացման |
Նիվելիրային պոլիգոնների պարագծերը կմ-ով | |||
ՀՀ |
տեղային և |
Քաղաքներ | ||
կառուցապատված |
չկառուցապատված | |||
I |
400-600 |
40 |
-* |
-* |
II |
100-120 |
20 |
50 |
80 |
III** |
30-40 |
- |
25 |
40 |
IV** |
15-20 |
- |
8 |
12 |
* - I դասի նիվելիրային պոլիգոնների պարագծերը քաղաքներում սահմանում են կախված քաղաքային տարածքի ուրվագծից:
** - III և IV դասերի պոլիգոնի պարագծերը կախված են նիվելիրային աշխատանքների նշանակությունից:
Գծերի երկարությունները պոլիգոններում պետք է նույնը լինեն:
2.9. Յուրաքանչյուր 25 տարին մեկ, իսկ սեյսմաակտիվ շրջաններում՝ 15 տարին մեկ նորից նիվելիրացվում են բոլոր I դասի գծերը և համապատասխանաբար յուրաքանչյուր 35 և 25 տարին մեկ՝ II դասի գծերը: Սեյսմաակտիվ շրջանները հաստատվում են ըստ ՀՀ սեյսմիկ շրջանացման քարտեզների:
2.10. II դասի նիվելիրային ցանցը ստեղծվում է I դասի պոլիգոնների ներսում ինչպես առանձին գծերով, այնպես էլ հանգուցային կետերով գծային համակարգի տեսքով՝ ձևավորելով պոլիգոններ: II դասի նիվելիրացման մշակումից ստացված պատահական և սիստեմատիկ միջին քառակուսային սխալների մեծությունների, պոլիգոնների թույլատրելի անկապքների և դրանց պարագծերի արժեքները չպետք է գերազանցեն 1 և 2 աղյուսակներում բերված արժեքները:
2.11. I և II դասերի նիվելիրային գծերում, որոնք անցկացված են գետերի և լճերի երկայնքով, անպայման ընդգրկվում են հիմնական և աշխատանքային հենանիշները:
2.12. III և IV դասերի նիվելիրային ցանցերն անցկացվում են բարձր դասի նիվելիրացման պոլիգոնների ներսում, ինչպես առանձին գծերով, այնպես էլ գծերի համակարգի տեսքով, այդ ժամանակ ցանցերն ու գծերը պետք է հենվեն բարձր դասի երկուսից ոչ պակաս հենանիշների վրա: III և IV դասի պոլիգոնների թույլատրելի անկապքները, դրանց պարագծերը և միջին քառակուսային սխալների մշակումից ստացված արժեքները չպետք է գերազանցեն 1 և 2 աղյուսակներում բերված արժեքները:
2.13. Խոշորամասշտաբ տեղագրական հանույթների բարձունքային հիմքը ստեղծելիս III և IV դասի նիվելիրային ցանցերն անցկացվում են այն հաշվով, որ ապահովվի հանութային հիմքի պահանջվող ճշտությունը:
2.14. Պետական նիվելիրային ցանցի I, II, III և IV դասի գծերը տեղանքում (ուղեգծով) ամրացվում են հենանիշներով` յուրաքանչյուր 5 կմ -ի վրա:
Առանձին տեղամասերի դժվարահաս շրջաններում, որտեղ հենանիշների տեղադիրքի ընտրությունը դժվարանում է, դրանց միջև հեռավորությունը կարելի է հասցնել միչև 7 կմ-ի (ուղեգծով):
Լեռնային շրջաններում I և II դասերի նիվելիրային գծերն ամրացվում են ժայռային և պատային հենանիշներով յուրաքանչյուր 1-2 կմ-ի վրա, իսկ գրունտային հենանիշներով` 3-4 կմ-ի վրա: Գեոդինամիկական պոլիգոններում խզվածքների և հիմնական բլոկների սահմաններին մոտ հենանիշները տեղակայվում են յուրաքանչյուր 0,5-1,5 կմ-ի վրա: Բլոկի կամ խզվածքի յուրաքանչյուր կողմում պետք է տեղադրվի ամենաքիչը երկու հենանիշ:
Քաղաքներում նիվելիրային գծերի հենանիշների միջև հեռավորությունները բերված են 3-րդ բաժնում:
2.15. I, II, III և IV դասի նիվելիրային գծերի վրա տեղակայվում են հետևյալ տիպերի հենանիշներ` դարավոր, հիմնային (ֆունդամենտալ), գրունտային, ժայռային, պատային և ժամանակավոր:
Յուրաքանչյուր հենանիշ պետք է ունենա իր անհատական համարը, որը չպետք է կրկնվի տվյալ գծի վրա, իսկ հնարավորության դեպքում նաև նիվելիրացման մոտակա գծերի վրա:
2.16. Դարավոր հենանիշներն ապահովում են գլխավոր բարձունքային հիմքի երկարաժամկետ պահպանումը, հնարավորություն են տալիս ուսումնասիրել երկրի մակերևույթի ուղղաձիգ շարժումները, ծովերի և օվկիանոսների մակարդակների տատանումները, պահպանում են ուսումնասիրվող երևույթների լրիվ անկախությունը էկզոգեն (արտածին) և տեխնոգեն (տեխնածին) պրոցեսներից:
Դարավոր հենանիշներով ամրացվում են I դասի նիվելիրացման գծերի հատման տեղերը: Առաջին հերթին այդպիսի հենանիշները պետք է տեղադրվեն գեոդինամիկական պոլիգոններում, որտեղ իրականացվում են երկրակեղևի ժամանակակից ուղղաձիգ շարժումների ուսումնասիրությունները:
2.17. Հիմնային հենանիշները բարձունքային հիմքի երկարաժամկետ պահպանություն են ապահովում, թույլ են տալիս ուսումնասիրելու երկրի մակերևույթի ժամանակակից շարժումները: Դրանք ամրացվում են I և II դասերի նիվելիրային գծերի վրա ոչ հաճախ, քան յուրաքանչյուր 60 կմ-ի վրա, ինչպես նաև հանգուցային կետերի վրա, հիմնական գետային և լճային մակարդակային հսկիչ կետերի մոտ:
Սեյսմաակտիվ շրջաններում հիմնային հենանիշներն ամրացվում են յուրաքանչյուր 40 կմ-ի վրա:
Հիմնային հենանիշներից 50-150մ հեռավորության վրա ամրացնում են հենանիշ-ուղեկից:
2.18. Գրունտային, ժայռային, պատային հենանիշներն ապահովում են բարձունքային հիմքի պահպանությունը և հուսալիությունը երկար ժամանակ և օգտագործվում են I, II, III և IV դասերի նիվելիրային ցանցերի ամրացման համար:
2.19. Ժամանակավոր հենանիշներն ապահովում են բարձունքային հիմքի պահպանությունը մի քանի տարվա ընթացքում և բարձունքային հիմք են ծառայում տեղագրական հանույթների ժամանակ: Ժամանակավոր հենանիշներն ընդգրկվում են II, III և IV դասի նիվելիրային ընթացքներում:
2.20. Հենանիշների տեղադիրքերը նշվում են 1:25 000 և ավելի խոշորամասշտաբ տեղագրական քարտեզներում, ճանաչվում են օդալուսանկարներով, որոնք հետագայում կցվում են նիվելիրացման նյութերին: Այդ քարտեզներով որոշվում են հենանիշի գեոդեզիական կոորդինատները 0,25 ճշտությամբ: Յուրաքանչյուր հենանիշի համար կազմում են ուրվանկար և տալիս են դրա տեղադիրքի նկարագիրը: Հենանիշների դասավորությունը նշվում է 1:100 000 մասշտաբի քարտեզներում, որը կցվում է նիվելիրացման նյութերին: Հիմնային և դարավոր հենանիշների կոորդինատները որոշվում են գեոդեզիական գործիքներով՝ 1մ-ից ոչ ավելի սխալով:
2.21. Նորմալ բարձունքային համակարգին անցնելու համար I և II դասի նիվելիրացման հենանիշների միջև վերազանցումները, ինչպես նաև լեռնային շրջաններում III դասի նիվելիրացումը ճշտում են ուղղումներով, որոնք հաշվում են հետևյալ բանաձևով՝
d h =1/gm (gA- gB)Hm+h/gm (g - g)m,
որտեղ gm-ը այդ կետերի նորմալ բարձրությունների երկայնքով նորմալ ծանրության ուժի միջին արժեքների միջինն է, gA և gB - ծանրության ուժի նորմալ արագացումներն են A և B հենանիշները համապատասխանող հաշվանքային էլիպսոիդի վրա, (g - g)m - A և B հենանիշների վրա ծանրության ուժի անոմալիաների միջինն է,Hm - ը A և B հենանիշների բացարձակ բարձրությունների միջինն է, h-ը A և B հենանիշների միջև չափած վերազանցումն է:
2.22. Նիվելիրային գծերի կապակցման աշխատանքները կատարվում են մշակված և հաստատված տեխնիկական նախագծերի հիման վրա:
2.23. Նիվելիրային ցանցի հավասարակշռումն ավարտելուց հետո, կազմում են նիվելիրացման հենանիշների բարձրությունների կատալոգ:
2.24. Նիվելիրացման դաշտային աշխատանքների կատարման ժամանակ առաջնորդվում են «Տեղագրագեոդեզիական աշխատանքների անվտանգության տեխնիկայի կանոնների» պահանջներով, որը 07.11.2001 թ. գրանցված է ՀՀ արդարադատության նախարարության կողմից:
3. I, II, III ԵՎ IV ԴԱՍԻ ՆԻՎԵԼԻՐԱՑՈՒՄԸ ՔԱՂԱՔՆԵՐՈՒՄ, ԱՅԼ ԲՆԱԿԱՎԱՅՐԵՐՈՒՄ ԵՎ ԱՐԴՅՈՒՆԱԲԵՐԱԿԱՆ ՀՐԱՊԱՐԱԿՆԵՐՈՒՄ
3.1. Նիվելիրացման մեթոդին, նիվելիրներին և չափաձողերին ներկայացվող պահանջները, կայաններում հաշվարկների կատարման հերթականությունը նույնն է, ինչ որ համապատասխան դասի պետական նիվելիրային ցանցերի ստեղծման համար: Տարբերությունը ընթացքների թույլատրելի երկարության և ամրացվող հենանիշների հաճախականության մեջ է:
3.2. Քաղաքներում, որոնց տարածքները 200 կմ2-ից ավելի են, ստեղծում են I դասի նիվելիրային ցանց: I դասի նիվելիրային ցանցերի կառուցման սխեմաները քաղաքներում տարբեր են, դա պոլիգոնների կամ էլ հատվող գծերի համակարգ է,: Ցանցի տեսակը և գծերի տեղաբաշխումը կախված է քաղաքային տարածքի ուրվագծից: Ցանցի հետագա խտացումը կատարում են II, III և IV դասի նիվելիրացմամբ:
Քաղաքներում I և II դասերի բարձունքային ցանցերը կրկնակի նիվելիրացվում են 15 տարուց ոչ շուտ:
3.3. 50 - 200 կմ2 տարածք ունեցող քաղաքներում ստեղծում են II դասի նիվելիրային ցանց: II դասի նիվելիրային գծերը պետք է ծածկեն քաղաքի ողջ տարածքը` ինչպես կառուցապատված, այնպես էլ չկառուցապատված: II դասի ցանցի հանգուցային հենանիշների միջև հեռավորությունները չպետք է գերազանցեն 15 կմ-ը կառուցապատված և 20 կմ-ը չկառուցապատված տարածքներում: I դասի ելակետային հենանիշների միջև II դասի նիվելիրային գծերի երկարությունները կարող են լինել մինչև 25 կմ: Քաղաքներում II դասի նիվելիրային պոլիգոնների պարագծերը բերված են 2 աղյուսակում:
3.4. I և II դասերի նիվելիրային գծերի վրա հենանիշներն ամրացվում են յուրաքանչյուր 2 կմ-ի վրա կառուցապատ և 3 կմ-ի վրա չկառուցապատված տարածքներում: Նախապատվությունը տրվում է պատային հենանիշներին, որոնք ամրացվում են ամուր քարե կամ երկաթբետոնե շենքերին ու շինություններին:
3.5. 10-50 կմ2 տարածք ունեցող քաղաքներում ստեղծում են III դասի ցանց, իսկ մինչև 10 կմ2 տարածք ունեցող՝ բնակավայրերում` միայն IV դասի նիվելիրային ցանց:
3.6. III դասի նիվելիրային գծերի երկարությունները հանգուցային հենանիշների միջև կառուցապատված տարածքներում 10 կմ-ից ավելի չպետք է լինեն, չկառուցապատված տարածքներում` 15 կմ-ից, իսկ բարձր դասի հենանիշների միջև համապատասխանաբար` 15 և 20 կմ-ից ավելի:
III դասի նիվելիրային գծերն անցկացվում են միմյանց զուգահեռ և իրար հետ կապվում են ընթացքներով յուրաքանչյուր 5կմ-ի վրա` կառուցապատված և 8 կմ-ի վրա չկառուցապատված տարածքներում:
IV դասի նիվելիրային գծերի երկարությունները բարձր դասի հենանիշների միջև չկառուցապատված տարածքներում 2 կմ-ից ավելի չպետք է լինեն, կառուցապատված տարածքներում 4 կմ-ից ավելի, իսկ հանգուցային հենանիշների միջև համապատասխանաբար 1 և 2 կմ-ից ավելի: III և IV դասի նիվելիրային պոլիգոնների պարագծերը տրված են 2 աղյուսակում:
3.7. III և IV դասի նիվելիրային գծերի վրա հենանիշներն ամրացվում են կապիտալ շենքերով կառուցապատված փողոցներում և նրբանցքներում յուրաքանչյուր 300 մ-ի վրա, քաղաքի նոսր կառուցապատված մասերում կամ այլ բնակավայրերում հենանիշների միջև հեռավորությունը կարելի է մեծացնել մինչև 800 մ, չկառուցապատված տարածքներում հենանիշներն ամրացնում են 500-2000 մ-ի վրա:
3.8. Քաղաքների, այլ բնակավայրերի, մեծ արդյունաբերական և հիդրոտեխնիկական օբյեկտների նիվելիրային ցանցերը պետք է կապված լինեն պետական նիվելիրային ցանցի հետ: Դրա համար տեղական նիվելիրային ցանցում ընդգրկում են 2 հենանիշից ոչ պակաս, որոնց բարձրությունները հայտնի են պետական նիվելիրացումից:
3.9. Քաղաքի նիվելիրային ցանցի ելակետային հենանիշները պետք է տեղադրվեն կայուն շենքերի և շինությունների վրա, որոնք կառուցվել են ամրացումից նվազագույնը 7 տարի առաջ: Դրանց պահպանումը երաշխավորվում է երկար տարիների համար: Որպես ելակետային հենանիշ կարող են օգտագործվել պետական նիվելիրացման հիմնային և գրունտային հենանիշները:
3.10. Խոշոր քաղաքներում և յուրահատուկ շինություններ ունեցող տարածքներում, որոնք գտնվում են 7 բալից ավելի սեյսմաակտիվ գոտում, բարձունքային ցանցեր ստեղծելիս տարածքի սեյսմիկ միկրոշրջանացման նպատակով նիվելիրացումն իրականացնում են II դասի պետական նիվելիրացման համար նախատեսված ծրագրով: Այս դեպքում դիտման ճառագայթի նորմալ երկարությունը, դիտման ճառագայթի բարձրությունը հողի մակերևույթից, d=hուղիղ - hհակ. տարամիտության թույլատրելի արժեքներն ընդունում են այնպես, ինչպես I դասի պետական նիվելիրացման ժամանակ: Կառուցապատված տարածքի սեյսմիկ միկրոշրջանացման ժամանակ II դասի նիվելիրային ցանցերը կառուցում են պոլիգոնների տեսքով՝ մինչև 15 կմ պարագծով, չկառուցապատված տարածքներում` մինչև 20 կմ պարագծով: Այդ պոլիգոններում անկապքը չպետք է գերազանցի 3մմ √L , որտեղ L-ը պոլիգոնի պարագիծն է կմ-ով: Կրկնակի նիվելիրացման ժամկետները սահմանվում են ելնելով երկրի մակերևույթի ուղղաձիգ շարժումների հայտնաբերված արագություններից:
4. I ԵՎ II ԴԱՍԻ ՆԻՎԵԼԻՐԱՑՈՒՄԸ ԳԵՈԴԻՆԱՄԻԿԱԿԱՆ ԵՎ ՏԵԽՆԱԾԻՆ ՊՈԼԻԳՈՆՆԵՐՈՒՄ
4.1. Գեոդինամիկական պոլիգոնները ստորաբաժանվում են՝
ա) տեղային պոլիգոնների, որոնք տեղադրված են երկրակեղևի ակտիվ խորքային խզվածքների և բեկվածքների վրա,
բ) մակերեսային պոլիգոնների, որոնք ընդգրկում են ավերիչ երկրաշարժերի հնարավոր էպիկենտրոնների, խիտ բնակեցված և շահագործման հանձնված ինչպես նաև կառուցվող հիդրոկայանների շրջանները,
գ) տարածաշրջանային պոլիգոնների, որոնք կապում են խոշոր երկրաբանական կառույցները:
4.2. Տեղային և մակերեսային պոլիգոններում բարձունքային ցանցերը ստեղծվում են I և II դասերի նիվելիրային հատվող գծերի տեսքով: I և II դասերի նիվելիրային պոլիգոնների պարագծերը բերված են 2 աղյուսակում:
4.3. Բարձունքային ցանցերը տեղային և մակերեսային կառույցների վրա կապվում են ՀՀ Գլխավոր բարձունքային հիմքի միասնական համակարգում, բարձրություններ ստանալու համար: Այս դեպքում նիվելիրացման ցանցը հանդես է գալիս որպես պետական նիվելիրային ցանցի հենանիշի վրա հենվող ազատ ցանց:
Տարածաշրջանային կառույցների բարձունքային ցանցերը մտնում են I և II դասի պետական նիվելիրային ցանցի մեջ:
4.4. Նիվելիրացման մեթոդիկային, նիվելիրներին և չափաձողերին ներկայացվող պահանջները և կայաններում հաշվեցույցների վերցման կարգը նույնն է, ինչ որ համապատասխան դասի պետական նիվելիրացման աշխատանքներ կատարելիս:
4.5. Գեոդինամիկական պոլիգոններում գծերն ամրացնելիս նախապատվությունը տրվում է ժայռային և պատային հենանիշներին:
I դասի նիվելիրացման գծերից 0,5 կմ և II դասի գծերից 1 կմ հեռավորության վրա գտնվող բոլոր հին հենանիշները և չգործող հորատանցքերն անպայման կապվում են այդ գծերի հետ համապատասխանաբար I կամ II դասի նիվելիրացմամբ: Չգործող հորատանցքին զոդում են դրոշմանիշ, որը ծառայում է որպես դարավոր հենանիշ: Եթե պոլիգոնում չկան այդպիսի հորատանցքեր, ապա տեղակայում են դարավոր հենանիշ: Դարավոր հենանիշից 30-70մ հեռավորությամբ տեղակայում են այդ պոլիգոնում կիրառվող բոլոր տեսակի գրունտային կենտրոններն ու հենանիշները: Տարին երկու անգամ (ամռանը և ձմռանը) նիվելիրացնում են տարածքի բոլոր հենանիշները և համեմատում են ստացված բարձրությունների տարբերությունները: Հենանիշների որոշ տիպեր, որոնք բացահայտ անկայուն են, հանում են հետագա նիվելիրացումից:
4.6. Գեոդինամիկական և տեխնածին պոլիգոններում I և II դասի նիվելիրացումը գիտական գեոֆիզիկական համալիր հետազոտությունների մի մասն է, որը ծառայում է երկրի մակերևույթի ձևափոխությունների քանակական բնութագրի ստացմանը: Դրա համար չափումները կատարվում են մի քանի փուլերով: Կրկնակի նիվելիրացման միջև ժամանակը սահմանվում է կախված երկրակեղևի ժամանակակից սպասվելիք ուղղաձիգ շարժումների արագությունից:
4.7. Տեխնածին պոլիգոններում նիվելիրային ցանցերի նախագծման ժամանակ հեռավորությունը հանքավայրի սահմանի և անշարժ համարվող հենանիշների միջև ընդունում են ներքին շահագործման հորիզոնի ութակի խորությանը հավասար, որը 6 կմ-ից պակաս չպետք է լինի: Նախագծվող գծերն անցկացնում են ցանցերի կամ առանձին գծերի տեսքով: Չորս հենանիշներից ոչ պակաս պարագծով հանքավայրի ուրվագծի հետ համընկնող նիվելիրային պոլիգոնով անցկացնում են ընթացքներ դեպի անշարժ հենանիշները:
4.8. Պոլիգոնի գծերը պետք է համընկնեն նախօրոք անցկացված նիվելիրային ընթացքների հետ: Նոր գծերն անցկացնում են տեղական մայրուղիների երկայնքով կամ նիվելիրացման համար բարենպաստ տեղանքով:
5. ՆԱԽԱԳԾԻ ԿԱԶՄՈՒՄԸ
5.1. Նիվելիրային աշխատանքների տեխնիկական նախագծերը մշակվում են ղեկավարվելով սույն հրահանգի պահանջներով, նախագծման համար գործող նորմատիվ փաստաթղթերով և հաստատվում են սահմանված կարգով մինչև աշխատանքների սկիզբը:
Նախագիծը կազմելուց առաջ հավաքում և վերլուծում են նախկինում կատարված նիվելիրացման աշխատանքների բոլոր նյութերը: Այդ աշխատանքների մասին տեղեկությունները սահմանված կարգով ստանում են ՀՀ կառավարության լիազորված ծառայությունից:
5.2. Հետազոտումն ու տեղազննումն իրականացվում է մինչև հենանիշների վերականգնման ու տեղադրման և I և II դասի նիվելիրացման նախագծի կազմումը, որը հավաստի տեղեկություններ է տալիս նախագծվող աշխատանքների ծավալների վերաբերյալ և բարձրացնում է նախագծերի որակը:
5.3. Տեխնիկական նախագծում հաստատում են աշխատանքների ծավալը, դրանց նախահաշվային արժեքը, նախանշում նիվելիրային աշխատանքների իրականացման տեխնոլոգիան և աշխատանքների նյութատեխնիկական ապահովվածությունը:
Նախագծի տեքստային մասում նշվում են՝
ա) աշխատանքների իրականացման տարածքի ֆիզիկաաշխարհագրական և կլիմայական պայմանների համառոտ բնութագիրը,
բ) նախագծվող աշխատանքների նշանակությունը,
գ) ելակետային հենանիշները,
դ) տեղեկություններ նախկինում կատարված նիվելիրային աշխատանքների և նախագծվող աշխատանքների հետ դրանց կապման եղանակների վերաբերյալ,
ե) կապի նոր հանգույցի ձևավորման հիմնավորում,
զ) I և II դասերի նիվելիրացման համար ծանրաչափական աշխատանքների մասին տվյալներ բոլոր շրջաններում և III դասի նիվելիրացման համար լեռնային շրջաններում,
է) տեղեկություններ վաղուց տեղադրված հենանիշների վերաբերյալ և նախագծվող հենանիշների տիպերի ընտրության հիմնավորումը,
ը) նախագծվող հենանիշների քանակն ըստ տիպերի,
թ) I և II դասերի կրկնակի նիվելիրացման գծերի համար փոփոխությունների և լրացումների հիմնավորում, որոնք ներդրված են նախագծով գոյություն ունեցող գծերի տեղադրության և ամրացման համար,
ժ) հենանիշների ամրացման և նիվելիրային աշխատանքների իրականացման տեխնոլոգիան,
ի) նիվելիրացման եղանակները և սարքավորումները,
լ) նիվելիրացման հատուկ դեպքեր (ջրային արգելքների վրայով բարձրությունների փոխանցումը մակարդակային կետերին),
խ) նիվելիրացման արդյունքների մշակման կարգը,
ծ) գործիքային եղանակով հենանիշների կոորդինատների որոշման տեխնոլոգիան:
5.4. Բոլոր դասերի նիվելիրային գծերի նախագծումը կատարվում է 1:100 000 - 1:200 000 մասշտաբի քարտեզների վրա: Անհրաժեշտության դեպքում նախագիծը ճշտում են ավելի խոշոր մասշտաբի քարտեզներով: II, III և IV դասերի նիվելիրային գծերի նախագծման ժամանակ քարտեզի վրա տեղադրվում են գոյություն ունեցող հենանիշները, արբանյակային գեոդեզիական ցանցի կետերը, բոլոր դասերի եռանկյունավորման և պոլիգոնոմետրիայի կետերը, որոնք գտնվում են նախագծվող ընթացքից մինչև 3 կմ հեռավորության վրա:
1:10 000 և ավելի խոշոր մասշտաբների տեղագրական հանույթի ապահովման համար III և IV դասերի նիվելիրային ընթացքների նախագծման ժամանակ նիվելիրային ցանցում ընդգրկում են 1, 2, 3 և 4 դասի եռանկյունավորման ու պոլիգոնոմետրիայի բոլոր կետերը, ինչպես նաև հաշվի են առնում գործող նորմատիվ-տեխնիկական փաստաթղթերի պահանջները:
Եռանկյունավորման կետերի բարձրությունների որոշման համար III և IV դասի նիվելիրային գծերի նախագծման ժամանակ քարտեզի վրա բացի գոյություն ունեցող կետերից տեղադրվում են նաև նախագծվող կետերը:
Անկախ հանութագրվող տարածքի սահմաններից, III դասի նիվելիրային գծերը նախագծում են II դասի պոլիգոնի սահմաններում, իսկ IV դասի նիվելիրային գծերը՝ III դասի պոլիգոնի սահմաններում: II, III և IV դասի նիվելիրացման տեխնիկական նախագծերում կարող են նախատեսվել ժամանակավոր հենանիշների ամրացում տեղագրական հանույթի ժամանակ օգտագործելու համար:
5.5. Ավելի մանրամասն մշակում են նոր և գոյություն ունեցող գծի կապի նախագծերը: Այդ դեպքում առաջնորդվում են հետևյալով.
ա) նախագծվող գծի սկիզբն ու վերջը պետք է ուղղակի և հուսալի կապված լինեն գոյություն ունեցող ավելի բարձր կամ նույն դասի նիվելիրային գծերի հետ,
բ) կապը նախագծվող և գոյություն ունեցող I և II դասերի նիվելիրային գծերի միջև իրականացվում է գծում մեկ հենանիշի ընդգրկման ճանապարհով և դրան հարող գոյություն ունեցող գծերի ստուգողական նիվելիրացմամբ: Ստուգողական նիվելիրացումն իրականացնում են հիմնային հենանիշներին հարող սեկցիաներով: Գծերը կապելու համար կարելի է նաև ստուգողական նիվելիրացում կատարել հարակից հենանիշների միջև,
գ) III և IV դասերի նախագծվող գծերի կապը գոյություն ունեցող I, II, III և IV դասերի նիվելիրային գծերի հետ իրականացնում են գոյություն ունեցող գծերի մեկ հենանիշի ընդգրկման ճանապարհով,
դ) III և IV դասի նիվելիրային գծերը չեն տեղակապում հիմնային հենանիշներին,
ե) նախկինում իրականացված նիվելիրացման բոլոր հենանիշները (բացի ժամանակավորներից), որոնք տեղաբաշխված են նախագծվող I և II դասերի գծերի վրա, ընդգրկվում են դրանց մեջ: Նոր գծին մոտ գտնվող հենանիշները կապակցվում են երկու հիմնական հենանիշների միջև առանձին ընթացքներով,
զ) նախագծվող I դասի գծերի կապը գոյություն ունեցող III և IV դասի գծերի հետ նախատեսում են միայն այն դեպքերում, երբ III և IV դասերի հենանիշները տեղակայված են I դասի նիվելիրային գծերից 500 մ-ից ոչ ավելի հեռավորության վրա, իսկ II դասի գծերից` մինչև 3 կմ հեռավորության վրա:
5.6. Նիվելիրային գծերի յուրաքանչյուր ստեղծվող կապի հանգույցի համար կազմում են խոշոր մասշտաբով հատուկ սխեմա, որի վրա ցույց են տրվում բոլոր կապվող գծերի ուղղությունները և գոյություն ունեցող հենանիշները, որոնք ենթակա են նախագծվող գծին ամրացվելու կամ ստուգողական նիվելիրացման մեջ ընդգրկվելու:
5.7. Ջրային արգելքների առկայության դեպքում նիվելիրացումը նախագծում են անցկացնել համեմատաբար նեղ տեղերում` օգտագործելով կղզիները և ծանծաղուտները:
Եթե I, II և III դասի նիվելիրային գծերի վրա ջրային արգելքի լայնությունը կազմում է 150մ և ավելի, ապա երկու ափին էլ նախատեսվում է հենանիշների հիմնադրում (մեկական յուրաքանչյուր ափին): Հենանիշը հիմնադրում են չհեղեղվող վայրում: Դրանց միջև վերազանցումը չպետք է գերազանցի 0.5 մ:
5.8. I և II դասերի կրկնակի նիվելիրային գծերի նախագծում նախատեսվում են.
ա) ավելի վաղ ոչ խիտ ձևով ամրացված հենանիշներով անցկացված նիվելիրային գծերի վրա լրացուցիչ ժամանակակից տիպերի հենանիշների ամրացում,
բ) ավելի վաղ ամրացված համեմատաբար հուսալի հենանիշների տեղակապումը նոր հենանիշների հետ, եթե փոխվել է նիվելիրային գծերի դիրքերը: Տեղակապումը իրականացնում են առանձին ընթացքներով համապատասխան դասի նիվելիրային երկու հիմնական հենանիշների միջև կամ ավելի վաղ ամրացված II դասի նիվելիրային երկու նոր հենանիշների միջև: Առաջին դեպքում տեղակապում են իրարից 20-50 կմ հեռավորության վրա գտնվող հենանիշները, երկրորդ դեպքում ներառում են ավելի վաղ ամրացված պահպանված բոլոր հենանիշները,
գ) պարտադիր տեղակապման համար ներառում են հիմնական, ինչպես նաև աշխատանքային հենանիշները, գետերի զրոները և գետային մակարդակային կետերը, որոնք սկզբնական նիվելիրացման ժամանակ տեղակապված չեն եղել:
5.9. Հենանիշների տիպերը և դրանց ամրացման խորությունը նախագծելիս հենանիշների և կենտրոնների հիմնադրման խորությունները որոշելու համար օգտագործում են գրունտների սառեցման շերտի խորության տվյալների:
6. ՆԻՎԵԼԻՐԱՅԻՆ ԳԾԵՐԻ ՏԵՂԱԶՆՆՈՒՄՆ ՈՒ ՀԵՏԱԶՈՏՈՒՄԸ
6.1. Տեղազննումը և հետազոտումը պարտադիր են I և II դասի նիվելիրային ընթացքների ժամանակ, իսկ III և IV դասերի ընթացքների ժամանակ այդ աշխատանքները համատեղվում են հենանիշների հիմնադրման հետ:
6.2. Տեղազննման ժամանակ փնտրում են գծերի և կապի հանգույցների լավագույն տարբերակները, նշում են հենանիշների տիպերը և հիմնադրման տեղերը, ինչպես նաև հավաքում են անհրաժեշտ տեղեկություններ հետագա աշխատանքների կազմակերպման և իրականացման համար:
6.3. Տեղազննողը պետք է ունենա նիվելիրային աշխատանքների կատարման փորձ և պատրաստվածություն հենանիշների կայունության վրա ազդող բազմաթիվ բնական գործոնները գնահատելու համար:
6.4. I դասի նիվելիրային գծերի և հենանիշների հիմնադրման լավագույն տեղերի հիմնավոր տարբերակների ընտրության նպատակով տեղազննումների ժամանակ ներգրավում են երկրաբանական կազմակերպությունների, իսկ ավելի դժվար պայմանների դեպքում` երկրաբանների կամ գեոմորֆոլոգ աշխարհագրագետների:
6.5. Դաշտային աշխատանքները սկսելուց առաջ տեղազննողը հավաքում է տվյալ տարածքում գոյություն ունեցող նիվելիրային աշխատանքների վերաբերյալ հետևյալ տեղեկությունները.
ա) ընթացքի կարգը և անունը,
բ) նիվելիրացումն իրականացնող կազմակերպության անվանումը, կատարման տարեթիվը,
գ) ընթացքների սխեմաները,
դ) հենանիշների ուրվանկարները և տեղադիրքի նկարագիրը, ինչպես նաև դրանց տիպերը (գծագրերը),
ե) քաղվածքներ կատալոգներից և հաշվետվություններից,
զ) համեմատաբար խոշոր մասշտաբի քարտեզներ, որոնց վրա՝ անցկացված են հենանիշները կամ դրանցից ստացված պատճենաքաղվածքները:
6.6. Տեղազննումը սկսվում է սկզբնական հենանիշի վիճակի հետազոտությունից և շարունակվում է նշված գծի ուղղությամբ: Տեղազննողը դաշտում խոշորամասշտաբ քարտեզի կամ օդալուսանկարի վրա նշում է նոր հենանիշների հիմնադրման տեղերը, կազմում է նկարագրեր, ուրվանկարներ և տեղանքում նշում է նոր հենանիշների հիմնադրման տեղերը:
6.7. Ջրային արգելքները հատող նիվելիրային գծերի տեղազննման ժամանակ ընտրում են այնպիսի տեղամասեր, որոնք ունեն լավ ուղիներ դեպի ափերը և որոնցում ջրային արգելքների լայնությունը 150 մ-ը չի գերազանցում: 400 մ-ից ավելի լայնությամբ ջրային արգելքների վրայով անցուղիների թիվն անհրաժեշտ է հասցնել նվազագույնի:
6.8. Տեղազննման ենթակա են այն հենանիշները, որոնցով իրականացվելու է կրկնակի նիվելիրացումը.
ա) ընդգրկվելով ընթացքի գծի մեջ կամ տեղակապվելով դրա հետ,
բ) կապի հանգույցներում ընդգրկվելով ստուգողական նիվելիրացման մեջ:
Բացի այդ հենանիշների հետազոտումը իրականացնում են գեոդեզիական ցանցերի հետազոտման և վերականգնման ժամանակ ըստ համապատասխան հրահանգների:
6.9. Կրկնակի նիվելիրացվող գծերի վրա նիվելիրացումների միջև տեղի ունեցած փոփոխությունները բացահայտելու նպատակով բացի հենանիշներից հետազոտվում են նաև նախորդ գծերը և անհրաժեշտության դեպքում առանձին տեղամասերում անցկացվում են նոր գծեր: Առանց բավարար հիմք ունենալու նախկին գիծը փոխել չի թույլատրվում:
6.10. Հենանիշների դաշտային տեղազննման ժամանակ տեղազննողը հետազոտում է.
ա) հենանիշի վիճակը, դրա պահպանվածությունը և տվյալ տիպի հենանիշի համապատասխանությունը ժամանակակից պահանջներին, արտաքին ձևավորման խախտումը, դրոշմանիշների ցեմենտացման ամրությունը,
բ) պատային հենանիշի համար որոշում են այն կառուցվածքի վիճակը, որի վրա նա ամրացված է, շինության տեղադիրքը, բնութագիրը և հարկայնությունը, պատերի վրա ճեղքերի առկայությունը և չափերը հիմքի տեսանելի խախտումները և այլն,
գ) հենանիշի ամրության վրա ինժեներաերկրաբանական գործոնների ազդեցությունը:
Տեղանքի ուսումնասիրության և տեղի բնակչության շրջանում կատարված հարցումների արդյունքներով ի հայտ են բերվում այնպիսի գործոններ, որոնք կարող են վատ ազդել հենանիշի ամրության վրա,
ա) հետազոտում են տեղանքը, որտեղ ամրացված է հենանիշը,
բ) որոշում են գրունտի տիպը, մեխանիկական կազմը և դեֆորմացիայի ենթարկվելու ունակությունը,
գ) որոշում են գրունտային ջրերի խորությունը, դրանց մակարդակների փոփոխությունը կրկնվող նիվելիրացումների միջև ընկած ժամանակահատվածում և ռելիեֆի առանձնահատկությունները:
6.11. Հենանիշները համարվում են անկայուն, եթե դրանց հետազոտության ժամանակ հայտնաբերվել են նկատելի վնասվածքներ և կոնստրուկցիաների անհամապատասխանություն ժամանակակից պահանջների հետ: Հենանիշը համարվում է անկայուն նաև այն դեպքում, եթե դրա հիմնադրման տեղում ի հայտ են եկել կարստային երևույթներ, սողանքներ և այլ գործոններ, որոնք կարող են ազդել դրա դիրքի փոփոխության վրա:
Գրունտային հենանիշների հիմնադրման համար անբարենպաստ են համարվում.
ա) շարժուն ավազների շրջանում` ավազաթմբերի գագաթները, թակիրներով տեղամասերը,
բ) փխրահողերում` իջվածքները, որոնք կապված են հողի արհեստական և բնական խոնավացման հետ:
Ժայռային հենանիշները համարվում են անկայուն, եթե դրանք տեղակայված են ժայռաբեկորների, ինչպես նաև քայքայված և ճաքերով ապարների մեջ:
Անկայուն են համարվում այն պատային հենանիշները, որոնք ամրացված են.
ա) քանդվող կամ խիստ դեֆորմացիայի ենթարկված շենքերի ու շինությունների պատերին և եթե հայտնաբերվել են նշանի դիրքի խախտումներ (ճոճվում է կամ կոտրված է գլխիկը, տեղադրված է այլ վայրում),
բ) մշտական ջրհոսքերի վրա կառուցած կամուրջների հաստարաններում, ջրահեռ խողովակներում,
գ) պաշտպանիչ շինությունների պատերին, երկաթուղիներին մոտ գտնվող շենքերում ու շինություններում, ոչ կապիտալ շինություններում, որոնք բարձրությամբ կարող են փոխել իրենց դիրքը ցրտից ուռչելու հետևանքով, փայտե տների քարե գետնախարիսխներին և քարե ցանկապատերին:
6.12. Ավելի վաղ կատարված նիվելիրացման հենանիշները, որոնք նախատեսված են ընդգրկելու անցկացվող գծի կամ ստուգիչ նիվելիրացման մեջ, տեղանքում հայտնաբերվում են կոորդինատներով, խոշորամասշտաբ քարտեզներով, ուրվանկարով, աերոհանույթի և պլանաբարձունքային նախապատրաստման նյութերով, գեոդեզիական կամ ֆոտոգրամետրական կոորդինատներով, որոնք հաշվված են գեոդեզիական ցանցի կետերից անալիտիկ եղանակով, ինչպես նաև հենանիշի արտաքին ձևի և համադրման նկարագրությամբ, որոնք կարելի է ստանալ տեղի բնակչությունից:
6.13. Չհայտնաբերված հենանիշները ոչնչացված չեն համարվում: Ոչնչացման պատճառ են հանդիսանում հենանիշի քայքայումը, այն շինության քանդումը, որի վրա հենանիշն ամրացված էր, հենանիշի գլխիկի ոչնչացումը, խողովակաձև հենանիշի ձևափոխումը և այլն: Ոչնչացված կարելի է համարել վարելահողում գտնվող հենանիշը, եթե դրա տեղը չափումներով, նկարագրությամբ և տեղի բնակչության շրջանում հարցումներով չի հաջողվել գտնել:
6.14. Բոլոր հայտնաբերված հենանիշները գնահատվում են իրենց հուսալիությամբ: Տեղազննողը հաստատում է այն գործոնների առկայությունը, որոնք նիվելիրացումների միջև ընկած ժամանակահատվածում կարող էին առաջացնել հենանիշի դիրքի փոփոխություն բարձրությամբ և այդ գործոնների ուսումնասիրության հիման վրա եզրակացություն է տալիս հենանիշի կայունության վերաբերյալ: Հենանիշները կայունությամբ բաժանում են երեք խմբի՝
ա) կայուն - առանց տեսանելի խախտումների և տեղադրված կայունության համար բարենպաստ վայրերում,
բ) համեմատաբար կայուն - աննշան վնասվածքներով և տեղադրված կայունության համար ոչ բավարար նպաստավոր պայմաններում,
գ) անկայուն - նշանակալի վնասվածքներով և ձևափոխություններով և տեղադրված անբարենպաստ պայմաններում:
Այն դեպքում, երբ տեղազննողը գտնում է, որ տվյալ հենանիշը անկայուն է, դրանից 2 կմ հեռավորության վրա տեղ է ընտրում նոր հենանիշ հիմնադրելու համար և նշում է, որ հին հենանիշը չի ընդգրկվում նիվելիրային գծի մեջ, այլ միայն տեղակապվում է նրա հետ:
6.15. Հետազննության ժամանակ հաստատում են հայտնաբերված և անկայուն ճանաչված հենանիշների վերականգնման և արտաքին ձևավորման աշխատանքների ծավալները: Տեղազննողն իրականացնում է վերականգնողական աշխատանքները` հենանիշի պիլոնի կոտրված անկյան բետոնացում, դրոշմանիշի և խողովակի վերին մասի հակակոռոզիոն ներկում, ժայռի վրա մակագրություն, ճանաչման սյունի տեղադրում պահպանման մասին մակագրությամբ և այլն: Եթե հենանիշի արտաքին ձևավորումը խախտված է, ապա վերականգնում են սույն հրահանգի պահանջների համաձայն:
6.16. Այն դեպքում, երբ հաստատում են, որ հետազոտվող I և II դասերի նիվելիրային գծերի առանձին տեղամասերն անհարմար են նիվելիրացման համար և կապի նախագծվող հանգույցների որոշ հենանիշներ ոչնչացված են, տեխնիկական նախագծում կատարվում է փոփոխություն:
6.17. Հենանիշների հիմնադրման վայրն ընտրում են բնորոշ ուրվագծերին և կողմնորոշիչներին մոտ, որոնք հետագայում հեշտացնում են դրանց հայտնաբերումը տեղանքում և ճանաչումն աերոֆոտոհանույթի նյութերի վրա: ՈՒրվագծերի և կողմնորոշիչների բացակայության դեպքում առաջարկություն են անում հենանիշի դրոշմանշման եղանակների մասին, եթե մոտ ժամանակներում կատարվելու է տեղանքի աերոֆոտոհանույթ:
6.18. Հենանիշների երկարաժամկետ պահպանություն և հուսալիություն ապահովելու նպատակով դրանց հիմնադրման վայրը հնարավորության դեպքում ընտրում են թույլ խոնավությամբ և խոշորահատիկ գրունտով բարձունքներում: Ցանկալի է, հենանիշները հիմնադրել ժայռային ապարներին և կապիտալ քարե, բետոնե և երկաթբետոնե շենքերին ու շինություններին:
Հենանիշների հիմնադրման վայրերում գրունտային ջրերի մակարդակը պետք է լինի հողի մակերևույթից երեք մետրից ոչ պակաս խորության վրա: Գերխոնավ և ճահճային գրունտներում հենանիշների հիմնադրման դեպքերը պետք է բացառիկ լինեն: Գրունտային ջրերի խորությունը որոշում են հորատմամբ ըստ հիդրոերկրաբանական տվյալների, որոնք ստացվել են օդերևութաբանական կայաններից և տեղի մասնագիտացված կազմակերպություններից, ինչպես նաև տեղի բնակչության շրջանում կատարված հարցումների արդյունքներից:
Հատուկ ուշադրությամբ ընտրում են դարավոր և հիմնային հենանիշների հիմնադրման տեղերը: 4-5 մետր խորության վրա գտնվող գրունտների կազմության և հիդրոերկրաբանական պայմանների մասին տվյալներ ստանալու համար նպատակահարմար է կիրառել Դ/D/-10, Մ/M/-1 տիպի հորատներ:
Չի կարելի հիմնադրել հենանիշներ տեղանքի ցածրադիր մասերի փխրահողային գրունտում, որտեղ հնարավոր է գրունտի թրջոցում:
Հերկած հողերում հենանիշները հիմնադրում են ճամփեզրերին և ճանապարհի խաչմերուկներին մոտ, կապի և էլեկտրահաղորդման գծերի հենասյուների մոտ:
Քաղաքներում և այլ բնակավայրերում թույլատրվում է հիմնադրել գրունտային հենանիշներ միայն այն տարածքներում, որտեղ չկան հուսալի շենքեր և ինտենսիվ երթևեկությամբ փողոցներից հեռու են: Այդպիսի հենանիշների հիմնադրման տեղի ընտրությունը պետք է համաձայնեցվի ճարտարապետական և ստորգետնյա հաղորդակցուղիները տնօրինող կազմակերպությունների հետ:
6.19. Քաղաքներում շենքերն ու շինությունները, որոնց վրա հիմնադրվելու են պատային հենանիշները, չպետք է պատերի վրա ճաքեր և հիմքի նկատելի խախտումներ ունենան:
Պատային հենանիշները կարելի է ամրացնել նաև ուղղաձիգ ժայռերի ելքերում: Խորհուրդ չի տրվում պատային հենանիշներ հիմնադրել երկաթգծից 50մ հեռավորությունից մոտ գտնվող շենքերի և շինությունների վրա: Պատային հենանիշները կարելի է հիմնադրել ճանապարհների խաչմերուկներին մոտ, ինչպես նաև թաղամասերում: Պատային հենանիշները պետք է տեղադրվեն հողի մակերեսից 30-60սմ բարձրության վրա, այնպես, որ պատի ցցված մասերը չխանգարեն չափաձողի ուղղաձիգ տեղադրմանը: Պատային հենանիշները կարելի է հիմնադրել շենքերին շինարարության ավարտից երկու տարի անց: Շենքերը, որոնց վրա հիմնադրվում են պատային հենանիշները, լուսանկարում են: Բացի դրանից լուսանկարում են հենց հենանիշն այնպես, որ նկարում երևա համարը:
6.20. Ըստ տեղազննության և հետազոտության արդյունքների ներկայացվում են հետևյալ նյութերը.
ա) բացատրագիրը,
բ) հետազոտված և վերականգնված հենանիշների ցուցակը (տե'ս հավելված N 2),
գ) նիվելիրային գծերի երկարությունը,
դ) նիվելիրային գծերի ճշտված սխեմաները, գոյություն ունեցող նիվելիրային գծերի և անցկացվելիք նիվելիրային գծերի կապի հանգույցները, ջրային արգելքների վրայով բարձրությունների փոխանցումը և դրանց վրայով անցնելու եղանակները,
ե) հենանիշների հիմնադրման վայրի ճշտված նկարագիրը և ուրվանկարները,
զ) տարածքի երկրաբանական կառուցվածքը և նիվելիրային գծի վրա գրունտի տիպերը,
է) գրունտների ջրաթափանցելիությունը և դրանց աղիությունը,
ը) խոշոր օբյեկտների շինարարության շրջանները, օգտակար հանածոների արդյունահանումը, ջրի, նավթի, գազի և այլ հանքանյութերի հանումը,
թ) նիվելիրային հենանիշների երկարաժամկետ պահպանումն ապահովող մեթոդները,
ժ) ոչնչացած և չհայտնաբերված հենանիշների մասին ակտերը:
Նիվելիրային ընթացքների ճշտված սխեման կազմում են 1:100 000 և ավելի խոշոր մասշտաբի քարտեզների վրա: Սխեմայի վրա ցույց են տրվում տեղազննված նիվելիրային գծերը, հենանիշների հիմնադրման տեղերը, գոյություն ունեցող նիվելիրային գծերն ու հենանիշները: Յուրաքանչյուր կապի հանգույցի համար կազմում են առանձին սխեմա՝ գոյություն ունեցող նիվելիրային գծերի և հենանիշների բոլոր անհրաժեշտ տեղեկությունների նկարագրությամբ:
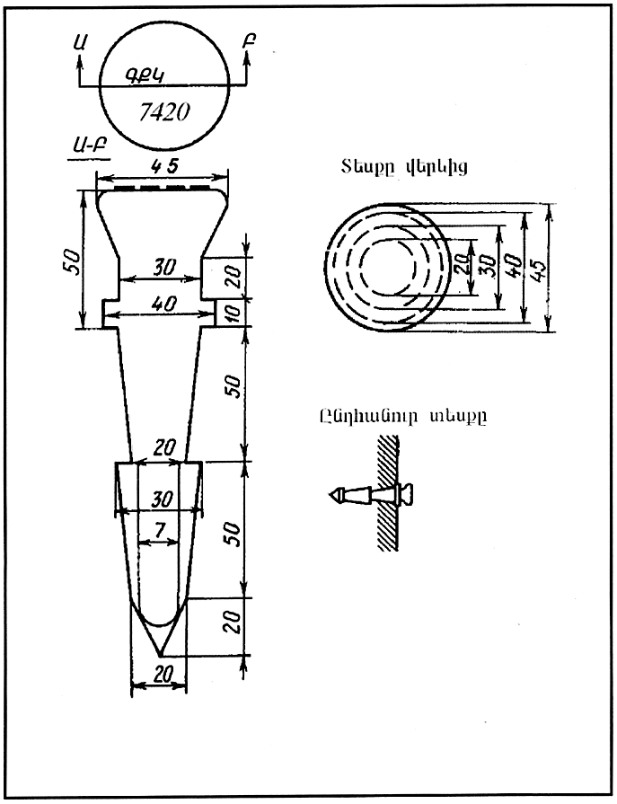
7. ՀԵՆԱՆԻՇՆԵՐԻ ՏԻՊԵՐՆ ՈՒ ԿՈՆՍՏՐՈՒԿՑԻԱՆԵՐԸ, ԴՐԱՆՑ ՊԱՏՐԱՍՏՈՒՄՆ ՈՒ ՀԻՄՆԱԴՐՈՒՄԸ
7.1. Նոր հենանիշները տեղանքում պետք է հիմնադրվեն համաձայն տեխնիկական նախագծով նախատեսված պահանջների:
7.2. Ժայռային և պատային հենանիշները բոլոր դասերի նիվելիրային գծերին միացնում են դրանց հիմնադրումից մեկ օր հետո, իսկ գրունտային հենանիշները III և IV դասի նիվելիրային գծերին` փոսալցումից 15 օր հետո: Որպես կանոն I և II դասերի նիվելիրային գծերի վրա գրունտային հենանիշները հիմնադրում են նիվելիրացումից մեկ տարի առաջ:
7.3. Հենանիշների մետաղային մասերը կոռոզիայի չենթարկելու նպատակով պետք է կիրառվեն ցինկապատ կամ էմալապատ խողովակներ: Դրանց բացակայության դեպքում մետաղե խողովակները պատում են հակակոռոզիոն նյութով: Հակակոռոզիոն նյութով պատում են նաև բետոնե հենանիշները, եթե դրանք հիմնադրում են հատուկ ագրեսիվ գրունտային միջավայրում:
7.4. Հենանիշները պահպանվում են պետության կողմից Հայաստանի Հանրապետության կառավարության 2001թ. նոյեմբերի 20-ի «ՀՀ տարածքում գեոդեզիական կետերի պահպանության կարգը հաստատելու մասին» թիվ 1134 որոշման համաձայն:
7.5. Հենանիշների բետոնե և երկաթբետոնե մասերը պատրաստվում են համաձայն 9-րդ հավելվածի:
7.6. Հիմնային (ֆունդամենտալ) հենանիշներ
7.6.1 Կախված հիմնադրման պայմաններից հիմնային հենանիշները բաժանվում են գրունտայինի (երկաթբետոնե, ասբոցեմենտե, մետաղե խողովակային) և ժայռայինի:
7.6.2 Հիմնային հենանիշը գրունտների սեզոնային սառեցման շրջաններում հիմնադրում են փոսորակում (տե'ս հավելված N 9): 30 x 30սմ չափի երկաթբետոնե պիլոնը բետոնե սալիկի հետ (խարսխով) մեկ ամբողջություն են կազմում: Պիլոնի և սալիկի վերին սահմանի վրա ցեմենտում են թույլ օքսիդացող նյութից կամ թուջե դրոշմանիշներ, կիսագնդաձև թույլ օքսիդացող նյութից ներդիրով:
Երկաթբետոնե պիլոնը թույլատրվում է փոխարինել 25սմ ներքին տրամագիծ ունեցող ասբեստացեմենտե խողովակով: Խողովակի ներսում տեղակայում են մետաղե կարկաս և այն լցնում բետոնով: Խարսխի և ասբեստացեմենտե խողովակի հիմքի կապը մեծացնելու համար մինչև խողովակի լցնելը հիմքից 15-20սմ հեռավորության վրա կանգնեցնում են 1.0-1.5սմ տրամագծով և 60սմ երկարությամբ երկու փոխուղղահայաց միջուկներ: Բետոնե սալիկի վերին եզրը տեղադրում են գրունտի սառցույթի ստորին սահմանից 60սմ խորը, իսկ պիլոնի վերին մասը` հողի մակերևույթից 100սմ ներքև:
Հողի մակերևույթից 30սմ խորության վրա հենանիշի վրա հիմնադրում են 30x30x10 սմ չափի բետոնե ճանաչման սալիկ:
Հենանիշը հիմնադրում են փոսորակում, որի խորությունը համապատասխանում է սալիկի վերին եզրի դիրքին:
Բետոնե սալիկի (խարսխի) համար բնական ամրությամբ գրունտում փորում են խորը փոս: Դրա համար փոսորակի հատակում սարքում են քառանիստ փորվածք, որի եզրային պատերը դեպի ներքև լայնանում են: Սալիկի չափերը ուղղահայաց եզրային նիստերով 115x115x40 սմ է:
7.6.3 Եթե ժայռը հողի մակերևույթի վրա է կամ ընկած է մինչև 130սմ խորության վրա, ապա դրանց վրա իրարից 500 սմ հեռավորությամբ ցեմենտով ամրացնում են երկու դրոշմանիշներ, որոնց բարձրությունների տարբերությունը 100 մմ է: Այն դեպքում, երբ դրոշմանիշները չի կարելի տեղադրել տարբեր բարձրությունների վրա, հիմնադրում են մեկ դրոշմանիշ, որի մոտ ցեմենտում են երկրորդ դրոշմանիշով բետոնե սալիկը: Եթե ժայռը ընկած է 130սմ-ից ավելի խորության վրա, ապա դրա վրա դնում են երկաթբետոնե պիլոն սալիկով: Սալիկի չափերն են 80x80x30 սմ: Սալիկի և պիլոնի վերին եզրերին հիմնադրում են թույլ օքսիդացող դրոշմանիշներ: Պիլոնը պատրաստում են այնպիսի բարձրությամբ, որ դրա վերին եզրը գտնվի հողի մակերևույթից 100սմ խորության վրա:
Դժվարամատչելի շրջաններում պիլոնը կարող է փոխարինվել 25 սմ-ից ոչ պակաս արտաքին տրամագիծ ունեցող ասբեստացեմենտե խողովակով: Խողովակը լցվում է բետոնով և մետաղե կարկասի օգնությամբ ամրացվում է հենանիշի ամրանավորված խարսխին:
Եթե հենանիշի տեղադրման ժամանակ ժայռի մակերևույթն ունի բացասական ջերմաստիճան, ապա մինչև բետոնե խարսխի պատրաստումը ժայռը տաքացնում են:
7.6.4 Հիմնային հենանիշի հիմնական և լրացուցիչ դրոշմանիշների վերազանցումները տրվում են 1մմ ճշտությամբ:
7.7. Գրունտային և պատային հենանիշներ
7.7.1 Գրունտային և պատային հենանիշները գրունտների սեզոնային սառեցման շրջաններում հիմնադրվում են 50սմ տրամագիծ ունեցող հորատանցքերում (տե'ս հավելված N 9): Գրունտային հենանիշը բաղկացած է 16x16սմ լայնակի կտրվածքով զուգահեռանիստի տեսք ունեցող երկաթբետոնե պիլոնից և 48սմ տրամագծով բետոնե սալիկից (խարսխից), որոնք պատրաստվում են նախօրոք: Թույլատրվում է օգտագործել նաև 50x50 սմ քառանկյուն կտրվածքով սալիկներ: Պիլոնի վերին եզրին պետք է ցեմենտված լինի դրոշմանիշը: Բետոնե սալիկի մեջտեղում 20x20x15 սմ չափի փորվածք են անում, որի մեջ տեղադրում են երկաթբետոնե պիլոնը: Պիլոնը կարելի է փոխարինել 16սմ ներքին տրամագիծ ունեցող բետոնով լցված ասբեստացեմենտե խողովակով: Խողովակի վերին եզրին ամրացվում է դրոշմանիշը: Հիմքի հետ խարսխի կապը մեծացնելու համար ասբեստացեմենտե խողովակը օգտագործելիս խողովակի հիմքից 7-10սմ հեռավորության վրա ամրացնում են երկու փոխուղղահայաց 1,0-1,2 սմ հաստությամբ և 25 սմ երկարությամբ ձողեր: Խարսխի անցքում խողովակի տեղադրման ժամանակ ձողերի ծայրերը տեղաբաշխում են փորվածքի անկյուններում:
7.7.2 Թույլատրվում է հենանիշները հիմնադրել 35սմ տրամագծով հորատանցքում, բայց այդ դեպքում բետոնե խարսխի բարձրությունը հարավային մասում պետք է լինի 50սմ, իսկ հյուսիսայինում՝ 80սմ: I, II, III և IV դասի նիվելիրային հենանիշի բետոնե սալիկի վերին եզրը պետք է գտնվի գրունտի սառեցման շերտից 50սմ խորը` անկախ հորատանցքի տրամագծից: Բոլոր հենանիշների մոտ դրոշմանիշները պետք է գտնվեն հողի մակերևույթից 50սմ խորության վրա:
Խարսխի պատրաստումը թույլատրվում է հորատանցքում բետոնի հեղուկ շաղախի լցման ճանապարհով: Հորատանցքի խորությունը նույնն է, ինչ որ նախօրոք պատրաստված հենանիշների հիմնադրման ժամանակ: 50սմ տրամագծով անցքի մեջ բետոնը լցնում են 20 կամ 30սմ շերտով, իսկ 35սմ տրամագծով հորատանցքի մեջ՝ 30 կամ 70սմ շերտով: Բետոնե շաղախի մեջ կանգնեցնում են պիլոնը կամ ասբեստացեմենտե խողովակը: Պիլոնի կամ խողովակի երկարությունը պետք է լինի այնպիսին, որ դրոշմանիշը գտնվի հողի մակերևույթից 50սմ խորության վրա: Չսպասելով բետոնով խարսխի կապակցվելուն հորատանցքերը գրունտով լցնել թույլատրվում է միայն այն դեպքում, եթե բետոնի հեղուկ շաղախի վրա 10 սմ շերտով ավազ է լցվում:
7.7.3 Երկաթբետոնե պիլոնները հնարավոր է փոխարինել 0,3 սմ հաստությամբ պատերով և 6սմ տրամագծով մետաղե խողովակով կամ ռելսի կտորով: Այդ դեպքում բետոնե սալիկը և խողովակը հենանիշի պատրաստման վայրում միացնում են իրար: Մետաղե խողովակը պետք է ունենա իրենից դուրս եկող 10սմ-անոց չորս ցցիկ:
7.7.4 Հենանիշի հիմնադրման ժամանակ հորատանցքի հատակում սալիկի հիմքի տակ լցնում են 3սմ հաստությամբ շերտով ցեմենտի շաղախ: Հենանիշը չի հիմնադրվում այնպիսի հորատանցքում, որի հատակի գրունտը փխրուն է կամ սողացող:
7.7.5 Երկաթբետոնե հենանիշները, որոնք հիմնադրվում են ագրեսիվ գրունտներում, պատրաստվում են խիտ բետոնից:
7.7.6 Նիվելիրային ընթացքները ճահճացած տարածքներում ամրացնում են գրունտային խողովակաձև հենանիշներով, որոնց համար օգտագործում են 6 սմ տրամագծով և 0,3 սմ հաստությամբ պատերով խողովակներ: Խողովակի ստորին ծայրին զոդում են 15 սմ տրամագծով պտուտակավոր խարիսխ կամ 10 սմ տրամագծով և 50 սմ երկարությամբ հորատային պարուրաձև ծայրապանակ: Խողովակը ներպտուտակում են այնպիսի խորության վրա, որպեսզի պտուտակավոր խարիսխը 150 սմ-ի չափով անցնի կարծր ապարի ջրահագեցած շերտով:
Հարվածավիբրացիոն գործունեության մեխանիզմների առկայության դեպքում ճահճացած տարածքներում կարելի է հիմնադրել հենանիշներ, որոնք կազմված են մի քանի իրար կպած հորատային մետաղաձողերից կամ 4–6 սմ տրամագիծ և 0.3 սմ հաստությամբ պատեր ունեցող խողովակներից: Այդպիսի հենանիշի ստորին ծայրին զոդակցում են մետաղե կոն: Մետաղաձողերը հողի մեջ ամրացնում են այնպիսի խորությամբ, որպեսզի կոնը 300սմ-ի չափով անցնի կարծր ապարի ջրահագեցած շերտով:
Մետաղաձողի (խողովակի) վերին ծայրը, որին զոդակցում են դրոշմանիշը, տեղադրում են հողի մակերևույթից 30սմ խորության վրա:
Պտուտակավոր խարիսխը կարծր ապարի ջրահագեցած շերտին հասնելը որոշում են արագության կտրուկ դանդաղեցումով:
Հենանիշի շուրջը կառուցում են 50 սմ բարձրությամբ 200x200 չափի տորֆով կամ հանքային ապարներով լցված փայտե շինություն: Փայտե շինության մեջ կանգնեցնում են 100սմ երկարությամբ մետաղե ճանաչման սյուն, որի վրա ամրացված է պահպանիչ թիթեղ:
7.7.7 Ժայռի մեջ, որը գտնվում է հողի մակերևույթին կամ ընկած է 70սմ խորության վրա, ամրացնում են գրունտային հենանիշ, որն իրենից ներկայացնում է դրոշմանիշ ցեմենտի շաղախի մեջ: Հենանիշից 100սմ հեռավորության վրա կանգնեցնում են պահպանիչ թիթեղով երկաթբետոնե կամ խողովակաձև ճանաչման սյուն: Ճանաչման սյունը ժայռին ամրացնում են ցեմենտի շաղախով, պատում են հակակոռոզիոն ծածկույթով և ներկում: Ճանաչման սյան շուրջը և հենանիշի վրա, եթե դա գտնվում է հողի մակերևույթին, շարում են 50սմ բարձրությամբ 1մ տրամագծով տուր: Եթե ժայռը ընկած է որոշ խորության վրա, ապա դրոշմանիշը ծածկում են ապարով, իսկ հետո շարում տուրը:
Եթե ժայռն ընկած է 70սմ-ից ավելի խորության վրա, ապա կիրառում են նկ. 6 տիպի հենանիշ: Ժայռի վրա կանգնեցնում են երկաթբետոնե պիլոն սալիկով (խարսխով): Պիլոնը պատրաստում են այնպիսի բարձրությամբ, որ դրա վերին եզրը գտնվի հողի մակերևույթից 50սմ խորության վրա:
7.7.8 Եթե հենանիշին մոտ` 50մ հեռավորության վրա կա ուղղաձիգ ժայռ, ապա վառ գույնի յուղաներկով նկարում են 100սմ կողմեր ունեցող եռանկյունի, որի ներսում նշվում է հենանիշի համարը և աշխատանքներն իրականացնող կազմակերպության սկզբնատառերը:
7.7.9 Կառույցների, շենքերի պատերին և ժայռի ուղղահայաց մակերևույթին հիմնադրում են պատային հենանիշներ (տե'ս հավելված N 9):
7.7.10 Պատային հենանիշի և դրոշմանիշների պատրաստման ժամանակ նշանների վրա զոդում են նիվելիրային աշխատանքներն իրականացնող կազմակերպության սկզբնատառերը և հենանիշի համարը:
7.8. Հենանիշների արտաքին ձևավորումը
7.8.1 Գրունտի սեզոնային սառածության գոտում հիմնային հենանիշի ձևավորումը կազմված է ուղղանկյունաձև ակոսից և 0.8մմ հաստությամբ պահպանիչ թիթեղով երկաթբետոնե ճանաչման սյունից: Թիթեղը պետք է ուղղված լինի դեպի հենանիշը: Հենանիշի վրա կառուցում են 30սմ բարձրությամբ և 150սմ տրամագծով թումբ: Ճանաչման սյան հողից դուրս ցցված մասը ներկում են վառ գույնի յուղաներկով: Ակոսի կտրվածքը հիմքում պետք է լինի 20 սմ, վերին մասում՝ 120 սմ, խորությունը՝ 70 սմ: Ճանաչման սյան վրա սև գույնի ներկով գրում են հենանիշի համարը և կազմակերպության անունը:
Ժայռային հիմքով հենանիշի վրա կառուցում են 150x150սմ չափի և 70սմ բարձրությամբ թումբ: Ճանաչման սյան հիմքը ցեմենտում են ժայռին կամ ժայռային ապարներին:
7.8.2 Գրունտային հենանիշի արտաքին ձևավորում է հանդիսանում ակոսը և երկաթբետոնե պիլոնի տեսքով ճանաչման սյունը, որը ամրացվում է հենանիշից 80սմ հեռավորության վրա: Անտառային շրջաններում թույլատրվում է կանգնեցնել նաև փայտե ճանաչման սյուներ: Ակոսի ներքին հիմքի չափը պետք է լինի 20սմ, վերևինը՝ 120սմ, խորությունը՝ 50սմ, երկարությունը՝ 1280սմ: Հենանիշի վրա շարում են 30սմ բարձրությամբ և 100 սմ տրամագծով թումբ: Պիլոնի երկարությունը, որը վերին երկու եզրերում ունի շեղատներ, 140 սմ է, իսկ լայնակի կտրվածքը 16x16 սմ է: Սալիկի տրամագիծը 48 սմ է, իսկ հաստությունը՝ 15սմ: Պիլոնի և սալիկի միացումը նույնն է, ինչ որ հենանիշինը: Սալիկի հիմքը տեղադրում են հողի մակերևույթից 80 սմ խորության վրա: 34սմ տրամագիծ ունեցող խարիսխն օգտագործելիս երկարությունը մեծացնում են մինչև 25սմ, իսկ հիմնադրման խորությունը մինչև 90 սմ:
Ճանաչման սյանն ամրացնում են պահպանիչ թիթեղ: Թիթեղի վրա մակագրությունը ձուլում են, դրոշմում կամ անցկացնում են կետանշման մեթոդով: Ճանաչման սյունը տեղադրելիս պահպանիչ թիթեղը պետք է ուղղված լինի հենանիշի կողմը:
Ճանաչման սյան հողից դուրս ցցված մասը ներկում են վառ գույնի յուղաներկով: Սյան վրա սև գույնով նշվում է հենանիշի համարը և տեղադրող կազմակերպության անվանումը: Ճանաչման սյունը կարող է լինել խողովակաձև: Խողովակի վերին մասում եռակցում են մետաղե թիթեղ, որի վրա հեղյուսով ամրացվում է պահպանիչ թիթեղը: Թիթեղի հակառակ կողմում սև ներկով մակագրում են հենանիշի համարը և այն տեղադրող կազմակերպության սկզբնատառերը: Խողովակի վերին ծայրին եռակցում են խցան: Խողովակի ստորին ծայրը պետք է ունենա 48սմ տրամագծով, 15սմ հաստությամբ և գրունտի մեջ 100 սմ խրված բետոնե (մետաղե) խարիսխ: 34սմ տրամագծով խարիսխն օգտագործելիս դրա բարձրությունը մեծացնում են մինչև 25 սմ, իսկ հիմնադրման խորությունը՝ մինչև 90սմ: Խողովակաձև ճանաչման սյան վերին մասը պետք է գտնվի հողի մակերևույթից 100 սմ բարձր:
7.9. Փոսորակների փորման, հորատանցքերի հորատման, ցցերի խփման և խողովակների ներպտուտակման համար օգտագործում են բազմաթիվ մեխանիզմներ:
7.10. Հենանիշների տեղադրման աշխատանքների ավարտման մասին կազմված փաստաթղթերն են.
ա) բացատրագրով հաշվետվությունը, հենանիշների հիմնադրման մատյանները,
բ) տեղադրված հենանիշների ցուցակը և դրանց դասավորվածության սխեման (ըստ խոշորամասշտաբ քարտեզների),
գ) պահպանման հանձնված հենանիշների ակտերը,
դ) այն շենքերի և ժայռերի լուսանկարները, որոնց վրա հիմնադրված են պատային հենանիշերը,
ե) 1:25000 և ավելի խոշորամասշտաբ քարտեզները, աերոլուսանկարները, որոնց վրա ցույց է տրված հիմնադրված և հետազոտված հենանիշների տեղերը, ուրվանկարները: Ուրվանկարի մասշտաբն ընտրում են այնպիսի հաշվարկով, որ դրա վրա տեղավորվեն մոտակա կողմնորոշիչները, որոնք նշված են հենանիշի տեղադիրքի նկարագրության մեջ: Ուրվանկարները կազմում են քարտեզներով և աերոլուսանկարներով աչքաչափով՝ սովորական տեղագրական պայմանական նշաններով, հորիզոնականները գծում են պայմանականորեն ռելիեֆի բնույթն արտահայտելու համար:
Հիմնային հենանիշների կոորդինատները որոշում են գործիքային մեթոդներով 1մ-ից ոչ ավելի սխալով:
8. I ԴԱՍԻ ՆԻՎԵԼԻՐԱՑՈՒՄ
8.1. I դասի նիվելիրացումն իրականացնում են ուղիղ և հակադարձ ուղղություններով երկու զույգ հենակներով, ստեղծելով երկու առանձին գծեր` համապատասխանաբար աջը՝ աջ հենակներով և ձախը՝ ձախ հենակներով: Կայաններում դիտարկումները կատարում են «համատեղման» եղանակով: I դասի նիվելիրացումը կարող են կատարել բարձրագույն գեոդեզիական կամ միջնակարգ մասնագիտական կրթություն ունեցող և հատուկ դասընթացներ անցած մասնագետները:
8.2. I դասի նիվելիրացումը կատարում են հարթ զուգահեռ սկավառակ, հպումային հարթաչափ կամ կոմպենսատոր (հավասարակշռիչ) ունեցող նիվելիրներով: Հպումային բշտիկի ծայրերի պատկերը պետք է փոխանցվի դիտակի տեսադաշտ: I դասի նիվելիրացման ժամանակ կիրառվում են Ն/H/-05, Ն/H/1 և Նի/Ni/-0.04 տիպի ավանդական և վերջին ժամանակները լայն տեղ գտած ՆԱ/NA/-3003 տիպի էլեկտրոնային նիվելիրները:
8.3. Ավանդական մեթոդներով աշխատելիս կիրառվում են գծիկավոր ինվարային չափաձողեր, որոնց ինվարային շերտի վրա կա միմյանց հետ կապակցված երկու սանդղակ: Գծիկների առանցքների միջև հեռավորությունը 5մմ է: Ողջ սանդղակի և մետրային միջակայքերի սխալը չպետք է գերազանցի 0,1մմ-ը: Լեռնային շրջաններում աշխատում են ջերմացուցիչ ունեցող ինվարային չափաձողերով, այս դեպքում ամբողջ սանդղակի և մետրային տատանումների սխալը չպետք է գերազանցի 0,05 մմ-ը: Չափաձողերը պետք է ունենան 10-12 Բ/2մմ բաժանմունքի արժեքով կլոր հարթաչափ, ինվարային շերտերի ձգվածությունը 20 + 1կգ: Չափաձողերի համար պետք է որոշել ջերմային գործակիցները:
8.4. Պատային դրոշմանիշների տեղակապման համար օգտագործում են կախովի չափաձող այնպիսի սանդղակներով, ինչպիսին որ ունեն հիմնական չափաձողերը:
8.5. Չափաձողերը կանգնեցնում են հենակների վրա: Կարծր, չոր և քարքարոտ գրունտներում նիվելիրային աշխատանքներ կատարելիս կիրառվում են 15-20 սմ երկարությամբ և 1,5-3,0 սմ հաստությամբ երկաթե հենակներ: Ասֆալտապատ տարածքում նիվելիրային աշխատանքներ կատարելիս օգտագործում են կիսագնդաձև 2,0սմ տրամագիծ և 0,5-1,0սմ բարձրություն ունեցող գլխիկով, 6-7 սմ երկարությամբ և 0,4-0,6 սմ հաստությամբ երկաթե գամեր: Խոնավ փափուկ գրունտներում օգտագործում են փայտե ցցաձողեր, որոնք ամրացված են գնդաձև գլխիկով գամերով կամ 50-70 սմ երկարությամբ և 3-4 սմ հաստությամբ հենակներով: Ցցաձողի հաստությունն ու երկարությունը կախված են գրունտի կարծրությունից: Ցցաձողի երկարությունը 25 սանտիմետրից կարճ և 70 սանտիմետրից երկար չպետք է լինեն: Հենակները և ցցաձողերը նիվելիրացման ընթացքում պետք է անշարժ լինեն:
8.6. Նիվելիրները և չափաձողերը նախօրոք հետազոտվում, ստուգվում և բերվում են աշխատանքային վիճակի:
8.7. Նիվելիրացման չափաձողերի ստուգիչ հետազոտումը կատարում են ՄԿ/MK/-1 կոմպարատորի և ստուգիչ քանոնների օգնությամբ: ՄԿ/MK/-1 կոմպարատորները նախատեսված են ստուգիչ քանոնների և չափաձողերի մետրային միջակայքերը 0,01 մմ միջին քառակուսային պատահական սխալով ստուգանմուշարկելու համար: ՄԿ/MK/-1 կոմպարատորի լրակազմի մեջ մտնում են 20 անգամ խոշորացնող երկու մանրադիտակ, միկրոմետր, երկու մետրանոց նմուշային (համեմատիչ) քանոն (աշխատող և հիմնական), ռելսային ճանապարհ, ստուգիչ քանոնների և չափաձողերի համար սայլակ: Երեք տարին մեկ ՄԿ/MK/-1-ի լրակազմի մեջ մտնող նմուշային քանոնները համեմատվում են ՄԻԻԳԱիԿ/МИИГАսК/ կոմպարատորի հետ: Յուրաքանչյուր երկու ամիսը մեկ աշխատանքային նմուշային քանոնը համեմատում են հիմնական քանոնի երկարության հետ: Եթե նմուշային քանոնների երկարությունների տարբերությունը 20մկմ-ից ավելի է, ապա կատարում են կրկնակի ստուգանմուշարկում: Ստուգիչ քանոնն ամեն տարի ստուգանմուշարկում են ՄԿ/MK/-1 կոմպարատորով:
8.8. Նիվելիրները և չափաձողերը գործարանից կամ վերանորոգումից ստանալուց հետո պետք է ենթարկվեն ամբողջական լաբորատոր հետազոտման և ստուգման, անհրաժեշտության դեպքում սարքը նաև քանդում են: Նիվելիրի զննության ժամանակ կատարում են`
ա) նիվելիրի արտաքին զննում (տե'ս հավելված N 3),
բ) դիտախողովակի օպտիկական որակի հետազոտում,
գ) թեքվող հարթ-զուգահեռ սկավառակի մեխանիզմի հետազոտում (տե'ս հավելված N 4),
դ) գործիքը կիզակետի բերող ոսպնյակի ընթացքի ճշտության որոշում,
ե) հեռաչափի գործակցի և ցանցաթելերի անհամաչափության որոշում (տե'ս հավելված N 5),
զ) նիվելիրի ջերմային պաշտպանվածության որակի որոշում,
է) ստուգողական ընթացքի անցկացում (տե'ս հավելված N 6),
ը) հպումային գլանաձև հարթաչափի պատրաստման որակի հետազոտում և հարթաչափի բշտիկի ծայրերի համատեղության միջին քառակուսային սխալի որոշում (տե'ս հավելված N 7),
թ) աշխատանքի որակի և էլևացիոն պտուտակի շրջանի արժեքի որոշում:
Կոմպենսատորով նիվելիրների հետազոտման ժամանակ ըստ հպումային գլանաձև հարթաչափի տեղի և էլևացիոն պտուտակի դիրքի որոշում են.
ա) նիվելիրի դիտման առանցքային գծի ինքնատեղակայման միջին քառակուսային սխալը,
բ) կոմպենսացման սխալը,
գ) կլոր հարթաչափով նիվելիրի ուղղաձիգ դիրքի բերված ուղղաձիգ առանցքի տեղակայման միջին քառակուսային սխալը:
8.9. Նիվելիրացման դաշտային աշխատանքներ սկսելուց առաջ կատարվում են նիվելիրի հետևյալ հետազոտությունները.
ա) նիվելիրի հետազոտում, գլանաձև և կլոր հարթաչափերի ստուգում և ուղղում (տե'ս հավելված N 3),
բ) գլանաձև հարթաչափի բաժանման արժեքի որոշում, կոմպենսատորով նիվելիրների մոտ դիտման առանցքային գծերի ինքնատեղակայման միջին քառակուսային սխալի (տե'ս հավելվածներ N 7 և 8),
գ) հաշվիչ թմբուկի բաժանմունքի արժեքի որոշում տարբեր հեռավորությունների համար:
8.10. Դաշտային աշխատանքների իրականացման ընթացքում կատարում են նիվելիրի հետևյալ հետազոտություններն ու ստուգումները.
ա) ամեն օր կատարում են կլոր և գլանաձև հարթաչափերի ստուգում և ուղղում (տե'ս հավելված N 3),
բ) դաշտային աշխատանքների առաջին յոթ օրը որոշում են դիտման առանցքի և հորիզոնական հարթության միջև ընկած i-անկյունը: Դա կատարում են ամեն օր, իսկ հետագայում համոզվելով որ այն կայուն է` տասնհինգ օրը մեկ,
գ) բարձրադիր վայրերում և գեոդինամիկական պոլիգոններում աշխատելիս i անկյունը որոշում են յոթ օրը մեկ (տե'ս հավելված N 3),
դ) հաշվարկային թմբուկի բաժանմունքի արժեքը չափաձողի տարբեր հեռավորությունների համար որոշում են երկու ամիսը մեկ (տե'ս հավելված N 4),
ե) կոմպենսատորով նիվելիրների համար երկու ամիսը մեկ որոշում են նիվելիրի դիտառանցքի ինքնադրման միջին քառակուսային և կոմպենսացման սխալները (տե'ս հավելված N 8):
8.11. I դասի նիվելիրացման համար նախատեսված չափաձողերի համար կատարում են հետևյալ հետազոտություններն ու ստուգումները.
ա) չափաձողի և ինվարային շերտի արտաքին զննումը,
բ) կլոր հարթաչափի բաժանման արժեքի որոշումը մակարդակների փորձարկիչ սարքով,
գ) ինվարային շերտի ձգվածության որոշումը, որը պետք է լինի 20±1կգ,
դ) չափաձողի ճկվածության որոշումը (դաշտում ճկվածությունը որոշվում է ամիսը երկու անգամ),
ե) չափաձողի երկու սանդղակների դեցիմետրային բաժանումների ճշտության որոշումը (միայն նոր չափաձողերի համար),
զ) ստուգանմուշարկումը ՄԿ/MK/-1 կոմպարատորի վրա միջակայքերի երկարությունների կիսադեցիմետրային բաժանումների միջև 10-30, 30-50 չափաձողի հիմնական սանդղակի և 70-90, 90-110 լրացուցիչ սանդղակի համար կատարում են դաշտային աշխատանքներն սկսելուց առաջ և հետո, լեռնային շրջաններում աշխատելիս չափաձողերը ստուգանմուշարկում են նաև աշխատանքային սեզոնի կեսերին,
է) ցցակալի հարթության և չափաձողի առանցքի փոխուղղահայացության ստուգումը և ցցակալի հարթության համընկեցումը չափաձողի հիմնական սանդղակի զրոյի հետ (կատարում են տարին մեկ անգամ դաշտային աշխատանքներն սկսելուց առաջ),
ը) չափաձողերի զրոների բարձրությունների տարբերությունների որոշումը (կատարում են դաշտային աշխատանքներն սկսելուց առաջ տարին մեկ անգամ),
թ) հիմնական սանդղակի 10-30, 30-50 և լրացուցիչ սանդղակի 70-90, 90-110 կիսադեցիմետրային բաժանումների միջև միջակայքերի երկարությունների ստուգումը,
ժ) չափաձողի վրա կլոր հարթաչափի տեղադրման ճշտության ստուգումը (կատարվում է ամեն օր առավոտյան և երեկոյան դիտարկումներից առաջ):
Կախովի չափաձողերի համար որոշում են դեցիմետրային բաժանումների անցկացման ճշտությունը և կատարում են չափաձողերի կիսադեցիմետրային միջակայքերի 0-20 կամ 0-80 բաժանումների ճշտության ստուգում այն նույն ժամկետում, ինչ որ ինվարային չափաձողերի համար, ինչպես նաև կախովի չափաձողի հիմնական և լրացուցիչ սանդղակների զրոների բարձրությունների տարբերությունները:
8.12. Նիվելիրների, չափաձողերի, ստուգիչ քանոնների դաշտային և լաբորատոր հետազննությունների արդյունքները նշվում են նիվելիրի անձնագրում: Անձնագիրը կազմում են երկու օրինակից, որից մեկը պահվում է լաբորատորիայում, իսկ մյուսը կցվում է նիվելիրին, չափաձողերին և ստուգիչ քանոնին հետ: Անձնագրում ստուգումների արդյունքները հաստատում են կազմակերպության գլխավոր չափագրողը, տեխնիկական բաժնի տեսուչը և կատարողները:
8.13. Ուղիղ ընթացքով նիվելիրացման ժամանակ աջ գծերի կայաններում դիտարկումների կարգը հետևյալն է.
Կենտ կայան
Հաշվեցույց հետևի չափաձողի հիմնական սանդղակով
Հաշվեցույց առջևի չափաձողի հիմնական սանդղակով
Հաշվեցույց առջևի չափաձողի լրացուցիչ սանդղակով
Հաշվեցույց հետևի չափաձողի լրացուցիչ սանդղակով
Զույգ կայան
Հաշվեցույց առջևի չափաձողի հիմնական սանդղակով
Հաշվեցույց հետևի չափաձողի հիմնական սանդղակով
Հաշվեցույց հետևի չափաձողի լրացուցիչ սանդղակով
Հաշվեցույց առջևի չափաձողի լրացուցիչ սանդղակով
Կենտ և զույգ կայաններում հաշվարկները ձախ ընթացքով կատարում են այն նույն կարգով, ինչպես որ կատարում են աջ ընթացքով:
Հակառակ ընթացքով նիվելիրացման ժամանակ կենտ կայաններում դիտարկումները սկսում են առջևի չափաձողից, իսկ զույգերում` հետևի:
8.14. Ուղիղ և հակադարձ նիվելիրացումը կատարում են միևնույն մայրագծով և միևնույն տիպի անցման կետով:
8.15. Ուղիղ և հակադարձ ընթացքով նիվելիրացման ժամանակ սեկցիայում կայանների թիվը պետք է զույգ լինի և հնարավորության դեպքում միատեսակ:
8.16. Նիվելիրային ուղղության փոփոխման ժամանակ փոխում են չափաձողերի տեղերը:
8.17. Յյուրաքանչյուր սեկցիայում ուղիղ և հակադարձ ընթացքներով նիվելիրացումը իրականացնում են օրվա տարբեր կեսերին: Այդ պահանջներին մեծ խստությամբ չեն հետևում աշնանը և ամպամած եղանակներին:
8.18. Նիվելիրացումը կատարում են 20-50 կմ-անոց տեղամասերով «ութնյակ» սխեմայով, այսինքն՝ տեղամասի սեկցիաների մի մասը սկզբում անցնում է ուղիղ ընթացքով, իսկ մյուս մասը` հակադարձ ընթացքով, հետո` հակառակը: Եթե սեկցիաներով ուղիղ և հակադարձ ընթացքներով նիվելիրացումներից ստացված վերազանցումների տարբերությունները ստացվում են միևնույն նշանի գերակշռությամբ, ապա տեղամասի երկարությունը կարելի է կարճացնել:
8.19. Դիտման ճառագայթի առավելագույն երկարությունը 50մ պետք է լինի, իսկ էլեկտրոնային նիվելիրների համար` 30 մ:
8.20. Դիտման ճառագայթի բարձրությունը հողի մակերևույթից 0,8մ-ից պակաս չպետք է լինի: Եթե դիտման ճառագայթի երկարությունը մինչև 25մ է, ապա թույլատրվում է դիտարկումները կատարել ճառագայթի 0,5մ-ից ոչ պակաս բարձրության դեպքում:
8.21. Նիվելիրացում չի թույլատրվում կատարել.
ա) պատկերների տատանումների, բիսեկտորի չափաձողի գծիկների վրա ճշգրիտ դիտման դժվարացման և «լողացող» պատկերների դեպքում,
բ) ուժեղ և սաստիկ քամիների դեպքում,
գ) օդի ջերմաստիճանի ուժեղ և կտրուկ տատանումների և դրա անկանոն ձևով արագ միակողմանի փոփոխությունների դեպքում:
8.22. Նիվելիրը տեղադրում են ստվերում եռոտանու վրա դիտարկումներից 45 րոպե առաջ: Կայաններում դիտարկումներ կատարելիս անհրաժեշտ է նիվելիրը պաշտպանել արևի ճառագայթներից սպիտակ աստառ ունեցող արևանոցով, իսկ մի կայանից մյուսը տեղափոխելիս՝ սպիտակ, ամուր կտորից ծածկոցով:
Յուրաքանչյուր կենտ կայանում նիվելիրի բարձրության վրա ջերմաչափով չափում են օդի ջերմաստիճանը: Ջերմաչափային ցուցանակով ինվարային չափաձողերով աշխատելիս գրանցող հրամանով որոշում են յուրաքանչյուր կայանում յուրաքանչյուր չափաձողի ինվարային շերտի ջերմաստիճանը: Չափումը կատարում են ձախ հենակների վրա դրված հետևի և առջևի չափաձողերի հիմնական սանդղակից հաշվեցույցներ վերցնելու ժամանակ:
8.23. Նիվելիրի և չափաձողերի միջև հեռավորությունը չափում են պողպատե ժապավենով կամ բարակ մետաղե լարերով: Նիվելիրի հեռաչափը այդ նպատակով չեն օգտագործում: Կայանում նիվելիրի և չափաձողի միջև հեռավորությունների անհավասարությունը պետք է լինի 0,5 մետրից ոչ ավելի: Այդ անհավասարությունների կուտակումը սեկցիաներով պետք է լինի 1մ-ից ոչ ավելի:
8.24. Նիվելիրի եռոտանին տեղադրում են կայաններում առանց շեղումների և լարումների: Արգելվում է ուժեղ սեղմել եռոտանու ոտքերը գրունտի մեջ, հատկապես` խիտ գրունտի: Եռոտանու երկու ոտքերը տեղադրում են նիվելիրացման ընթացքի երկայնքով, իսկ երրորդը` փոփոխաբար` մեկ ընթացքի ուղղության աջ, մեկ ձախ կողմում ուղղելով դեպի առջևի չափաձողը: Եռոտանու ոտքերը կայանում տեղակայում են միևնույն գրունտային պայմաններում:
8.25. Աջ և ձախ հենակները պետք է ամրացվեն խիտ գրունտում և մեկը մյուսից 0,5մ-ից ոչ մոտ հեռավորության վրա: Երկաթգծի պաստառով նիվելիրացում կատարելիս չի թույլատրվում հենակները խփել բալաստում (կոպճավազ): Եթե թմբեզրին կամ ուղիների միջև գրունտը փխրուն է կամ էլ լցված է մանրախճով կամ խարամով, ապա նպատակահարմար է խփել հատուկ հենակներ: Հենակի վրա չափաձողը տեղադրում են հարթաչափերով ուղղաձիգ դիրքով և հենարաններով պահում են:
8.26. Նիվելիրացումը անհրաժեշտ է իրականացնել չորս-հինգ զույգ հենակներով, որոնց նախօրոք ամրացնում են մեկ-երկու հաջորդող կայաններ և միացած են թողնում նախորդ կայանին: Եթե հակադարձ ընթացքում օգտագործում են հենակներ, որոնք ամրացած են եղել գրունտում ուղիղ ընթացքի ժամանակ, ապա հակադարձ ընթացքի դիտարկումներից առաջ դրանք ավելի խորն են խփում: Այդ դեպքում հակադարձ ընթացքի կայանում ստացած վերազանցումները պետք է ուղիղ ընթացքից ստացված վերազանցումներից ավելի լինեն 20մմ-ով:
8.27. Դիտարկման աշխատանքներն ընդհատելիս աշխատանքը ավարտում են մշտական հենանիշի վրա: Դիտարկումները թույլատրվում է ավարտել երեք զույգ հենակների վրա (երկու կայան), որոնք ամրացված են 0,3 մ խորությամբ փոսերի մեջ: Նիվելիրացումը երկու կայաններում իրականացնում են սովորական ծրագրով, այնուհետև հենակները ծածկում են խոտով և լցնում հողով: Ընդհատումից հետո աշխատանքները սկսելիս նիվելիրացումը վերջին կայանում կրկնում են, իսկ անհրաժեշտության դեպքում նաև նախավերջինում: Ընդհատումից առաջ և հետո կատարված նիվելիրացման արդյունքների համեմատումից որոշում են, թե որ զույգ հենակներն են պահպանել սկզբնական դիրքը բարձրությամբ և դրանից էլ շարունակում են հետագա նիվելիրացումը:
Հենակները համարվում են իրենց սկզբնական դիրքը պահպանած, եթե ընդհատումից առաջ և հետո ստացած վերազանցումների արժեքների տարբերությունները 0,7մմ-ը չեն գերազանցում (հաշվարկային թմբուկի 14 բաժանում), իսկ առջևի և հետևի հենակների միջև` 1,0 մմ-ը (հաշվարկային թմբուկի 20 բաժանում): Ըստ սեկցիաների վերազանցումների հաշվարկների մեջ ընդգրկում են լավագույն պայմաններում կատարված դիտարկումները (կատարողի հայեցողությամբ): Մեծ տարամիտումների դեպքում նիվելիրացումը սեկցիաներում կրկնում են՝ սկսած հիմնական հենանիշից:
8.28. Հարթաչափով նիվելիրով աշխատելիս կայաններում դիտարկումների հաջորդականությունը հետևյալն է.
1. Դիտակը ուղղում են այն չափաձողի կողմը, որ տվյալ դեպքում դիտարկվում է առաջինը և հարթաչափի բշտիկը բերում են կենտրոն:
2. Նիվելիրի դիտակն ուղղում են դեպի աջ հենակի վրա տեղադրված չափաձողի հիմնական սանդղակը (այն պետք է չափվի առաջինը), թմբուկը բերում են 50-ի վրա, էլևացիոն պտուտակը պտտելով մոտավոր համատեղում են գլանաձև հարթաչափի բշտիկի ծայրերը և հեռաչափային հաշվեցույց են վերցնում երեք ցանցաթելերով:
3. Էլևացիոն պտուտակի պտտումով ճիշտ համընկեցնում են գլանաձև հարթաչափի բշտիկի ծայրերը, հաշվարկային թմբուկի պտտումով բիսեկտորն ուղղում են չափաձողի հիմնական սանդղակի մոտակա գծիկին և չափաձողով և հաշվարկային թմբուկով հաշվարկում են:
4. Դիտակն ուղղում են աջ հենակի վրա կանգնած երկրորդ չափաձողի հիմնական սանդղակին և կատարում են 2-րդ և 3-րդ կետերում նշված բոլոր գործողությունները:
5. Դիտակն ուղղում են երկրորդ չափաձողի լրացուցիչ սանդղակին. էլևացիոն պտուտակով մեկ քառորդ պտույտ են կատարում, նորից պտուտակով համընկեցնում են բշտիկի ծայրերը և կատարում են 3-րդ կետում նշված մնացած գործողությունները:
6. Դիտակն ուղղում են աջ հենակին կանգնած առաջին չափաձողի լրացուցիչ սանդղակին և հետագա գործողությունները կատարում են ըստ 3-րդ կետի:
7. Չափաձողերը տեղափոխում են ձախ հենակների վրա և դիտարկումները կատարում են այն հաջորդականությամբ, ինչպես նշված է 2-6 կետերում:
Չափաձողով հաշվարկը սկսում են հենակի վրա չափաձողի վերջնական տեղադրումից և նիվելիրի գլանաձև հարթաչափի բշտիկի լրիվ հանգիստ վիճակի բերելուց 30 վրկ հետո: Եթե սեկցիաներում աջ և ձախ ընթացքների նիվելիրացումից ստացված վերազանցումների արժեքների տարբերությունները միևնույն նշանով են, ապա հաշվեցույցը վերցնում են չափաձողի և հարթաչափի վերջնական տեղադրումից 40 վրկ հետո, փոխում են կայանում դիտարկումների կարգը՝ սկսելով դիտարկումները մի զույգի վրա աջ հենակներով, իսկ մյուս զույգի վրա՝ ձախ հենակներով: Դիտարկման արդյունքները կայաններում գրանցում են հատուկ մատյանում կամ գրում են հիշողության գրանցող սարքում: Հենանիշի հետ տեղակապելիս մատյանի մեջ նշում են, թե ինչ վիճակում է հենանիշի արտաքին տեսքը և նշում են աշխատանքի տեսակները, որոնք կատարվել են վերականգնման համար: Բացի դրանից տեղակապման ժամանակ դրոշմանիշների համարներից արտատպվածքներ են հանում:
8.29. Կոմպենսատորով նիվելիրներով աշխատելու ժամանակ չափաձողով և հաշվեցուցային թմբուկով (միկրոմետրով) հաշվեցույցը կարդում են անմիջապես դիտակը չափաձողին ուղղելուց հետո, որը, համաձայն 8.13 կետի, դիտարկվում է առաջինը կլոր հարթաչափի բշտիկը կենտրոն բերելուց հետո: Հաշվեցույց վերցնելուց առաջ անհրաժեշտ է համոզվել, որ կոմպենսատորը գտնվում է աշխատանքային վիճակում: Հաշվեցույց վերցնելու կարգը բերված է 8.28. կետում:
8.30. Դիտարկումների վերահսկումը կայաններում կայանում է հետևյալում.
8.30.1. Համեմատում են չափաձողերի հիմնական և լրացուցիչ սանդղակներց ստացված վերազանցումների արժեքները, որոնց տարբերությունը 0,5մմ-ից ավելի չպետք է լինի: Եթե նույնիսկ մեկ տարբերություն ստացվել է թույլատրելիից մեծ, ապա բոլոր դիտարկումները կայաններում կրկնում են` նախապես փոխելով նիվելիրի բարձրությունը 3սմ-ով:
8.30.2. Համեմատում են տվյալ և հաջորդող կայանների հետևի աջ հենակների և հետևի ձախ հենակների (որտեղ այդ հենակները եղել են առջևի) միջին վերազանցումների արժեքները, որոնց տարբերությունը 0,7մմ-ից ավելի չպետք է լինի (հաշվեցույցային թմբուկի 14 բաժանում): Եթե տարբերությունը մեծ է թույլատրելիից, ապա սկզբից կրկնում են դիտարկումը նախորդ կայանում, իսկ դրանից հետո տվյալ կայանում, այս դեպքում դիտարկման սկզբնական արդյունքները մշակման չեն վերցվում:
8.30.3. Թվային նիվելիրներով աշխատելիս վերազանցումների տարբերությունը 0.25 մմ-ից ավելի չպետք է լինի: Թվային նիվելիրներով դիտարկումների ընթացքում ավանդական եղանակով I դասի նիվելիրացման աշխատանքների իրականացման ժամանակ չափագրվող աջ և ձախ ընթացքների փոխարեն դիտարկումները անհրաժեշտ է կատարել նիվելիրի հորիզոնի փոփոխության պայմաններում, քանի որ գործիքի ցանկացած տեղափոխում հասկանում է որպես նոր կայանի չափագրում և դիտարկված տվյալները գումարում նախկին տվյալներին:
8.31. Ըստ սեկցիաների հարակից հենանիշների և ըստ տեղամասերի հիմնային հենանիշների միջև նիվելիրացման վերահսկողությունը կայանում է հետևյալում.
8.31.1. Սեկցիաներով մի ուղղությամբ նիվելիրացում կատարելուց հետո իրար հետ համեմատում են աջ և ձախ ընթացքներով ստացված երկու վերազանցումները: Դրանց միջև տարբերությունը չպետք է գերազանցի 2մմÖL, երբ կայանների միջին թիվը 1կմ ընթացքի վրա 15-ից քիչ է (առաջին դեպք) և 3մմÖL, եթե կայանների միջին թիվը 1կմ ընթացքի վրա 15-ից ավելի է, ինչպես նաև դժվարահաս շրջանների նիվելիրացման դեպքում (երկրորդ դեպք), որտեղ L-ը սեկցիաների երկարությունն է կմ-ով:
Եթե տարբերությունը ստացվում է թույլատրելիից մեծ, ապա սեկցիայով նիվելիրացումը այդ ուղղությամբ կրկնում են: Բոլոր վերազանցումների արդյունքները ընդգրկում են մշակման մեջ այն դեպքում, երբ սկզբնականները առաջին դեպքի համար 5մմÖL-ից և երկրորդ դեպքի համար 6մմÖL-ից ավելի չափով իրարից չեն տարբերվում, իսկ կրկնվողները սկզբնականներից չեն տարբերվում համապատասխանաբար 3մմÖL-ից և 4մմÖL-ից ավելի չափով: Հակառակ դեպքում մշակվում են կրկնակի նիվելիրացումից ստացված վերազանցումների արդյունքները: Սեկցիաներով ուղիղ և հակադարձ նիվելիրացում կատարելուց հետո համեմատում են վերազանցումների երկու միջին արդյունքները: Տարբերությունը դրանց միջև չպետք է գերազանցի 3մմÖL առաջին դեպքի համար և 4մմÖL երկրորդ դեպքի համար:
Եթե տարբերությունը ստացվում է թույլատրելիից մեծ, ապա նիվելիրացումը սեկցիայով կրկնում են ուղղություններից մեկով: ՈՒղղության ընտրությունը կատարում են հաշվի առնելով աջ և ձախ ընթացքների արդյունքների զուգամիտությունը: Վերազանցումների բացահայտ անբավարար արժեքները բացառում են: Մնացած երկու արդյունքները մշակվում են, եթե դրանք չեն տարբերվում նշված թույլատրելի արժեքներից և ստացված են հակադարձ ուղղությամբ նիվելիրացումից: Մշակվում են բոլոր երեք վերազանցումների արդյունքները այն դեպքում, երբ սկզբնականները իրարից չեն տարբերվում 5մմÖL-ով առաջին դեպքի համար և 6մմÖL -ով երկրորդի համար, իսկ կրկնակի արդյունքները չեն տարբերվում յուրաքանչյուր սկզբնականից 4մմÖL-ով: Մշակման ժամանակ սկզբից միջինացնում են մի ուղղությամբ ընթացքներից ստացված վերազանցումների արժեքները, իսկ հետո՝ ուղիղ և հակադարձ ընթացքների: Եթե սկզբնական և կրկնվող նիվելիրացման արդյունքները չեն բավարարում նշված պահանջները, ապա սկզբնականը բացառում են և նիվելիրացումը նորից կրկնում են հակադարձ ուղղությամբ:
8.31.2. Տեղամասով հիմնային հենանիշների միջև նիվելիրացում կատարելոց հետո համեմատում են աջ և ձախ ընթացքների վերազանցումների, ինչպես նաև ուղիղ և հակադարձ ուղղություններով նիվելիրացման վերազանցումների արժեքները: Ըստ տեղամասի վերազանցումների համապատասխան արժեքների տարբերությունները չպետք է մեծ լինեն 1 կետում բերված թույլատրելի արժեքներից: Հակառակ դեպքում հաջորդ տեղամասերում պարբերաբար կրկնվող սխալներից խուսափելու համար առաջնորդվում են 8.28 կետի պահանջներով:
8.32. Սեկցիաներով և տեղամասերով նիվելիրացման ավարտմանը զուգահեռ կանոնավոր կերպով կազմում են վերազանցումների հատուկ ամփոփագիր (հավելված 16):
8.33. Ըստ սեկցիաների չափաձողերի մետրի միջին երկարության համար վերազանցումներում ուղղումներ են մտցնում ըստ չափաձողերի ստուգանմուշարկման արդյունքների ՄԿ/MK/-1 կոմպարատորով, կիրառելով հետևյալ բանաձևը`
d h = (Lմիջ. - 1000,0) x h,
որտեղ Lմիջ. - չափաձողերի մետրի միջին երկարությունն է մմ-ով, h-վերազանցումներն են մետրերով:
Բացի դրանից, ըստ սեկցիաների վերազանցումները ուղղվում են կոմպարատորի վրա ստուգանմուշարկման և նիվելիրացման դեպքում չափաձողերի տարբեր ջերմաստիճանների պատճառով (տե'ս հավելված N 16): Ուղիղ և հակադարձ նիվելիրացումից ստացված վերազանցումների արժեքների ուղղումները հաշվում են առանձին` հետևյալ բանաձևով.
d h = α (tH - tս)h,
որտեղ՝ α-ն չափաձողի գծային ընդարձակման միջին գործակիցն է, որն ընդունվում է 2x10-6 հավասար,
tս-ն չափաձողի ջերմաստիճանն է ստուգանմուշարկման ժամանակ,
tH-ը օդի միջին ջերմաստիճանն է նիվելիրացման ժամանակ,
հ-ը վերազանցումներն են մ-ով:
Ջերմացուցիչ ունեցող չափաձողերով աշխատելիս ուղղումները որոշում են հետևյալ բանաձևով՝
d h = h α (t՝H՝ - tս) - ∑ П α ∆t,
որտեղ՝ tH, հետևի չափաձողի ինվարային շերտի միջին ջերմաստիճանն է,
∑ П- ն առջևի չափաձողի հիմնական սանդղակով հաշվեցույցների գումարն է մ-ով:
∆t= tH,,- t՝H,
որտեղ t՝՝H-ը առջևի չափաձողի ինվարային շերտի միջին ջերմաստիճանն է:
9. II ԴԱՍԻ ՆԻՎԵԼԻՐԱՑՈՒՄ
9.1. II դասի նիվելիրացումն իրականացնում են ուղիղ և հակադարձ ուղղություններով՝ հենակներով կամ ցցերով: Կայանում դիտարկումները կատարում են «համատեղման» եղանակով: II դասի նիվելիրացումը կատարում են բարձրագույն կամ միջնակարգ մասնագիտական կրթությամբ մասնագետները:
9.2. II դասի նիվելիրացումը կատարում են հարթ զուգահեռ սկավառակով, հպումային հարթաչափով կամ կոմպենսատորով նիվելիրներով, որոնք պետք է բավարարեն հետևյալ պահանջներին.
դիտակի խոշորացումը պետք է լինի 40 անգամից ոչ պակաս,
հպումային հարթաչափի բաժանմունքի արժեքը 12‘’/2մմ-ից ոչ ավելի,
հպումային հարթաչափի բշտիկի ծայրերի պատկերը պետք է փոխանցվի դիտակի տեսադաշտ:
9.3. Սանդղակների մետրային միջակայքերի և ինվարային չափաձողի ողջ սանդղակի սխալները II դասի նիվելիրային աշխատանքներ կատարելիս թույլատրվում է հասցնել մինչև 0,20 մմ-ի, լեռնային տարածքներում՝ մինչև 0,10 մմ-ի:
Պատային դրոշմանիշներին տեղակապելու համար կիրառում են կախովի չափաձողեր, նույնպիսի սանդղակներով, ինչպիսին ունեն հիմնական չափաձողերը: Կախովի չափաձողի զրոն պետք է համընկնի բլթակի համար արված անցքի կենտրոնի հետ, որտեղ կախում են չափաձողը պատային դրոշմանիշին:
9.4. Նիվելիրները և չափաձողերը հետազոտում և ստուգում են II դասի նիվելիրացման աշխատանքները սկսելուց առաջ: Հետազոտման և ճշտման մեթոդներն ու ժամկետները նույնն են, ինչպես որ I դասի նիվելիրացման ժամանակ: Չափաձողերի միջակայքերի երկարությունները ստուգանմուշարկում են ՄԿ/MK/-1 կոմպարատորով դաշտային աշխատանքները սկսելուց առաջ և հետո` տարվա մեջ երկու անգամ:
9.5. Ուղիղ ընթացքով նիվելիրացման ժամանակ կայաններում դիտարկումների հերթականությունը հետևյալն է.
Կենտ կայան
Հաշվեցույց հետևի չափաձողի հիմնական սանդղակով,
Հաշվեցույց առջևի չափաձողի հիմնական սանդղակով,
Հաշվեցույց առջևի չափաձողի լրացուցիչ սանդղակով,
Հաշվեցույց հետևի չափաձողի լրացուցիչ սանդղակով:
Զույգ կայան
Հաշվեցույց առջևի չափաձողի հիմնական սանդղակով,
Հաշվեցույց հետևի չափաձողի հիմնական սանդղակով,
Հաշվեցույց հետևի չափաձողի լրացուցիչ սանդղակով,
Հաշվեցույց առջևի չափաձողի լրացուցիչ սանդղակով:
Հակադարձ ընթացքով նիվելիրացման ժամանակ կենտ կայաններում դիտարկումները սկսում են առջևի չափաձողից, իսկ զույգ կայաններում՝ ետևի չափաձողից:
9.6. Ուղիղ և հակադարձ ընթացքներով նիվելիրացումն իրականացնում են նույն գծով և միևնույն տիպի անցումային կետերով, կայանների թիվը սեկցիաներում պետք է լինի զույգ և միատեսակ:
Դիտորդի հաջորդ կայան տեղափոխվելու ժամանակ առջևի չափաձողը հանում են հենակի վրայից:
9.7. Նիվելիրացման ուղղության փոփոխման ժամանակ չափաձողերը տեղերով փոխվում են:
9.8. Յուրաքանչյուր սեկցիայով նիվելիրացումն ուղիղ և հակադարձ ընթացքներով կատարում են օրվա տարբեր կեսերին: Այդ պահանջի կատարմանը ավելի քիչ խստությամբ են հետևում աշնանը և ձգվող ամպամած եղանակին:
9.9. Նիվելիրացումը կատարում են 25-30 կմ տեղամասերով «ութնյակ» սխեմայով (տե'ս 8.18 կետ): Առանձին դեպքերում տեղամասի երկարությունը կարող է մեծանալ կամ փոքրանալ:
9.10. Դիտոցման ճառագայթի նորմալ երկարությունը 65մ է: Եթե դիտակի խոշորացումը 44x-ից պակաս չէ և դիտարկումների համար պայմանները բարենպաստ են, ապա ճառագայթի երկարությունը կարող է թույլատրվել մեծացնել մինչև 75մ:
Նի/Ni/-007 և թվային նիվելիրներով աշխատելիս դիտման ճառագայթի առավելագույն երկարությունը 50մ է:
9.11. Դիտման ճառագայթի բարձրությունը հողի մակերևույթից պետք է լինի 0,5 մ-ից ոչ պակաս: Առանձին դեպքերում, երբ դիտման ճառագայթի երկարությունը մինչև 30մ է, թույլատրվում է դիտարկումներ կատարել դիտման ճառագայթի 0,3մ բարձրության դեպքում:
9.12. Միջին և հարավային լայնություններում դիտարկումները կատարում են առավոտյան և հետկեսօրյա ժամանակահատվածում, չնայած աշխատանքը սկսում են արևածագից մոտավորապես 30 րոպե հետո և ավարտում են մայրամուտից 30 րոպե առաջ:
Դիտարկումներ չի թույլատրվում.
ա) պատկերների տատանման, չափաձողի սանդղակի վրա բիսեկտորի ուղղումը դժվարացնելու և «լողացող» պատկերների դեպքում,
բ) սաստիկ քամու դեպքում,
գ) օդի ջերմաստիճանի թռիչքային տատանումների և նրա անկանոն արագ միակողմանի փոփոխությունների ժամանակ:
9.13. Նիվելիրը տեղադրում են ստվերում եռոտանու վրա դիտարկումներից 45 րոպե առաջ:
Դիտարկումների ժամանակ նիվելիրը պաշտպանում են արևի ճառագայթներից սպիտակ պաստառ ունեցող արևանոցով, իսկ մի կայանից մյուսը տեղափոխելիս՝ սպիտակ ամուր կտորից ընդարձակ ծածկոցով:
9.14. Նիվելիրի տեղակայման և չափաձողի միջև հեռավորությունը չափում են բարակ պողպատե լարով կամ պողպատե ժապավենով: Նիվելիրի հեռաչափն այդ նպատակով չի թույլատրվում օգտագործել: Նիվելիրից մինչև չափաձողերը հեռավորությունների անհավասարությունը պետք է լինի 1մ ոչ ավելի: Ըստ սեկցիաների այդ անհավասարությունների կուտակումը պետք է լինի 2մ ոչ ավելի:
9.15. Հենակները ամրացնում են ամուր գրունտում: Երկաթուղային պաստառով նիվելիրային աշխատանքներ կատարելիս չի թույլատրվում հենակներն ամրացնել կոպճավազում: Եթե թմբեզրին կամ ուղիների միջև գրունտը փխրուն է կամ լցված է մանրախճով և խարամով, ապա թույլատրվում է փայտակոճերին խփել հատուկ հենակներ:
Քարքարոտ կամ շատ ամուր գրունտի վրա նիվելիրային աշխատանքներ կատարելիս նպատակահարմար է օգտագործել 15-20սմ երկարությամբ և 3սմ հաստությամբ հենակներ, իսկ փափուկ և խոնավ գրունտի վրա նիվելիրային աշխատանքներ կատարելիս՝ մեխերով փայտե ցցեր կամ 40-70սմ երկարությամբ հենակներ: Հակադարձ ընթացքով նիվելիրային աշխատանքներ կատարելիս ցցերը խփում են:
Չափաձողերը հենակի վրա տեղակայում են հարթաչափին ուղղաձիգ դիրքով, որոնք պահվում են հենարաններով:
9.16. Աշխատանքների ընդմիջումից առաջ դիտարկումներն ավարտում են մշտական հենանիշի վրա: Թույլատրվում է դիտարկումներն ավարտել նաև երեք հենակների վրա (երկու կայան), որոնք խփված են փոսի հատակին մինչև 0,3մ խորությամբ: Նիվելիրացումը երկու կայաններում էլ իրականացնում են սահմանված ծրագրով, որից հետո հենակները ծածկում են խոտով և լցնում հող: Ընդմիջումից հետո նիվելիրացումը վերջին կայանում կրկնում են, իսկ անհրաժեշտության դեպքում կրկնում են նաև նախավերջինում: Ընդմիջումից առաջ և հետո կատարված նիվելիրացման արդյունքները համեմատելով որոշում են, թե որ հենակն է պահպանել իր սկզբնական դիրքը և դրանից էլ սկսում են հետագա նիվելիրային աշխատանքները:
Հենակներն ընդունում են իրենց սկզբնական դիրքը պահպանած, եթե ընդմիջումից առաջ և հետո ստացված վերազանցումների տարբերությունները 1մմ չեն անցնում: Սեկցիաների վերազանցումների հաշվարկներում ընդգրկում են լավագույն պայմաններում կատարված դիտարկումները: Մեծ տարբերությունների դեպքում սեկցիաներով նիվելիրացումը կրկնում են, սկսելով մշտական հենանիշից:
9.17. Կայաններում հարթաչափով նիվելիրով դիտարկումների հաջորդականությունը հետևյալն է.
9.17.1. Դիտակն ուղղում են այն չափաձողի կողմը, որը տվյալ կայանում պետք է դիտարկվի առաջինը և հարթաչափի բշտիկը բերում են կենտրոն:
9.17.2. Դիտակն ուղղում են այն չափաձողի հիմնական սանդղակին, որը պետք է դիտարկվի առաջինը: Նիվելիրի թմբուկը դնում են 50 հաշվեցույցի վրա: Էլևացիոն պտուտակի պտտումով հարթաչափի բշտիկի ծայրերը մոտավոր համընկեցնում են, վերցնում են վերին և ներքին թելերի հեռաչափային հաշվեցույց:
9.17.3. Էլևացիոն պտուտակի պտտումով ճիշտ համընկեցնում են հարթաչափի բշտիկի ծայրերը, թմբուկի պտտումով բիսեկտորը ճիշտ բերում են հիմնական սանդղակի մոտակա գծիկի վրա, ըստ չափաձողի և թմբուկի վերցնում են հաշվեցույց:
9.17.4. Դիտակն ուղղում են երկրորդ չափաձողի հիմնական սանդղակին, կատարում են 2 և 3 կետերում նշված բոլոր գործողությունները:
9.17.5. Ուղղիչ պտուտակով դիտակն ուղղում են երկրորդ չափաձողի լրացուցիչ սանդղակին, էլևացիոն պտուտակի պտտումով փոխում են հարթաչափի դիրքը մեկ քառորդով, էլևացիոն պտուտակի պտտումով նորից ճիշտ համընկեցնում են հարթաչափի բշտիկի ծայրերը և կատարում են 3 կետում թվարկած մնացած գործողությունները:
9.17.6. Դիտակն ուղղում են առաջին չափաձողի լրացուցիչ սանդղակին և գործում են 3-րդ կետի համաձայն:
Հաշվեցույցը չափաձողով վերցնում են գլանաձև հարթաչափի բշտիկի լրիվ հանգիստ վիճակի բերելուց հետո և չափաձողը հենակի վրա տեղադրելուց կես րոպե անց:
Դիտարկումների արդյունքները գրանցում են համապատասխան մատյանում կամ մուտքագրում են գրանցասարքի հիշողության մեջ: Հենանիշերը տեղակապելիս մատյանում նշում են, թե ինչ վիճակում է գտնվում հենանիշի արտաքին տեսքը և նշում են, թե ինչպես պետք է կատարվեն դրա վերականգնման աշխատանքները: Բացի դրանից տեղակապման ժամանակ դրոշմանիշների համարներից տպվածք են վերցնում:
9.18. Կոմպենսատորով նիվելիրներով աշխատելիս չափաձողով և հաշվեցուցային թմբուկով հաշվեցույցներ վերցնում են դիտակն անմիջապես առաջինը դիտարկվող չափաձողի վրա ուղղելուց և հարթաչափի բշտիկը կենտրոն բերելուց հետո: Հաշվեցույց վերցնելուց առաջ պետք է համոզվել, որ կոմպենսատորը գտնվում է աշխատանքային վիճակում: Հաշվարկման հաջորդականությունը տրված է 9.17 կետում:
9.19. Յուրաքանչյուր կայանում ըստ չափաձողերի հիմնական և լրացուցիչ սանդղակների հաշվարկում են վերազանցումները: Վերազանցումների տարամիտումը և չափաձողերի զրոների բարձրությունների տարբերությունը, որոնք ստացվել են հետազոտություններից, չպետք է գերազանցի 0,7մմ (թմբուկի 14 բաժանում): Եթե տարամիտումը ստացվում է թույլատրելիից մեծ, ապա կայաններում բոլոր դիտարկումները փոփոխում են՝ 3 սմ փոփոխելով նաև նիվելիրի դիրքն ըստ բարձրության:
9.20. Սեկցիաներով հարակից հենանիշերի միջև և տեղամասերով հիմնային հենանիշերի միջև նիվելիրացման ստուգումը կայանում է հետևյալում.
9.20.1. Սեկցիաներով ուղիղ և հակադարձ ուղղություններով նիվելիրացում իրականացնելուց հետո համեմատում են երկու վերազանցումները:
Տարբերությունը այդ երկու արդյունքների միջև չպետք է 5մմ √L ավելի լինի, եթե 1կմ ընթացքի վրա կայանների միջին թիվը 15-ից փոքր է (առաջին դեպք) և 6մմ √L, եթե 1կմ ընթացքի վրա կայանների միջին թիվը 15-ից մեծ է, ինչպես նաև դժվարահաս շրջանների նիվելիրացման ժամանակ (երկրորդ դեպք):
Եթե տարբերությունը ստացվում է թույլատրելիից մեծ, ապա սեկցիաներով նիվելիրացումն ընթացքներից մեկով կրկնում են:
Վերազանցումների բացահայտ անբավարար արժեքները բացառում են: Մնացած երկու արժեքները վերցնում են մշակման, եթե դրանք իրար մեջ տրված թույլատրելիից շատ չեն տարբերվում և ստացվել են հակադարձ ընթացքով նիվելիրացումից:
Բոլոր երեք վերազանցումների արժեքները վերցնում են մշակման այն դեպքում, երբ սկզբնականները չեն տարբերվում իրարից ավելի քան 8մմ √L առաջին դեպքի համար և ավելի քան 12մմ √L երկրորդ դեպքի համար, իսկ կրկնվող արժեքները չեն տարբերվում սկզբնական յուրաքանչյուրից ավելի քան 6մմ √L:
Վերջնական մշակման ժամանակ սկզբում միջինացնում են մեկ ուղղության ընթացքներից ստացված վերազանցումների արժեքները, իսկ հետո՝ ուղիղ և հակադարձ ընթացքների վերազանցումների արժեքները:
Եթե վերազանցումների սկզբնական և կրկնվող արժեքները չեն բավարարում նշված պահանջներին, ապա սկզբնականները հանում են և իրականացնում են ևս մեկ կրկնվող նիվելիրացում հակադարձ ուղղությամբ:
9.20.2. Տեղամասով հիմնային հենանիշների միջև համեմատում են վերազանցումների արժեքները, որոնք ստացվել են ուղիղ և հակադարձ ուղղություններով նիվելիրացումից հետո: Այդ արժեքների միջև նորմալ տարամիտումը չպետք է գերազանցի առաջին դեպքի համար 5մմ √L և երկրորդ դեպքի համար՝ 6մմ √L:
9.21. Սեկցիաներով և տեղամասերով նիվելիրացման ավարտին զուգահեռ կանոնավոր կերպով կազմում են վերազանցումների հատուկ ամփոփագիր (հավելված 17):
9.22. Ըստ սեկցիաների չափաձողերի մետրի միջին երկարության համար վերազանցումներում ուղղումներ են մտցնում ՄԿ/MK/-1 կոմպարատորով՝ ըստ չափաձողերի ստուգանմուշարկման արդյունքների:
10. I ԵՎ II ԴԱՍԻ ՆԻՎԵԼԻՐԱՅԻՆ ԳԾԵՐԻ ԿԱՊԸ
10.1. I և II դասերի նիվելիրային գծերը գոյություն ունեցողների հետ կապում են ըստ սխեմայի, որը տրված է նախագծով և ճշգրտված է տեղազննության ժամանակ: Այդ դեպքում հատուկ ուշադրություն են դարձնում տեղանքում հենանիշների ճանաչմանը, կայունությանը և դրանց համարների ճշտմանը:
10.2. I և II դասերի գծերը կապելիս ստուգողական նիվելիրացումը սեկցիաներում գոյություն ունեցող գծերի հետ կատարվում է ուղիղ և հակադարձ ուղղություններով:
10.3. Ստուգողական նիվելիրացման ժամանակ վերազանցումների նախկին և կրկին հաշված արդյունքների միջև թույլատրելի տարամետ արժեքները հաշվում են հետևյալ բանաձևերով.
6մմ √L - I դասի ընթացքների կապակցման համար,
9մմ √L - II դասի կամ I և II դասի ընթացքների կապակցման համար:
Մեծ տարամիտությունների դեպքում անհրաժեշտ է գտնել այդ փոփոխությունների պատճառները՝ վերլուծության համար օգտագործելով կրկնակի նիվելիրացման տվյալները և երկրակեղևի ժամանակակից ուղղաձիգ շարժումների քարտեզները: Եթե մեծ տարամիտությունների պատճառ են հանդիսանում հենանիշների սեզոնային շարժումները, ապա ստուգողական նիվելիրացումը կատարում են հաջորդ սեկցիայով:
10.4. Եթե կապման հանգույցում տեղադրվել է նոր հիմնային հենանիշ, ապա նրան տեղակապում են գոյություն ունեցող բոլոր ընթացքների մոտակա հենանիշները:
11. I ԵՎ II ԴԱՍԻ ՆԻՎԵԼԻՐԱՑՄԱՆ ՀԱՏՈՒԿ ԴԵՊՔԵՐԸ
11.1. 150 մ-ից ավելի լայնությամբ ջրային արգելքների դեպքում նիվելիրացումը կատարում են տեղագրական տեսակետից միատեսակ ափերով համեմատաբար նեղ մասերում: Դիտոցային ճառագայթի բարձրությունը ջրից պետք է լինի 3մ-ից ոչ պակաս: Դրա համար օգտագործում են տարածքի բարձրադիր մասերը կամ պատրաստում են փայտե եռոտանիներ: Ճառագայթը չպետք է անցնի թփուտների, կղզիների և ծանծաղուտների վրայով:
11.2. Մինչև դաշտային աշխատանքներ սկսելը հետազոտում են ջրային արգելքների համար նախատեսված նիվելիրի կիզակետող ոսպնյակի ընթացքը: Կիզակետող ոսպնյակի ընթացքի անճշտությունը չպետք է գերազանցի ± 0.5 մմ (տե'ս հավելված N 23):
Ջրային արգելքներով նիվելիրային աշխատանքներ սկսելուց մեկ-երկու օր առաջ նիվելիրն ուղղում են: i անկյունը բերում են մինիմումի (2-3,,) և որոշում են ամեն օր նիվելիրացումից առաջ և հետո: Արգելվում է i անկյունը ուղղել նիվելիրացման օրը:
11.3. Նիվելիրացումը ջրային արգելքներով կատարում են համեմատաբար բարենպաստ եղանակին: Լավագույն պայմանները լինում են ամպամած օրերին ջերմաստիճանային թույլ տատանումների և ոչ ուժեղ քամիների դեպքում, այդպիսի օրերին ցանկացած ժամի կարելի է աշխատել: Արևոտ օրերին նիվելիրացումն անհրաժեշտ է սկսել արևածագից 3 ժամ հետո և ավարտել արևամուտից 3 ժամ առաջ:
11.4. Մինչև 150 մ լայնությամբ ջրային արգելքների վրայով նիվելիրացումը կատարում են երկու եղանակով:
11.4.1. Եթե հնարավոր է նիվելիրը և չափաձողերն այնպես տեղադրել, որ երկու դիտման ճառագայթներն էլ անցնեն ջրի մակերևույթի վրայով միևնույն պայմաններում, ապա նիվելիրացումը կատարում են սովորական եղանակով, պահպանելով նիվելիրի և երկու չափաձողերի (հետևի և առջևի) միջև հեռավորությունների հավասարությունը: Այս եղանակով նիվելիրացումը տարբերվում է սովորական նիվելիրացումից նրանով, որ թմբուկի օգնությամբ չափաձողի յուրաքանչյուր սանդղակով մեկ անգամ ուղղման և հաշվեցույցի փոխարեն կատարում են երեքը, այնուհետև դրանցից վերցնում են միջինը: Չափաձողի միևնույն գծիկի վրա հաշվեցույցների միջև տարամիտումը թույլատրվում է թմբուկի մինչև 20 բաժանման չափով: Կայանում մնացած թույլտվածքները մնում են նրանք, որոնք որ նախատեսված են համապատասխան դասի սովորական նիվելիրացման համար:
Հակադարձ նիվելիրացումը ջրային արգելքի վրայով կատարում են օրվա հաջորդ կեսին:
Մատյանում գրառումների օրինակը տրված է N 23 հավելվածում:
Այս եղանակն օգտագործում են նաև մինչև 300մ ջրային արգելքների վրայով նիվելիրացման աշխատանքներ կատարելիս, եթե գետի մեջտեղում կղզի կա, որը հնարավորություն է տալիս նիվելիրը տեղադրել արգելքի մեջտեղում այնպես, որ հեռավորությունները մինչև չափաձողերը լինեն միատեսակ` մինչև 150մ:
11.4.2. Եթե հնարավոր չէ նիվելիրը և չափաձողերը տեղադրել այնպես, ինչպես նշված է 21 նկարում, ապա մինչև 150 մ լայնությամբ ջրային արգելքների վրայով նիվելիրացումը կատարում են երկու ափերից առաջին եղանակով, այդ դեպքում ճառագայթներից մեկը կանցնի ջրի վրայով, իսկ երկրորդը` ափի:
Տարբեր ափերից ստացված վերազանցումների արժեքները կարող են տարբերվել միմյանցից 10մմ-ով:
Մատյանում գրառումների օրինակը տրված է N 24 հավելվածում: Երկու եղանակով նիվելիրացման ժամանակ առաջակվում է կիրառել միսանդղականի 3մմ հաստությամբ գծիկներով չափաձողեր: Այդ դեպքում կայաններում աշխատանքի կարգը հետևյալն է.
I դասի նիվելիրացում (կենտ կայան).
հաշվեցույց հետևի աջ չափաձողով,
հաշվեցույց առջևի աջ չափաձողով,
չափաձողերի տեղափոխում ձախ փոխանցման կետերի վրա,
հաշվեցույց առջևի ձախ չափաձողով,
հաշվեցույց հետևի ձախ չափաձողով,
նիվելիրի դիրքի փոփոխում ըստ բարձրության,
հաշվեցույց հետևի ձախ չափաձողով,
հաշվեցույց առջևի ձախ չափաձողով,
չափաձողերի տեղափոխում աջ փոխանցման կետերի վրա,
հաշվեցույց առջևի աջ չափաձողով,
հաշվեցույց հետևի աջ չափաձողով:
Զույգ կայաններում դիտարկումները սկսում են առջևի չափաձողից:
II դասի նիվելիրացում
հաշվեցույց հետևի չափաձողով,
հաշվեցույց առջևի չափաձողով,
նիվելիրի դիրքի փոփոխում ըստ բարձրության,
հաշվեցույց առջևի չափաձողով,
հաշվեցույց հետևի չափաձողով:
Հակադարձ ընթացքի ժամանակ նիվելիրացումը կատարում են նույն ծրագրով, բայց օրվա հաջորդ կեսին:
11.5. Մինչև 150 մ լայնությամբ ջրային արգելքների վրայով նիվելիրացումը կատարում են միաժամանակ երկու ափով երկու գծահամատեղվածքով, օգտագործելով երկու նիվելիր և երկու զույգ չափաձողեր: Երկու ափերի հենանիշների միջև վերազանցումները որոշում են միանգամից և ուղիղ և հակադարձ ընթացքների համար: Աշխատանքը կատարում են արշավախմբի ղեկավարի կամ բաժնի պետի ղեկավարությամբ:
11.6. 150 մ և ավելի լայնությամբ ջրային արգելքների վրայով նիվելիրացումից մեկ օր առաջ տեղադրված հենանիշներից որոշ հեռավորության վրա խփում են փայտե ցցեր չափաձողերի և եռոտանու կանգնեցման համար: Ցցերն ամրացնում են հողի մակերևույթից 10-20սմ խորության վրա: Ցցերն ամրացնելուց առաջ բուսական ծածկույթը վերացնում են: Չափաձողերի տեղադրման համար ցցերի վրա խփում են գնդաձև գլխիկներով մետաղե գամեր:
11.7. 150-400 մ լայնությամբ ջրային արգելքների վրայով նիվելիրացումը կատարում են «համատեղման» եղանակով հատուկ վահանակներ կիրառելով (տե'ս հավելված N 25): I դասի նիվելիրացման ժամանակ կրկնապատիկ նվագների քանակը պետք է երկուսից ոչ պակաս լինի (երկրորդ նվագը կատարվում է օրվա հաջորդ կեսին), II դասի նիվելիրացման ժամանակ` մեկ:
11.8. 400 մ-ից ավելի լայնությամբ ջրային արգելքների վրայով նիվելիրացումը կատարում են վահանակներով «շարժական դրոշմանիշի» (տե՜ս հավելված N 26) և «ուղղորդման» եղանակներով (տե'ս հավելված N 27):
400-1000 մ լայնությամբ ջրային արգելքների վրայով I դասի նիվելիրացման ժամանակ կատարում են չորս կրկնապատիկ նվագ (երկուսը «շարժական դրոշմանիշի» և երկուսը «ուղղորդման» եղանակով), իսկ II դասի նիվելիրացման ժամանակ` երեք կրկնապատիկ նվագով եղանակներից որևէ մեկով: Դիտարկումները կատարում են երկու օրում:
1000 մ-ից ավելի լայնությամբ ջրային արգելքների վրայով I դասի նիվելիրացման ժամանակ կատարում են վեց կրկնապատիկ նվագ (երեքը «շարժական դրոշմանիշի» և երեքը «ուղղորդման» եղանակով), իսկ II դասի նիվելիրացման ժամանակ` չորս կրկնապատիկ նվագով եղանակներից որևէ մեկով: Դիտարկումները կատարում են երեք օրում:
Կրկնապատիկ նվագներից ստացված արդյունքների զուգամիտությամբ հաշված միջին քառակուսային սխալը պետք է լինի 3մմÖS-ից ոչ ավելի I դասի և 5մմÖS II դասի նիվելիրացման համար: Անհրաժեշտության դեպքում նվագների թիվն ավելացնում են:
11.9. I և II դասերի ցանցերի վերակառուցման նիվելիրային աշխատանքները անհրաժեշտ է կատարել Շվեյցարական Լեյկա/Leica/ ֆիրմայի ՆԱ/NA/-3003 թվային նիվելիրներով, որոնք բարձրությունների և հեռավորությունների տվյալների ավտոմատ գրանցման որոշման համար աշխատում են պատկերների էլեկտրոնային մշակման սկզբունքով և օգտագործելով ստվերագծված ինվարային, ինչպես նաև պատային տիպի չափաձողեր:
11.1.0 0.4մմ ճշտությամբ ՆԱ/NA/-3003 թվային նիվելիրը կիրառվում է I և II դասերի նիվելիրացման, ինչպես նաև դեֆորմացիաների դիտարկումների և բարձր ճշտություն պահանջող այլ աշխատանքների ժամանակ: Դրանով ապահովում են ջերմաստիճանի ազդեցության ավտոմատ կոմպենսացման միջոցով չափագրումների կայուն արդյունքներ: Թվային նիվելիրում ընդգրկված ծրագիրը նիվելիրացումը դարձնում է առավել պարզ: Չափագրված արժեքների գրանցման անհրաժեշտության բացակայության հետևանքով պահանջվում է նվազագույն աշխատատարություն: Չնայած գործիքի շահագործման համեմատաբար պարզ սկզբունքներին, բարձր ճշտությամբ նիվելիրային աշխատանքներ կատարելիս անհրաժեշտ է պահպանել նաև աշխատանքների իրականացման ավանդական կարգը:
11.11. Երկու կետերի միջև ՆԱ/NA/-3003 թվային նիվելիրով բարձրությունների տարբերությունը չափելու համար անհրաժեշտ է տվյալ նիվելիրային գծի վրա իրարից 40-50 մ հեռավորությամբ ընտրել միջանկյալ կետեր, այսինքն՝ նիվելիրացման գիծը պետք է տրոհել առանձին փոքր հատվածների, որի օրինակը բերված է հավելված N 28-ում:
11.12. ՆԱ/NA/-3003 թվային նիվելիրով դաշտային աշխատանքների ավարտից հետո նիվելիրի դիսկետները դատարկվում են համակարգչի մեջ: Դաշտային չմշակված տվյալները, որի օրինակը բերված է աղյուսակ 23-ում մշակվում է Լեյկա Լեվել Պակ/ LeicaLevelPak/ ծրագրով: Այս ծրագիրը թույլ է տալիս դաշտային տվյալները խմբագրել, ուղղումներ կատարել, հետո հաշվել բարձրությունները: Նիվելիրացման գծերը հաշվելու համար ծրագրում պահանջվում է կամ սկզբնական, կամ վերջնական բարձրություններ, կամ էլ երկուսը միասին (տե'ս հավելված N 28):
12. ԼԵՌՆԱՅԻՆ ՏԱՐԱԾՔՆԵՐՈՒՄ I ԵՎ II ԴԱՍԵՐԻ ՆԻՎԵԼԻՐԱՑՄԱՆ ԱՌԱՆՁՆԱՀԱՏԿՈՒԹՅՈՒՆՆԵՐԸ
12.1. Լեռնային տարածքներում I և II դասերի նիվելիրային ընթացքներն անցկացնում են բարձրությունների նվազագույն անկում ունեցող ուղիներով: Լավագույն ուղիներ են համարվում խճուղային ճանապարհները: Լեռնային տարածքներում թույլատրվում է անցկացնել I և II դասի նիվելիրային «կախված» ընթացքներ:
12.2. Լեռնային տարածքներում I և II դասի նիվելիրային աշխատանքների ժամանակ օգտագործում են ջերմատվիչներով ինվարային չափաձողեր, որոնց համար որոշված են գծային ընդարձակման գործակիցներ:
12.3. Լեռնային տարածքներում նիվելիրային աշխատանքներ կատարելիս անհրաժեշտ է օգտագործել 160-180սմ ոտքեր ունեցող եռոտանիներ, որոնք կայաններում դիտարկումներ կատարելիս ապահովում են նիվելիրի կայունությունը և դիտարկողի աշխատանքի հարմարավետությունը:
Կարծր, քարային գրունտով տեղամասերի նիվելիրային աշխատանքները կատարելիս օգտագործում են գնդաձև գլխիկով կոնաձև հենակներ: Հենակի երկարությունը պետք է լինի մինչև 20 սմ, հաստությունը՝ 2,0-2,5 սմ:
12.4. 2 կմ և ավելի լայնությամբ լեռնային հովիտներում նիվելիրային աշխատանքները սկսում են միայն այն ժամանակ, երբ արևը լուսավորում է լանջերի 40-50% և վերանում են չափաձողի պատկերի դանդաղ լողացող տատանումները, դիտարկումներն ավարտում են արևամուտից մոտ 30 րոպե առաջ, քանի դեռ այդ տատանումները նորից չեն սկսվել:
I դասի նիվելիրային աշխատանքների ժամանակ դիտման ճառագայթի մինչև 15 մ երկարության դեպքում լեռնային տարածքներում թույլատրվում է դիտարկումներ կատարել դիտման ճառագայթի 0,3մ-ից ոչ պակաս բարձրության դեպքում:
12.5. ՈՒղիղ ընթացքով I և II դասերի նիվելիրացումը ողջ լեռնանցքով կարող է կատարել մի խումբ, կիրառելով մեկ զույգ ինվարային չափաձողեր, իսկ հակադարձ ընթացքով` ուրիշ կամ միաժամանակ երկու խումբ, ընդ որում, գծերի առաջին տեղամասում մի խումբը պետք է անցկացնի ուղիղ ընթացքը, իսկ միաժամանակ երկրորդը՝ հակադարձ ընթացքը: Հաջորդ տեղամասում երկրորդ խումբը պետք է անցկացնի ուղիղ ընթացքը, իսկ առաջինը՝ հակադարձը և այլն:
Նիվելիրացումը լեռներում կատարում են 15-30 կմ-անոց տեղամասերով «ութնյակ» սխեմայով:
12.6. Կայան հիմնելու համար խումբը պետք է ունենա սովորական նիվելիրներ կամ թեքաչափեր: Այդպիսի նիվելիրի օգնությամբ նախքան հենակներ խփելը ստուգում են նիվելիրի դիտակի միջին գծի արտապատկերումը չափաձողի թույլատրելի հաշվեցույցի վրա:
13. ՆԻՎԵԼԻՐԱՑՄԱՆ ԱՌԱՆՁՆԱՀԱՏԿՈՒԹՅՈՒՆՆԵՐԸ ԳԵՈԴԻՆԱՄԻԿԱԿԱՆ ԵՎ ՏԵԽՆԱԾԻՆ ՊՈԼԻԳՈՆՆԵՐՈՒՄ
13.1. Գեոդինամիկական պոլիգոններում նիվելիրացման աշխատանքների տեխնիկական նախագծերը համաձայնեցվում են այն կազմակերպությունների հետ, որոնք այդ պոլիգոններում հետազոտություններ կամ օգտակար հանածոների արդյունահանում են կատարել: Գեոդինամիկական և տեխնածին պոլիգոններում կրկնակի նիվելիրացման աշխատանքների նպատակն է երկրակեղևի ժամանակակից շարժումների հետազոտումը և ակտիվ խորքային խզվածքների, երկրակեղևի տեկտոնական կառուցվածքի համեմատաբար ակտիվ տեղամասերի, տեխնածին պրոցեսների հետևանքով Երկրի մակերևույթի դեֆորմացիաների բացահայտումը:
13.2. Հիմնային հենանիշները տեղադրում են պոլիգոնների հանգույցներում, ինչպես նաև ճառագայթային գծերի ծայրերում:
13.3 Կրկնակի նիվելիրացումն անհրաժեշտ է կատարել այնպես, որ ընթացքների ուղիները, սարքավորումները, նիվելիրի տեղադրման և անցումային կետերի տեղերը չափման յուրաքանչյուր ցիկլում համընկնեն կամ իրար շատ մոտ լինեն:
13.4. Աշխատանքների ընդմիջումներից առաջ նիվելիրացումը պետք է ավարտել միայն մշտական հենանիշների վրա:
13.5. Հենանիշների տեղադրման վայրերը և դրանց արտաքին ձևավորումը պետք է երկարաժամկետ պահպանություն ապահովեն և բացառեն բարձրությամբ հենանիշների դիրքի սեզոնային փոփոխությունները: Ցանկալի է հենանիշները տեղադրել ժայռային ապարների վրա:
13.6. II դասի նիվելիրացումը կատարվում է 3մմ √L թույլատրելի անկապքով, որտեղ L-ը պոլիգոնի պարագիծը կամ սեկցիայի երկարությունն է կմ-ով, անհրաժեշտ է առաջնորդվել 8. 18-8. 23, 8. 29.1 և 8. 30. 1. կետերի պահանջներով:
14. ՆԻՎԵԼԻՐԱՅԻՆ ԸՆԹԱՑՔՆԵՐՈՎ ԾԱՆՐԱՉԱՓԱԿԱՆ ԱՇԽԱՏԱՆՔՆԵՐ
14.1. Լեռնային տարածքներում I, II և III դասերի նիվելիրացումից առաջ որոշում են, թե բավարարում է արդյոք գոյություն ունեցող ծանրաչափական հանույթի ճշտությունը ուղղումների հաշվարկմանը՝ նորմալ բարձրությունների համակարգին անցնելու համար: Եթե եղած ծանրաչափական հանույթը բավարար չէ, ապա տեղանքում կատարում են ծանրության ուժի չափումներ:
14.2. Ծանրության ուժի արագացումը չափում են բոլոր հենանիշների վրա.
ա) ռելիեֆի կորացման կետերում, որտեղ գծի թեքությունը փոխվում է 20-ով,
բ) գծերի շրջադարձի կետերում ավելի քան 300-ով, ինչպես նաև I դասի նիվելիրացման ընթացքի թեք գծերի դեպքում լրացուցիչ կետերում 0,02-ով և II դասի կետերում 0,04-ով: Ծանրաչափական կետերի հաճախականությունը կախված է գծերի թեքությունից և պետք է համապատասխանի 3-րդ աղյուսակում բերված պահանջներին: Այդ կետերում ծանրության ուժի չափման միջին քառակուսային սխալը I, II և III դասի ծանրաչափական կետերի նկատմամբ չպետք է գերազանցի 0,5-10-5 մ/վ2:
Ծանրաչափական կետերի չափագրման հաճախականությունը կախված նիվելիրային գծերի թեքությունից
Աղյուսակ 3
Նիվելիրային դասը |
Ծանրաչափական կետերի միջև հեռավորությունները (կմ-ով)՝ կախված տեղանքի թեքությունից | ||||
0,2-ից |
0,2-0,1 |
0,1-0,08 |
0,08-0,06 |
0,06-0,04 | |
I |
- |
- |
1 |
2 |
2 |
II |
1 |
2-3 |
4 |
4 |
6 |
14.3. Տեղանքի կետերը, որոնց վրա պետք է կատարվեն ծանրաչափական չափումներ, նշում են նախագծի կազմման ժամանակ: Միջանկյալ ծանրաչափական կետերն ամրացնում են ժամանակավոր հենանիշներով կամ համատեղում են տեղանքին բնորոշ առարկաների հետ, որոնց նիվելիրացման ժամանակ կապակցում են: Եթե ծանրաչափական չափումները կատարում են նախկին նիվելիրային ընթացքով, ապա ծանրաչափական կետերի բարձրությունները որոշում են ցանկացած եղանակով՝ 1մ ճշտությամբ: Ծանրաչափական կետերի պլանային կոորդինատները որոշում են 200մ ճշտությամբ:
15. III ԴԱՍԻ ՆԻՎԵԼԻՐԱՑՈՒՄ
15.1. III դասի նիվելիրացման եղանակը կախված է կիրառվող նիվելիրներից: Նախապատվությունը տրվում է հարթ զուգահեռ սկավառակով նիվելիրներին և ինվարային չափաձողերին: Այդ դեպքում չափումները կատարում են «համատեղման» եղանակով, իսկ հարթ զուգահեռ սկավառակ չունեցող նիվելիրներով աշխատելու դեպքում` «միջին ցանցաթելի» եղանակով:
15.2. III դասի նիվելիրացումը կատարում են ուղիղ և հակադարձ ուղղություններով:
15.3. III դասի նիվելիրացման ժամանակ կիրառում են Ն/H/-05, Ն/H/1, Ն/H/2, ՆԱ/HA/-1, Ն/H/-3, Նի/Ni/-030 տիպի հարթաչափով և Ն/H/-3Կ/K/, Նի/Ni/-007, ՆիՎ/NiB/-3, 4, 5, 6 տիպի կոմպենսատորով նիվելիրներ և թվային նիվելիրներ:
5.4. III դասի նիվելիրացման ժամանակ կիրառում են 3մ բարձրությամբ չծալվող երկկողմանի սանտիմետրային բաժանումներով կամ գծիկավոր ինվարային չափաձողեր: Լեռնային տարածքներում նպատակահարմար է աշխատել ինվարային չափաձողերով և հարթ զուգահեռ սկավառակով նիվելիրներով:
Պատային հենանիշերին տեղակապելիս օգտագործում են կախովի չափաձողեր: III դասի նիվելիրացման ժամանակ չափաձողերի դեցիմետրային և մետրային բաժանումներում պատահական սխալները չպետք է գերազանցեն 0.5մմ-ը:
15.5. III դասի նիվելիրացման համար նիվելիրների և չափաձողերի պիտանիությունը հաստատելու նպատակով դրանք ստուգում և բերում են աշխատանքային վիճակի:
15.6. Դաշտային աշխատանքները սկսելուց առաջ նիվելիրները հետազոտում են հետևյալ սկզբունքով.
ա) հեռաչափի գործակցի որոշում,
բ) տեղադրվող կլոր հարթաչափի ստուգում (տե'ս հավելված N 3),
գ) նիվելիրի վերին մասի պտտման համաչափության ստուգում (տե'ս հավելված N 3),
դ) նիվելիրի դիտման առանցքի և հորիզոնական հարթության միջև i անկյան որոշում (տե'ս հավելված N 3):
Կոմպենսատորով նիվելիրներում որոշում են դիտման առանցքի միջին քառակուսային և չկոմպենսացվելու սխալները (տե'ս հավելված N 8):
15.7. Դաշտային աշխատանքների ժամանակ ստուգում են.
ա) տեղադրվող հարթաչափը (ամեն օր աշխատանքներն սկսելուց առաջ) (տե'ս հավելված N 3),
բ) նիվելիրի i անկյունը (աշխատանքները սկսելուց առաջ առաջին յոթ օրում ամեն օր, հետագայում համոզվելով դրա ճշտության մեջ` 15 օրը մեկ)
15.8. Չափաձողերի հետազոտման համար օգտագործում են ստուգիչ քանոն: Դաշտային աշխատանքներն սկսելուց առաջ որոշում են.
ա) դեցիմետրային բաժանումների սխալները (նոր չափաձողերի համար` տե'ս հավելված N 3),
բ) մետրային բաժանումների միջին երկարությունները (հավելված 4),
գ) չափաձողերի զրոների բարձրությունների տարբերությունը:
15.9. Ինվարային չափաձողերի մետրային բաժանումները ստուգանմուշարկում են ՄԿ/MK/-1 կոմպարատորով դաշտային աշխատանքներն սկսելուց առաջ և հետո` տարվա մեջ երկու անգամ:
Փայտե չափաձողերով աշխատելիս մետրային բաժանումները ստուգում են ստուգիչ քանոնով 10-15 օրը մեկ լեռնային տարածքներում և ամիսը մեկ՝ հարթավայրային շրջաններում: Չափաձողերի կլոր հարթաչափերի ստուգումը կատարում են ամեն օր:
15.10. Կայանում դիտարկումների կարգը հետևյալն է.
հաշվեցույց հետևի չափաձողի սև կողմով (հիմնական սանդղակով),
հաշվեցույց առջևի չափաձողի սև կողմով (հիմնական սանդղակով),
հաշվեցույց առջևի չափաձողի կարմիր կողմով (լրացուցիչ սանդղակով),
հաշվեցույց հետևի չափաձողի կարմիր կողմով (լրացուցիչ սանդղակով):
15.11. Նիվելիրացումը կատարում են 20-30կմ տեղամասերով: Ուղիղ նիվելիրացումից անցումը հակադարձ նիվելիրացմանը կատարում են միայն մշտական հենանիշներով: Այս դեպքում չափաձողերի տեղերը փոխում են:
15.12. Դիտման ճառագայթի նորմալ երկարությունը 75 մ է: Չափաձողերի պատկերների տատանումների բացակայության և դիտակի 35x-ից ոչ պակաս խոշորացման դեպքում ճառագայթի երկարությունը թույլատրվում է ավելացնել մինչև 150մ:
15.13. Նիվելիրից մինչև չափաձողերն ընկած հեռավորությունը չափում են բարակ մետաղալարով: Հեռավորությունների տարբերությունը կայանում չպետք է գերազանցի 2մ-ը, իսկ դրանց գումարը սեկցիայում` 5մ:
15.14. Դիտման ճառագայթի բարձրությունը հողի մակերևույթից 0.3 մ-ից պակաս չպետք է լինի:
15.15. Նիվելիրացումը կատարում են լավ տեսանելիության պայմաններում` չափաձողերի հստակ պատկերների ժամանակ: Արևոտ օրերին արևածագին և արևամուտին մոտ ժամանակահատվածում նիվելիրային աշխատանքներ չի կարելի կատարել:
15.16. Կայանում նիվելիրային աշխատանքներ կատարելիս հարթաչափով նիվելիրը արևի ճառագայթներից պահպանում են հովանոցով:
15.17. Չափաձողերը կանգնեցնում են հենակների կամ ցցակալների վրա: Ցցակալների ամրացման վայրերն ազատում են մոլախոտից: Հարմարավետության համար օգտագործում են երեք հենակ կամ ցցակալ:
Փուխր կամ ճահճային գրունտով տեղամասերում չափաձողերն ամրացնում են խփված փայտե ցցերի վրա, որոնց վերին փայտասալարկի վրա ամրացնում են կիսագնդաձև գլխիկներով գամեր: Փայտե ցցերի երկարություններն ու հաստությունները պետք է այնպիսին լինեն, որ ապահովեն դրանց ամրությունը:
15.18. Ճահճոտ տեղամասերում առաջարկվում է կիրառել կոմպենսատորով նիվելիրներ, եռոտանու ոտքերի տակ խփել փայտե ցցեր:
15.19. Նիվելիրացումն ընդմիջումից առաջ ավարտում են մշտական կամ ժամանակավոր հենանիշների վրա: Թույլատրվում է նիվելիրացումն ավարտել 0.3 մ խորությամբ փոսերի հատակին ամրացված երեք հենակների վրա, որոնց միջև տեղակայում են երկու նիվելիրային կայաններ: Նիվելիրացումը երկու կայաններում կատարում են սովորական ծրագրով, որից հետո հենակները ծածկում են խոտով և վրան լցնում հող:
Ընդմիջումից հետո նիվելիրացումը սկսում են վերջին, իսկ անհրաժեշտության դեպքում նաև նախավերջին կայանից: Ընդմիջումից առաջ և հետո կատարված նիվելիրացման արդյունքները համեմատելուց հետո որոշում են, թե որ հենակն է պահպանել իր նախնական դիրքը և դրանից էլ շարունակում են նիվելիրացումը: Հենակները համարվում են սկզբնական դիրքը պահպանած, եթե ընդմիջումից առաջ և հետո ստացած վերազանցումների արժեքների տարբերությունները չեն գերազանցում 3մմ: Մշակման են ընդունվում ինչպես ընդմիջումից առաջ, այնպես էլ հետո կատարված դիտարկումները: Մեծ տարամիտությունների առկայության դեպքում նիվելիրացումը սեկցիաներով կրկնում են մշտական հենանիշից:
15.20. Կայաններում «համատեղման» եղանակով դիտարկումների հաջորդականությունը տրված է 8.27 կետում:
Կայաններում դիտարկումները «միջին ցանցաթելի» եղանակով կատարում են հետևյալ կարգով.
ա) նիվելիրը բերում են աշխատանքային դիրքի հարթաչափի օգնությամբ,
բ) դիտակն ուղղում են հետևի չափաձողի սև կողմին, էլևացիոն պտուտակի օգնությամբ հարթաչափի բշտիկը բերում են կենտրոն և դադարի վիճակի բերելուց հետո վերցնում են հաշվեցույց միջին կամ հեռաչափային ցանցաթելերով: Կոմպենսատորով նիվելիրով աշխատելիս դիտարկումը կատարում են դիտակը չափաձողին ուղղելուց անմիջապես հետո,
գ) դիտակն ուղղում են առջևի չափաձողի սև կողմին և հաշվեցույց վերցնում այնպես, ինչպես դա արվել է հետևի չափաձողով դիտարկելիս,
ե) դիտակն ուղղում են առջևի չափաձողի կարմիր կողմին և կատարում դիտախողովակի միջին ցանցաթելով հաշվեցույց վերցնելու համար անհրաժեշտ գործողությունը,
զ) դիտակն ուղղում են հետևի չափաձողի կարմիր կողմին և կատարում դիտախողովակի միջին ցանցաթելով հաշվեցույց վերցնելու համար անհրաժեշտ գործողությունը: Դիտարկման արդյունքները գրանցում են հատուկ մատյանում կամ էլ մուտքագրում գրանցող սարքի հիշողության մեջ:
15.21. Եթե տեղակապումը պատային դրոշմանիշներին չի կարելի կատարել կախովի չափաձողով, ապա թույլատրվում է կիրառել այլ եղանակներ: Կախովի չափաձողի փոխարեն կարելի է օգտագործել սովորական ստուգված միլիմետրային բաժանումներով մետաղե քանոն կամ պատի վրա նշել միջին և հեռաչափային ցանցաթելերի պրոյեկցիաները, իսկ դրոշմանիշի անցքի կենտրոնի ուղղահայաց հեռավորությունը մինչև ցանցաթելերի պրոյեկցիան չափել մետաղե ժապավենով: Մինչև կայանի վերազանցումների հաշվելը քանոնի կամ ժապավենի հաշվեցույցները բերում են չափաձողի բաժանումների համակարգի: Այս եղանակով դիտարկումները կայանում իրականացնում են երկու անգամ, կրկնակի դիտարկումից առաջ նիվելիրի բարձրությունը փոխում են 3սմ-ով:
15.22. Նիվելիրացման մատյանում ուրվագծում են յուրաքանչյուր հենանիշի վրա չափաձողի տեղակայման դիրքը, գրում են հենանիշի տիպը, համարը և տեղակայման տեղի հարաբերական բարձրությունը հողի մակերևույթից, վերցնում են դրոշմանիշներից և հենանիշներից համարների տպվածքներ, բերում են տեղեկություններ դրանց արտաքին տեսքի վերաբերյալ և կատարում են նշումներ դրանց վերականգնման մասին:
15.23. Յուրաքանչյուր կայանում կատարում են դիտարկումների ստուգում: «Համատեղման» եղանակով դիտարկումներ կատարելիս համեմատում են հիմնական և լրացուցիչ սանդղակներով ստացված վերազանցումների արժեքները: Վերազանցումների տարամիտումները և չափաձողերի բարձրությունների տարբերությունները, որոնք հաշվարկված և ստացված են հետազոտությունների արդյունքում, 1.5մմ-ից ավելի չպետք է լինեն: «Միջին ցանցաթելի» եղանակով նիվելիրացում կատարելիս անհրաժեշտ է պահպանել հետևյալ թույլտվածքները.
1. յուրաքանչյուր չափաձողի սև կողմից հաշվեցույցը միջին ցանցաթելով 3մմ-ից ավելի չափով չպետք է տարբերվի համապատասխան հեռաչափական ցանցաթելերով վերցված հաշվեցույցների կիսագումարից,
2. չափաձողերի սև և կարմիր կողմերից ստացված վերազանցումների միջև տարամիտումը 3մմ-ից ավելի չպետք է լինի, հաշվի առնելով տվյալ զույգ չափաձողերի բարձրությունների տարբերությունը:
Նշված թույլտվածքները գերազանցող տարամիտումների դեպքում դիտարկումները կայաններում կրկնում են` նիվելիրի դիրքը բարձրությամբ 3 սմ-ով փոխելով:
15.24. Սեկցիայով նիվելիրային աշխատանքների ավարտից հետո միմյանց հետ համեմատում են ուղիղ և հակադարձ ընթացքներից ստացված վերազանցումների արդյունքները: Այդ արդյունքների տարբերությունը չպետք է գերազանցի 10մմ √L:
Եթե տարամիտումը ստացվել է թույլատրելիից ավելի, ապա նիվելիրային աշխատանքներն ըստ սեկցիաների ուղղություններից մեկով կրկնում են:
Մշակման մեջ ընդգրկում են վերազանցումների երեք արժեքներ այն դեպքում, երբ սկզբնականները 15մմÖL արժեքից ավելի միմյանցից չեն տարբերվում, իսկ կրկնակի վերազանցումները չեն տարբերվում յուրաքանչյուր սկզբնականից 10մմ ÖL արժեքից ավելի: Մշակման ժամանակ սկզբում միջինացնում են մեկ ուղղության ընթացքներից ստացված վերազանցումների արժեքները, իսկ հետո ուղիղ և հակադարձ ուղղությունների ընթացքներից ստացված վերազանցումների արժեքները: Եթե վերազանցումների սկզբնական և կրկնվող արժեքները չեն բավարարում թվարկած պահանջներին, ապա սկզբնական վերազանցումները բացառում են և կատարվում է ևս մեկ կրկնվող նիվելիրացում հակադարձ ուղղությամբ:
Այն դեպքում, երբ ուղիղ և հակադարձ ընթացքներից ստացված վերազանցումների արժեքների տարբերությունների գումարը մի քանի սեկցիաներով ստացվում են միևնույն նշանով, ապա անհրաժեշտ է հետազոտել նիվելիրացման մեթոդը և նիվելիրի ու չափաձողերի ճշգրտման որակը: Վերազանցումների տարբերությունների ընդհանուր գումարը գծի վրա չպետք է գերազանցի 10մմ √L արժեքը: Անկապքը պոլիգոններում և գծերով թույլատրվում է 10մմ √L արժեքից ոչ ավելի:
15.25. Ըստ սեկցիաների նիվելիրային աշխատանքներն ավարտելուց հետո կանոնավոր կերպով լրացնում են վերազանցումների հատուկ ամփոփագիրը:
16. IV ԴԱՍԻ ՆԻՎԵԼԻՐԱՑՈՒՄ
16.1. IV դասի նիվելիրացումը կատարում են «միջին ցանցաթելի» եղանակով մեկ ուղղությամբ:
16.2. IV դասի նիվելիրացումն իրականացնում են հարթաչափ կամ կոմպենսատոր ունեցող նիվելիրներով:
16.3. IV դասի նիվելիրացման ժամանակ օգտագործում են երեքմետրանոց չափաձողեր:
Պատային դրոշմանիշներին կապակցելու համար օգտագործում են կախովի չափաձողեր, նույն բաժանումներով, ինչ որ հիմնական չափաձողերն ունեն: Եթե հնարավոր չէ կախովի չափաձող օգտագործել, պետք է առաջնորդվել 15.21 կետում տրված ցուցումներով:
16.4. Դաշտային աշխատանքները սկսելուց առաջ նիվելիրները և չափաձողերը հետազոտում և ստուգում են ըստ 15.6 կետում տրված ծրագրի:
16.5. Դաշտային աշխատանքների ընթացքում նիվելիրները ստուգում են 15.7 կետում տրված ցուցումների համաձայն:
16.6. Չափաձողերի հետազոտման համար օգտագործում են ստուգիչ քանոն: Դաշտային աշխատանքներն սկսելուց առաջ որոշում են.
ա) դեցիմետրային բաժանումների սխալները (նոր չափաձողերի համար` տե'ս հավելված N 11),
բ) մետրային բաժանումների միջին երկարությունները (տե'ս հավելված N 13),
գ) չափաձողերի զրոների բարձրությունների տարբերությունը (տե'ս հավելված N 12):
16.7. IV դասի նիվելիրացման ժամանակ հաշվեցույցը սև և կարմիր կողմերից վերցնում են նիվելիրի միջին ցանցաթելով, իսկ հեռավորությունը նիվելիրից մինչև չափաձող` վերին ցանցաթելով չափաձողի սև կողմով:
16.8. Կայանում դիտարկման կարգը հետևյալն է.
հաշվեցույց հետևի չափաձողի սև կողմով,
հաշվեցույց առջևի չափաձողի սև կողմով,
հաշվեցույց առջևի չափաձողի կարմիր կողմով,
հաշվեցույց հետևի չափաձողի կարմիր կողմով:
16.9. Դիտման ճառագայթի նորմալ հեռավորությունը 100մ է: Եթե աշխատանքները կատարում են այնպիսի նիվելիրով, որի դիտակը ունի 30X ոչ պակաս խոշորացում, ապա պատկերների տատանումների բացակայության դեպքում ճառագայթի երկարությունը թույլատրվում է մեծացնել մինչև 150 մ: Նիվելիրից մինչև չափաձողերն ընկած հեռավորությունը կարելի է չափել հեռաչափով: Նիվելիրից մինչև չափաձողեր հեռավորությունների տարբերությունը պետք է լինի 5մ-ից ոչ ավելի, իսկ սեկցիայում դրանց գումարը (կուտակումը)` մինչև 10մ: Դիտոցման ճառագայթի բարձրությունը հողի մակերևույթից պետք է լինի 0.2մ-ից ոչ պակաս:
16.10. Կայանում նիվելիրային աշխատանքներ կատարելիս հարթաչափով նիվելիրն արևի ճառագայթներից պահպանում են հովանոցով:
16.11. Չափաձողերն ուղղաձիգ տեղակայում են հենակների կամ ցցակալերի վրա, իսկ փուխր կամ ճահճային գրունտով տեղամասերում` ցցերի վրա: Ճահճոտ տեղամասերում առաջարկվում է կիրառել կոմպենսատորով նիվելիրներ:
16.12. Նիվելիրացումն ընդմիջումից առաջ ավարտում են 15.18 կետի համաձայն, բայց վերազանցումների արժեքների միջև տարամիտումներն ընդմիջումից առաջ և հետո պետք է լինեն մինչև 5մմ:
16.13. Դիտարկումները կայաններում կատարում են հետևյալ հաջորդականությամբ:
1. Նիվելիրը բերում են աշխատանքային դիրքի տեղակայման կամ գլանային հարթաչափի օգնությամբ:
2. Դիտակն ուղղում են հետևի չափաձողի սև կողմին, էլևացիոն պտուտակի օգնությամբ հարթաչափի բշտիկը բերում են կենտրոն և դադարի վիճակի բերելուց հետո վերցնում են հաշվեցույց դիտակի միջին կամ հեռաչափային ցանցաթելերով:
3. Դիտակն ուղղում են առջևի չափաձողի սև կողմին և հաշվեցույց վերցնում այնպես, ինչպես դա արվել է հետևի չափաձողով դիտարկելիս:
4. Դիտակն ուղղում են առջևի չափաձողի կարմիր կողմին և միջին ցանցաթելով հաշվեցույց վերցնում:
5. Դիտակն ուղղում են հետևի չափաձողի կարմիր կողմին և միջին ցանցաթելով հաշվեցույց վերցնում:
Կոմպենսատորով նիվելիրներով աշխատելիս չափաձողից հաշվեցույց վերցնում են միանգամից նիվելիրն աշխատանքային վիճակի բերելուց և դիտակը չափաձողին ուղղելուց հետո:
Հաշվեցույց վերցնելուց առաջ անհրաժեշտ է համոզվել, որ կոմպենսատորը գտնվում է աշխատանքային վիճակում:
Դիտարկման արդյունքները գրանցում են հատուկ մատյանում (տե'ս հավելված N 19) կամ էլ մուտքագրում գրանցող սարքի հիշողության մեջ:
16.14. Չափաձողերի սև և կարմիր կողմերից ստացված վերազանցումների միջև տարամիտումը պետք է լինի մինչև 5մմ, հաշվի առնելով տվյալ զույգ չափաձողերի զրոների բարձրությունների տարբերությունը:
Նշված թույլտվածքները գերազանցող տարամիտումների դեպքում դիտարկումները կայաններում կրկնում են` նիվելիրի դիրքը բարձրությամբ 3 սմ-ով փոխելով:
Նիվելիրային աշխատանքներն ավարտելուց հետո սկզբնական հենանիշների միջև հաշվում են անկապքը, որը չպետք է գերազանցի 20մմÖL: Այդ սահմաններում թույլատրվում են նաև անկապքներ փակ պոլիգոններում, որոնք ստեղծվել են IV դասի նիվելիրային գծերով: Նիվելիրային աշխատանքներն ավարտելուց հետո ընդունված ձևով լրացնում են վերազանցումների ամփոփագիրը:
17. III ԵՎ IV ԴԱՍԻ ՆԻՎԵԼԻՐԱՑՄԱՆ ՀԱՏՈՒԿ ԴԵՊՔԵՐ
17.1. Ջրային արգելքների վրայով III և IV դասերի նիվելիրացման դեպքում տեղի, ժամանակի, սարքավորումների և մեթոդի ընտրության համար անհրաժեշտ է հաշվի առնել 10.1-10.3, 10.5-10.7 կետերում բերված ցուցումները:
17.2. Մինչև 200 մ լայնությամբ արգելքների վրայով նիվելիրացումը կատարում են սովորական մեթոդով երկու նվագով, պահպանելով թևերի հավասարությունը մինչև առջևի և հետևի չափաձողերը: Նվագների միջև փոխում են նիվելիրի բարձրությունը 3-5 սմ-ով: Նվագներից ստացված վերազանցումների արդյունքների տարբերությունը թույլատրվում է 4 մմ` III դասի նիվելիրացման և 7մմ` IV դասի նիվելիրացման համար:
17.3. 200-400 մ լայնությամբ արգելքների վրայով նիվելիրացումը կատարում են «համատեղման» եղանակով հարթ-զուգահեռ սկավառակ ունեցող նիվելիրներով, օգտագործելով վահանակներ (տե'ս հավելված N 14), բայց ուղղորդումների քանակը վահանակի գծիկների վրա նվազեցնում են հասցնելով 3-ի, իսկ կրկնապատիկ նվագների քանակը` մեկի:
Առանց հարթ-զուգահեռ սկավառակի արգելքների վրայով նիվելիրացումը կատարում են «շարժուն դրոշմանիշի» եղանակով մեկ կրկնապատիկ նվագով, կիրառելով սպիտակ գծիկներով վահանակներ (տե'ս հավելված N 15): Այդ դեպքում 4 անգամ դիտակի միջին ցանցաթելի պատկերի վրա վահանակի շարժումով բերում են սպիտակ գծիկների պատկերները: Վահանակի սպիտակ գծիկների լայնությունը (մմ-ով) պետք է լինի 0.06 S, որտեղ Տ-ը արգելքի լայնությունն է մ-ով:
Արգելքների վրայով նիվելիրացման ցանկացած եղանակի դեպքում մշտական հենանիշների միջև դիտարկողի կողմից կես նվագով գլխավոր և ստուգիչ առանցքներով ստացված վերազանցումները և յուրաքանչյուր դիտարկողի կողմից կրկնակի նվագով ստացված վերազանցումների միջին արժեքները 24մմ √S-ից ավելի չպետք է տարբերվեն, որտեղ Տ-արգելքի լայնությունն է կմ-ով:
17.4. 400 մ լայնությամբ արգելքների վրայով III և IV դասերի գծերում նիվելիրացումն այնպիսի եղանակներով և գործիքներով, որոնք նախատեսված են II դասի նիվելիրացման համար, հազվադեպ են կատարում:
17.5. Բացառիկ դեպքերում III և IV դասի նիվելիրացումն արգելքների վրայով կատարում են ձմռանը սառույցի վրայով, պահպանելով անվտանգության տեխնիկայի կանոնները:
18. ԴԱՇՏԱՅԻՆ ՄԱՏՅԱՆՆԵՐ
18.1. Նիվելիրացման մատյանները հաշվառվում և գրանցվում են տեխնիկական բաժնի կողմից: Մատյանի թերթերը պարտադիր պետք է համարակալվեն:
18.2. Գրառումները մատյանում կատարում են ընթեռնելի ձեռագրով գրիչով կամ մատիտով: Չի թույլատրվում օգտագործել քիմիական կամ գունավոր մատիտներ: Ոչ բավարար կամ սխալ գրառված դիտարկումների վրա գծում են և նշում ուղղելու պատճառները: Կրկնակի դիտարկման ժամանակ կայանի համարը պահպանում են նշելով «կրկնվող» բառը:
18.3. Մատյանում հաշվեցույցների ջնջումներ և ուղղումներ չի թույլատրվում: Հաշվարկումների մեջ թույլ տրված սխալների վրա խնամքով գծվում է և վերևից գրվում ճիշտը:
18.4. Նիվելիրացման մատյանում խնամքով նկարում են յուրաքանչյուր հենանիշի վրա չափաձողի կանգնած դիրքը և գրում են դրա հարաբերական բարձրությունը հողի մակերևույթի նկատմամբ:
18.5. Մատյանում լրացնում են տիտղոսաթերթը, նկարում են ընթացքների սխեման և տալիս են նիվելիրացված հենանիշների տեղադիրքի նկարագիրը: Տիտղոսաթերթի հակառակ երեսին գրում են նիվելիրի և չափաձողերի տեխնիկական տվյալները, չափաձողերի վրա մակագրությունների տեղերը, կախովի չափաձողով վերցված հաշվեցույցների (պլյուս և մինուս) նշանները:
18.6. Ընթացքի գրառման առաջին էջի վրա նշում են սկզբի և վերջի հենանիշների անունները կամ համարները: Տեղեկություններ են տրվում հենանիշների արտաքին տեսքի վերաբերյալ և նշումներ կատարում դրանց վերականգնման վերաբերյալ: Մատյանի յուրաքանչյուր էջում նշում են դիտարկման սկիզբը և վերջը, օրվա եղանակը:
Յուրաքանչյուր սեկցիայի համար կայանների համարակալումը սկսում են առաջին համարով: Մատյանի վերջում նշվում է լրացված և չլրացված էջերի քանակը:
19. ԴԱՇՏԱՅԻՆ ՀԱՇՎԱՐԿՆԵՐ
19.1. Դաշտային հաշվարկների ժամանակ կատարում են.
ա) հետազոտված նյութերի մշակում և նիվելիրի ու չափաձողերի ստուգում,
բ) հաշվարկներ դաշտային մատյաններում,
գ) վերազանցումների դաշտային ամփոփագրերի կազմում,
դ) գծերով և պոլիգոններով անկապքների հաշվարկում:
19.2. Դաշտային աշխատանքներից առաջ նախապատրաստում և ստուգում են հետևյալ տվյալները.
ա) ստուգիչ քանոնի հավասարումը,
բ) նիվելիրի և չափաձողերի լաբորատոր հետազոտությունների նյութերը:
19.3. Հաշվարկների կարգը և ճշտությունը ցույց են տրված հավելվածներում բերված դաշտային փաստաթղթերի օրինակներում:
19.4. Վերազանցումների դաշտային ամփոփագիրը երկու օրինակից են կազմում: Յուրաքանչյուր ամփոփագրում պետք է լինի կազմողի և ստուգողի ստորագրությունները:
19.5. Ըստ սեկցիաների միջին վերազանցումներում ուղղումներ են մտցնում զույգ չափաձողերի մետրի միջին երկարության, իսկ I և II դասի նիվելիրացման ժամանակ նաև ինվարային չափաձողերի տարբեր ջերմաստիճանների համար:
20. ՀԱՆՁՆՄԱՆ ԵՆԹԱԿԱ ՆՅՈՒԹԵՐԸ
20.1. Դաշտային աշխատանքների ավարտից հետո կատարողը ներկայացնում է հետևյալ նյութերը.
ա) կազմված և ստուգված դաշտային մատյանները,
բ) դաշտային աշխատանքների վերաբերյալ գրառումները, որոնցում ընդգրկվում են տեխնիկական հաշվետվություն կազմելու համար անհրաժեշտ բոլոր տեղեկությունները,
գ) նիվելիրի և չափաձողերի լաբորատոր և դաշտային հետազոտությունների արդյունքները,
դ) ինվարային չափաձողերի և ստուգիչ քանոնի հավասարումների քաղվածք, որը հաստատված է գործիքների հետազոտությամբ զբաղվող լաբորատորիայի կողմից,
ե) վերազանցումների դաշտային ամփոփագիրը,
զ) նիվելիրացման սխեման,
է) հենանիշների սրբագրված նկարագրությունը, կոորդինատներն ու ուրվանկարները կամ 1:25000 և ավելի խոշորամասշտաբ տեղագրական քարտեզները, որոնց վրա նշված են հենանիշները,
ը) տեխնիկական բաժնի գլխավոր մասնագետի կողմից աշխատանքների ընդունման ակտերի պատճենները:
Նիվելիրացման սխեման գծվում է տուշով կամ համակարգչով 1:100 000 - 1:200 000 մասշտաբի քարտեզների վրա կամ գծագրական թղթի վրա:
Սխեմայի վրա ցույց են տրվում սկզբնական հենանիշները, անցկացված գծերը, բոլոր ամրացված, միացված կամ կապակցված հենանիշները, եռանկյունավորման և պոլիգոնոմետրիայի կետերը:
Սխեմայի վրա ցույց է տրվում նոր գծերի կապը նախկինում անցկացված գծերի հետ: Սխեման կազմում են հաստատված պայմանական նշաններով: Նյութերին կցում են բոլոր հանձնվող փաստաթղթերի ցուցակը` նշելով թերթերի քանակը:
Բոլոր նյութերի վրա պետք է լինեն կատարման ամսաթվերը և կատարողների ստորագրությունները:
21. I, II, III ԵՎ IV ԴԱՍԵՐԻ ՆԻՎԵԼԻՐԱՑՄԱՆ ԳՐԱՍԵՆՅԱԿԱՅԻՆ ՄՇԱԿՈՒՄ
21.1. I, II և III և IV դասերի նիվելիրացման ցանցի հավասարակշռումն իրականացնել խստագույն ձևով` հիմնված նվազագույն քառակուսիների եղանակի սկզբունքի վրա: IV դասի նիվելիրային ցանցերը զգալի թվով ելակետային կայաններով անհրաժեշտ է հավասարակշռել պարզեցված եղանակով:
Նիվելիրային ցանցերի վերազանցումների հավասարակշռման ժամանակ հավասարակշռում են ոչ թե անմիջական չափված արդյունքները, այլ դրանց ֆունկցիաները: Այդ դեպքում չափված վերազանցումները բոլոր անհրաժեշտ ուղղումներով պետք է լինեն ճշգրտված:
21.2. Ցանցի հավասարակշռման դեպքում, որպես նիվելիրային գծեր ընդունում են այն ընթացքները, որոնք անցկացված են կամ հարևան հանգուցային կայանների, կամ հանգուցային և ելակետային կայանների միջև: Առանձին նիվելիրային գծերի հավասարակշռման դեպքում տեղամասում ընդունում են այն ընթացքները, որոնք անցկացված են մշտական հարևան նշանների միջև:
Նիվելիրային ցանցերի խիստ հավասարակշռում կարող է իրականացվել հանգուցային եղանակով (մոտավոր), պոլիգոնների, պարագծային, կորելատային և այլ մեթոդներով: Առավել տարածված է նիվելիրային ցանցերի հավասարակշռման հանգուցային եղանակը (մոտավոր), որն ունի մեծ թվով հավասարակշռված նիշերով ելակետային հենանիշներ:
Այս եղանակով անհրաժեշտ է հավասարակշռել III և IV դասերի նիվելիրային ընթացքները: Պոլիգոնների եղանակն առավել հարմար է այն նիվելիրային ցանցերի հավասարակշռման ժամանակ, որոնք կազմված են փակ պոլիգոններից: Պարամետրային կամ կորելատային եղանակի ընտրությունը որոշվում է ելնելով հաշվողական աշխատանքների ծավալներից: Եթե պայմանական հավասարումների թիվը հավասար կամ քիչ է որոշվող հանգուցային կետերից, ապա նպատակահարմար է կիրառել կորելատային եղանակը, հակառակ դեպքում` պարամետրային:
21.3. Համակարգչով նիվելիրային ցանցերի հավասարակշռումը կայանների մեթոդով որոշվող բարձրությունների դեպքում առավել հարմար են բազմապատկվող եղանակները:
Այսպիսով, նիվելիրային ցանցերի հավասարակշռման դեպքում անհրաժեշտ է ընտրել այն եղանակը, որը թույլ կտա հեշտ և արդյունավետ լուծել դրված խնդիրները:
Հավասարակշռման եղանակի ընտրությունը կախված է ցանցի բնույթից և հավասարակշռման աշխատանքների ծավալից:
22. I, II, III ԵՎ IV ԴԱՍԵՐԻ ՆԻՎԵԼԻՐԱՑՄԱՆ ԳՐԱՍԵՆՅԱԿԱՅԻՆ ՄՇԱԿՈՒՄ Լեյկա Լեվել Պակ (Leica LevelPak) ԾՐԱԳՐԱՅԻՆ ՓԱԹԵԹԻ ՄԻՋՈՑՈՎ
22.1. Թվային նիվելիրներով չափագրված արդյունքները անհրաժեշտ է մշակել Լեյկա Լեվել Պակ (Leica LevelPak) ծրագրային փաթեթի միջոցով, որը թույլ է տալիս մշակել ինչպես Լեյկաի(Leica) նիվելիրից դատարկված, այնպես էլ ձեռքով մուտքագրված տվյալները: Տվյալների մշակման քայլերը կատարվում են ներքոհիշյալ տեխնիկական գործընթացի համաձայն՝
ա) Դիտարկման տվյալների ներմուծում,
բ) Դիտարկման տվյալների խմբագրում,
գ) Նիվելիրացման գծերի (դաշտային մատյանի տվյալներով) կառուցում,
դ) Նիվելիրացման գծի սկզբնակետի և վերջնակետի որոշում,
ե) Նիվելիրացման գծի հաշվում,
զ) Արդյունքների ամփոփում:
22.2. Լեվել Պակ(LevelPak) ծրագրային փաթեթի մեջ օգտագործվող տվյալները անհրաժեշտ է դասակարգել նախագծում: Նախագիծը բաղկացած է կետերի տվյալների բազայից և կարող է պահել մեկ կամ ավելի նիվելիրացման գծեր՝ կառուցված մեկ կամ ավելի դաշտային տվյալների ֆայլից: Կետերի տվյալների բազան կարող է ներառել (պահել) կոորդինացված կետերի տարբեր բարձունքային արժեքներ:
22.3. ԼեվելՊակ(LevelPak) ծրագիրը, որն ունի ինտեգրացված տվյալների տեղափոխման ֆունկցիոնալ հնարավորություն դեպի ԳԻՖ/GIF/10/12 և հակառակը, լրացուցիչ ապահովում է տվյալի անմիջական բեռնաթափում անընդհատ աշխատող ՌԵԿ/REC/ մոդուլից դեպի թվային նիվելիր: Հաշվարկված բարձրությունները կարող են մուտքագրվել ՌԵԿ/ /REC/ մոդուլ:
22.4. Լեյկա Լեվել Պակ/Leica LevelPak/ ծրագրային փաթեթի օգնությամբ, որը թույլ է տալիս դաշտային տվյալների ավտոմատ մուտքագրում, անհրաժեշտ է մշակել նիվելիրային ընթացքների տվյալները` կատարել տվյալների նախնական, գրասենյակային մշակման աշխատանքներ:
Յուրաքանչյուր նիվելիրային ընթացքի համար անհրաժեշտ է ստեղծել առանձին նախագիծ, որից հետո նախագիծը տեղափոխել Միկրոսոֆտ Էքսել/Microsoft Excel/ ծրագրային փաթեթ: Այստեղ անհրաժեշտ է հաշվել ընթացքներում կայանների, ինչպես նաև հենանիշների միջև թողած հեռավորությունները և վերազանցումները` բարձրությունների տարբերությունները (տե'ս հավելված N 29):
Ստացված տվյալներով անհրաժեշտ է կազմել նիվելիրային ընթացքի ամփոփագրեր:
23. ՆԻՎԵԼԻՐԱՅԻՆ ՑԱՆՑԻ ԿԵՏԵՐԻ ԲԱՐՁՐՈՒԹՅՈՒՆՆԵՐԻ ԿԱՏԱԼՈԳԻ ԿԱԶՄՈՒՄ
23.1. Բարձունքային նիշերի կատալոգները կազմում են ղեկավարվելով սույն հրահանգի պահանջներով: Բարձունքային նիշերի կատալոգները կազմելուց առաջ հավաքում են կատարված նիվելիրացման աշխատանքների բոլոր նյութերը:
23.2. Բարձունքային նիշերի կատալոգները դասակարգվում են հետևյալ կերպ`
ա) Նիվելիրացման բարձունքային կետերի ամփոփ կատալոգները կազմվում են 1:200 000 քարտեզի թերթերով և ընդգրկում են նիվելերացման բոլոր դասերը:
բ) I և II դասերի նիվելիրացման բարձունքային կետերի կատալոգներ:
23.3. Նիվելիրային ցանցի կետերի բարձրությունների կատալոգը նախատեսվում է օգտագործել տեղագրական և ինժեներագեոդեզիական հանույթների ժամանակ իրենց մեջ ներառված տվյալներով, նիվելիրացման ցանցերի հավասարակշռման դեպքում, ինչպես նաև երկրի կեղևի ուսումնասիրման բնագավառում և այլ երևույթների ժամանակ:
Նիվելիրային ցանցի կետերի բարձրությունները կատալոգում տրված են Բալթյան 1977 թվականի համակարգով:
23.4. Կատալոգները ներառում են տեղանքում տեղադրված I, II III և IV դասերի նիվելիրացման նիշերի բարձրությունները` դրոշմանիշները, պատային և գրունտային հենանիշները, ինչպես նաև նիվելիրային ընթացքներում ընդգրկված գեոդեզիական կետերը:
23.5. Ոչնչացված նիվելիրային կետերից կատալոգում ընդգրկում են միայն այն կետերը, որոնք հանդիսացել են ելակետային կամ ծառայել են որպես հանգուցային կետեր նիվելիրային ցանցերի հավասարակշռման ժամանակ:
23.6. Յուրաքանչյուր կատալոգում ընդգրկվում է այն տարածքի տեղագրական քարտեզի անվանակարգը (նոմենկլատուրան), որի համար կազմվել է:
23.7. Կատալոգն ունենում է կազմ, տիտղոսային թերթ և վերնագիր: Կատալոգում ընդգրկված ցանկում աշխատանքները դասվում են I, II, III, IV դասերով ըստ ճշտությունների նվազման հերթականության:
Միևնույն դասի երկու և ավելի աշխատանքների առկայության դեպքում դրանք տեղաբաշխվում են հակադարձ կարգով:
23.8. Կատալոգը բաղկացած է հետևյալ մասերից.
23.8.1 Կատալոգի բացատրագիր:
Բացատրագրում բերվում են հետևյալ տեղեկությունները.
ա) նիվելիրացման կետերի բարձրությունների համակարգը:
Կատալոգում ներառված նիվելիրացման աշխատանքների ցանկում նշում են կազմակերպության անվանումը, որոնք իրականացրել են դաշտային աշխատանքները և դրանց կազմման տարեթիվը,
բ) կազմված աշխատանքների որակի բնութագիր (յուրաքանչյուր աշխատանքի 1կմ ընթացքի համար միջին քառակուսային սխալները),
գ) նիվելիրային գծերի ցուցակ չթույլատրվող անկապքներով (կատալոգում նշված աշխատանքներից),
դ) տեղանքում նիվելիրային նշանների տեղադրման վերաբերյալ տեղեկություններ,
ե) նիվելիրային ցանցի կետերի վերականգնման, նրանց ստեղծումից հետո և կատալոգում ընդգրկված ոչնչացված նիվելիրային կետերի վերաբերյալ իրականացված հետազոտությունների մասին տեղեկություններ,
զ) իրականացված նիվելիրացման աշխատանքների ցանկը, որոնք չեն ընդգրկվել կատալոգում, նշելով պատճառը,
է) կատալոգում ընդգրկված հապավումների ցուցակը:
23.8.2. Նիվելիրացման կետերի բարձրությունների ցուցակ,
ա) ցուցակում կետերը խմբավորվում են ըստ նիվելիրային գծերի:
Նիվելիրային գիծ համարվում են փակ ընթացքները, բարձր դասերի կետերի միջև առանձին ընթացքներ, հանգուցային կետերի միջև կամ հանգուցային կետերի և ելակետային կետերի միջև ընթացքի հատված: Նիվելիրացման կետերը ցուցակում տեղադրվում են հաջորդաբար՝ սկսած տեղանքի հյուսիսարևմտյան անկյունից, այդ դեպքում սկզբից նշում են I դասի, հետո II դասի և այդպես հերթականությամբ: Յուրաքանչյուր գծի վերնագրում նշվում է սկզբնական և վերջնական նիշերի անվանումը, նիվելիրացման դասը և աշխատանքի համարը ցանկին համապատասխան, որոնք տեղակայված են կատալոգի բացատրագրում,
բ) գծերի ուղղություններն ընդունվում են այնպիսին, ինչպիսին կան նիվելիրացման ցանցի հավասարակշռման նյութերում: Եթե նիվելիրային գծերը դուրս են գալիս կատալոգում ընդգրկվող սեղանի սահմաններից, ապա ցուցակում տեղադրվում է նրա մի մասը մինչև շրջանակի մոտակա կետը: Այդ դեպքում գծի վերնագրի տակ նշվում է տեղամասի սկզբնական և վերջնական կետերը, որոնք ընդգրկված են կատալոգում,
գ) կախված նիվելիրային ընթացքները տեղակայվում են գծի վերջում, որոնցից նրանք սկսվում են, նշելով սկզբնական նիվելիրային կայանի և ընթացքի դասի անվանմամբ: Կայանների բարձրությունները որոշված կախված ընթացքներից ցուցակում նշվում են աստղանշաններով: Եթե մեկ կամ մի քանի գծերից բաժանվում է մի քանի տարբեր դասերի կախված ընթացքներ, ապա ցուցակում առաջինը տեղադրվում է բարձր դասի ընթացքը և հետո դասերի անկման հերթականությամբ: Յուրաքանչյուր գծի կայանների կետերի սահմաններում տեղաբաշխվում են առաջին կետից սկսած հաջորդաբար,
դ) կայանների անվանումը (դրոշմանիշների և հենանիշների անվանումները) կատալոգի մեջ ներառելու համար ընդունվում են այն կետերը, որոնք ընդունվել են դաշտային աշխատանքների իրականացման ժամանակ: Այդ դեպքում, եթե կայանին տրված է աշխարհագրական օբյեկտի անվանում, ապա այն համաձայնեցվում է վերջին տարվա հրատարակման առավել խոշոր մասշտաբի քարտեզի հետ,
ե) Նիվելիրացված գեոդեզիական կայանների անվանումները, որոնք հրատարակվել են գեոդեզիական կայանների կոորդինատային կատալոգներում փոփոխման ենթակա չեն, բացառությամբ նախկինում կատարված աշխարհագրական անվանումների օբյեկտի փոփոխության դեպքի, որի ժամանակ կայաններին տրվում է համապատասխան նոր անվանում,
զ) անվանումից բացի ցուցակի երկրորդ սյունում նշվում է նիվելիրացման նշանի տեսակը (գր հենանիշ, բուրգ) և տեսակը (գեոդեզիական կետի կենտրոնը),
է) I, II, III, IV դասերի նիվելիրացման հենանիշների և կենտրոնների տեսակները,
ը) նիվելիրային կայանների տեղաբաշխման նկարագրությունը ընտրվում է վերազանցումների ամփոփաթերթերից (կամ այլ ելակետային նյութերից) և համապատասխանեցվում է տարվա հրատարակված առավելագույն խոշոր մասշտաբի քարտեզների հետ: Եթե նիվելիրացման կայանները ներառվում են ցուցակում կրկնակի, ապա նրանց տեղաբաշխման նկարագրումները չեն տրվում,
թ) ցուցակում նիվելիրացման կայանների բարձրությունները բերվում են հետևյալ մեծությամբ կլորացման:
Բոլոր դասերի նիվելիրացման գծերում .................0.001մ:
Բարձունքային հանութային ցանցերում ....................0,1մ,
ժ) I, II, III, IV դասերի նիվելիրացումների գծերում վերազանցումների ուղղումները չեն կլորացվում, իսկ բարձունքային հանութային ցանցերում չեն նշվում:
Եթե գեոդեզիական կայանների բարձրությունները տեղափոխված չեն I դրոշմանիշի կենտրոնի նկատմամբ, տրվում է բացատրություն, օրինակ`
1620.761
կենտրոն II:
Եթե գեոդեզիական կետի կենտրոնը ունի համարակալված դրոշմանիշ, ապա բարձրության նշանակության տակ նշվում է նրա համարը` օրինակ
1267.123
դրոշմ. N101:
Սկզբնական կետից հեռավորությունը գրառվում է 4-րդ սյունակում մինչև 0.1 կմ կլորացումով (տե'ս հավելված N 22):
23.8.3. Հենանիշների և կենտրոնների տեսակների գծագրերը
Նիվելիրացված գեոդեզիական կայանների հենանիշների և կենտրոնների գծագրերը պետք է ընդգրկեն բոլոր տեսակները:
Գծագրերում պատային դրոշմանիշները չեն նշվում, քանի որ այն չունի տարատեսակներ:
23.8.4. Նիվելիրային ցանցի սխեման:
ա) նիվելիրացման ցանցի սխեման կազմվում է 1:200 000 մասշտաբի տեղագրական քարտեզի անվանաթերթով,
բ) այն դեպքերում, երբ կատալոգացված սեղանի տարածքում 1:200000 մասշտաբում տեղաբաշխված են խիտ նիվելիրային ցանցով օբյեկտներ, սխեմաները կարելի է կազմել մի քանի թերթերով, հիմնական թերթից հանելով առանձին օբյեկտների նիվելիրային ցանցերի սխեման, կազմված առավել խոշոր մասշտաբներով,
գ) սխեմաների վրա ցույց են տրվում բոլոր նիվելիրային գծերը, հենանիշները, դրոշմանիշները և գեոդեզիական կետերը, որոնք ընդգրկված են կատալոգում,
դ) նիվելիրացման կետերի պայմանական նշանների մոտ տրվում են իրենց համարները կամ անվանումները: Աշխարհագրական օբյեկտներից սխեմայի վրա անցկացվում են պետական սահմանները և խոշոր ջրային տարածքները,
ե) նիվելիրային գծերը, որոնք դուրս են գալիս քարտեզից, որով կազմվում է տվյալ կատալոգը, սխեմայի վրա ցույց է տրվում մինչև շրջանակից դուրս տեղաբաշխված մոտակա նիվելիրային կետը:
Հավելված N 2 |
Ց ու ց ա կ
Հետազոտված եվ վերականգնված նիվելիրային հենանիշների
Տարածքի անվանումը ըստ 1:200 000 մասշտաբի քարտեզների անվանաթերթերի
Դաշտային աշխատանքները կատարվել են___________________ 2004 թ.
կազմակերպության անվանումը
Հենանիշի տեսակը, |
Հենանիշի տեղադիրքի նկարագրությունը |
Տեղեկություններ հենանիշի |
Հենանիշի տեղադիրքի ճշտված |
II դասի գիծ 217 գրունտային հենանիշից մինչև 1121 գրունտային հենանիշ | |||
Գր. հենանիշ 217 |
գ. Լճուղի, 0.5կմ |
Հենանիշը գտնվում է լավ |
գ. Լճուղի, |
Պատային հենանիշ |
ք. Սևան, թիվ 3 |
Հենանիշը լավ վիճակում է, |
ք. Սևան, N 3 միջն.դպրոցի շենքի |
Պատային հենանիշ |
գ. Վարսեր, խանութի |
Հենանիշը ոչնչացված է |
|
Ց ու ց ա կ
Հրազդան-Սեվան II դասի նիվելիրային գծի հետազոտված եվ վերականգնված հենանիշների
Նիվելիրային |
Կետի տեղադիրքի հակիրճ |
Տվյալ տեղամասի, որի վրա |
Հենանիշի |
Ծանոթություն |
Պատային հենանիշ |
ք. Սևան, պատային հենանիշը |
Շինությունը գտնվում է |
II ա, բ |
|
Գրունտային |
գ. Դդմաշեն, երկաթուղային |
Հենանիշը գտնվում է |
I |
Գրունտային ջրերի |
Հավելված N 3 |
Նիվելիրի արտաքին զննումը, ստուգումը եվ կարգավորումը
1. Նիվելիրի և չափաձողերի զննում:
Նիվելիրը և չափաձողերը ստանալուց հետո կատարողը պետք է մանրամասնորեն զննի և համոզվի դրանց սարքինության մեջ: Նիվելիրի զննման ժամանակ ուշադրություն է դարձվում բոլոր մասերի սարքինության վրա: Դիտողականորեն ստուգվում է դիտակի օպտիկական մասերի մաքրությունը, բոլոր ցանցաթելերի, հարթաչափի և հաշվեցուցային թմբուկի բշտիկի, ծայրերի միաժամանակյա պատկերի պարզությունն ու հստակությունը, օկուլյարի և գլխիկի պտտման սահունությունը և այլն:
Ստուգում են հարթաչափի լուսավորման հայելիների վիճակը, էլևացիոն պտուտակի աշխատանքի որակը և օպտիկական միկրոմետրի մեխանիզմը, ինչպես նաև նիվելիրի բոլոր շարժական մասերի ամրությունը և սևեռապնդման պտուտակների առկայությունը: Ուղղիչ պտուտակները պետք է միջին դիրք զբաղեցնեն: Էլևացիոն պտուտակի օգնությամբ կատարվող դիտակի թեքման փոփոխությունները պետք է լինեն սահուն:
Կոմպենսատորով նիվելիրները ստուգելիս պետք է համոզվել, որ կլոր հարթաչափի բշտիկի կենտրոնավորման ժամանակ կոմպենսատորի կախովի համակարգը և դեմպֆերը աշխատում են: Օպտիկական միկրոմետրի թմբուկը պետք է պտտվի սահուն և բավարար շփում ունենա, որպեսզի 0 և 100 հաշվեցույցների ժամանակ չսահի:
Ստուգում են եռոտանու սարքինությունն ու կայունությունը, ձգում են բոլոր ամրացնող պտուտակները:
Զննում են չափաձողերը հատուկ ուշադրություն դարձնելով գծիկների ներկի որակին: Չափաձողի աշխատունակ երեսի վրա խազեր չպետք է լինեն: Ստուգում են կլոր հարթաչափի բռնակների և ցցակալերի ամրությունը:
2. Բարձրացնող պտուտակների պտտման ստուգումն ու կարգավորումը:
Նիվելիրի պատվանդանի հիմնական պտուտակի պինդ ներպտուտակման դեպքում հարթաբեր պտուտակները պետք է պտտվեն հեշտ և սահուն: Եթե դրանք դժվար են պտտվում կամ ընդհակառակը՝ շատ հեշտ, անհրաժեշտ է կարգավորել: Դրա համար նիվելիրը ամրացնում են եռոտանուն, բերում են աշխատանքային դիրքի և հարթաբեր պտուտակը պտտում են այնքան ժամանակ, մինչև պտուտակի արտաքին կողային անցքը համընկնի ներքին կարգավորիչ պնդօղակի հետ: Առաջին հարթաբեր պտուտակի ուղղումից հետո ուղղում են հաջորդ պտուտակները:
3. Նիվելիրը իր ուղղահայաց առանցքի շուրջը պտտելու սահունության ստուգումը:
Նիվելիրի դիտակը ուղղահայաց առանցքի շուրջը պտտելու որակը որոշելու համար օգտագործում են գլանաձև հարթաչափը: Ն/H/-3 և կոմպենսատորով նիվելիրների հետազոտման ժամանակ դրանց արտաքին մակերևույթին ամրացնում են լրացուցիչ գլանաձև հարթաչափ 2մմ վրա 10-15,, բաժանմունքի արժեքով: Նիվելիրը ամրացնում են քարե կամ բետոնե պատվանդանին և գլանաձև հարթաչափով բերում են հորիզոնական վիճակի: Դիտակը բերում են I դիրքի և վերցնում հաշվեցույց հարթաչափի բշտիկի ծայրերով, աստիճանաբար գործիքի վերին մասը ուղղահայաց առանցքի շուրջը 7200 պտտում են, ընդ որում, յուրաքանչյուր 600-ը մեկ բշտիկի ծայրերով վերցնում են հաշվեցույց: Մինչև հաշվեցույց վերցնելը թողնում են հարթաչափը հանդարտվի: Ուղիղ ընթացքը կատարում են ժամ սլաքի ուղղությամբ, իսկ հակադարձ ընթացքը` հակառակ ուղղությամբ: Հաշվեցույցների միջև տարբերությունները, որոնք ստացվել են ուղիղ և հակադարձ ընթացքների ժամանակ, չպետք է գերազանցեն 20,, Ն/H/-05 նիվելիրների համար և 40,, Ն/H/-3 կոմպենսատորով նիվելիրների համար:
Նկ. 1 Ուղղահայաց առանցքի շուրջը նիվելիրի պտտման ճշտության որոշման սխեման
4. Հարթաչափերի ստուգումը և ուղղումը:
Նիվելիրը աշխատանքային վիճակի բերելու համար ապահովում են կամ երկու փոխուղղահայաց գլանային հարթաչափերով կամ էլ մեկ կլոր հարթաչափով: Տեղակայման հարթաչափերի ստուգումը և ուղղումը իրականացվում է հետևյալ կերպ` հարթաբեր պտուտակներով հարթաչափի բշտիկը բերում են զրո կետի վրա: Նիվելիրը ուղղահայաց առանցքի շուրջը պտտում են 1800, եթե բշտիկը կենտրոնի համեմատությամբ շեղվում է 0.3 բաժանմունքից ավելի, ապա դրան բերում են սկզբնական վիճակի, շարժելով ուղղիչ պտուտակներով շեղման շառավղի կեսի չափով, իսկ մյուս կեսը հարթաբեր պտուտակներով: Դրանից հետո նորից նիվելիրը պտտում են 1800, եթե հարթաչափի բշտիկը նորից շեղվում է զրո կետից, ապա ուղղումը կատարում են նորից: Ընդհանրապես 2-3 փորձից հետո բշտիկը կանգնում է զրո կետի վրա: Ուղղումից հետո հարթաչափի պտուտակները ամրացնում են: Այս աշխատանքը կատարում են ամեն օր աշխատանքները սկսելուց առաջ:
5. Ցանցաթելերի պարալաքսի վերացումը:
Պարալաքսի ժամանակ ցանցաթելերի հարթությունը չի համընկնում չափաձողի պատկերի հարթության հետ, այլ գտնվում է դրան մոտ կամ դրանից հեռու: Օկուլյարի համեմատությամբ աչքի դիրքի փոփոխության դեպքում (վերև, ներքև) հաշվեցույցը 2-3 մմ-ով փոխվում է: Որպեսզի վերացվի պարալաքսը, անհրաժեշտ է ցանցաթելերի հարթությունը համատեղել առարկայի հարթության հետ: Դրան հասնում են ինչպես ցանցաթելերի տեղաշարժումով, այնպես էլ կիզակետման փոփոխությամբ:
6. Ցանցաթելերի տեղակայման ստուգումն ու ուղղումը:
Ցանցաթելերի ուղղահայաց թելը տեղակայվող հարթաչափի միջին դիրքի ժամանակ պետք է համընկնի ուղղալարի հետ, իսկ ցանցաթելի բիսեկտորի առանցքը պետք է ուղղահայաց լինի դրան:
Ստուգումը կատարում են հետևյալ կերպ` ուղղալարից 10-15մ հեռավորության վրա տեղակայում են նիվելիրը: Հարթաչափով նիվելիրի ուղղաձիգ առանցքը բերում են ուղղաձիգ դիրքի: Ուղղաձիգ ցանցաթելը ուղղում են ուղղալարին: Եթե ուղղահայաց ցանցաթելի մի ծայրը շեղվում է ուղղալարից 0.5 մմ-ից ավելի, ապա ցանցաթելերի տեղադիրքն ուղղում են: Նախօրոք դիտակից անջատում են օկուլյարային մասը: Ամրացնող պտուտակները մոտ մեկ պտույտով թուլացնելով սկավառակը ցանցաթելերի հետ միասին թեթևակի պտտում են: Այնուհետև օկուլյարային մասը հագցնում են դիտակին և ստուգում են ուղղաձիգ թելի դիրքը: Աստիճանաբար հասնում են նրան, որ ուղղաձիգ ցանցաթելը խիստ համընկնի ուղղալարի հետ: Պտուտակներն ամրացնելիս անհրաժեշտ է մեկ անգամ ևս համոզվել, որ ուղղաձիգ թելի դիրքը չի փոխվել: Դրանից հետո օկուլյարային մասը ամրացնում են:
Այնուհետև ստուգում են բիսեկտորի առանցքի տեղակայումը: Բիսեկտորի առանցքը պետք է ուղղահայաց լինի ուղղաձիգ առանցքին:
Նիվելիրի պտտման ուղղաձիգ առանցքը բերում են ուղղաձիգ դիրքի, հորիզոնական ցանցաթելերի ա կետը (նկ. 6) ուղղում նիվելիրից մոտ 10մ հեռավորության վրա գտնվող ինչ-որ լավ տեսանելի կետի, այնուհետև գլանաձև հարթաչափի բշտիկի ծայրերը համընկեցնում են և օպտիկական միկրոմետրի թմբուկով 0.1 բաժանման ճշտությամբ վերցնում են հաշվեցույց: Հաշվեցույցը թմբուկով պետք է լինի 50-ին մոտ: Հորիզոնական թելի և բիսեկտորի բ,գ,դ կետերը ուղղում են ընտրված կետին և վերցնում հաշվեցույց թմբուկով:
Կիսագումարների տարբերությունը (ա+բ)-ի և (գ+դ)-ի միջև չպետք է գերազանցի թմբուկի 1-2 բաժանումը: Եթե տարբերությունը մեծ է, ապա ցանցաթելի ցանցը պետք է փոխվի:
Նկ. 2 Բիսեկտորի առանցքի ուղղաձիգության ստուգման սխեման
Հավելված N 4 |
Թեքվող հարթ-զուգահեռ սկավառակով մեխանիզմի աշխատանքի հետազոտումը եվ հաշվիչ թմբուկի բաժանումների արժեքի որոշումը
Հաշվիչ թմբուկի բաժանման արժեքը չպետք է տարբերվի անվանական արժեքից և թմբուկի տարբեր մասերում բաժանման միջին արժեքից 0.0025-ից ավելի այն գործիքներում, որոնք նախատեսված են հարթավայրային շրջանների համար, և 0,0015-ից ավելի` լեռնային շրջանների համար:
Սակայն նիվելիրի առանձին մասերի անորակ պատրաստման հետևանքով հաշվիչ թմբուկի բաժանման արժեքը կարող է շեղվել անվանական արժեքից և փոփոխվել` կախված նիվելիրի և չափաձողերի միջև հեռավորությունից:
Թմբուկի սանդղակի բաժանմունքի արժեքի որոշումը նրա տարբեր մասերում:
Որոշվում է լաբորատոր պայմաններում:
Հաշվեցուցային թմբուկի բաժանմունքի արժեքի որոշումը տարբեր հեռավորությունների վրա տարբեր ջերմաստիճանների դեպքում
Դաշտային պայմաններում այդ հետազոտությունների համար անհրաժեշտ է ունենալ 1 մմ հաստությամբ գծիկներով սանդղակ, որոնց առանցքների միջև հեռավորությունը 2 մմ է (նկ. 3): Հետազոտումից առաջ և հետո սանդղակը ստուգիչ քանոնի օգնությամբ համեմատում են: Այդ հետազոտությունները կատարում են հարթ տեղանքում նիվելիրի և չափաձողերի միջև տարբեր հեռավորությունների 30, 50 և 70մ (աղյուսակ 17) և օդի տարբեր ջերմաստիճանների` օրինակ +5 ,+15, +250 C դեպքում:
Նկ. 3 Թմբուկի սանդղակի բաժանմունքի արժեքի որոշումը դաշտային պայմաններում
Հետազոտումը ցանկալի է կատարել ամպամած եղանակին, թույլ քամու ժամանակ, հանգիստ կամ թեթևակի տատանվող պատկերների դեպքում:
Նիվելիրը տեղադրում են այնպես, որ դիտոցային գիծն անցնի մոտավորապես սանդղակի մեջտեղով:
Սանդղակն ամրացնում են շենքի պատին կամ չափաձողի վրա: Հաշվեցուցային բաժանումներում որոշում են դիտոցման ճառագայթի տեղաշարժման մեծությունը, որը համապատասխանում է սանդղակի չորսմիլիմետրանոց միջակայքին: Ուղիղ ընթացքի ժամանակ ուղղում են միայն ներպտուտակմամբ, իսկ հակադարձ ընթացքի ժամանակ պտուտակահանմամբ: Հաշվեցույցի ժամանակ խստորեն հետևում են, որ հարթաչափի բշտիկի ծայրերը ճիշտ համընկած լինեն: Յուրաքանչյուր հեռավորության ժամանակ կատարում են ութ նվագ: Դիտարկման սկզբում և վերջում չափում են օդի ջերմաստիճանը: Յուրաքանչյուր երկու նվագը մեկ սանդղակը տեղափոխում են մեկ-երկու բաժանումով, կամ չափում են նիվելիրի բարձրությունը: Հետազոտման արդյունքներով կազմում են ամփոփիչ աղյուսակ:
Լաբորատոր և դաշտային լիարժեք հետազոտությունները կատարում են միայն նոր գործիքների համար: Կատարողն ինքն է որոշում թմբուկի բաժանմունքների արժեքը մինչև չափաձողն ընկած հեռավորության վրա, որը հավասար է 50 մ-ի:
Աղյուսակ 4
Նվագի |
Շտրիխի |
Հաշվեցույց թմբուկով |
Գծիկների միջին |
Թմբուկի | |||
ներպտուտակ- |
պտուտակահան- |
Միջինը |
Թմբուկի |
մմ-ով | |||
1 |
11(1) |
6,2(6) |
4,2 |
5,20 |
|
|
|
|
12(3) |
84,0(6) |
85,7 |
84,85 |
79.65 |
4,010 |
0.0503 |
2 |
11 |
5,0 |
3,8 |
4,40 |
|
|
|
|
12 |
84,1 |
83,8 |
83,95 |
79.55 |
4,010 |
0.0504 |
3 |
12 |
12,8 |
11,6 |
12.2 |
|
|
|
|
13 |
91,9 |
93,0 |
92,45 |
80,25 |
4,018 |
0.0501 |
4 |
12 |
14,3 |
14,2 |
14,25 |
|
|
|
|
13 |
94,4 |
95,0 |
94.7 |
80,45 |
4,018 |
0.0499 |
5 |
13 |
5,1 |
4,4 |
4,75 |
|
|
|
|
14 |
85,7 |
84,8 |
85,25 |
80,50 |
3,982 |
0,0495 |
6 |
13 |
4,9 |
5,7 |
5,3 |
|
|
|
|
14 |
85,8 |
86,2 |
86,00 |
80,70 |
3,982 |
0,0493 |
7 |
15 |
9,6 |
8,7 |
9,15 |
|
|
|
|
16 |
88,4 |
88.6 |
88,50 |
79,35 |
3,987 |
0,0502 |
8 |
15 |
11,5 |
9,8 |
10,65 |
|
|
|
|
16 |
89.2 |
89,6 |
89,40 |
78,75 |
3.987 |
0,0506 |
միջինը |
0,0500 |
Աղյուսակ 5
Ամիս, |
Օդի |
Մետրային հեռավորության թմբուկի |
Միջինը | ||
30 |
50 |
70 | |||
3.07 |
+8 |
0,0500 |
0,0509 |
0,0518 |
0,0509 |
25,06 |
+15 |
0.0511 |
0,0519 |
0.0541 |
0.0524 |
1.08 |
+25 |
0.0514 |
0,0518 |
0,0528 |
0.0520 |
|
միջինը |
0.0508 |
0,0515 |
0,0529 |
0,0518 |
Հավելված N 5 |
Հեռաչափի գործակցի եվ ցանցաթելերի անհամաչափության (ասիմետրիայի) որոշումը
Հեռաչափի գործակիցը և ցանցաթելերի անհամաչափությունը որոշում են դաշտ դուրս գալուց առաջ: Գործակիցը որոշելու համար ընտրում են 0,50 -ից պակաս թեքությամբ հարթ մակերևույթ, որտեղ հարմար է հեռավորությունները չափել մետաղե ժապավենով 1:1500-ից ոչ ավելի հարաբերական սխալանքով: Ամրացնում են երկու հենակներ կամ ցցեր միմյանցից 50մ հեռավորության վրա:
Առաջին հենակի վրա տեղակայում են նիվելիրը 1սմ ճշտությամբ, իսկ մյուսի վրա չափաձողը: Վերցնում են հաշվեցույցներ հեռաչափական գծիկներով և միջին ցանցաթելերով չափաձողի հիմնական և լրացուցիչ սանդղակներով: Այնուհետև դիտակը թեքում են տարբեր ուղղություններով այնպես, որ հարթաչափի բշտիկի պատկերը տեղավորվի 4-5 բաժանման միջև և հաշվեցույց են վերցնում չափաձողի հիմնական և լրացուցիչ սանդղակներով: Փոխում են նիվելիրի բարձրությունը և կրկնում են բոլոր չափումները:
Կոմպենսատորով նիվելիրների հետազոտման ժամանակ հիմնական և լրացուցիչ սանդղակներով առաջին հաշվեցույցները վերցնելուց հետո փոխում են նիվելիրի բարձրությունը (հինգ անգամ):
Ն/H/-3, Ն/H/-10 նիվելիրների հետազոտման ժամանակ հաշվեցույց վերցնում են միայն չափաձողի սև կողմով առանց նիվելիրի բարձրությունը փոխելու:
Հեռաչափի գործակիցը հաշվում են հետևյալ բանաձևով, եթե նիվելիրի դիտակն ունի հեռաչափի C հաստատուն
K=(D-C)/ (H-B)միջ.,
որտեղ C-ն հեռաչափի հաստատունն է վերցված նիվելիրի նկարագրությունից, D-ն բազիսի երկարությունն է մմ-ով,
(H-B)միջ. վերին և ներքին գծիկների հաշվեցույցների տարբերությունների միջինն է մմ-ով:
C=0-ի դեպքում բանաձևը կընդունի հետևյալ տեսքը.
K=D/ (H-B)միջ.:
K- գործակիցը 100%-ը կարող է գերազանցել 1%-ով: Միաժամանակ գտնում են ցանցաթելերի անհամաչափությունը (տոկոսներով) հետևյալ բանաձևով՝
a=(2[(C-B)-(H-C)])/(H-B)100 միջ.,
որտեղ C, B, H, - ցանցաթելերի համապատասխան գծիկներով վերցված հաշվեցույցներն են (C-միջին, B-վերին, H-ներքին):
Անհամաչափությունը 0.5%-ից ավելի չպետք է լինի:
Աղյուսակ 6
Հեռաչափի գործակցի եվ նիվելիրի ցանցաթելերի անհամաչափության (ասիմետրիայի) որոշումը
Նիվելիրի |
Հարթաչափի |
Ցանցաթելերով |
C-B |
a,1/2մմ |
լ=H-B, |
I |
Կենտրոնում |
2448 |
|
|
|
2947 |
499 |
–1 |
999 | ||
3447 |
500 | ||||
8373 |
|
|
| ||
8872 |
499 |
–1 |
999 | ||
9372 |
500 | ||||
Տեղաշարժված է |
2442 |
|
|
| |
2940 |
498 |
-1 |
997 | ||
3439 |
499 | ||||
8367 |
|
|
| ||
8865 |
498 |
-2 |
998 | ||
9365 |
500 | ||||
Տեղաշարժված է |
2455 |
|
|
| |
2954 |
499 |
|
| ||
3455 |
501 |
|
| ||
8381 |
|
|
| ||
8880 |
499 |
-1 |
999 | ||
9380 |
500 | ||||
II |
Կենտրոնում |
2012 |
|
|
|
2510 |
498 |
0 |
996 | ||
3008 |
498 | ||||
7937 |
|
|
| ||
8435 |
498 |
0 |
996 | ||
8933 |
498 | ||||
Տեղաշարժված է |
2003 |
|
|
| |
2501 |
498 |
-2 |
998 | ||
3001 |
500 | ||||
7928 |
|
|
| ||
8426 |
498 |
-2 |
998 | ||
8926 |
500 | ||||
Տեղաշարժված է |
2020 |
|
|
| |
2519 |
499 |
-3 |
1001 | ||
3021 |
502 | ||||
7945 |
|
|
| ||
8444 |
499 |
-1 |
999 | ||
8944 |
500 | ||||
|
|
|
|
aմիջ= |
lմիջ= |
K=(50100-350)/499,15=99,7
a=(2(-1,33)/998,3)100≈0,3%
Աղյուսակ 7
Հեռաչափի գործակցի որոշումը
H-3 |
37541 |
D=50,4մ |
Հեռաչափական թելերի հաշվեցույցներ |
վ-Չ | |
վ |
1001 |
|
ն |
1503 |
502 |
վ |
1143 |
|
ն |
1647 |
504 |
վ |
0930 |
|
ն |
1433 |
503 |
Միջինը=503,0
K=50400/503,0=100,2:
Սեկցիաների նիվելիրով, որի հաստատունը C ≠ 0, չափված հեռավորությունները հաշվելիս պետք է օգտվել հետևյալ բանաձևից.
L=k∑(lh+lu)+ZnC,
Որտեղ lh, lu - հեռաչափային գծիկներով վերցված հաշվեցույցների տարբերությունն է հետևի և առջևի չափաձողերով դիտարկման ժամանակ: Եթե հաշվեցույցը վերցված է միջին ցանցաթելով և մեկ հեռաչափական գծիկով, ապա ∑(lh+lu) -ը պետք է մեծացնել երկու անգամ,
K- հեռաչափի գործակիցն է, n-սեկցիայում կայանների թիվն է և
C- հաստատունը վերցված է նիվելիրի անձնագրից:
Հավելված N 6 |
Ստուգողական ընթացքի անցկացումը
Նոր գործիքի լաբորատոր հետազոտումից հետո, ինչպես նաև գեոդինամիկական պոլիգոններ աշխատանքի մեկնելուց առաջ կատարում են փակ ընթացքով 5-6 կմ ստուգողական նիվելիրացում, որի յուրաքանչյուր 1կմ-ի վրա ամրացված են հուսալի հենանիշներ: Լեռնային տարածքներում աշխատելիս վերազանցումների գումարը ընթացքում պետք է լինի 100 մ-ից ավելի:
Նիվելիրացումը կատարում են ուղիղ և հակադարձ ուղղություններով նիվելիրացման այն դասին համապատասխան մեթոդով, որի համար նախատեսված է գործիքը:
Նիվելիրացման արդյունքները կայաններում, հենանիշների միջև սեկցիաներում, փակ պոլիգոնում, ինչպես նաև վերազանցումների տարբերությունները` ստացված տարբեր կատարողների կողմից, պետք է համապատասխանեն սույն հրահանգի պահանջներին:
Նիվելիրացման ընթացքում բացահայտվում են գործիքի անսարքությունը և աշխատանքում դրա առանձին մասերի թերությունները: Հատուկ ուշադրություն են դարձնում i անկյան մշտականության վրա, որը որոշում են ամեն օր աշխատանքի սկզբում և վերջում:
Դաշտային աշխատանքները սկսելուց առաջ նիվելիրի և չափաձողերի բոլոր նկատած անսարքությունները պետք է վերացվեն:
Հավելված N 7 |
Գլանաձեվ հպումային հարթաչափի հետազոտումը
Լրիվ հետազոտումը կատարում են նոր նիվելիրների ստանալուց և վերանորոգումից հետո այն դեպքում, երբ փոխվել է հարթաչափի բշտիկը, ինչպես նաև դաշտային աշխատանքներն սկսելուց առաջ: Այդ հետազոտությունների նպատակն է հարթաչափի բաժանումների արժեքի որոշումը, պատրաստման որակը, հարթաչափի համակշռման աստիճանը, այսինքն հարթաչափի բշտիկի երկարության փոփոխությունը կախված 10C-ով ջերմաստիճանի փոփոխումից, հարթաչափի բշտիկի ծայրերի համատեղման միջին քառակուսային սխալի` mհամ. և հարթաչափի սանդղակով հաշվեցույցի mհաշ. որոշումը:
Լաբորատոր հետազոտումները կատարում են մակարդակների փորձարկիչների վրա, իսկ դաշտայինը` չափաձողի օգնությամբ:
Եթե մակարդակների փորձարկիչ չկա և անհրաժեշտ է ավելի մանրամասնորեն հետազոտել գլանաձև հարթաչափը, ապա հարթաչափի բաժանման արժեքը որոշելու համար օգտագործել են 1մմ-անոց գծիկներով չափաձողեր կամ նիվելիրի միկրոմետր:
Չափաձողը նախօրոք ստուգանմուշարկում են, օգտագործելով ստուգիչ քանոն: Նիվելիրն այս դեպքում տեղակայում են չափաձողից 20 մ հեռավորության վրա:
Չափաձողով հարթաչափի բշտիկի ծայրերի պատկերի համատեղման սխալի որոշումը
Դաշտային աշխատանքներն սկսելուց առաջ անհրաժեշտ է որոշել հարթաչափի բշտիկի ծայրերի պատկերի համատեղման սխալն այն ջերմաստիճանների համար, որոնց պայմաններում նախատեսված է կատարել նիվելիրացումը:
mհամ որոշում են չափաձողի օգնությամբ անուղղակի ճանապարհով` հետևյալ բանաձևով.
mհամ = √m2d-m2y,
որտեղ՝ md-ն դիտման սխալն է, my -ն ուղղման սխալը և այս սխալները գտնում են 9 նվագներից, որոնք կատարվել են նիվելիրից մինչև չափաձող 50մ հեռավորության վրա, ամպամած եղանակին, թեթև քամու ժամանակ, հանգիստ կամ թեթևակի տատանվող պատկերների դեպքում և պարտադիր օդի տարբեր ջերմաստիճանների դեպքում, օրինակ +50C, +100C, +150C:
Յուրաքանչյուր ջերմաստիճանի ժամանակ կատարում են երեքական նվագ: Նվագում ընդգրկում են չափաձողի գծիկի վրա բիսեկտորի տասը ճշգրիտ ուղղում և օպտիկական միկրոմետրի թմբուկով վերցնում են տասը հաշվեցույց 0,1 բաժանման ճշտությամբ: Այնուհետև վերցնում են ևս տասը հաշվեցույց, բայց չափաձողի գծիկի վրա բիսեկտորի յուրաքանչյուր ուղղումից առաջ էլեվացիոն պտուտակը և հաշվիչ թմբուկը թեքում են 1/4 պտույտով:
Առաջին տասը հաշվեցույցները ծառայում են որոշելու my-ն, երկրորդը` md-ն:
Ցանցաթելերի բիսեկտորի ուղղումը չափաձողի գծիկին և հարթաչափի բշտիկի ծայրերի համատեղումը կարելի է կատարել ինչպես թմբուկի և էլևացիոն պտուտակի ներպտուտակմամբ, այնպես էլ պտուտակահանմամբ:
Չափաձողի օգնությամբ mհամ-ի որոշման օրինակը և արդյունքների համեմատումը բերված են համապատասխանաբար 7 և 8 աղյուսակներում:
Աղյուսակ 7
Նիվելիր Ն/H/-05 9876, t=5,40C, հարթաչափի բշտիկի երկարությունը՝ 71,1մմ, ամսաթիվը՝ 03.04.2007 թ.
Դիտման սխալներ md |
Ուղղման սխալներ my | ||
Թմբուկի |
V1 |
Թմբուկի |
V2 |
35,9 |
-0,47 |
35.0 |
-2,52 |
+0,73 |
38.3 |
+0.78 | |
+0,83 |
36.1 |
-1,42 | |
+0,43 |
38,4 |
+0.88 | |
-1.37 |
38,8 |
+1,28 | |
+0,83 |
39,0 |
+1.48 | |
+0,03 |
38,2 |
+ 0.68 | |
+1,03 |
37.4 |
- 0.12 | |
-0,57 |
36.0 |
-1.52 | |
-1,47 |
38,0 |
+0,48 |
my=√7,7410/9= ±0,93 թմբ. բաժ,
md=√16,5960/9=±1,36 թմբ. բաժ,
mh=√(16,5960-7,7410)/9=±0,99 թմբ. բաժ:
Աղյուսակ 8
mհամ միջ - որոշման արդյունքների համեմատումը
Նվագ |
Օդի ջերմաս- |
Հարթաչափի բշտիկի երկարությունը |
mհամ |
Նվագ |
Օդի ջերմաստիճանը, |
Հարթա- |
mհամ |
1 |
+6,2 |
71,1 |
0,99 |
6 |
12,8 |
70,6 |
1,01 |
2 |
6,5 |
71,1 |
0,99 |
7 |
18,7 |
70,1 |
1,04 |
3 |
6,9 |
71,0 |
1,03 |
8 |
18,9 |
70,0 |
1,06 |
4 |
13,7 |
70,6 |
0,95 |
9 |
19,4 |
70,0 |
1,02 |
5 |
13,2 |
70,6 |
0,97 |
|
|
|
|
|
|
|
|
|
|
|
|
mհամ միջ= 1,01 թմբ. բաժ, mհամ միջ=1,01.0,05.206265/50000=0,21"
Առանձին նվագներում md-my կարող են ունենալ բացասական նշանակություն: Այդ դեպքում հաշվում են md և my-ի սխալների միջին արժեքները միանգամից երեք նվագների համար և դրանցով գտնում են mհամ միջ: Ն/H/-05 նիվելիրներում 50մ դիտման ճառագայթի դեպքում mհամ միջ-ը չպետք է գերազանցի 0,35":
Բացասական և բարձր դրական ջերմաստիճանների դեպքում I և II դասի նիվելիրացման համար նախատեսված գործիքների համար շատ մեծ նշանակություն ունի գլանաձև հարթաչափի համակշռման աստիճանը, այսինքն՝ բշտիկի երկարության կախվածությունն օդի ջերմաստիճանի փոփոխությունից (աղյուսակ 9): 10C-ով օդի ջերմաստիճանի փոփոխման ժամանակ հարթաչափի բշտիկի երկարության փոփոխությունը պետք է 0,2մմ-ից պակաս լինի: Գլանաձև հարթաչափի համակշռման աստիճանը որոշելու համար դուրս են գրում հաշվեցույցների կ+խ գումարները, որոնք ստացվել են տարբեր պայմաններում հարթաչափի հետազոտման ժամանակ` մակարդակների փորձարկիչների վրա, դաշտ դուրս գալուց առաջ և այլն:
Աղյուսակ 9
Նիվելիրի գլանաձեվ հարթաչափի համակշռման աստիճանի որոշումը
Ն/H/-05 |
0,0003 |
Օդի |
Ա +Ձ |
∆ (Ա +Ձ) |
∆,մմ |
∆r 0C |
K,մմ/1 0C |
+5,2 |
32,6 |
|
|
|
|
+14,9 |
28,2 |
4,4 |
3.52 |
9,7 |
0,36 |
+20,2 |
26,0 |
2,2 |
1,76 |
5,3 |
0,33 |
+25,5 |
23,6 |
2,4 |
1,92 |
5,3 |
0,36 |
K=∆/∆t
Գլանաձև հարթաչափի բշտիկը փոխելու կարիք ունի, քանի որ 100C ցածր և +350C-ից բարձր ջերմաստիճանի պայմաններում հարթաչափի բշտիկի ծայրերի համատեղումը պատուհանի եզրերին մոտ կլինի:
Տեղակայման հարթաչափի բաժանմունքների արժեքի որոշումը
Կոպիտ տեղակայման հարթաչափը դժվարացնում է նիվելիրի աշխատանքները և նվազեցնում է աշխատանքի արտադրողականությունը: Գործարանից նիվելիրի ստացումից կամ վերանորոգումից հետո հարթաչափի բշտիկի փոխման դեպքում անհրաժեշտ է որոշել տեղակայման հարթաչափի բաժանմունքի արժեքը:
Տեղակայման հարթաչափի բաժանմունքի արժեքը Ն/H/-05 նիվելիրի 2մմ-ի համար պետք է լինի 5±1, Ն/H/-3 և Ն/H/-10 նիվելիրների համար` 10±2:
Բաժանմունքի արժեքը որոշում են մակարդակների փորձարկիչների վրա կամ նիվելիրի պատվանդանի հարթաբեր պտուտակների օգնությամբ: Կլոր տեղակայման հարթաչափի հետազոտման համար կարող են օգտագործվել մինչև 10" բաժանումով ցանկացած մակարդակների փորձարկիչներ: Այդ դեպքում t որոշում են սովորական եղանակով:
Նիվելիրի պատվանդանի հարթաբեր պտուտակներով t որոշում են հետևյալ հաջորդականությամբ.
Որոշում են հարթաբեր պտուտակի քայլը: Եթե հարթաբեր պտուտակի պարուրակը երևում է, ապա դրան թուղթ են կպցնում, որի վրա անցկացնում են մատիտով, հետևանքը լինում է այն, որ թղթի վրա տպվում են պտուտակի քայլին համապատասխանող մի շարք գծիկներ (մմ-ով): Որոշում են հարթաբեր պտուտակի կենտրոնից մինչև մյուս երկու պտուտակների մեջտեղն ընկած հեռավորությունը: Կլոր հարթաչափի շրջանակի վրա ամրացնում են 2 մմ բաժանումներով սանդղակ: Նիվելիրը տեղադրում են այնպես, որ դիտակը գտնվի հարթաբեր պտուտակներից մեկի ուղիղ կենտրոնում: Պատվանդանի հարթաբեր պտուտակներով հարթաչափի բշտիկը բերում են ծայրամասերից որևէ մեկի վրա: Նշում են դիտակի տակ գտնվող հարթաբեր պտուտակի դիրքը, հարթաչափի բշտիկի ծայրերով վերցնում են հաշվեցույցները: Հարթաբեր պտուտակը շրջում են 1800 կամ 3600, այսինքն այնքան ժամանակ, մինչև հարթաչափի բշտիկը տեղափոխվի հաջորդ ծայրամասային աշխատանքային դիրքի: Հարթաչափի բշտիկի ծայրերով վերցնում են երկրորդ հաշվեցույցները:
Կլոր հարթաչափի բաժանումների արժեքը հաշվում են հետևյալ բանաձևով.
t = mk 3436/ln,
որտեղ՝
m - հարթաբեր պտուտակի պտույտների թիվն է,
K - հարթաբեր պտուտակի քայլի մեծությունն է մմ-ով,
l - հարթաբեր պտուտակի կենտրոնից մինչև մյուս երկու պտուտակների մեջտեղն ընկած հեռավորությունը մմ-ով,
n- բաժանմունքների թիվն է, որոնց վրա տեղավորված է հարթաչափի բշտիկը:
Հավելված N 8 |
Կոմպենսատորով նիվելիրի հետազոտումը
Կոմպենսատորով նիվելիրների մոտ պետք է որոշված լինեն ուղղաձիգ դիրքով տեղակայման հարթաչափով նիվելիրի ուղղահայաց առանցքի միջին քառակուսային սխալը, նիվելիրի դիտոցման գծի ինքնատեղակայման դիապազոնը և միջին քառակուսային սխալը, կոմպենսատորի համակշռման սիստեմատիկ սխալը և կախովի համակարգի տատանումների մարման ժամանակը:
Ուղղաձիգ դիրքով տեղակայման հարթաչափով նիվելիրի ուղղահայաց առանցքի միջին քառակուսային սխալը որոշում են մակարդակների փորձարկիչի վրա, որի չափիչ պտուտակի բաժանումների արժեքը մինչև 5" է:
Դաշտային պայմաններում կոմպենսատորի աշխատանքի սխալները որոշում են հետևյալ կերպ` նիվելիրը տեղակայում են ուղիղ երկու չափաձողերի մեջտեղում, կլոր հարթաչափի համապատասխան դիրքերով և չափում են վերազանցումները: Դիտարկումը կատարում են հինգ սերիաներով: Բոլոր սերիաներում նիվելիրի յուրաքանչյուր թեքման ժամանակ չափում են վերազանցումը չափաձողի հիմնական և լրացուցիչ (սև և կարմիր) սանդղակներով: Նոր սերիայից առաջ փոխում են նիվելիրի բարձրությունը: I և II դասի նիվելիրացման ժամանակ մինչև դաշտային աշխատանքների սկսելը հետազոտումը կատարում են չափաձողերի միջև 10մ, 50մ և 100մ հեռավորությունների դեպքում, դաշտային աշխատանքների դուրս գալուց հետո յուրաքանչյուր 2, 4, և 6 ամիսը մեկ` 100մ հեռավորության, III դասի նիվելիրացման ժամանակ 100 և 200 մետր հեռավորության, IV դասի նիվելիրացման ժամանակ 200մ հեռավորության դեպքում: III դասի նիվելիրացման ժամանակ դաշտ դուրս գալուց 3 ամիս անց այդ ստուգումը կատարում են 200մ հեռավորության վրա:
Եթե I և II դասի նիվելիրացման համար նախատեսված գործիքներում կլոր հարթաչափի տարբեր դիրքերով ստացված վերազանցումները տարբերվում են հարթաչափի բշտիկի մեջտեղի դիրքով որոշված վերազանցումից 0,5մմ-ով (I դաս), 1,0մմ-ով (II դաս), 3,0մմ-ով (III դաս) և 5.0մմ-ով (IV դաս), ապա նիվելիրները հարկավոր է ճշտել արհեստանոցում, դրանց չի կարելի օգտագործել համապատասխան դասի նիվելիրային աշխատանքներ կատարելիս: Կոմպենսատորի հավասարակշիռ վիճակից դուրս բերելուց հետո առարկայի պատկերների տեսանելի տատանումների մարման ժամանակը որոշում են հետևյալ ձևով. նիվելիրից 25մ հեռավորության վրա կանգնեցնում են չափաձողը: Թեթևակի հարվածելով նիվելիրի պատյանին կամ եռոտանուն հետևում են, թե երբ կդադարի չափաձողի պատկերի տատանումը: Հարվածելով մինչև տատանումների դադարն ընկած ժամանակն էլ կլինի կախովի համակարգի տատանումների մարման ժամանակը: Այն չպետք է գերազանցի 2//:
Աղյուսակ 10
Դաշտային պայմաններում նիվելիրի կոմպենսատորի աշխատանքի որակի ստուգումը
Սերիայի համարը |
Վերազանցում,մմ | ||||
0-ական |
Երկայնակի թեքվածք |
Լայնակի թեքվածք | |||
+10 |
-10 |
+10 |
-10 | ||
1 |
1575,4 |
1575,4 |
1575,6 |
1575,4 |
1575,7 |
|
1575,6 |
1575,5 |
1575,7 |
1575,4 |
1575,9 |
2 |
1576,0 |
1575,8 |
1576,0 |
1575,8 |
1576,0 |
|
1575,8 |
1575,7 |
1575,6 |
1575,6 |
1575,8 |
3 |
1575,5 |
1575,3 |
1575,6 |
1575,4 |
1575,8 |
|
1575,8 |
1575,4 |
1575,8 |
1575,6 |
1575,8 |
4 |
1575,9 |
1575,0 |
1576,2 |
1575,7 |
1575,9 |
|
1575,4 |
1575,4 |
1575,9 |
1575,7 |
1576,1 |
5 |
1575,4 |
1575,5 |
1575,6 |
1575,2 |
1575,8 |
|
1575,5 |
1575,4 |
1575,8 |
1575,6 |
1575,8 |
միջինը |
1575,68 |
1575,44 |
1575,78 |
1575,54 |
1575,86 |
|
∆h,մմ |
-0,24 |
+0,10 |
-0,14 |
+0,18 |
|
∆h,/1'մմ |
-0,024 |
+0,010 |
-0,014 |
+0,018 |
Հավելված N 9 |
Հենանիշների պահպանումը կոռոզիայից եվ կքումից
Խողովակները կոռոզիայից պահպանելու նպատակով պատվում են բիտումով, էպօքսիդային խեժով և քլորվինիլային կպչուն ժապավենով: Բիտումապատման արդյունավետությունը հնարավոր է միայն այն դեպքում, երբ խողովակի մակերեսը մեխանիկական կամ քիմիական եղանակով մաքրվում է ժանգից, յուղոտ բծերից: Մեխանիկական մաքրումն իրականացվում է ավազաշիթային ապարատով, պողպատե խոզանակներով, քերիչներով և այլն: Քիմիական մաքրումը կատարվում է խողովակները ծծմբային, աղային և ֆոսֆորային թթուների լուծույթների մեջ ընկղմելով: Հետագայում դրանք լվացվում են ջրով կամ չեզոքացվում են 5-անոց կալցիումացված ջրի լուծույթով: Խողովակը բիտումապատվում է երկու շերտով, իսկ եթե առկա են բարձր միներալային հատկություններով գրունտային ջրերը` երեք շերտով:
Ագրեսիվ գրունտերի պայմաններում ցանկալի է օգտագործել բետոնով լցված ասբեստացեմենտային խողովակներ:
Հենանիշների պատրաստումը
Բետոնե հենանիշները պատրաստում են ցեմենտ-ավազի շաղախով:
Բետոնե հենանիշների պատրաստման համար օգտագործում են պորտլանդցեմենտ կամ բարձր մարկայի (100, 200, 300, 400 և ավելի) ցեմենտ, որն ավելի արագ է պնդանում և դրանից ավելի ամուր բետոն է ստացվում: Այլ տեսակների ցեմենտով պատրաստված բետոնը դանդաղ է պնդանում և ցրտադիմացկուն չէ: Քիմիապես դիմացկուն ցեմենտ է հանդիսանում սուլֆակայուն պորտլանդցեմենտը, որը դիմանում է ծովի և սուլֆատային գրունտային ջրերում:
Բետոնի պատրաստման համար ցանկալի է օգտագործել խոշորահատիկ ավազ, քանի որ մանրահատիկ ավազի օգտագործումն իջեցնում է բետոնի ամրությունը: Բետոնի շաղախը` ցեմենտը, ավազը, խիճը անհրաժեշտ է պատրաստել 1:2:4 հարաբերությամբ: Այս հարաբերությամբ պատրաստում են բետոնե և երկաթբետոնե պիլոնները, իսկ խարիսխը պատրաստում են 1:3:5 հարաբերությամբ: Բետոնի որակը կախված է շաղախը լավ խառնելուց: Բետոնը լցնում են շաղախ պատրաստելուց 30 րոպե հետո: Հենանիշների պատրաստման սխեմաները պատկերված են 4.5.6.7 նկարներում:
Նկ. 4 Հիմնային հենանիշ
Նկ. 5 Գրունտային հենանիշ
Նկ. 6 Ժայռային հենանիշ
Նկ. 7 Պատային հենանիշ
Հավելված N 10 |
Չափաձողի ճկվածության որոշումը
Արտաքին ազդեցությունների և անփույթ վերաբերմունքի հետևանքով ինվարային չափաձողերը ծռմռվում են: Ծռմռումը կարող է պատճառ լինել նիվելիրային անկապքների: Այդ պատճառով I և II դասի նիվելիրացման ժամանակ ամիսը երկու անգամ անհրաժեշտ է որոշել չափաձողի ճկվածության աստիճանը:
Դրա համար չափաձողը կողային մասով բերում են հորիզոնական դիրքի, ծայրերի միջև ձգում են բարակ մետաղալար կամ թել, քանոնի օգնությամբ չափում են այդ թելից մինչև չափաձողի ինվարային շերտն ընկած հեռավորությունը 2, 30 և 58 բաժանումներին մոտ: Նկար 8-ում ստացված a1, a2 և a3 համապատասխան հեռավորություններով ճկվածությունը հաշվում են հետևյալ բանաձևով.
¦ = a2 - (a1 + a3) /2
Նկ. 8 Չափաձողի թեքվածության սլաքի որոշման սխեման
a1 = 7մմ, a2 = 15մմ, a3 =6մմ դեպքում fj =+8,5մմ (ա),
a1 = 7մմ, a2 = 1մմ, a3 =1մմ դեպքում fj =- 3մմ (բ):
Ինվարային չափաձողի ճկվածությունը պետք է լինի 5մմ-ից պակաս: Եթե դաշտում աշխատանքի ժամանակ f ճկվածությունը 5մմ-ից ավելի է, ապա ընդմիջումների ժամանակ չափաձողերը տեղավորում են հենասյուների վրա այնպես, ինչպես ցույց է տրված նկարի բ և դ կետերում:
Հավելված N 11 |
Չափաձողի սանդղակների դեցիմետրային բաժանմունքների անցկացման ճշտության ստուգում
Ստուգումը կատարում են ստուգիչ քանոնի օգնությամբ I, II և III դասի նիվելիրացման համար դաշտ դուրս գալուց առաջ և IV դասի նիվելիրացման համար նոր չափաձողեր ստանալիս: Ինվարային չափաձողերի մոտ որոշում են հիմնական սանդղակի 02-10, 10-30, 30-50, 50-58 և լրացուցիչ սանդղակի 60-70, 70-30, 30-110 և 110-118 դեցիմետրային միջակայքերի սխալները: Փայտե չափաձողերի մոտ որոշում են 1-29 սև կողմի և 47-76 կարմիր կողմի դեցիմետրային գծիկների սխալները: Չափաձողը տեղավորում են հորիզոնական մակերևույթի վրա:
Ինվարային չափաձողերով հաշվեցույցները վերցնում են գծիկների երկու ծայրերով ստուգիչ քանոնի օգնությամբ: Ուղիղ ընթացքում հաշվեցույցները վերցնում են Ձ գծիկների ձախ եզրով, հակադարձ ընթացքում` Ա գծիկների աջ եզրով: Հետազոտվող միջակայքում Ձ-Ա գծիկների աջ և ձախ եզրերով վերցված հաշվեցույցների տարբերությունն իրարից 0,2մմ-ից ավելի չպետք է լինի: Մեծ տարբերությունների դեպքում բոլոր չափումները տվյալ մետրի վրա կրկնում են: Ստացված արդյունքներից վերցնում են միջինը, բացառելով կոպիտ և սխալված հաշվեցույցները: Յուրաքանչյուր մետրային միջակայքի չափման սկզբում և վերջում չափում են ստուգիչ քանոնի ջերմաստիճանը: I և II դասի նիվելիրացման ժամանակ դեցիմետրային միջակայքերի սխալները չպետք է գերազանցեն 0,1մմ-ը: Չափաձողի դեցիմետրային բաժանումների ճշտության որոշման օրինակը բերված է 34 աղյուսակում:
843 ինվարային չափաձողի դեցիմետրային բաժանումների ճշտության ստուգում
Ստուգիչ քանոն 462 L=1000-0,03+0,018 (t-20,70C), մմ-ով: |
Աղյուսակ 11 |
Կիսադեցի- |
Չափում մմ-ով |
Ձախ+աջ |
Ձախ-աջ |
Սկզբնական |
Ɣ* |
Ճշտված |
Դեցիմետրային | |
ձախ |
աջ | |||||||
tսկիզբ=+25,00C tվերջ=+25,20C | ||||||||
2 |
00,00(1) |
1,10(10) |
00,55 |
1,1 |
00,00 |
0 |
00,00 |
0,00 |
4 |
100,02(2) |
101,12(9) |
100,57 |
1,1 |
100,02 |
0 |
100,02 |
+0,02 |
6 |
199,96(3) |
201,08(8) |
200,52 |
1,12 |
199,97 |
+1 |
199,98 |
-0,02 |
8 |
300,06(4) |
301,16(7) |
300,61 |
1,1 |
300,06 |
+2 |
300,08 |
+0,08 |
10 |
400,00(5) |
401,12(6) |
400,56 |
1,12 |
400,01 |
+2 |
400,03 |
+0,03 |
tսկիզբ=+25,20C tվերջ=+25,20C | ||||||||
10 |
00,04 |
01,14 |
00,59 |
1,1 |
00,00 |
0 |
00,00 |
0,00 |
12 |
100,08 |
101,14 |
100,61 |
1,06 |
100,02 |
+1 |
100,03 |
+0,03 |
14 |
200,06 |
201,12 |
200,59 |
1,06 |
200,00 |
+1 |
200,01 |
+0,01 |
16 |
300,00 |
301,10 |
300.55 |
1,10 |
299,96 |
+2 |
299,98 |
-0,02 |
18 |
400,00 |
400,14 |
400,57 |
1,14 |
399,98 |
+2 |
400,00 |
0,00 |
20 |
500,06 |
500,16 |
500,61 |
1,10 |
500,02 |
+3 |
500,05 |
+0,05 |
22 |
599,98 |
601,08 |
600,53 |
1,10 |
599,94 |
+3 |
599,97 |
-0,03 |
24 |
700,00 |
701,12 |
700,56 |
1,12 |
699,97 |
+4 |
700,01 |
+0,01 |
26 |
800,06 |
801,20 |
800,63 |
1,14 |
800,04 |
+4 |
800,08 |
+0,08 |
28 |
900,02 |
901,10 |
900,56 |
1,08 |
899,97 |
+5 |
900,02 |
+0,02 |
30 |
1000,06 |
1001,14 |
1000,60 |
1,08 |
1000,01 |
+5 |
1000,06 |
+0,06 |
III դասի նիվելիրացման ժամանակ չափաձողի դեցիմետրային բաժանման սխալները չպետք է գերազանցեն 0,4մմ-ը, IV դասինը` 0,6մմ-ը: Փայտե չափաձողի դեցիմետրային բաժանումների սխալները որոշելիս մետաղե քանոնով և սուր մատիտով նշում են դեցիմետրային քառակուսիկների եզրերը: Այնուհետև չափաձողը դնում են հորիզոնական դիրքով և ստուգում են չափաձողի սկզբում սև, հետո կարմիր կողմերը: Յուրաքանչյուր մետրային միջակայքի չափումը կատարում են երկու անգամ: Երկրորդ չափումից առաջ ստուգիչ քանոնը մի փոքր տեղաշարժում են: Երկրորդ հաշվեցույցների գրառման ժամանակ նշում են միայն հարյուրերորդական միլիմետրերը: Հետազոտման սկզբում և վերջում չափում են ստուգիչ քանոնի ջերմաստիճանը: Չափումների գրառման և արդյունքների մշակման օրինակը բերված է աղյուսակում:
Մետրային միջակայքի սահմաններում I և II հաշվեցույցները միմյանցից չպետք է տարբերվեն 0,1 մմ-ով:
Աղյուսակ 12
2485 փայտե չափաձողի դեցիմետրային բաժանումների ճշտության ստուգում
Ստուգողական քանոն 0721 |
tսկզբ=+8,70C, |
tվերջ=+9,50 C |
Դեցիմետրի համարը |
Ստուգիչ քանոնով վերցված հաշվեցույցները մմ-ով |
Տարբերությունը |
Հաշվեցույց- |
Դեցի- |
Դեցիմետրային | |
Դիրքը | ||||||
I |
II | |||||
1 |
0,00 |
,28 |
0,28 |
0,14 |
|
|
2 |
100,12 |
,45 |
33 |
100,28 |
+0,14 |
+0,12 |
3 |
200,03 |
,28 |
25 |
200,16 |
-0,12 |
-0,14 |
4 |
300,15 |
,50 |
35 |
300,32 |
+0,16 |
+0,14 |
5 |
400,08 |
,33 |
25 |
400,20 |
-0,12 |
-0,14 |
6 |
500,20 |
,50 |
30 |
500,35 |
+0,15 |
+0,13 |
7 |
600,22 |
,50 |
28 |
600,35 |
+0,01 |
-0,01 |
8 |
700,10 |
,44 |
34 |
700,27 |
-0,09 |
-0,11 |
9 |
800,14 |
,46 |
32 |
800,30 |
+0,03 |
+0,01 |
10 |
900,35 |
,65 |
30 |
900,50 |
+0,20 |
+0,18 |
10 |
0,00 |
,40 |
40 |
0,20 |
|
|
11 |
100,05 |
,50 |
45 |
100,28 |
+0,08 |
+0,06 |
12 |
200,08 |
,46 |
38 |
200,27 |
-0,01 |
-0,03 |
13 |
300,03 |
,38 |
35 |
300,20 |
-0,07 |
-0,09 |
14 |
400,12 |
,52 |
40 |
400,32 |
+0,12 |
+0,10 |
15 |
500,14 |
,58 |
44 |
500,36 |
+0,04 |
+0,02 |
16 |
600,20 |
,56 |
36 |
600,38 |
+0,02 |
0,00 |
17 |
700,15 |
,56 |
41 |
700,36 |
-0,02 |
-0,04 |
18 |
800,18 |
,55 |
37 |
800,36 |
0,00 |
-0,02 |
19 |
900,17 |
,62 |
45 |
900,40 |
+0,04 |
+0,02 |
20 |
1000,16 |
,55 |
39 |
1000,36 |
-0,04 |
-0,06 |
20 |
0,00 |
,16 |
16 |
0,08 |
|
|
21 |
100,16 |
,36 |
20 |
100,26 |
+0,18 |
+0,16 |
22 |
200,26 |
,40 |
14 |
200,33 |
+0,07 |
+0,05 |
23 |
300,14 |
,26 |
12 |
300,20 |
-0,13 |
-0,15 |
24 |
400,00 |
,20 |
20 |
400,10 |
-0,10 |
-0,12 |
25 |
500,04 |
,22 |
18 |
500,13 |
+0,03 |
+0,01 |
26 |
600,06 |
,26 |
20 |
600,16 |
+0,03 |
+0,01 |
27 |
700,10 |
,20 |
10 |
700,15 |
-0,01 |
-0,03 |
28 |
800,24 |
,40 |
16 |
800,32 |
+0,17 |
+0,15 |
29 |
900,18 |
,34 |
16 |
900,26 |
-0,06 |
-0,08 |
|
|
|
|
|
∑=+0,70 |
∑=+0,14 |
Հավելված N 12 |
Չափաձողի առանցքի հետ կրունկի հարթության ուղղահայացության ստուգում
Այդ ստուգումները կատարում են տարին մեկ անգամ դաշտ դուրս գալուց առաջ: Ինվարային չափաձողի առանցքի և կրունկի հարթության ուղղահայացության ստուգումն իրականացնում են հետևյալ կերպ.
Նիվելիրից մոտ 15 մետր հեռավորության վրա ամրացնում են երեք հենակ: Առաջին հենակի գլխիկի վրա կրունկի հինգ կետերով հաջորդաբար տեղակայում են չափաձողը, յուրաքանչյուր տեղակայման ժամանակ հիմնական սանդղակով թմբուկի բաժանման 0,1 ճշտությամբ վերցնելով երեք հաշվեցույց (Նկար 9):
Նկ. 9 Չափաձողի հենակի տեղադրման սխեման
Այդ հետազոտությունների ժամանակ չափաձողը տեղակայում են խիստ ուղղաձիգ երկու փայտաձողերով: Չափաձողով հաշվեցույց վերցնելու ժամանակ նիվելիրի հարթաչափի բշտիկի ծայրերի պատկերը պետք է լինի Ճիշտ համատեղված: Այնուհետև հաշվեցույցները վերցնում են չափաձողի լրացուցիչ սանդղակով: Այդ գործողությունները մեկ նվագ են կազմում, ընդամենը կատարում են երեք նվագ, տեղափոխելով չափաձողը հենակից հենակ: Չափումների արդյունքների գրառման և մշակման օրինակը բերված է աղյուսակում:
Աղյուսակ 13
Չափաձողի առանցքի եվ կրունկի հարթության ուղղահայացության ստուգում
Չափաձող 5615 |
S=15,0մ |
12.05.2004 թ. 815 -ամպամած է, թույլ քամի, պատկերը հանգիստ է |
Նվագի համարը |
Գծիկի համարը |
Հաշվեցույց թմբուկով, երբ չափաձողը տեղակայված է հենակի վրա | ||||
Կրունկի կենտրոնով |
Առջևի եզրով |
Հետևի եզրով |
Ձախ եզրով |
Աջ եզրով | ||
a1 |
a2 |
a3 |
a4 |
a5 | ||
I |
24,4 |
64.6 |
65.0 |
65.0 |
67.1 |
65.4 |
65.4 |
65.2 |
66.0 |
68.6 |
68.6 | ||
66.2 |
65.4 |
64.0 |
66.4 |
65.2 | ||
Միջինը 83.7 |
65.4 |
65.2 |
65.0 |
67.4 |
66.4 | |
11.8 |
10.6 |
10.5 |
10.9 |
11.6 | ||
11.2 |
10.2 |
10.6 |
9.6 |
10.0 | ||
9.6 |
8.8 |
10.8 |
11.4 |
10.2 | ||
Միջինը |
10.9 |
9.9 |
10.6 |
10.6 |
10.6 |
Տարբերությունները հաշվում են a1 -a2, a1 -a3, a1 -a4 և a1 -a5, որտեղ a-ն թմբուկով վերցված հաշվեցույցների միջինն է, երբ չափաձողը տեղակայված է հենակի վրա կրունկի 1, 2, 3, 4 և 5 կետերով:
Աղյուսակ 14
Նվագի համարը |
Տարբերությունները (թմբուկի բաժանումներում) | |||
a1 -a2 |
a1 -a3 |
a1 -a4 |
a1 -a5 | |
1 |
+0.2 |
+0,4 |
-0,2 |
-1,0 |
+1,0 |
+0,3 |
+0,3 |
+0,3 | |
2 |
+1,0 |
-0,1 |
-0,6 |
+1.3 |
+0,6 |
+0,8 |
-1,2 |
+0, 9 | |
3 |
+1,2 |
+1,0 |
-0,8 |
+1,0 |
+0,6 |
+0,3 |
-1,0 |
+0,2 | |
Միջինը Միջինը մմ |
+0,8 |
+0,4 |
-0,9 |
+0,4 |
+0,04 |
+0,02 |
-0,04 |
+0,02 |
Եթե a1-ai 0,1մմ–ից մեծ տարբերությունների միջին արժեք կա, ապա այդ չափաձողով I դասի նիվելիրային աշխատանքներ կատարելիս անհրաժեշտ է օգտվել նաև կրնկակալից: II դասի նիվելիրացման ժամանակ կրնկակալից օգտվում են, եթե a1-ai մեծ է 0,2մմ-ից:
Չափաձողերի զրոների բարձրության տարբերությունը որոշելու ժամանակ նիվելիրից մոտ 15մ հեռավորության վրա ամրացնում են երեք հենակ: Յուրաքանչյուր հենակի վրա հաջորդաբար տեղակայում են երկու չափաձողերը և հաշվեցույց են վերցնում հիմնական և լրացուցիչ սանդղակներով (սև և կարմիր կողմերով), յուրաքանչյուր գծիկի վրա կատարելով երեք դիտարկում:
Փայտե չափաձողերի հետազոտման ժամանակ յուրաքանչյուր հենակի վրա կատարում են մեկական հաշվեցույց չափաձողի սև և կարմիր կողմերով: Բոլոր դիտարկումները կրկնում են երկրորդ և երրորդ հենակների վրա: Այդ գործողությունները կազմում են մեկ նվագ: Ընդհանուր առմամբ կատարում են երեք նվագ: Ինվարային չափաձողերի զրոների բարձրության տարբերության որոշման օրինակը բերված է աղյուսակում:
Աղյուսակ 15
Ինվարային չափաձողերի զրոների բարձրության տարբերության որոշումը
Չափաձող 6708 և 6709 |
S=16,0մ |
12.05.2004 թ. 915 |
Հանգիստ պատկեր, համատարած ամպամածության
Նվագի համարը |
Հենակի համարը |
Հաշվեցույց չափաձողերով |
Զրոների բարձրության տարբերություն | ||||||
6708 |
6709 |
Հիմնական սանդղակ- ներով |
Լրացուցիչ սանդղակ- ներով | ||||||
Հիմնական սանդղակ- ներով |
Լրացուցիչ սանդղակ- ներով |
Տարբե- րություն |
Հիմնական սանդղակ- ներով |
Լրացուցիչ սանդղակ- ներով |
Տարբե- րություն | ||||
I |
I |
27,1533 |
86,4042 |
27,1530 |
86,4012 |
||||
545 |
58 |
18 |
06 |
||||||
533 |
52 |
22 |
04 |
||||||
Միջին 2 |
27,1537 |
86,4051 |
59,2514 |
27,1523 |
86,4007 |
59,2484 |
+1,4 |
+4,4 | |
30,0211 |
89,2735 |
30,0208 |
86,2692 |
||||||
24 |
32 |
214 |
703 |
||||||
08 |
02 |
205 |
698 |
||||||
30,0214 |
89,2723 |
59,2509 |
30,0209 |
89,2698 |
59,2489 |
+0,5 |
+2,5 | ||
29,2853 |
88,5364 |
29,2825 |
88,5304 |
||||||
864 |
372 |
35 |
48 |
||||||
845 |
358 |
44 |
15 |
||||||
29,2854 |
88,5365 |
59,2511 |
29,2835 |
88,5322 |
59,2487 |
+1,9 |
+4,3 | ||
59,2511 |
59,2487 |
+1,3 |
+3,7 | ||||||
59,2512 |
59,2486 |
+1,3 |
+4,2 |
Եթե I և II դասերի նիվելիրացման ժամանակ սեկցիայում կայանների թիվը կենտ է և չափաձողերի սանդղակների զրոների բարձրության տարբերությունը 0,1մմ–ից ավելի, ապա վերազանցման մեջ ուղղում են մտցնում: III և IV դասերի նիվելիրացման ժամանակ մտցնում են ուղղում չափաձողերի կենտ հաշվի դեպքում, եթե չափաձողերի զրոների բարձրության տարբերությունը 1մմ–ից ավելի է: Բացի այդ, անհրաժեշտ է որոշել, թե չափաձողի կրունկի հարթությունը համընկնում է չափաձողի հիմնական սանդղակի (սև կողմի) զրոյական գծիկի առանցքի հետ:
Այդ պայմանը իրականացնում են ստուգիչ քանոնի օգնությամբ, չափելով չափաձողի կրունկի հարթությունից մինչև առաջին դեցիմետրային միջակայքը եղած հեռավորությունը: Ինվարային չափաձողերի անհամընկելիությունը չպետք է գերազանցի 0,25 մմ, փայտե չափաձողերինը՝ ՊՆ/PH/-3-0.5 մմ: Կախովի չափաձողերի հիմնական և լրացուցիչ սանդղակների զրոների բարձրության տարբերությունը որոշելու համար վերջինս կախում են այնպես, որ հաշվեցույցը չափաձողի հիմնական սանդղակով լինի 0-ի և 1–ի միջև, կատարում են երեքական հաշվեցույց հիմնական և լրացուցիչ սանդղակներով չափաձողի սանդղակի զրոյի վերին և ստորին դիրքերով: Այդ գործողությունները կազմում են մեկ նվագ, ընդամենը կատարում են չորս նվագ, որոնց ընթացքում փոխում են գործիքի բարձրությունը: Կախովի չափաձողի զրոն պետք է համընկնի անցքի կենտրոնի հետ 0,1մմ ճշտությամբ: Փայտե չափաձողերի բարձրությունների տարբերության որոշման օրինակը բերված է աղյուսակում:
Աղյուսակ 16
Կախովի չափաձողի սանդղակի զրո դիրքի որոշումը
S=15,8մ 12.03.2007թ. ժամանակը1010
Պատկերը հանգիստ, ամբողջովին հանգիստ, հանդարտ
Նվագի համարը |
Չափաձողի հաշվեցույց |
Ծանո–թություն | |||||||||
Զրոն վերևից |
Զրոն ներքևից |
||||||||||
Հիմնական սանդղակ |
Լրացուցիչ սանդղակ |
Տարբերություն |
Հիմնական սանդղակ |
Լրացուցիչ սանդղակ |
Տարբերություն |
||||||
I |
Չ |
Թ |
Չ |
Թ |
Չ |
Թ |
Չ |
Թ |
|||
-0,3 |
+64 |
-59,5 |
17 |
59,249 |
-0,3 |
+26 |
58,9 |
75 |
|||
63 |
13 |
27 |
74 |
||||||||
65 |
15 |
28 |
76 |
||||||||
միջինը |
-0,3 |
+64 |
-59,5 |
15 |
-0,3 |
+27 |
58,9 |
75 |
|||
-0,236 |
-59,485 |
-0,273 |
58,975 |
59,248 |
|||||||
29,624 |
59,249 |
29,624 |
00 |
||||||||
59,249 |
|||||||||||
00 |
Աղյուսակ 17
Փայտե չափաձողերի զրոների բարձրության տարբերությունը
Չափաձող 2481 և 2482
Նվագի համարը |
Ցցի համարը |
Չափաձողի հաշվեցույց |
Տարբերության հաշվեցույց | ||||||
2481 |
2482 |
2481 |
2482 |
2481-2482 | |||||
սև |
կարմիր |
սև |
կարմիր |
սև–կարմիր |
սև–կարմիր |
սև կողմի |
կարմիր կողմի | ||
I |
1 |
1363 |
6150 |
1362 |
6051 |
4787 |
4689 |
+1 |
+99 |
2 |
1412 |
6200 |
1411 |
6099 |
4788 |
4688 |
+1 |
+101 | |
3 |
1491 |
6276 |
1491 |
6178 |
4786 |
4687 |
0 |
+99 | |
II |
1 |
1409 |
6197 |
1410 |
6099 |
4787 |
4689 |
-1 |
+97 |
2 |
1457 |
6246 |
1458 |
6147 |
4788 |
4689 |
-1 |
+98 | |
3 |
1538 |
6325 |
1539 |
6227 |
4787 |
4688 |
-1 |
+98 | |
III |
1 |
1592 |
6379 |
1591 |
6279 |
4787 |
4688 |
+1 |
+100 |
2 |
1638 |
6426 |
1636 |
6325 |
4788 |
4689 |
+2 |
+101 | |
3 |
1718 |
6506 |
1717 |
6406 |
4788 |
4689 |
+1 |
+100 | |
∑=միջինը |
13618 |
56704 |
13615 |
55811 |
43086 |
42196 |
+3 |
+893 | |
1513,1 |
6300,4 |
1312,8 |
6201,2 |
4787,3 |
4688,4 |
+0,3 |
+99,2 |
Հավելված N 13 |
Չափաձողերի մետրային միջակայքերի երկարությունների ստուգողական հաշվում
I և II դասերի նիվելիրացման համար այս որոշումները կատարում են 7.10 և 8.4 կետերում, III դասի համար` 15.9 կետում, IV դասի` համար 16.6, 16,7 կետերում բերված ժամանակահատվածներում:
Ինվարային չափաձողը տեղադրում են հենակների վրա, որոնք պետք է գտնվեն 12 և 48 բաժանումների տակ: Ինվարային չափաձողի 10-30, 30-50, 70-90 և 90-110 մետրային բաժանումները չափում են սկզբից ուղիղ, այնուհետև հակառակ ուղղություններով: Հակառակ ուղղությամբ ընթացքից առաջ ստուգիչ քանոնը շրջում են 1800 -ով: Երկու անգամ գծիկների երկու կողմերից վերցնում են հաշվեցույց: Յուրաքանչյուր միջակայքի երկրորդ չափումից առաջ քանոնը փոքր-ինչ տեղաշարժում են: Յուրաքանչյուր միջակայքի աջ և ձախ վերջավորություններից Ա-Ձ, վերցված հաշվեցույցների տարբերությունը 0,1մմ-ից ավելի չպետք է լինի, իսկ ուղիղ և հակառակ ուղղություններով չափած մետրային միջակայքերի երկարությունների տարբերությունը` 0,05մմ-ից:
Մեծ տարբերություններ ստանալու դեպքում չափումները կրկնում են, ստացված արդյունքներից վերցնում են միջինը, բացառելով կոպիտ և սխալ հաշվեցույցները: Յուրաքանչյուր միջակայքը չափելուց առաջ որոշում են ստուգիչ քանոնի ջերմաստիճանը:
Ինվարային չափաձողի դաշտային ստուգանմուշարկման օրինակը բերված է աղյուսակում:
Աղյուսակ 18
Ինվարային չափաձողի մետրային միջակայքերի երկարությունների ստուգողական հաշվում
Հիմնական սանդղակ |
Չափաձող 2842 |
|
Ստուգողական քանոն 462 Լ=1000–0,03+0,018(t-20,70C) մմ
Չափաձողի միջակայքը | Քանոնի ջերմաստիճանը oC | Հաշվեցույցներ քանոնով | Ա-Ձ, մմ | Միջին Ա-Ձ, մմ | Քանոնի երկարության և ջերմաստիճանի ուղղում, մմ | Միջակայքի երկարությունը, մմ | |
Ձ | Ա | ||||||
10-30 | +23,0 | 0,04 | 1000,10 | 1000,06 | |||
1,10 | 1001,11 | 1000,01 | |||||
0,44 | 1000,50 | 1000,06 | |||||
1,52 | 1000,57 | 1000,05 | 1000,04 | +0,01 | 1000,05 | ||
30-50 | +23,1 | 0,10 | 1000,09 | 999,99 | |||
1,08 | 1001,12 | 1000,04 | |||||
0,56 | 1000,54 | 999,98 | |||||
1,53 | 1001,58 | 1000,05 | 1000,02 | +0,01 | 1000,03 | ||
50-30 | +23,1 | 0,16 | 1000,20 | 1000,04 | |||
1,24 | 1001,20 | 999,96 | |||||
0,60 | 1000,60 | 1000,00 | |||||
1,7 | 1001,68 | 999,98 | |||||
30-10 | +23.3 | 0,24 | 1000,20 | 999,96 | 1000,00 | +0,01 | 1000,01 |
1,30 | 1001,30 | 1000,00 | |||||
0,60 | 1000,62 | 1000,02 | |||||
1,64 | 1001,66 | 1000,02 | 1000,00 | +0,02 | 1000,02 |
Բոլոր չափաձողերի մետրային միջակայքերի երկարությունները հաշվում են սենյակում կամ վրանի տակ: Հետազոտումը սկսելուց առաջ սուր մատիտով մետաղե քանոնի վրա բարակ գծիկներով նշում են քառակուսիկների բաժանումների ծայրերը, որոնցով պետք է հաշվեցույց վերցնեն:
Հետազոտվող չափաձողը տեղադրում են հորիզոնական դիրքով: Չափաձողի 1-10, 10-20, 20-29, 48-57, 57-67 և 67-76 յուրաքանչյուր միջակայքը չափում են սկզբում ուղիղ, այնուհետև հակառակ ուղղությամբ: Հակառակ ընթացքից առաջ ստուգիչ քանոնը պտտում են 1800 -ով:
Միջակայքի չափումը կայանում է մետրային միջակայքի ծայրերով ստուգիչ քանոնի օգնությամբ վերցրած կրկնակի հաշվեցույցներից: Սկզբում հաշվեցույց են վերցնում ձախ վերջավորությունով, իսկ հետո աջով: Երկրորդ չափումից առաջ ստուգիչ քանոնը մի փոքր տեղաշարժում են:
Ստուգիչ քանոնի աջ և ձախ վերջավորությունների հաշվեցույցների տարբերությունը յուրաքանչյուր միջակայքում 0,1 մմ-ից ավելի չպետք է լինի: Եթե ստացվել են մեծ տարբերություններ, ապա ստուգիչ քանոնը կրկին տեղաշարժում են և կրկնում չափումները: Կոպիտ հաշվեցույցները ջնջում են, իսկ մնացածից վերցնում են միջինը: Չափաձողի յուրաքանչյուր կողմը չափելուց առաջ և հետո որոշում և գրի են առնում ստուգիչ քանոնի ջերմաստիճանը: Փայտե չափաձողի մետրային բաժանումների երկարության որոշման օրինակը բերված է աղյուսակում, փակագծերում ցույց է տրված հաշվեցույցների և հաշվումների կարգը:
Աղյուսակ 19
Փայտե չափաձողի մետրային միջակայքի միջին երկարության որոշումը
Չափաձող 2342 (սև կողմ) |
|
Ստուգիչ քանոն 0721 |
L=1000+0,01+0,018(t-16,80C), մմ
Չափաձողի մաս |
Հաշվեցույց քանոնով, մմ-ով |
Միջին Ա-Ձ, մմ-ով |
Ստուգիչ քանոնի երկարության և ջերմաստիճանի ուղղում, մմ -ով |
Չափաձողի մի մասի երկարությունը մմ-ով | ||
Ձ |
Ա |
Ա-Ձ | ||||
tսկզբ.=+8,60C(1) | ||||||
1-10 |
0,002(2) |
900,14(3) |
900,14(6) |
|||
0,44(4) |
900,54(7) |
900,10(7) |
900,12(8) |
-0,11(9) |
900,01(10) | |
10-20 |
0,10 |
1000,24 |
1000,14 |
|||
0,36 |
1000,55 |
1000,19 |
1000,16 |
-0,12 |
1000,04 | |
20-29 |
0,08 |
900,06 |
899, 98 |
|||
0,30 |
900,24 |
899, 94 |
899, 96 |
-0,11 |
899,85 | |
tսկզբ.=+8,70C | ||||||
29-20 |
0,14 |
900,10 |
899, 96 |
|||
0,28 |
900,18 |
899, 90 |
999, 93 |
-0,11 |
899,82 | |
20-10 |
0,00 |
1000,10 |
1000,10 |
|||
0,50 |
1000,64 |
1000,14 |
1000,12 |
-0,12 |
1000,00 | |
10-1 |
0,12 |
900,22 |
900,10 |
|||
1,36 |
901,48 |
900,12 |
900,11 |
-0,11 |
900,00 | |
tսկզբ. =+8,60C | ||||||
∑ |
3,68 |
11204,49 |
11200,81 |
5600,40 |
-0,68 |
5599,72 |
2342 չափաձողի սև կողմի մետրային բաժանման միջին երկարությունը հավասար է 5599,72/5,6=999,95մմ:
Հավելված N 14 |
Չափաձողի վրա տեղակայված կլոր հարթաչափի ճշտության ստուգում
Այս ստուգումը կատարում են օրը երկու անգամ` առավոտյան և երեկոյան դիտարկումներից առաջ, իսկ անհրաժեշտության դեպքում նաև աշխատանքի ընթացքում նիվելիրի ուղղահայաց ցանցաթելի օգնությամբ:
Չափաձողը տեղակայում են նիվելիրից մոտ 50մ հեռավորության վրա: Տեղակայող հարթաչափով նիվելիրի ուղղաձիգ առանցքը բերում են ուղղաձիգ դիրքի և դիտարկողի կարգադրությամբ չափաձողը տեղակայում են այնպես, որ նրա կողային մասը ճիշտ համընկնի ցանցի ուղղաձիգ ցանցաթելի հետ: Չափաձողի վրա տեղակայված կլոր հարթաչափի ուղղիչ պտուտակների օգնությամբ բշտիկը բերում են կենտրոն: Դրանից հետո չափաձողը պտտում են 900–ով և կրկնում ճշտումը: Այնուհետև կրկին չափաձողը տեղակայում են առաջին և երկրորդ դիրքերում, ստուգելով, անհրաժեշտության դեպքում նաև ուղղելով կլոր հարթաչափը:
Այդպես վարվում են այնքան ժամանակ, մինչև չափաձողը 900 պտտելիս հարթաչափի ուղղում չպահանջվի: Ստուգման ժամանակ անհրաժեշտ է չափաձողը պահել երկու փայտաձողերով կամ հենել որևէ առարկայի (պատ, սյուն):
Փայտե չափաձողերը կարելի է ստուգել ուղղալարի օգնությամբ:
Հավելված N 15 |
Նիվելիրի եվ չափաձողերի հետ վերաբերվելու կանոնները
Նիվելիրի, չափաձողերի և ամբողջ լրացուցիչ սարքավորումների պահպանության, սարքինության և ճիշտ վերաբերմունքի համար պատասխանատու է նիվելիրացման խմբի ղեկավարը: Նա պարտավոր է խմբի անդամներին սովորեցնել նիվելիրի և չափաձողերի հետ վերաբերվելու կանոնները և հետևելու դրանց խիստ կատարմանը:
Նիվելիրով և չափաձողերով աշխատելիս պետք է հիշել, որ դրանք ճշգրիտ և թանկարժեք գործիքներ են և խնամքով վերաբերմունք են պահանջում: Հատուկ ուշադրություն պետք է դարձնել կոմպենսատորով նիվելիրներին, քանի որ դրանց գլխավոր մասը մետաղե լարերից կախված օպտիկական սարքն է:
1. Նիվելիրը և չափաձողերը փաթեթավորման արկղերից հանելու և տեղադրելու համար պետք չէ ուժ գործադրել, նիվելիրը պետք է բռնել միայն պատվանդանից: Կարելի է փակել արկղը միայն այն դեպքում, երբ համոզվել եք նիվելիրի կամ չափաձողերի ճիշտ տեղադրման մեջ:
2. Գործիքները պետք է պահպանել խոնավությունից, փոշուց և կեղտից: Հաճախակի պետք է դրանք մաքրել մաքուր և չոր լաթով: Փոշին և կեղտը նիվելիրից հեռացնում են վրձնով:
3. Շփվող և ժանգոտվող մասերը (հարթաբեր, ուղղող պտուտակները և այլ մասեր) պարբերաբար մաքրում են յուղոտ, այնուհետև չոր լաթով:
Եթե նիվելիրը և չափաձողերը խոնավացել են, ապա հարկավոր է սրբել, այնուհետև չորացնել, նորից սրբել և գործիքի մետաղե բաց մասերին յուղ քսել: Ամեն օր չափաձողերի կրունկները մաքրում են և յուղ քսում: Չպետք է թողնել, որ չափաձողերի կրունկները ժանգոտվեն:
4. Եթե նիվելիրացումը կատարում են օդի բացասական ջերմաստիճանի պայմաններում և գործիքը բերում են տաք սենյակ, ապա երկու ժամ հետո հարկավոր է գործիքը դուրս բերել փաթեթավորման արկղից և սրբել: Չի կարելի գործիքը չորացնել ջեռուցիչ սարքերի մոտ:
5. Նիվելիրի արտաքին օպտիկական մասերը արգելվում է մաքրել յուղոտ լաթով: Դրանք կարելի է մաքրել միայն փափուկ, սպիտակ վուշե կտորով կամ բամբակով: Չի կարելի մատներով հպվել օպտիկական մասերին:
6. Նիվելիրի ճշգրտման (ուղղման) ժամանակ պետք է զգույշ լինել, քանի որ ճշգրտող պտուտակները շատ պնդացնելիս կարող է առաջ գալ պարուրակների պոկում:
7. Աշխատանքի ընդմիջումների ժամանակ (ճաշի ժամանակ կամ գիշերելիս) նիվելիրը և չափաձողերը հարկավոր է տեղադրել արկղերում:
Արկղերը չպետք է թողնել արևի տակ: Աշխատանքը սկսելուց մեկ ժամ առաջ նիվելիրը և չափաձողերը պետք է հանվեն արկղերից, որպեսզի ընդունեն օդի ջերմաստիճանը:
8. Կայանից կայան նիվելիրը տեղափոխում են եռոտանուն ուղղահայաց դիրքով ամրացված: Բոլոր ամրացնող պտուտակները պետք է ամրացված լինեն:
9. Արևի ճառագայթներից պաշտպանելու համար կայանից կայան տեղափոխելիս նիվելիրը պաշտպանում են սպիտակ ծածկոցով, իսկ կայանում դիտարկման ժամանակ՝ տեղագրական հովանոցով:
10. Չափաձողը տեղափոխում են բռնակից բռնած, կամ կողային մասով ուսին դրած:
11. Երկաթուղային տրանսպորտով տեղափոխվելիս չի թույլատրվում նիվելիրը հանձնել ուղեբեռնման, իսկ ավտոմոբիլային տրանսպորտով տեղափոխվելիս նիվելիրը և չափաձողերը հարկավոր է տեղափոխել արկղերով:
Հավելված N 16 |
I դասի նիվելիրացման մատյանի լրացման օրինակ
Ընթացք N 2231 դրոշմանիշից մինչև գր. հենանիշ 57 ամսաթիվը 31.08. 1988թ. սկիզբը 1620 վերջը 1745 ընթացքի ուղղությունը հարավ-արևելք |
Աշխատանքի պայմանները. պատկերը հանգիստ է, ամպամած, թեթև քամի, եռոտանու և հենակների կայանման տեղերը, երկաթուղային պաստառի եզր, գրունտը ավազային | ||||||||||
Կալանների և նշաձողերի համարները |
Նիվելիրային հենանիշի տեղի նկարագրությունը |
Օդի ջերմաս-տիճանը |
Հաշվեցույցներ երեք ցանցաթելերով |
Հաշվարկման կարգը |
Հաշվեցույցներ զուգագծով 1/2 դմ | ||||||
Նիվելիրային աջ գիծը |
Նիվելիրային ձախ գիծը |
Նիվելիրային աջ գիծ | |||||||||
Հ/u' |
Ա/d'’ |
Հ/u' |
Ա/d'’ |
Հիմնական սանդղակ |
Հավելյալ սանդղակ | ||||||
Չ |
Թ |
Չ |
Թ | ||||||||
1 |
2 |
3 |
4 |
5 |
6 |
7 |
8 |
9 |
10 |
11 |
12 |
+11,6 |
134(1) |
3321(6) |
131(15) |
3341(20) |
Հ |
3,4(4) |
38(5) |
62,6(13) |
88(14) | ||
Կախովի–2 |
339(2) |
3525(7) |
339(16) |
3543(21) |
Ա |
35,2(0) |
99(10) |
94,5(11) |
47(12) | ||
545(3) |
3729(8) |
547(17) |
3747(22) |
Հ-Ա |
-31,8(32) |
-61(33) |
-31, 9(35) |
+41(36) | |||
411(20) |
408(30) |
416(38) |
406(39) |
u |
-31,861(34) |
-31,859 37) | |||||
-31,86(31) |
+3/+3(47,48) |
–32,04(40) |
+10/+10 |
||||||||
(49,50) |
|||||||||||
2959(6) |
2915(1) |
2978(20) |
2868(15) |
||||||||
Հ |
31,5(9) |
29(10) |
90,7(11) |
79 (12) | |||||||
3149(7) |
3102(2) |
3168(21) |
3055(16) |
Ա |
31,0(4) |
78(5) |
90,3(13) |
27(14) | |||
2 |
3339(8) |
3292(3) |
3358(22) |
3242(17) |
Հ-Ա |
+0,5(32) |
–49(33) |
+0,4(35) |
+52(36) | ||
2-1 |
380(29) |
377(30) |
380(38) |
374(39) |
u |
+0451(34) |
+0,452(37) | ||||
+0,47(31) |
+3/+6(47,48) |
+1,13(40) |
+6/+16 |
||||||||
∑(1-10) |
(49,50) |
||||||||||
3 |
+12,0 |
2621 |
2837 |
2572 |
2830 |
Հ |
27,5 |
4 |
86,7 |
57 | |
1-2 |
2746 |
2962 |
2698 |
2955 |
Ա |
29,6 |
71 |
88, 9 |
24 | ||
2870 |
3087 |
2821 |
3080 |
Հ-Ա |
-2,1 |
–67 |
-2,2 |
+33 | |||
249 |
250 |
249 |
250 |
u |
–2,167 |
-2,167 | |||||
∑ ընթացքով |
-2,16 |
-1/+5 |
-2,57 |
-1/+15 |
∑Հ |
256,1(67) |
347(68) |
848,3(74) |
668(75) | ||
7842(63) |
7840(64) |
117850(65) |
+12 |
∑Ա |
298, 9(69) |
505(70) |
891,3(76) |
608(77) | |||
2 |
∑Հ-Ա |
-42,8(71) |
–158(72) |
-43,0(78) |
+60(79) | ||||||
11443(63) |
11445(64) |
11449(65) |
11441(66) |
∑u |
-42,958(73 |
-42,940(80) |
|||||
–2 |
+8 |
Հաշվարկ կայանում |
N 2231 |
մարկայից |
մինչև N 57հ. |
||||||
L=1,1 կմ(67) |
n=14կալան |
||||||||||
∑Հ |
387,1(68) |
543(68) |
1216,2(74) |
964(75) | |||||||
∑Ա |
411,7(70 |
622(70) |
1241,01(76) |
823(77) | |||||||
∑Հ-∑Ա |
-24,6(7) |
-79 (72) |
-24,8(78) |
+141(79) | |||||||
∑u |
Կալանների և նշաձողերի համարները |
Կապման նկարագրությունը |
Հաշվեցույց զուգագծերով 1/2դմ |
Ստուգում | ||||||
Ստուգում |
Նիվելիրային ձախ գիծ |
Ստուգում |
Հա -Հh Աա -Աh |
∆ ∑∆ | |||||
Հիմնական սանդղակ |
Հավելյալ սանդղակ | ||||||||
Չ |
Թ |
Չ |
Թ |
||||||
1 |
2 |
13 |
14 |
15 |
16 |
17 |
18 |
19 |
20 |
1 |
3,4(18) |
38 (19) |
62,6(27) |
89 (28) |
|||||
Կախովի 2 |
-2(35) -2(36) |
35,4(23) -32,0(41) |
88(24) -50(42) -32,050 (43) |
94,7(25) -32,1(44) |
38(26) +51(45) -32,049(46) |
-1(52) -1(54) |
0,000(55) -0,190(57) |
0(59) 0(61) | |
-1(35) -3(36) |
31,7(23) 30,5(18) |
18(24) 94(19) |
90,9(25) 89,8(27) |
68(26) 43(28) |
-1(52) 2(54) |
-0,189(58) +0,484(56) |
-1(60) -1(61) | ||
+1,2(42) |
-76(42) +1,124(43) |
+1,1(44) |
+25(45) +1,125(46) |
||||||
0 -3 |
27,0 |
21 |
86,2 |
70 |
+1 -1 |
+0,485 +0,076 |
-1 -2 | ||
3 1-2 |
29,5 -2,5 |
97 -76 -2,576 |
88,8 -2,6 |
47 +23 |
-2,577 |
||||
∑(1-10) |
254,6(81) |
375(82) |
864, 9(88) |
578(89) |
|||||
∑ ընթացքով |
297,8(83) -43,2(85) |
623(84) -248(86) |
890,5(90) -43,6(92) |
433(91) +145(93) |
+7 |
||||
-43,448(87) |
-43,455(94) | ||||||||
254,6(81) 411,6(83) -24,5(85) |
605(82) 775(84) -170(86) |
1216,5(88) 1241,2(90) -24,7(92) |
709(89) 683(91) +26(93) |
+4 | |||||
-24,670(87) |
24,674(94)
միջինը-24,672(-1/2դմ) |
փակագծերում ցույց է տրված հաշվարկման և հաշվարկների կատարման հերթականությունը.
չափված վերազանցումը |
հI=-1233,4մմ |
հI=-1233,6մմ |
համալիր նշաձողերի մետրի միջին երկարության ուղղումը |
d հ=-0,1մմ | d հ=-0,1մմ | |
ուղղված վերազանցումը |
h=-1233,5մմ |
h=-1233,7մմ |
Հավելված N 17 |
II դասի նիվելիրացման մատյանի լրացման օրինակ
Հավելված N 18 |
III դասի նիվելիրացման մատյանում գրառումների օրինակ, երբ նշաձողերը սեվ եվ Կարմիր կողմերում ունեն սանտիմետրային բաժանումներ
Ընթացք N 5540 գրունտային հենանիշից մինչև գրունտային հենանիշ 10542, ամսաթիվ 10.07.2004թ., սկիզբը 1620, ավարտը՝ 1730, աշխատանքի պայմանները, պատկերը՝ հանգիստ, ընթեռնելի, պարզ, թույլ քամի
Եռոտանու և նշաձողերի համարները |
Դիտարկումը հեռաչափային ցանցաթելերով |
Ստուգիչ վերազանցումներ |
Դիտարկումը միջին ցանցաթելով |
Միջին վերազանցումը ,մմ | |||
հետևի նշաձող |
առջևի նշաձող |
հետևի նշաձող |
առջևի նշաձող |
վերազանցումը | |||
1 |
3 |
4 |
5 |
6 |
7 |
8 |
9 |
1 1-2 |
1572(2) |
1812(5) |
-240(11) |
Ս1739(1) |
1971(4) |
-232(14) |
|
1904(3) |
2130(6) |
-226(12) |
Կ6430(8) |
6761(7) |
-33115) |
-231,5(19) | |
332(9) |
318(10) |
+14/+14(13) |
4691(16) |
4790(17) |
+99,(18) |
||
2 2-1 |
1170 |
631 |
+539 |
Ս1478 |
937 |
+541 |
|
1786 |
1241 |
+545 |
Կ6269 |
5627 |
+642 |
+541,5 | |
616 |
610 |
+6/20 |
4791 |
4690 |
-101 |
||
Ստուգողական հաշվարկ |
948(20) |
928(21) |
+618(22) +309 |
15916(23) -15296(24) +620(28) |
-15926(24) |
+620(25) +310(29) |
+310.0(26) |
26 2-1 Գրունտ.հեն. |
2364 |
1134 |
+1230 |
Ս2409 |
1176 |
+1233 |
|
2450 |
1218 |
+1232 |
Կ7198 |
5867 |
+1331 |
+1232,0 | |
86 |
84 |
+2/-2 |
4789 |
4691 |
-98 |
||
Հաշվարկ կայանում գրունտ.հեն. 5540 - գրունտ.հեն. 10542 | |||||||
13408 ∑ (20) |
13410 ∑ (21) |
+2736 ∑ (27) |
206756 ∑ (23) 201289 ∑ (24) +5467 (30) |
201289 ∑ (24) |
+5467(25) |
+2733,5(26) |
|
|
|||||||
|
|||||||
L=2,7 կմ (33) |
n=26 | ||||||
Չափված վերազանցումը |
hI = +2733,5մմ(34) |
||||||
Ուղղումը նշաձողի միջին երկարության համար |
dհ = +0,3մմ(35) | ||||||
Ուղղված վերազանցումը |
h = +2733,8մմ(26) h = +2,734 մ(37) |
Հավելված N 19 |
IV դասի նիվելիրացման վերազանցումների եվ բարձրությունների
Ընթացք, N 606 գրունտային ռեպերից մինչև գրունտ. հենանիշ 217
Սկիզբը 710, ավարտը 745, եղանակը պարզ, թեթև քամի
Կայանների և նշաձողերի համարները |
Հեռաչափային հեռավորու- թյունները |
Հաշվեցույցներ նշաձողերով |
Վերազանցումը, մմ |
Միջին վերազանցումը, կմ | |
Հետին |
Առջևի | ||||
1 Գրունտ. ռեպ. |
375(7)
372(8) |
1185(1)
1560(2)
6247(6)
4687 |
1058(3)
1430(4)
6217(5)
4787(10) |
+130(11)
+30(12)
+100(14) |
+130(13) |
2 1-2 |
260
263 |
1005
1265
6052
4787 |
1209
1472
6159
4687 |
-207
-107
-100 |
-207 |
Ստուգողական Հաշվարկներ |
1270(21) |
15124(15)
-15278(16) |
15278(16) |
-154 (17)
-77(20) |
-77(18) |
-154(19) | |||||
32
1-2
Գրունտ.հեն. 217 |
380
380 |
1544
1924
6711
4787 |
615
995
5681
4686 |
+929
+1030
-101 |
+930 |
Հաշվարկ կայանում գրունտ.հեն. 606 - գրունտ.հեն. 217 | |||||
+29010∑ (21) |
414508∑ -15
-402784∑ -16
+11724 (22) |
402784∑(4) |
+11724∑(17)+5862(23) |
+5862∑(18) |
|
L=5,8 կմ (24) |
n= 32 | ||||
Չափված վերազանցումը |
hI =+5862մմ(26) | ||||
Ուղղումը նշաձողի միջին երկարության համար |
dհ= +3մմ(27) | ||||
Ուղղված վերազանցումը |
h= +5862մմ(28) | ||||
|
h=+5,865 մ(29) |
Հավելված N 20 |
I դասի նիվելիրացման հենանիշների վերազանցումների ամփոփագիր
Սեկցիայի համարը |
Նիվելիրային հենանիշի տեսակը և համարը, կենտրոնի տեսակը, կառուցման տարին |
Նիվելիրային հենանիշի վայրը |
Հեռավորությունը սկզբնական հենանիշից–Հեռավորությունները հենանիշների միջև |
Ուղիղ նիվելիրացման ամսաթիվը Հակադարձնիվելիրացման ամսաթիվը |
Կայանների թիվը ուղիղ հակադարձ |
Չափված վերազանցումները, մմ |
Վերազանցումների տարբերությունը, մմ |
Չափված միջին վերազան- ցումը, մ | ||
Ուղիղ ընթացք |
Հակադարձ ընթացք |
d1 d3 d4 |
d3 d4 d6 | |||||||
աջ, ձախ միջին |
աջ, ձախ միջին | |||||||||
Հենանիշի հիմքը 567, տիպը 140, 1948թ. |
0,0
0,1 |
29,08
26,08 |
1
1 |
+1332,6
+1333,1
+1332,8 |
-1333, 9
-1333,8
-1333,8
-1334,4
-1333.6
-1334,0
-1333, 9 |
-0,5
-0,6
0,0 |
-1,6
-0,6
-1,1 |
-1,074*
+1,3334 | ||
1 |
գրունտ հենանիշ 22101 տիպ 116 1963թ. |
0,1
1,9
2,0
6,7 |
24-25.08
23.08
30-31.08
23-25.08 |
20
20
67
67 |
-5358,7
-5358,4
-5358,6
+113,0 |
+5359,3
+5357,8
+5358,6
-119,0 |
-0,3
+1,5
-0,9
-1,6 |
+0,6
-0,6
0,0
-6,0 |
-5,3586
+0,1163 | |
2 |
դրոշմանիշ
0042, 1963 |
+114,6
+113,8 |
-118,5
-118,8 |
-0,5
-0,6 |
-3,9
-5,0 |
|||||
Ընդամենը մեկ օղակով |
16,1
16,1 |
175
175 |
-7830,7 7830,3 7830,5 |
+7822,7
+7822,4
+7822,6 |
-0,4
+0,3
-0,5 |
-7,8
-7, 9
-7, 9 |
Հավելված N 21 |
II դասի նիվելիրացման հենանիշների վերազանցումների ամփոփագիր
Սեկցիայի համարը | Նիվելիրային հենանիշի տեսակը և համարը կենտ. տեսակը, ամրացման տարեթիվը | Նիվ. հենանիշի տեղադիրքը | Հեռավորությունը սկզբնական հենանիշից, կմ | Նիվելիրացման ամսաթիվը ուղիղ | Կայանների թիվը ուղիղ | Չափված վերազանցում, մմ | Վերազանցումների տարբերությունները, մմ | Չափված միջին վերազանցումը, մ | |
Հեռավորությունները հենանիշների միջև, կմ | հակառակ | հակադարձ | ուղիղ ընթացք | հակադարձ ընթացք | |||||
Գիծ N 1 Ջրառատ–Մասիս N 6187 դրոշմանիշից մինչև հիմնային հենանիշ 92 | |||||||||
1 | Դրոշմանիշ 6187 1960թ. Գր.հենանիշ 2003 տեսակ 116,1964թ. | Ջրառատ, կայարանի շենք հարավային մաս, Ջրառատ կայարանից 0,5կմ արևմուտք 0,2կմ հյուսիս, Ջրառատ–Լուսագյուղ ճանապարհային խաչմերուկ |
0,0 0,5 0,5 6,0 |
2,08 18,08
2,08 18,08 |
11 12
56 56 |
-9496,5
+1922,5 |
+9489,9
-1914,8 |
-6,6
+7,7 |
-9,4932
+1.9186 |
2 | Գր.հենանիշ 4258, տեսակ116, 1964թ. | Ջրառատ կայարանից 6.5կմ հյուսիս, Մասիսի ճանապարհին, 20մ ճանապարհից արևելք |
6,5 5,8 |
3,08 16-17.08 |
54 54 |
–-1107,6 | +1107,4 | -0,2 | -1,1075 |
3 | Գր.հենանիշ 5540, տեսակ 116, 1964թ. | Մասիս կայարանից 4,9կմ հյուսիս- արևելք, ճանապարհով դեպի Երևան, 50մ ճանապարհից արևելք |
12,3 1,6 |
7,08 14,08 |
12 12 |
-3802,6 |
+3806,1 | +3,5 | -3,8044 |
4 | Գր.հենանիշ 92, տեսակ 140, 1960թ. | Մասիս կայարանից 1,5կմ հարավ -արևմուտք, երկաթգծի տնակից 100մ հյուսիս | 13,9 | –1,430* | |||||
Ընդամենը ըստ գծի | 13,9 |
133 134 |
12484,2 | +12488,6 | +4,4 | -124,864 |
Ելակետային հենանիշների բարձրությունների տարբերությունը Hk-HH=-12,4870մ:
Ստացված անկապքը Vստ=-12,4864-(12,4870)=+0,6մմ, թույլատրելի անկապքը Vթույլ =5մմÖԼ =18,8մմ:
Հավելված N 22 |
Նիվելիրացման հենանիշների վերազանցումների եվ բարձրությունների կատալոգ
Կատալոգի համարը | Հենանիշի անվանումը, համարը, տիպը և կենտրոնի տիպը | Հենանիշի տեղի նկարագրու-թյունը | Հեռավորությունը սկզբնական հենանիշից, կմ | Չափած վերազանցում, մ | Վերազանցումների ուղղումը | Հավասարա-կշռված վերազանցում | Ուղիղ և հակադարձ ընթացքների միջև վերազանցումնե-րի շեղումները | Ծովի նկատմամբ ունեցած բարձրությունը | |
Նորմալ բարձրության բերման համար | Հավասարակշռումից | ||||||||
1 | 2 | 3 | 4 | 5 | 6 | 7 | 8 | 9 | 10 |
1 | Դրոշմանիշ 1257 | 0 | 0.302 | -0.3 | 0 | +0.3017 | +0.1 | 1538.021 | |
2 | Գր. հեն. 258 հեն. տիպ 160 | 3.1 | -1.0001 | -0.3 | -0.1 | -1.0005 | -0.2 | 1587.335 | |
3 | Դրոշմանիշ1281 | 7.8 | -94,958 | -1 | -0.1 | -94,969 | -2.1 | 1587.322 | |
4 | 289Դրոշմանիշ | 13.5 | 1577.825 |
Մ ա տ յ ա ն
I եվ II դասի նիվելիրացման մինչեվ 150 մ լայնության արգելքների վրայով. առաջին եղանակ
Հավելված N 24 |
Մ ա տ յ ա ն
I եվ II դասերի նիվելիրացման մինչեվ 150մ լայնությամբ արգելքների վրայով. երկրորդ եղանակ
Հավելված N 25 |
«Համատեղման» եղանակով նիվելիրացում 150-400 մ լայնությամբ արգելքների վրայով
Նիվելիրացումը 150–400մ լայնությամբ արգելքների վրայով կատարում են «Համատեղման եղանակով», կիրառելով հատուկ վահանակներ: Այս եղանակը կայանում է նրանում, որ գլանաձև հարթաչափի բշտիկի ծայրերի պատկերի համատեղման ժամանակ բիսեկտորը թմբուկի պտտումով ուղղում են վահանակի գծիկին և միկրոմետրի թմբուկով վերցնում են հաշվեցույց: Կապը դիտարկողի և մյուս ափին գտնվող օգնականի միջև իրականացվում է ռադիոյի միջոցով:
Վահանակը պետք է ունենա`
- չափաձողին ամրացնելու համար հարմարանք,
- ցուցիչ չափաձողով հաշվեցույց վերցնելու համար,
- միկրոմետրային պտուտակ վահանակը վերև և ներքև տեղաշարժելու համար և
- երկու գծիկ:
Գծիկի լայնությունը (մ) հաշվում են հետևյալ բանաձևով.
T=0.03S,
որտեղ՝ S-ը արգելքի լայնությունն է մ-ով:
Գծիկի ստացված լայնությունը կլորացնում են մինչև ամբողջական միլիմետր: Գծիկների երկարությունը 5–10 անգամ մեծ պետք է լինի լայնությունից:
Գծիկների միջև հեռավորությունը երկուսից չորս անգամ մեծ պետք է լինի գծիկի լայնությունից: Ցուցիչի տեղը ցույց են տալիս սլաքով:
Արգելքի վրայով բարձրությունը անցնելու աշխատանքները սկսելուց առաջ և ավարտից հետո վահանակները ստուգիչ քանոնի օգնությամբ ճշգրտվում են: Միաժամանակ որոշում են գծիկների լայնությունը և հեռավորությունը դրանց առանցքների և C1 C2 ցուցիչների միջև 0,1մմ ճշտությամբ: Վահանակի ստուգանմուշարկման օրինակը բերված է աղյուսակում:
Աղյուսակ 20
Վահանակի միջակայքերի երկարության որոշում
Ստուգիչ քանոն 546 h=1000+0.018(t-160C)մմ |
Ամսաթիվը 4.07. 2004թ. |
Վահանակի միջակայքը | Ջերմաստիճանը oC | Հաշվեցույց քանոնով, մմ-ով | Միջինը մմ | Ցուցչի զրոյին բերված միջինը, մմ-ով | Քանոնի երկարության և ջերմության ուղղում, 0,01 | Ուղղված երկարությունը | |
գծիկի ձախ կողմով | գծիկի աջ կողմով | ||||||
Ուղիղ ընթացք | |||||||
Ցուցիչ | +23,0 | 0,04 | 1,26 | 0,65 | 00 | 0 | |
Առաջին գծիկ | 40,06 | 55,20 | 47,63 | 46, 98 | +1 | 46, 99 | |
Երկրորդ գծիկ | +23,5 | 114,46 | 129,52 | 121, 9 | 121,34 | +2 | 121,36 |
Հակադարձ ընթացք | |||||||
Ցուցիչ | +23,5 | 0,08 | 15,32 | 7.7 0 | 121,37 | +2 | 121,39 |
Երկրորդ գծիկ | 74,54 | 89,70 | 82,12 | 46, 95 | +1 | 46, 96 | |
Առաջին գծիկ | +23,5 | 128,42 | 129, 72 | 129,07 | 00 | 0 |
C1 և C2 -ը մասերի երկարությունն է մմ–ով և թմբուկի բաժանումներով
C1 =46.98մմ=940 թմբ. բաժ., C2 =121,38մմ=2428 թմբ. բաժ.
B=74,40մմ=1488 թմբ. բաժ.:
Բարձրության փոխանցումը 150մ–ից ավելի լայնությամբ արգելքի վրայով կատարում են միաժամանակ երկու խմբով երկու ափերից և երկու գծահամատեղումով, օգտագործելով երկու նիվելիր և երկու զույգ ինվարային չափաձող:
Վերազանցումը որոշում են միանգամից ուղիղ և հակադարձ ընթացքների համար:
Բարձրության փոխանցումը կատարում են արշավախմբի պետի, գլխավոր մասնագետի կամ բաժնի պետի ներկայությամբ:
«Համատեղման» եղանակով բարձրության փոխանցումը արգելքի վրայով դիտարկումների կարգը հետևյալն է.
1. Դիտարկողի օգնականը դիտարկողի կարգադրությամբ վահանակը տեղադրում է ամենահեռու չափաձողի վրա այնպես, որ վահանակի առաջին (վերին) գծիկի պատկերը գտնվի ցանցաթելերի բիսեկտորի մեջտեղում, միաժամանակ գլանաձև հարթաչափի բշտիկի ծայրերը պետք է ճիշտ համատեղված լինեն, իսկ թմբուկով հաշվեցույցը մոտավորապես հավասար լինի 50 բաժանումների:
2. Դրանից հետո հաջորդաբար դիտարկողը դիտարկում է մոտակա P1 P2 չափաձողերին և հաշվեցույց վերցնում հիմնական և լրացուցիչ սանդղակներով Б1 հիմն . Б1 լր ., Б2 հիմն ., Б2լր .:
3. Այնուհետև դիտարկողը դիտակն ուղղում է P3 չափաձողին: Դիտարկողի կարգադրությամբ օգնականը, որը գտնվում է հեռավոր չափաձողի մոտ, վահանակի ցուցիչի օգնությամբ P3 հիմնական սանդղակով 0,1 բաժանման ճշտությամբ, վերցնում է հաշվեցույց և ռադիոյով հաղորդում դիտարկողին: Դիտարկողը նիվելիրի միկրոմետրի օգնությամբ կատարում է բիսեկտորի հինգ ճշգրիտ ուղղում վահանակի առաջին գծիկի վրա, վերցնում հաշվեցույց թմբուկով և հաշվում է b1 3 հիմ .:
4. Այնուհետև այդպիսի դիտարկումներ կատարում են վահանակի երկրորդ գծիկի վրա և ստանում համապատասխան a23հիմ. և b23հիմ. հաշվեցույցներ: Վահանակը նախապես տեղակայում են այնպես, ինպես ցույց է տրված 1 կետում:
5. Օգնականը վահանակը պտտում է 1800–ով, իսկ դիտարկողը դիտարկում է վահանակի երկրորդ և առաջին գծիկների վրա և վերցնում է a2 3 լր ., ba2 3 լր., a1 3լր. և b1 3լր. հաշվեցույցներ: Վահանակի պտտումը 1800 -ով թույլ է տալիս խուսափելու այն սխալներից, որոնք կարող են առաջանալ C1 և C2 հեռավորությունների չափը չիմանալուց:
6. Դիտարկողը նիվելիրի դիտակն ուղղում է հեռավոր P4 չափաձողին, վերցնում է a4 1հիմն ., b4 1հիմն ., a4 2հիմն ., b4 2հիմն ., a4 1լր .., b4 1լր., a4 2լր ., և b4 2լր. հաշվեցույցներ:
Նման հաջորդականությամբ հաշվեցույցներ վերցնում է նաև երկրորդ դիտարկողը, որը գտնվում է մյուս ափին:
Աղյուսակ 21
Նիվելիրացման գրառման ԵՎ հաշվարկման օրինակ «Համատեղման» եղանակով 150-400 մ լայնությամբ արգելքի վրայով
Ամսաթիվ 14.06.2002թ., սկիզբը 915, ավարտը 930, tսկ. =+17,8CՕtվ. =18,0ՕC
H=05 125363 Նվագ1 կիսանվագ1 i=2, 2" S=380մ
Վահանակի ճշգրտման արդյունքները.
C13 =47,00մմ=940 թմբուկի բաժանում,
C23 =95,5մմ=1910 թմբուկի բաժանում,
C1 4 =47,5մմ=950 թմբուկի բաժանում,
C24 =95,4մմ=1908 թմբուկի բաժանում:
Հաշվեցույցներ մոտակա P1 և P2 չափաձողերից
Б1 հիմն 37,021 Б1 լր. 96,274
Б2 հիմն 35, 945 Б2 լր 95,193
_____________________________________________________
Б1 հիմն. -Б2լր.=+1,076 Б1 լր.-Б2 լր.=+1,081
Երկրորդ կիսանվագում մյուս ափին ունենք հաշվեցույցներ P3 և P4 չափաձողերից.
Б3 հիմն. -Б4հիմն.=–11, 970 Б3 լր.-Б4 լր.=–11, 974:
Աշխատանքային պայմաններ, պատկերը հանգիստ, ամպամած, թույլ քամի
Հաշվեցույցներ հեռավոր չափաձողերով | ||||||||
Չափաձող P3 | Չափաձող P4 | |||||||
Գծիկներ | Հիմնական սանդղակ ցուցիչը վերևում | Լրացուցիչ սանդղակ ցուցիչը ներքևում | Հիմնական սանդղակ ցուցիչը վերևում | Լրացուցիչ սանդղակ ցուցիչը ներքևում | ||||
1 | 2 | 1 | 2 | 1 | 2 | 1 | 2 | |
31 | 96 | 90 | 40 | 86 | 31 | 35 | 41 | |
3 | 80 | 68 | 66 | 81 | 50 | 51 | 44 | |
30 | 73 | 70 | 60 | 80 | 42 | 38 | 44 | |
32 | 96 | 67 | 50 | 74 | 51 | 43 | 48 | |
34 | 80 | 60 | 49 | 79 | 46 | 27 | 42 | |
b | 33 | 85 | 71 | 53 | 80 | 44 | 39 | 44 |
a | 19,07 | 20,00 | 76.4 | 75.46 | 29.1 | 28,20 | 90,30 | 91,26 |
C | -940 | -1910 | 940 | 1910 | 950 | 1908 | -950 | -1908 |
A | 18,163 | 18,175 | 77,411 | 77,423 | 30,130 | 30,152 | 89,389 | 89,396 |
A3 հիմն. 18,169 | A3լր. 77,417 | A4 հիմն. 30,141 | A4լր. 89,392 |
Б2հիմն. 35,945 | Б2լր. 95,193 | Б1հիմն. 37,021 | Б1լր. 96,274 |
h`հիմն.գլ. =+6,882 |
h`լր.գլ. =+6,881 | ||
Б2հիմն. - A3հիմն.=+17,776 | Б2լր. - A3լր. =+17,776 | ||
Б1հիմն. - Б2հիմն.=+1,076 | Б1լր. - Б2լր. =+1,081 | ||
Б3հիմն. - Б4հիմն.= - 11, 970 | Б3լր. - Б4լր. = - 11, 974 | ||
հ՝ հիմն. ստուգ =+6,882 | h`լր. ստուգ =+6,883 | h` ստուգ =+6,882 |
Այդ գործողությունները կազմում են մեկ կրկնակի կիսանվագ, որի ավարտից հետո յուրաքանչյուր դիտարկող իր նիվելիրով տեղափոխվում է մյուս ափ: Երկրորդ կրկնակի կիսանվագի ժամանակ դիտարկումները սկսում են հեռու տեղադրված չափաձողերից և ավարտում մոտ տեղադրվածներով: Մեկ ափից կատարվող բոլոր դիտարկումները պետք է իրականացվեն 30 րոպեում: Մի ափից մյուսը պետք է տեղափոխվել նվազագույն ժամանակում:
Ըստ սանդղակի չափաձողի լրիվ հաշվեցույցը հավասար է՝
Aji=aikl+bikl±Ck,
որտեղ՝ i-չափաձողի համարն է, լ–չափաձողի սանդղակը, C-հեռավորությունը վահանակի գծիկի կենտրոնից մինչև ցուցիչը (C-ից առաջ դրվում է պլյուս նշան, եթե վահանակի ցուցիչը հաշվեցույց վերցնելիս գտնվում է ներքևում, և մինուս նշան, եթե վերևում է), K- վահանակի գծիկի համարն է, a- վերցված հաշվեցույց չափաձողով ցուցչի օգնությամբ, b- թմբուկով վերցված հինգ հաշվեցույցների միջինն է:
Դիտարկումների գրառման օրինակը բերված է աղյուսակում: Տարամիտումը Ai1հիմն. և Ai2հիմն. ինչպես նաև Ai1լր. և Ai2լր. միջև չպետք է գերազանցի 5 մմ, հակառակ դեպքում ամբողջ կիսանվագը կրկնում են և հաշվում վերազանցումները չափաձողերի միջև: Հիմնական և լրացուցիչ սանդղակներով որոշված վերազանցումների տարամիտումը չպետք է գերազանցի 5մմ:
Տարբեր դիտարկողների կողմից ստացված վերազանցումների միջև տարբերությունը և կիսանվագում տարբեր գծահամատեղվածքով որոշված վերազանցումների տարբերությունը չպետք է գերազանցի 5մմ: Կրկնակի նվագներից ստացված վերազանցումների տարբերությունը թույլատրվում է մինչև 3մմ: Եթե ստացված վերազանցումների տարբերությունները ավելի են թույլատրելիից, ապա անհրաժեշտ է կատարել ևս մեկ կրկնակի նվագ և բոլոր արդյունքներից, բացի կոպիտներից, վերցնել միջինը:
Հավելված N 26 |
Նիվելիրացում 400 մ-ից ավելի լայնության խոչընդոտի վրայով «Շարժական մարկայի» եղանակով
Նիվելիրացումը 400մ-ից ավելի լայնության խոչընդոտի վրայով կատարում են «Շարժական մարկա» և «ուղղում» եղանակներով: «Շարժական մարկա» եղանակը կայանում է նրանում, որ դիտարկողի հրամանով նիվելիրի դիտախողովակի հրամանով նիվելիրի դիտախողովակը զուգագիծ են մտցնում հեռավոր չափաձողի վրա ամրացրած վահանակի և ինդեքսի օգնությամբ վերցնում հաշվեցույց չափաձողերով:
Վահանակի շտրիխի պատկերը զուգագիծ մտցնելու պահին նիվելիրի գլանաձև հարթաչափի բշտիկի ծայրերը պետք է ճիշտ համատեղված լինեն, իսկ թմբուկը՝ կանգնեցված 50 հաշվեցույցի վրա:
Դիտարկումները «Շարժական մարկայի» եղանակով կատարում են հետևյալ հերթականությամբ:
Խոչընդոտի վրայով վերազանցումների միջին նշանակությունը հիմնական հենանիշների միջև ստացված երկրորդ դիտարկողի կողմից կիսանվագ 2-ով, հ"1=-16,772չափ. բաժ=-0,8386մ.
Հաշվեցույցներ մոտակա չափաձողերի հիմնական և հավելյալ սանդղակներով կատարում են հատուկ հերթականությամբ: Նիվելիրի գլանաձև հարթաչափի բշտիկի ծայրերի համատեղման ժամանակ դիտում են P3 հեռու չափաձողին, վահանակի օգնությամբ շտրիխներով: Նախօրոք չափաձողի վրա վահանակը տեղադրում են այնպես, որ դրա վերին շտրիխը գտնվի զուգագծին մոտ: Դիտարկողի հրամանով (հաղորդվում է ռադիոյով) օգնականը, որը գտնվում է հեռու չափաձողի մոտ, սկսում է միկրոմետրային պտուտակով դանդաղ տեղաշարժել վահանակն այնքան ժամանակ, քանի դեռ առաջին շտրիխի պատկերը չի գտնվել զուգագծի ճիշտ մեջտեղում և օգտագործելով վահանակի ինդեքսը, չափաձողի հիմնական սանդղակով չափաձողի 0,1 բաժանման ճշտությամբ վերցնում է a հաշվեցույց և հաղորդում է դիտարկողին: Այդպիսի գործողություններ կրկնում են վեց անգամ խոչընդոտի 400–100մ լայնության և 8 անգամ 1000մ–ից ավելի դեպքում: Յուրաքանչյուր անգամ, երբ շտրիխի պատկերը մտցնում են զուգագիծ, վահանակը շատ քիչ տեղադրվում են: Դիտարկման առաջին կեսում վահանակը միկրոմետրային պտուտակով պտտելով տեղաշարժում են ժամացույցի սլաքի ուղղությամբ, իսկ մյուսով՝ հակառակ ուղղությամբ: Բոլոր հաշվեցույցներից վերցնում են միջինը a31հիմ. : Համապատասխանաբար ստանում են a32հիմ. միջին հաշվեցույցը վահանակի երկրորդ շտրիխի պատկերը զուգագիծ մտցնելու ժամանակ:
«Շարժական մարկայի» եղանակով 400 մ-ից ավելի լայնության խոչընդոտի վրայով նիվելիրացման դիտարկման և հաշվման օրինակ
Ավարտը 1032 tՕսկ =+201 1ՕC, tՕավ =+201 5ՕC, H-0,5 N 11046 i=-3,0
Վահանակների ճշգրտման արդյունքները
C11 =75,4մմ=1508 թմբուկի բաժանում, C21 =224, 9մմ=4498 թմբուկի բաժանում | C12 =75,0մմ=1500 թմբուկի բաժանում, C22 =225,2մմ=4504 թմբուկի բաժանում |
Հաշվեցույցները մոտիկ չափաձողերով P3 և P4
Б3հիմն. 40,246 | Б3հավ 99,495 |
Б4հիմն. 45,835 |
Б 4հավ 105,085 |
Б3հիմն. - Б4հիմն. =-5,589 |
Б 3հավ- Б4հավ =- 5,590 |
Երկրորդ կիսանվագում մոտակա չափաձողից վերցված հաշվեցույցներից P1 և P2 հակառակ ափով ունենք Б1հիմն. - Б2հիմն. =+6.355 Б1հավ - Б2հավ =+6.354
Աշխատանքի պայմանները, պատկերը թույլ տատանվող, պարզ, թեթև քամի: Եռոտանու և չափաձողերի կայանման տեղերը P2 և P3 -հենակների վրա P1 և P4 -գրունտային հենանիշի վրա.
Հեռու տեղադրված նշաձողերի հաշվանք | ||||||||
Չափաձող P1 | Չափաձող P2 | |||||||
Շտրիխներ | Հիմնական սանդղակ ինդեքսը վերևում | Հավելյալ սանդղակ ինդեքսը ներքևում | Հիմնական սանդղակ ինդեքսը վերևում | Հավելյալ սանդղակ ինդեքսը ներքևում | ||||
1 | 2 | 1 | 2 | 1 | 2 | 1 | 2 | |
30,54 | 33,65 | 86,80 | 83.86 | 24.19 | 27.21 | 80.3 | 77.44 | |
65 | 60 | 70 | 81 | 27 | 24 | 49 | 42 | |
48 | 55 | 78 | 82 | 18 | 15 | 42 | 54 | |
59 | 66 | 78 | 80 | 24 | 28 | 50 | 48 | |
55 | 54 | 82 | 84 | 14 | 20 | 50 | 40 | |
53 | 40 | 84 | 86 | 22 | 23 | 46 | 48 | |
a | 30,557 | 33,567 | 86,787 | 24,207 | 24,207 | 27,218 | 80,460 | 77,460 |
C | -1,508 | -4,498 | +1,508 | +4,498 | -1.5 | -4,504 | +1,500 | +4,504 |
A | 29.049 | 29,069 | 88,295 | 88,330 | 22,707 | 22,714 | 81,960 | 81,964 |
A1հիմ 29,059 A1 հավել 88,312 A2հիմ 22,710 A2հավել 81,962 | ||||||||
Б1հիմ 29,059 Б1հավել 88,312 Б2հիմ 22,710 Б2հավել 81,962 |
հ"հիմ. գլ =-16,776 հ"հավ. գլ =-16,773 հ". գլ =-16,774
A2 հիմ —Б3հիմ -17,536 | A2 հավել —Б3հավել -17,533 | |
Б 3հիմ—Б4հիմ -5,589 |
Б3 հավել —Б4 հավել - 5,590 | |
Б1հիմ—Б2հիմ +6,355 | Б1 հավել —Б2 հավել +6,354 | |
հ"հիմ.Վերջ =-16,770 |
հ" հավել Վերջ =-16,769 հ" հավել Վերջ =-16,770 |
Վահանակը շրջում են 1800 -ով և կրկնում բոլոր դիտարկումները վահանակի առաջին և երկրորդ շտրիխների վրա և վերցնում հաշվեցույցներ չափաձողի հավելյալ սանդղակով a31հիմ և a32հիմ :
Կատարում են բոլոր անհրաժեշտ հաշվեցույցները P4 հեռու չափաձողի հիմնական և հավելյալ սանդղակներով (a41հիմ և a42հիմ , a41հավ և a42հավ): Հեռու չափաձողի հիմնական և հավելյալ սանդղակներով ամբողջ հաշվեցույցը հաշվում են հետևյալ բանաձևով,
Aij=aikl±Cik
որտեղ՝ i-չափաձողի համարն է, լ– չափաձողի սանդղակը, C- հեռավորությունը շտրիխի մեջտեղից մինչև ինդեքսը, k-շտրիխի համարը: C-ից առաջ դրվում է +, եթե վահանակի ինդեքսը հաշվեցույց վերցնելու պահին գտնվել է ներքևում, և, եթե գտնվել է վերևում: Հետագա մշակումներն իրականացնում են այնպես, ինչպես «համատեղման» եղանակով:
«Շարժական մարկայի» եղանակով մատյանի օրինակը և արդյունքների մշակման ձևը տրվում է N 46 աղյուսակում:
400-1000մ լայնության խոչընդոտի վրայով I դասի նիվելիրացման ժամանակ կատարում են չորս կրկնակի նվագ և վեց կրկնակի նվագ 1000մ–ից ավելի լայնության դեպքում:
Նվագների առաջին կեսը կատարում են «Շարժական մարկայի» եղանակով, իսկ մյուս կեսը՝ «ուղղման» եղանակով:
II դասի նիվելիրացման ժամանակ համապատասխանաբար կատարում են երեք կամ չորս նվագ ցանկացած եղանակով:
Բարձրության փոխանցման միջին քառակուսային սխալը հաշված կրկնակի նվագների արդյունքների համեմատումից կլինի`
որտեղ՝ Vi=hմրջ - հi, hմրջ- վերազանցումն է ստացված n նվագներից, M-ը չպետք է գերազանցի 3մմÖS I դասի նիվելիրացման գծերի վրա և 5մմ ÖS II դասի նիվելիրացման գծերի վրա, S- խոչընդոտի լայնությունն է, կմ:
Անհրաժեշտության դեպքում կրկնակի նվագների քանակը կարող է ավելացվել: Դիտարկումները պետք է կատարվեն ոչ պակաս, քան երեք օրվա ընթացքում:
Հավելված N 27 |
400 մ-ից ավելի լայնության խոչընդոտի վրայով նիվելիրացումը «ուղղման» եղանակով
«Ուղղման» եղանակի դեպքում որոշում են դիտման գծի թեքությունը հորիզոնական դիտման գծի համեմատ հարթաչափի բշտիկի շեղվածության մեծությունով, նիվելիրի ցանցաթելերի զուգագիծը վահանակի շտրիխի վրա ուղղելու ժամանակ: Դիտախողովակի թեքումը իրականացնում են էլևացիոն պտուտակի օգնությամբ: Վահանակի վրա, «ՈՒղղման» եղանակի կիրառման ժամանակ պետք է լինի չորս շտրիխ: Շտրիխների լայնությունը որոշում են այնպես, ինչպես «համատեղման» եղանակով բարձրության փոխանցման ժամանակ, բայց հեռավորությունը շտրիխների միջև պետք է լինի 2,5 անգամ ավելի շտրիխի լայնությունից: «Ուղղման» եղանակով բարձրության փոխանցումը սկսելուց առաջ անհրաժեշտ է խոչընդոտի լայնությանը հավասար տարածության վրա ստուգել, արդյոք երևում է հարթաչափի բշտիկի ծայրերի պատկերը նիվելիրի դիտախողովակի տեսադաշտում վահանակի ծայրերի շտրիխներին դիտարկման ժամանակ, կամ ստուգել բավարարում է արդյոք ծայրամասային շտրիխների միջև հեռավորությունը հետևյալ պահանջին.
C4 -C1=St(N-2)/P",
որտեղ՝ C1 և C4 հեռավորությունը ինդեքսից մինչև 1 և 4 շտրիխները,
t -գլանաձև հարթաչափի բաժանման արժեքն է 0,8մմ,
N-Դիտախողովակի տեսադաշտում երևացող հարթաչափի բաժանումների քանակն է,
S- խոչընդոտի լայնությունն է, մմ:
Անհրաժեշտության դեպքում պատրաստում են նոր վահանակներ շտրիխների միջև ավելի փոքր տարածություններով:
«Ուղղման» եղանակով հեռավոր չափաձողից հաշվեցույցներ վերցնելու հերթականությունը հետևյալն է:
Վահանակը տեղակայում են հեռավոր չափաձողի հաշվեցույցներ վերցնելու հերթականությունը հետևյալն է:
Վահանակը տեղակայում են հեռավոր չափաձողի վրա այնպես, որ շտրիխների պատկերները նիվելիրի զուգագծի նկատմամբ տեղաբաշխվեն համաչափորեն, իսկ գլանաձև հարթաչափի բշտիկի դիրքը գտնվի կենտրոնում և թմբուկի հաշվեցույցը լինի 50:
Դիտարկողի օգնականը վահանակի ինդեքսի օգնությամբ վերցնում է a31հիմ և a31հավ հաշվեցույցները հիմնական և հավելյալ սանդղակներով չափաձողի 0,1 բաժանումով և ռադիոյով հաղորդում դիտարկողին:
Այնուհետև դիտարկողը վերցնում է հաշվեցույցներ՝ գլանաձև հարթաչափի բշտիկի ծայրերով զուգագիծը հերթականությամբ ճիշտ ուղղելով վահանակի բոլոր շտրիխներին:
Զուգագիծը շտրիխների պատկերի վրա ուղղում են պտտելով էլևացիոն պտուտակը ժամացույցի սլաքի ուղղությամբ: Հաշվեցույցների կարդացումը հարթաչափի բշտիկի ծայրերով սկսում են մոտ 30վրկ հետո, երբ համոզվում են բշտիկի անշարժելիության մեջ, երբ վահանակի անհրաժեշտ շտրիխը գտնվում է զուգագծում, իսկ թմբուկի հաշվեցույցը հավասար է 50: Այդպիսի ուղղումներ, դեպի վահանակի յուրաքանչյուր շտրիխ, կատարում են երկու անգամ խոչընդոտի մինչև 600մ-ի դեպքում, երեք՝ 600-ից մինչև 1000մ և չորս՝ 1000մ-ից ավելի դեպքերում: Դիտարկումների հերթական շարքը վահանակի շտրիխների վրա իրականացնում են նախորդին հակառակ: Հարթաչափի բշտիկի ծայրերով վերցված հաշվեցույցներով հաշվում են միջինը:
Վահանակը շրջում են 1800 -ով և կրկնում դիտարկումները վահանակի բոլոր շտրիխների վրա: Դիտարկողի օգնականը վերցնում է հաշվեցույցներ վահանակի ինդեքսի օգնությամբ P3 չափաձողի հիմնական և լրացուցիչ սանդղակներով (a311հիմ և a311հավ ): Նույնպիսի հերթականությամբ վերցնում են հաշվեցույցներ P4 չափաձողով: Նիվելիրացում «ուղղման» եղանակով խոչընդոտի վրայով: Մտցված են հետևյալ նշանակությունները. X-չափաձողի վրա հեռավորությունը զուգագծի պրոեկցիայից մինչև վահանակի շտրիխը, որի վրա կատարված է ուղղումը, երբ գլանաձև հարթաչափի բշտիկը գտնվում է կենտրոնում:
X մեծությունը հաշվում են հետևյալ բանաձևով.
X1 =b1 a /(a1 -a 4 ) և X2 =b2 a2 /(a2 -a3)
որտեղ՝ b1 =C4 -C1, b2 =C3 -C2 , a1 , a2 , a3 , a4 -դիտման թեքման անկյուններն են, չափված հարթաչափի օգնությամբ:
Թեքման անկյունները որոշում են հարթաչափի սանդղակի կիսաբաժանումներով:
Կախված հարթաչափի սանդղակի զրոյի տեղաբաշխվածությունից a անկյունները որոշում են հարթաչափի սանդղակի կիսաբաժանումներով:
Կախված հարթաչափի սանդղակի զրոյի տեղաբաշխվածությունից a -ն գտնում են տարբեր բանաձևերով: Բարձրության փոխանցման ժամանակ անհրաժեշտ է հատուկ ուշադրություն դարձնել դիտման գծի թեքման ճիշտ որոշման վրա:
Հաշվեցույցը հեռու չափաձողով հավասար է`
Aij=aikl+(Cik+X),
որտեղ` a- չափաձողի համապատասխան սանդղակով վերցված հաշվեցույցն է, վերցված վահանակի ինդեքսի օգնությամբ,
i-չափաձողի համարը, C-հեռավորությունը շտրիխի մեջտեղից մինչև ինդեքսը (փականից առաջ դրված է -, եթե վահանակի ինդեքսը ներքևում է և +, եթե վերևում է),
L-վահանակի դիրքը և սանդղակի շտրիխի համարը,
k- շտրիխի համարը:
Դիտարկումների հետագա մշակումը կատարվում է այնպես, ինչպես բարձրության փոխանցումը «համատեղման» եղանակով:
«ՈՒղղման» եղանակով բարձրության փոխանցման մատյանի լրացման և արդյունքների մշակման օրինակը տրված է աղյուսակում:
Բարձրությունների փոխանցումը կոմպենսատոր ունեցող նիվելիրներով կարող են օգտագործվել միայն «համատեղման» և «Շարժական մարկայի» եղանակները:
III և IV դասերի նիվելիրացման ժամանակ հարևան հենանիշների միջև վերազանցումի հաշվեցույց հետո կոմպլեկտ չափաձողերի մետրի միջին երկարության համար մտցնում են ուղղում, որը հաշվում են հետևյալ բանաձևով:dh=sh
որտեղ՝ s ուղղման գործակիցն է, հ-վերազանցումը:
«Ուղղման» եղանակով 400 մ լայնության խոչընդոտի վրայով նիվելիրացման դիտարկման գրառման և հաշվման օրինակ
ամսաթիվ 8.08. 2004թ. սկիզբը 915, ավարտը 950
tսկզ.օդի =+16,80C, tավ. օդի =+17,40C
H-05 N11036 նվագII, կիսանվագ 2
i=+1,6", t=10,00"/2մմ, S=700մ:
Վահանակների կոմպարիրովկայի արդյունքները.
C1 3 =50,85մմ=1017 թմբուկի բաժանում | C14 =50,46մմ=1009 թմբուկի բաժանում |
C23 =121,70մմ=2434 թմբուկի բաժանում | C24 =120,40մմ=2408 թմբուկի բաժանում |
C33 =192,86մմ=3857 թմբուկի բաժանում | C34 =190,51մմ=3810 թմբուկի բաժանում |
C43 =263,90մմ=5278 թմբուկի բաժանում | C44 =260,95=5219 թմբուկի բաժանում |
Մոտ գտնվող նշաձողերի P1 և P2 հաշվեցույցներ
Б(1)հիմ 24,206 | Б(1)հավ 83,457 |
Бհիմ 21,175 | Б(2)հավ 80,423 |
Б - Б(2) =+3,031 | Бհավ(1) - Бհավ(2) =+3,034: |
Առաջին կիսանվագում մոտակա չափաձողից վերցված հաշվեցույցներից P1 և P2 հակառակ ափով ունենք
Б(3)հիմն - Б(4)հիմն = -9,862, Б1հավ - Б2հավ = -9,861:
Հավելված N 28 |
Թվային նիվելիրի աշխատանքային կարգը եվ հերթականությունը կայանում
Կայաններում թվային նիվելիրներով աշխատանքային կարգն անհրաժեշտ է իրականացնել նկար 10-ում պատկերված օրինակի համաձայն՝ հետևյալ հերթականությամբ: Տրված AE գիծը տրոհված է AB, BC, CD և DE հատվածների:
Չափումների ժամանակ գործիքը դնում են 1 դիրքում, չափաձողերը` A և B կետերի վրա: Վերցնում են B1 հետևի հաշվանքը, հետո F1 առջևի հաշվանքը: Այնուհետև գործիքը դնում են 2 դիրքում, չափում են B2, հետո F2 հաշվանքները և այսպես շարունակ մինչև E կետը:
Բարձրությունների տարբերությունը A և B կետերի միջև որոշվում է (B1 -F1 ) տարբերությամբ, B-ից մինչև C կետը` (B2-F2) և այլն: Եթե A և E կետերի միջև բարձրությունների տարբերությունը նշանակենք ∆H-ով, ապա կստանանք`
∆H = ∑(Bi -Fi ),
որտեղ՝ Bi -ն չափաձողի հետևի հաշվանքն է, իսկ Fi-ն ` առջևի: Վերը նշված բանաձևը կարելի է գրել նաև հետևյալ կերպ`
∆H =∑( Bi) -∑(Fi):
Այս բանաձևից հետևում է, որ երկու կետերի միջև եղած բարձրությունների տարբերությունը կարելի է հաշվել նաև բոլոր կայանների չափաձողերի հետևի և առջևի հաշվանքների գումարի տարբերությամբ (տե´ս աղյուսակ 23):
Նկ.10 Թվային նիվելիրի աշխատանքային կարգը և հերթականությունը կայանում
Թվային նիվելիրի դաշտային չափագրումների օրինակ
Աղյուսակ 23
Հ/հ |
Կալանի համարը |
Կայանների միջև եղած հեռավորությունը |
Հաշվանքներ հետևի/առջևի |
Հեռավորությունը սկզբնական կետից |
111578+00000217 | 83..16+16100000 | |||
111579+00000217 | 32..00+00007540 | 331128+00219357 | ||
111580+00000001 | 32..00+00007900 | 332128+00206557 | ||
111581+00000001 | 32..00+00007900 | 336128+00206552 | ||
111582+00000217 | 32..00+00007540 | 335128+00219358 | ||
111583+00000001 |
571..8-00000005 |
572..8-00000005 |
573..0-00000360 |
574..0+00015430 |
83..06+16101280 | ||||
111584+00000001 | 32..00+00007530 | 331128+00218843 | ||
111585+00000002 | 32..00+00007900 | 332128+00206060 | ||
111586+00000002 | 32..00+00007900 | 336128+00206062 | ||
111587+00000001 | 32..00+00007530 | 335128+00218852 | ||
111588+00000002 |
571..8-00000007 |
572..8-00000012 |
573..0-00000740 |
574..0+00030860 |
83..06+16102559 | ||||
111589+00000002 | 32..00+00010320 | 331128+00043118 | ||
111590+00000003 | 32..00+00010040 | 332128+00216492 | ||
111591+00000003 | 32..00+00010040 | 336128+00216419 | ||
111592+00000002 | 32..00+00010320 | 335128+00043103 | ||
111593+00000003 |
571..8-00000058 |
572..8-00000070 |
573..0-00000460 |
574..0+00051220 |
83..06+16085224 | ||||
111594+00000003 | 32..00+00010320 | 331128+00043244 | ||
111595+00000004 | 32..00+00010040 | 332128+00216560 | ||
111596+00000004 | 32..00+00010040 | 336128+00216554 | ||
111597+00000003 | 32..00+00010320 | 335128+00043248 | ||
111598+00000004 |
571..8-00000010 |
572..8-00000080 |
573..0-00000190 |
574..0+00071580 |
83..06+16067893 | ||||
111599+00000004 | 32..00+00034040 | 331128+00112216 | ||
111600+00000005 | 32..00+00034400 | 332128+00028081 | ||
111601+00000005 | 32..00+00034320 | 336128+00028145 | ||
111602+00000004 | 32..00+00034040 | 335128+00112229 | ||
111603+00000005 |
571..8+00000051 |
572..8-00000029 |
573..0-00000500 |
574..0+00139980 |
Հավելված N 29 |
Թվային նիվելիրներով չափագրված արդյունքները Լեվել Պակ/LevelPak/ ծրագրում
Նիվելիրացման գծի հաշվարկման համար պահանջվում են սկզբնական, կամ վերջնական բարձրությունները, կամ երկուսն էլ ֆիքսված:
Կարելի է հաշվարկել նիվելիրացման գծերի ներքոհիշյալ տեսակները՝
Նիվելիրացման գիծ | Հավասարակշռում |
Դաշտային չափագրումների անմշակ տվյալների օրինակ Լեյկա Լեվել Պակ/Leica LevelPak/ ծրագրում
Աղյուսակ 24
Կետի անունը | Հետևի հաշվանք | Առջևի հաշվանք | Հեռավորությունը | Բարձրությունը | Մեկնաբանությունը | ||
1 | 2 | 3 | 4 | 5 | 6 | ||
LevelPak Level Line Report | |||||||
Project | : 418-2003-1 | ||||||
Generated | : 15/09/2004 at 14:59:51 | ||||||
Unit | : Meter | ||||||
Level Line | : 2300-418 Line 001 | ||||||
Heights | : Downloaded | ||||||
Pt Name | Back | Fore | Dist | Height | Comments | ||
2300 | 1789.539 | ||||||
2300 | 1.95477 | 10.73 | |||||
1 | 0.35616 | 10.75 | |||||
1 | 0.35618 | 10.75 | |||||
2300 | 1.95473 | 10.74 | |||||
1 | 1791.138 | ||||||
1 | 1.94324 | 10.78 | |||||
2 | 0.34473 | 10.72 | |||||
2 | 0.34474 | 10.71 | |||||
1 | 1.94332 | 10.77 | |||||
2 | 1792.737 | ||||||
2 | 1.27862 | 35.07 | |||||
3 | 2.22181 | 34.93 | |||||
3 | 2.22181 | 34.93 | |||||
2 | 1.2784 | 35.07 | |||||
3 | 1791.793 | ||||||
3 | 1.26611 | 35.1 | |||||
4 | 2.20925 | 34.9 | |||||
4 | 2.20926 | 34.9 | |||||
3 | 1.26616 | 35.11 | |||||
4 | 1790.85 | ||||||
4 | 0.655 | 34.74 | |||||
5 | 2.8875 | 34.72 | |||||
5 | 2.88758 | 34.73 | |||||
4 | 0.65501 | 34.74 | |||||
5 | 1788.618 | ||||||
6 | 0.63361 | 34.76 | |||||
7 | 2.8667 | 34.71 | |||||
7 | 2.86674 | 34.71 | |||||
6 | 0.63374 | 34.76 | |||||
7 | 1784.152 | ||||||
7 | 0.66014 | 35.02 | |||||
8 | 2.61847 | 34.7 | |||||
8 | 2.61851 | 34.71 |
Դաշտային չափագրումների գրասենյակային մշակման օրինակ ՄիկրոսոֆՏ Էքսել/Microsoft Exsel/ ծրագրում
Աղյուսակ 25
Կետի անունը |
Հաշվանքներ |
Հեռավորությունը կայանների միջև |
Բարձրությունը |
Միջին հեռավորությունը |
Վերազանցումները | ||
հետևի |
առջևի |
I գիծ |
II գիծ | ||||
1 |
2 |
3 |
4 |
5 |
6 |
7 |
8 |
LevelPak Level Line Report | |||||||
Project | : 2300-417-1 | ||||||
Generated | : 13/09/2004 at 11:14:36 | ||||||
Unit | : Meter | ||||||
Level Line | : 2300-417 Line 001 | ||||||
Heights | : Downloaded | ||||||
Pt Name | Back | Fore | Dist | Height | Comments | ||
2300 | 1800 | ||||||
2300 | 2.04139 | 10.47 | 10.63 | 1.60752 | |||
1 | 0.43384 | 10.78 | |||||
1 | 0.43387 | 10.78 | |||||
2300 | 2.04136 | 10.47 | |||||
1 | 1801.608 | ||||||
1 | 2.01203 | 10.55 | 10.63 | 1.60754 | |||
2 | 0.40450 | 10.71 | |||||
2 | 0.40448 | 10.71 | |||||
1 | 2.01202 | 10.55 | |||||
2 | 1803.215 | ||||||
2 | 1.72144 | 39.01 | 38.99 | 0.38345 | |||
3 | 1.33794 | 38.96 | |||||
3 | 1.33794 | 38.96 | |||||
2 | 1.72133 | 39.01 | |||||
3 | 1803.599 | ||||||
3 | 1.70588 | 39.03 | 38.99 | 0.38354 | |||
4 | 1.32235 | 38.95 | |||||
1.32238 | 38.94 | ||||||
3 | 1.70593 | 39.03 | |||||
4 | 1803.982 | ||||||
4 | 1.57274 | 38.93 | 38.96 | 0.60017 | |||
5 | 0.97263 | 38.99 |
