«Գրանցված է»
ՀՀ արդարադատության
նախարարության կողմից
19 հուլիսի 2002 թ.
Պետական գրանցման թիվ 32202119
ՀԱՅԱՍՏԱՆԻ ՀԱՆՐԱՊԵՏՈՒԹՅԱՆ
ԿԱՌԱՎԱՐՈՒԹՅԱՆՆ ԱՌԸՆԹԵՐ ԱՆՇԱՐԺ ԳՈՒՅՔԻ ԿԱԴԱՍՏՐԻ ՊԵՏԱԿԱՆ ԿՈՄԻՏԵ
11 հուլիսի 2002 թ. |
N 392-Ն |
Հ Ր Ա Մ Ա Ն
1:500, 1:2000 ԵՎ 1:5000 ՄԱՍՇՏԱԲԻ ՏԵՂԱԳՐԱԿԱՆ ՀԱՆՈՒՅԹՆԵՐԻ ՀՐԱՀԱՆԳԻ ՄԱՍԻՆ
Ղեկավարվելով «Գեոդեզիայի և քարտեզագրության մասին» Հայաստանի Հանրապետության 2001 թ. մայիսի 2-ի ՀՕ-179 օրենքի 8-րդ հոդվածի և Հայաստանի Հանրապետության կառավարության «Գեոդեզիայի և քարտեզագրության բնագավառում Հայաստանի Հանրապետության կառավարության լիազորած պետական կառավարման մարմնի իրավասությունները Հայաստանի Հանրապետության կառավարությանն առընթեր անշարժ գույքի կադաստրի պետական կոմիտեին վերապահելու մասին» N 1028 որոշման պահանջներով:
Հրամայում եմ՝
1. Հաստատել 1:500, 1:2000 և 1:5000 մասշտաբի տեղագրական հանույթների հրահանգը:
2. Հրահանգը սահմանված կարգով ներկայացնել Հայաստանի Հանրապետության արդարադատության նախարարություն՝ գրանցման:
3. Սույն հրամանի կատարման վերահսկողությունը դնել կոմիտեի նախագահի տեղակալ Մ. Գևորգյանի վրա:
Կոմիտեի նախագահ |
Մ. Վարդանյան |
1. ՆԱԽԱԲԱՆ
Սույն նորմատիվ-տեխնիկական ակտը՝ (ՆՏԱ) «1:500, 1:1000, 1:2000 և 1:5000 մասշտաբի տեղագրական հանույթների հրահանգը» (հետագայում՝ հրահանգ) մշակված է «Գեոդեզիայի և քարտեզագրության մասին» ՀՀ օրենքի 8 հոդվածի պահանջով` պահպանելով «Տեղագրագեոդեզիական և քարտեզագրական աշխատանքների նորմատիվ-տեխնիկական և մեթոդական ակտերի մշակման կարգի հրահանգի» պահանջները:
Հրահանգը մշակված է համաձայն գործող հիմնական դրույթների տեղագրական հատակագծերի ստեղծման համար: Այն լրացնում է նորմատիվ տեխնիկական բազան, որը կարգավորում է տեղագրական խոշոր մասշտաբի հանույթների իրականացումը:
Հրահանգում անհրաժեշտ ծավալներով և մանրամասնությամբ ընդգրկված են բոլոր տեխնոլոգիական գործընթացները, որոնք ապահովում են խոշոր մասշտաբի տեղագրական հանույթների կատարման հնարավորությունը:
Այդ նյութերը շարադրված են «ԸՆԴՀԱՆՈՒՐ ՄԱՍ», «ՏԵՂԱԳՐԱԿԱՆ ՀԱՏԱԿԱԳԾԵՐԻ ՆՇԱՆԱԿՈՒԹՅՈՒՆԸ», «ՏԵՂԱԳՐԱԿԱՆ ՀԱՏԱԿԱԳԾԵՐԻ ԲՈՎԱՆԴԱԿՈՒԹՅՈՒՆԸ», «ՏԵՂԱԳՐԱԳԵՈԴԵԶԻԱԿԱՆ ԱՇԽԱՏԱՆՔՆԵՐԻ ՏԵԽՆԻԿԱԿԱՆ ՆԱԽԱԳԾՈՒՄԸ», «ԳԵՈԴԵԶԻԱԿԱՆ ՀԻՄՆԱԿԵՏԵՐԻ ՏԵՂԱԶՆՆՈՒԹՅՈՒՆԸ ԵՎ ԿԱՌՈՒՑՈՒՄԸ», «ԳԵՈԴԵԶԻԱԿԱՆ ԽՏԱՑՄԱՆ ՑԱՆՑԵՐ», «ՀԱՆՈՒՅԹԱՅԻՆ ՑԱՆՑԻ ՍՏԵՂԾՈՒՄԸ», «ԳԵՈԴԵԶԻԱԿԱՆ ՉԱՓՈՒՄՆԵՐԻ ՏՎՅԱԼՆԵՐԻ ՄՇԱԿՈՒՄԸ», «ԱԵՐՈՖՈՏՈՏԵՂԱԳՐԱԿԱՆ ՀԱՆՈՒՅԹ», «ՎԵՐԳԵՏՆՅԱ ՖՈՏՈՏԵՂԱԳՐԱԿԱՆ (ՖՈՏՈԹԵՈԴՈԼԻՏԱՅԻՆ) ՀԱՆՈՒՅԹ», «ՄԵՆԶՈՒԼԱՅԻՆ ՀԱՆՈՒՅԹ», «ՏԱԽԵՈՄԵՏՐԻԱԿԱՆ ՀԱՆՈՒՅԹ», ՀԱՆՈՒՅԹԱԳՐՈՒՄ ԱՐԲԱՆՅԱԿԱՅԻՆ ՏԵԽՆՈԼՈԳԻԱՆԵՐԻ ԿԻՐԱՌՄԱՄԲ», «ԿԱՌՈՒՑԱՊԱՏՎԱԾ ՏԱՐԱԾՔՆԵՐԻ ՀԱՆՈՒՅԹՆԵՐԻ ԱՌԱՆՁՆԱՀԱՏԿՈՒԹՅՈՒՆՆԵՐԸ», «ՍՏՈՐԳԵՏՆՅԱ ՀԱՂՈՐԴԱԿՑՈՒՂԻՆԵՐԻ (ԿՈՄՈՒՆԻԿԱՑԻԱՆԵՐԻ) ՀԱՆՈՒՅԹ», «ՀԱՐԱԿԻՑ ՏԵՂԱԳՐԱԿԱՆ ՀԱՏԱԿԱԳԾԵՐԻ ՇՐՋԱՆԱԿԻ ԿՈՂՄԵՐԻ ՀԱՄԱՏԵՂՈՒՄԸ», «ՏԵՂԱԳՐԱԿԱՆ ՀԱՏԱԿԱԳԾԵՐԻ ԽՄԲԱԳՐՈՒՄԸ», «ՏԵՂԱԳՐԱԿԱՆ ՀԱՏԱԿԱԳԾԵՐԻ ԿԱԶՄՈՒՄԸ ԵՎ ՆԱԽԱՊԱՏՐԱՍՏՈՒՄԸ ՀՐԱՏԱՐԱԿՄԱՆ», «ՏԵՂԱԳՐԱԿԱՆ ՀԱՏԱԿԱԳԾԵՐԻ ԹԱՐՄԱՑՈՒՄԸ», «ՏԵԽՆԻԿԱԿԱՆ ՀԱՇՎԵՏՎՈՒԹՅԱՆ ԿԱԶՄՈՒՄԸ», «ԱՐՏԱԴՐԱՆՔԸ ՀՍԿՈՂ ՏԵԽՆԻԿԱԿԱՆ ԲՆՈՒԹԱԳՐԵՐԸ» բաժիններում: Հրահանգի եզրափակիչ մասում կցվում են հավելվածները:
«ԸՆԴՀԱՆՈՒՐ ՄԱՍ» բաժինը ընդգրկում է արտադրական և տեխնոլոգիական գործընթացների չափաբանական բնութագրումը և ենթաբաժին «Տերմիններ, սահմանումներ, կրճատումներ», որոնցում ցույց են տրված հրահանգում օգտագործվող տերմինները և սահմանումները:
2. ԸՆԴՀԱՆՈՒՐ ՄԱՍ
2.1. Սույն հրահանգը պարզաբանում է տեղագրական հանույթագրման հիմնական դրույթները և տեխնիկական պահանջները, հստակեցնում տեղագրական հանույթների նշանակությունը և բովանդակությունը, տալիս է տեխնիկական ցուցումներ 1:500, 1:1000, 1:2000 և 1:5000 մասշտաբների (հետագայում խոշոր մասշտաբի հանույթներ) տեղագրական հանույթների կատարման եղանակները և տեխնոլոգիան:
2.2. Հրահանգը նախատեսում է տեղագրական հատակագծերի համար գործող պայմանական նշանների օգտագործումը, հաշվի առնելով գեոդեզիայի, քարտեզագրման վարչությունների և գեոդեզիական և քարտեզագրական աշխատանքների նկատմամբ վերահսկողության տեսչության ցուցումները նրանց օգտագործման առանձնահատկությունների վերաբերյալ:
2.3. Հրահանգում օգտագործված են հետևյալ տերմիններն ու հապավումները:
2.3.1. ԱՖԱ - Աերոֆոտոապարատ:
2.3.2. Բազային ընդունիչ, որը ծառայում է կետի վրա ընդունումներ կատարելու համար, որի համեմատ կատարում են արբանյակային որոշումներ տվյալ ցուցահերթում (в данном сеансе):
2.3.3. ՆՏԱ - նորմատիվ տեխնիկական ակտ:
2.3.4. ՊՃԿ - պլանային ճանաչման կետ (плановый опознак):
2.3.5. ՊԲՃԿ - պլանային բարձունքային ճանաչման կետ:
2.3.6. Գծի որոշումը - 2 կետերի վրա արբանյակային որոշումների ցուցահերթի (սեանսի) կատարումը:
2.3.7. Շարժական ընդունիչ - ընդունիչ, որը ծառայում է կետի վրա արբանյակային որոշումների ընդունումների համար, որի դիրքը որոշում են տվյալ ցուցահերթում (սեանս):
2.3.8. Արբանյակային որոշումների ընդունումը - ընդունիչի կատարող գործողությունների հերթականությունը արբանյակներով դիտումներից ստացված տվյալներով, որն իր մեջ ընդգրկում է տվյալների հաշվառման գործընթացը, հաշվառման անցկացումը և տվյալների հաշվառման ռեժիմից ընդունիչի դուրս բերումը:
2.3.9. Արբանյակային որոշումների ցուցահերթը - մի քանի ընդունիչներով արբանյակային որոշումների միաժամանակ կատարումը:
2.3.10. Արբանյակային ընդունիչ - սարքածրագրային համալիր արբանյակների դիտարկումների համար:
2.3.11. ԹՖԿ - թվային ֆոտոգրամետրիական կայան:
2.3.12. ԷՀՄ - էլեկտրոնային հաշվողական մեքենա:
2.3.13. GPS - Global positioning System - ԱՄՆ-ի գլոբալ նավիգացիոն արբանյակային համակարգ:
Հրահանգով կանոնակարգվող արտադրական եվ տեխնոլոգիական գործընթացների չափաբանական բնութագրերը
Հավելված 1
Չափվող մեծության անվանումը |
Տեղագրական հանույթների մասշտաբների համար չափվող մեծությունների բնութագիրը |
Օբյեկտի չափման բնութագիրը
| ||||
Միջին քառակուսային սխալը mt մմ |
Տեղագրական հանույթների մասշտաբների համար բնութագրի նշանակությունը | |||||
1:500 |
1:1000 |
1:2000 |
1:5000 | |||
Կապիտալ շինությունների պարիսպների անկյունները, հողերի կենտրոնները, ուրիշ հստակ ճանաչվող առարկաները |
0.2-0. 3* |
10-15 |
20-30 |
40-60 |
100-150 |
|
Ասֆալտապատ ճանապարհի հատման կետերը, գյուղերի թաղամասերի հատման կետերը, առուների և ուրիշ հաստատուն օբյեկտների եզրագծերը |
0.4-0.5* |
20-25 |
40-50 |
80-100 |
200-250 |
|
Վարելահողի սահմանները, գրունտային ճանապարհների, անտառուղիների հատումները և ժամանակի ընթացքում քիչ փոփոխվող ճանաչման այլ օբյեկտները |
0.6-1.0* |
30-50 |
60-100 |
120-200 |
300-500 |
|
Անտառի, արոտատեղերի, գետերի և գետակների, ինչպես նաև ուրիշ փոփոխվող և հստակ չճանաչվող օբյեկտների եզրագծերի կետերը |
1.1-1.5* |
55-75 |
110-150 |
220-300 |
550-750 |
|
Հանույթային հիմնավորմանը համեմատաբար մոտ գտնվող կետերի դիրքը, բարձրությունը
|
Միջին |
12 |
12 |
16 |
16 |
ռելիեֆի անկման 0.5 մ բարձրության և տեղանքի 20-ից ոչ ավել թեքման անկյունների դեպքում |
- |
- |
25 |
25 |
ռելիեֆի անկման 1 մ բարձրության և տեղանքի 20-ից ոչ ավել թեքման անկյունների դեպքում | ||
16 |
16 |
16 |
- |
ռելիեֆի անկման 0.5 մ բարձրության և տեղանքի թեքության | ||
33 |
33 |
33 |
33 |
ռելիեֆի անկման 1 մ բարձրության և տեղանքի թեքության 20 և ավելի թեքման անկյունների դեպքում | ||
- |
- |
66 |
66 |
ռելիեֆի անկման 2 մ բարձրության և տեղանքի թեքության 20 և ավելի թեքման անկյունների դեպքում | ||
- |
- |
- |
166 |
ռելիեֆի անկման 5 մ բարձրության և տեղանքի թեքության 20 և ավելի թեքման անկյունների դեպքում |
* Սահմանային սխալները (∆ t) չպետք է գերազանցեն հավելվածում բերված արժեքների կրկնակին: Դրանց քանակությունը չպետք է մեծ լինի կատարվող ստուգումների քանակի 10%-ից: (Եթե կատարվել է 100 կետի ստուգում, ապա 10 կետի համար սխալանքը կարող է հավասար լինեն 2 mt, մնացած ստուգված կետերի համար սխալները պետք է լինեն 2 mt-ից փոքր):
2.4. Արտադրական և տեխնոլոգիական գործընթացների չափաբանական բնութագրերը, որոնք կանոնակարգված են, հրահանգում բերված են հավելված 1-ում:
2.5. Տեղանքի տեղագրական հանույթների արդյունքը հանդիսանում են 1:500, 1:1000, 1:2000 և 1:5000 մասշտաբների տեղագրական հատակագծերը:
2.6. Տեղագրական հատակագծերի կազմման, պահպանման և թարմացման հիմնական ձևերը հանդիսանում է թվային եղանակը:
Թվային տեղագրական հատակագծերը կարող են ներկայացվել նաև ավանդական գրաֆիկական տեսքով:
2.7. Տեղագրական հատակագծերի ստեղծման ընթացքում անհրաժեշտ է օգտագործել սահմանված պայմանական նշանները:
2.8. Տեղագրական հատակագծերի վրա, որպես կանոն պատկերվում են տեղանքի ուրվագծերը և բոլոր օբյեկտները, ռելիեֆի տարրերը, համապատասխան պայմանական նշաններով:
2.9. Առանձին ճյուղային (գերատեսչական) խնդիրների լուծման համար կարելի է ստեղծել հատուկ մասնագիտական բնույթի տեղագրական հատակագծեր:
Հատուկ տեղագրական հանույթների նկատմամբ պահանջները ներկայացված են տեխնիկական և գերատեսչական հրահանգներում, համաձայնեցված կադաստրի կոմիտեի հետ:
Պահանջները, որոնք նախատեսված չեն այդ հրահանգներով կամ ՆՏԱ-ի ընդհանուր դրույթներով, կարող են թույլատրվել միայն բացառության կարգով՝ կադաստրի կոմիտեի համաձայնությամբ:
Տեղագրական մասնագիտական հատակագծերի ստեղծման ընթացքում թույլատրվում է հատակագծի վրա ցույց տալ տեղանքի իրադրության (սիտուացիայի) տարրերը, ռելիեֆի անկման բարձրությունների ստանդարտ օգտագործումը, տեղանքի ուրվագծերի և ռելիեֆի պատկերի ճշտության պահանջների իջեցումը կամ բարձրացումը:
Տեղագրական մասնագիտական հատակագծի շրջանակից դուրս ձևավորման մեջ պետք է նշվի հատակագծի օգտագործման նպատակը, եղանակը (օրինակ «Նավթատարի տեղագրական հատակագիծ, արբանյակային տեխնոլոգիա») և հանույթի ճշտությունը:
2.10. 1:500, 1:1000, 1:2000 և 1:5000 մասշտաբների տեղագրական հատակագծերը ստեղծվում են տեղագրական հանույթների արդյունքում կամ քարտեզագրման եղանակով (բացի 1:500 մասշտաբից) ավելի խոշոր մասշտաբի տեղագրական հանույթների նյութերի հիման վրա:
Տեղագրական հանույթները կատարվում են հետևյալ եղանակներով.
1) ստերեոտեղագրական,
2) համակցված (կոմբինացված) աերոֆոտոտեղագրական,
3) տախեոմետրիական (կամ թեոդոլիտային),
4) արբանյակային (GPS-ների օգտագործմամբ),
5) վերգետնյա ֆոտոտեղագրական (ֆոտոթեոդոլիտային հանույթ),
6) մենզուլային:
Հիմնական եղանակ է հանդիսանում ստերեոտեղագրականը:
Ելնելով տեխնիկակազմակերպչական կամ տնտեսական պայմաններից, եթե հնարավոր չէ կիրառել ստերեոտեղագրական եղանակը, կիրառում են համակցված (կոմբինացված) եղանակը:
Վերգետնյա ֆոտոտեղագրական հանույթը կիրառվում է լեռնային տարածքներում և քաղաքներում աերոտեղագրականի հետ համատեղելով:
Առանձին դեպքերում (աերոֆոտոհանույթների կամ տեղանքի վերգետնյա ֆոտոհանույթի նյութերի բացակայության դեպքում և այլն) կարող են կիրառվել մենզուլային, տախեոմետրիական կամ թեոդոլիտային հանույթներ:
Հորիզոնականների անկման մեծությունները տարբեր մասշտաբի տեղագրական հանույթների համար
Հավելված 2
Ռելիեֆի տեսակը և նրան բնորոշ տեղանքի մակերևույթի թեքման անկյունների սահմանները |
Հանույթի մասշտաբը | ||
1:500 1:1000, |
1:2000 |
1:5000 | |
Հորիզոնականների անկման մեծությունը, մետր | |||
Հարթավայրային - 20 |
0.5 |
0.5, 1.0 |
0.5, 1.0 |
Բլրոտ - 20-ից - 40 |
0.5 |
0.5, 1.0, 2.0 |
1.0, 2.0 |
Կտրտված - 40-ից - 60 |
0.5, 1.0 |
1.0, 2.0 |
2.0, 5.0 |
Լեռնային և նախալեռնային |
1.0 |
2.0 |
2.0, 5.0 |
2.11. Տարբեր մասշտաբների տեղագրական հանույթ իրականացնելիս հորիզոնականների անկման մեծության ընտրության համար անհրաժեշտ է ղեկավարվել հետևյալ դրույթներով, որոնք բերված են հավելված 2-ում:
2.11.1 Առանձին դեպքերում տեղագրական հանույթները կարող են կատարվել 0.25 մ հորիզոնականների անկումով: Հորիզոնականների այս անկումը թույլատրվում է կիրառել պատրաստված և հարթեցված տարածքների հանույթներում, որոնց առավելագույն գերակշռող թեքման անկյունները փոքր են 20-ից:
Այդ հորիզոնականների անկման անհրաժեշտությունը պետք է հիմնավորվի տեխնիկական նախագծում (ծրագրում):
2.11.2 Հորիզոնականների անկման երկու բարձրություն թույլատրվում է կիրառել մեծ տարածքների հանույթների ընթացքում հանույթային մեկ թերթի վրա, որտեղ թեքման անկյունների գերակշռող մասը գերազանցում են 20-ից:
2.11.3 Ռելիեֆի բնորոշող այն հատվածները, որոնք չեն արտահայտվում հիմնական անկման հորիզոնականներով, խորհուրդ է տրվում արտահայտել լրացուցիչ հորիզոնականներով (կիսահորիզոնականներ) և օժանդակ հորիզոնականներով: Կիսահորիզոնականները պարտադիր տարվում են այն տեղամասերում, որտեղ հիմնական հորիզոնականների միջև եղած հեռավորությունը հատակագծի վրա ավել է 2.5 սմ-ից:
Ռելիեֆի առանձնահատուկ ձևերի և հարաբերական բարձրությունների պատկերումը լրացվում է ռելիեֆի (խորությունների) բնութագրով, հորիզոնականների վրա գրառումներով և լանջերի ուղղությունների ցուցանակներով:
2.11.4 Տեղագրական հատակագծերի ստեղծման (կազմման) ընթացքում, ավելի խոշոր մասշտաբի հանույթների օգտագործման դեպքերում, ռելիեֆի անկման բարձրությունը, եթե այն անհրաժեշտ է և տեխնիկապես հիմնավորված է, կարող է հավասար լինել հիմք ծառայող տեղագրական հանույթի վրայի ռելիեֆի անկման բարձրությանը:
2.12 Ուրվագծային մեծ ծանրաբեռնվածության դեպքում, օրինակ, ստորգետնյա հաղորդակցուղիների և տարբեր վերգետնյա խողովակաշարերի առկայության դեպքում, հատակագծերը կարելի է պատկերել մասնատված տարրերի միջոցով 2 կամ 3 իրար հետ համատեղված թերթերի վրա: Այդպիսի հատակագծերի թղթե պատճենների համար խորհուրդ է տրվում բույթային (կրկնվող համարներով) միացում:
2.13 20 քառ. կմ-ից ավել մակերեսով տարածքների վրա ստեղծվող 1:5000 և 1:2000 մասշտաբով հատակագծերի դասավորության հիմք է ընդունվում 1:100 000 մասշտաբի քարտեզի թերթը, որը 1:5000 մասշտաբի հանույթների համար բաժանվում է 256 մասի, իսկ 1:2000 մասշտաբի հանույթի համար 1:5000 մասշտաբի հատակագծի թերթը բաժանվում է 9 մասի:
1:5000 մասշտաբի հատակագծի թերթի անվանահամարը (այսուհետ՝ նոմենկլատուրա) ստեղծվում է 1:100 000 մասշտաբի քարտեզի թերթի և փակագծերում վերցված 1:5000 մասշտաբի հատակագծի թերթի նոմենկլատուրայից: Օրինակ՝ K-38-112-(124):
1:2000 մասշտաբի հատակագծի թերթի նոմենկլատուրան կազմում է 1:5000 մասշտաբի հատակագծի թերթի նոմենկլատուրային ավելացնելով ռուսական այբուբենի առաջին 9 սկզբնատառերից (а, б, в, г, д, е, ж. з, и) մեկով՝ փակագծում գրվող թվի հետ: Օրինակ՝ K-38-112-(124a):
Վերը բերված տեղագրական հատակագծերի շրջանակների (ռամկայի) չափսերը և նրանց դասավորությունը սահմանվում է համաձայն հավելված 3-ում բերված տվյալների:
Տեղագրական հանույթների համար շրջանակների (ռամկայի) չափսերը
Հավելված 3
Մասշտաբներ |
Շրջանակների չափսերը | |
լայնությունով |
երկայնությունով | |
1:5000 |
1/ 15.0// |
1/ 52.5// |
1:2000 |
25.0// |
37.5// |
Հատակագծերի վրա պետք է ցույց տրվի ուղղանկյուն կոորդինատների ցանցը, որոնց գծերը իրարից հեռու են գտնվում 10 սմ-ով:
2.14 Որպես կանոն քաղաքների և գյուղական բնակավայրերի 20 քառ. կմ-ից փոքր մակերեսով տեղամասերի, ինչպես նաև 1:1000 և 1: 500 մասշտաբի հատակագծերի ստեղծման համար միշտ կիրառվում է ուղղանկյուն դասավորություն: 1:5000 մասշտաբի համար շրջանակի չափսերը կազմում են 40X40 սմ, 1:2000, 1:1000 և 1:500 մասշտաբների համար՝ 50X50 սմ: Այս դեպքում դասավորության հիմք պետք է ընդունվի 1:5000 մասշտաբի հատակագծի թերթը, որը նշանակվում է արաբական թվերով: Նրան համապատասխանում է 1:2000 մասշտաբի հատակագծի 4 թերթ, որից յուրաքանչյուրը ավելացվում է 1:5000 մասշտաբի թվին ռուսական այբուբենի առաջին չորս սկզբնատառերից մեկը (A, Б, B, Г): Օրինակ՝ 4-Б:
1:2000 մասշտաբի հատակագծի թերթին համապատասխանում է 1:1000 մասշտաբի 4 թերթ, որոնք համարակալվում են հռոմեական թվերով (I, II, III և IV) և 1:500 մասշտաբի հատակագծի 16 թերթ, որոնք համարակալվում են արաբական թվերով (1, 2, 3...16):
1:1000 և 1:500 մասշտաբի հատակագծերի թերթերի նոմենկլատուրան կազմվում է 1:2000 մասշտաբի հատակագծի թերթի նոմենկլատուրայից ավելացնելով 1:1000 մասշտաբի հատակագծի թերթի համապատասխան հռոմեական թվի համարը կամ 1:500 մասշտաբի համապատասխան հատակագծի թերթի արաբական թիվը: Օրինակ՝ 4-Б-IV և 4-Б-16 (տես հավելված N 1):
Բնակավայրերի հանույթագրման ժամանակ ուղղանկյուն սյունակավորումն անհրաժեշտ է ստեղծել հաշվի առնելով նրանց հեռանկարային զարգացումը: Քաղաքային տարածքներում, որտեղ սյունակավորումը հաստատված է, այն պետք է պահպանել:
Ուղղանկյուն սյունակավորում են կիրառում նաև այն հատակագծերի համար, որոնք ստեղծվել են մելիորատիվ շինարարության նպատակներով 20 քառ. կմ-ից ավել տարածքների վրա:
Հատակագծերի թերթերի սյունակավորումն անպայման հիմնավորվում է տեխնիկական նախագծում (ծրագրում):
2.15 Առարկաների և ուրվագծերի պլանային դիրքի միջին սխալանքները տեղանքի ցայտուն ուրվագծերի հանդեպ հանույթային ցանցի մոտակա կետերի նկատմամբ չպետք է գերազանցի 0.5 մմ, իսկ լեռնային և բնակելի տարածքներում - 0.7 մմ՝ ստեղծվող հատակագծի մասշտաբում: Կապիտալ և բարձրահարկ կառուցապատված տարածքներում հատակագծի վրա գտնվող մոտակա ուրվագծերի կետերի փոխադարձ դիրքի առավելագույն սխալանքը չպետք է գերազանցի 0.4 մմ՝ հատակագծի մասշտաբում:
2.16 Հանույթում ռելիեֆի արտահայտման միջին սխալանքները հանույթային ցանցի մոտակա կետերի համեմատ չպետք է գերազանցի.
- 20 թեքման անկյան դեպքում - հորիզոնականների անկման ընդունված մեծության 1/4 չափով,
- 20-ից - 60 թեքման անկյան դեպքում 1:5000 և 1:2000 մասշտաբի հատակագծերի համար և 20-ից - 100 թեքման անկյան դեպքում 1:1000 և 1:500 մասշտաբի հատակագծերի համար - հորիզոնականների անկման ընդունված մեծության 1/3 չափով,
- 0.5 մ ռելիեֆի անկման դեպքում 1:5000 և 1:2000 մասշտաբի հատակագծերի համար - հորիզոնականների անկման ընդունված մեծության 1/3 չափով:
Տեղանքի անտառածածկ տարածությունների համար թույլատրվում է վերը նշված թույլատրելի սխալանքը մեծացնել 1.5 անգամ:
Այն տարածքներում, որտեղ թեքման անկյունները մեծ են 60-ից 1:5000 և 1:2000 մասշտաբի հատակագծերի և 100-ից 1:1000 և 1:500 մասշտաբի հատակագծերի համար հորիզոնականների թիվը պետք է համապատասխանի բարձրությունների տարբերությանը, որոշված լանջերի կտրտվածքներում, իսկ բարձրության միջին սխալանքը, որոշված ռելիեֆի բնորոշ կետերի վրա, չպետք է գերազանցի 1/3 ռելիեֆի անկման բարձրությունից:
2.17 Տեղագրական հատակագծերի ստեղծման ընթացքում, որպես բացառություն, թույլատրվում է տեղանքի ուրվագծերի և ռելիեֆի արտահայտման ճշտության իջեցում կամ բարձրացում: Այդ դեպքերում հատակագծերի շրջանակների արևմտյան մասում անպայման նշվում են հանույթի ճշտությունը և կազմման եղանակը:
2.18 Հատակագծերի ճշտությունը գնահատվում է կետերի ուրվագծերի պլանային դիրքի և բարձրությունների, հաշված հորիզոննականներով, ստուգիչ չափումների տվյալներով:
Միջին սխալանքների հաշվարկումից առաջ անհրաժեշտ է համոզվել, որ ստուգիչ չափումների ընդհանուր քանակը 10%-ից ոչ ավելին է կրկնապատկված միջին սխալանքից (տես 2.15 և 2.16), և 5%-ից ոչ ավել է գերազանցում այդ արժեքը:
2.19 Տեղագրական հանույթների գեոդեզիական հիմքը ստեղծվում է համաձայն գործող հրահանգների և դրույթների:
2.20 Խոշորամասշտաբ հանույթների համար որպես գեոդեզիական հիմք կարող են ծառայել հետևյալ գեոդեզիական կառուցվածքները.
2.20.1 Պետական գեոդեզիական ցանցերը՝
- 1.2.3 և 4 դասերի եռանկյունավորման և պոլիգոնոմետրիայի,
- I, II, III և IV դասերի նիվելիրացման:
2.20.2 Գեոդեզիական խտացման ցանցերը՝
- 1 և 2 կարգի եռանկյունավորման և պոլիգոնոմետրիական,
- տեխնիկական նիվելիրացման:
2.20.3 Հանույթային հիմք - պլանային, բարձունքային և պլանաբարձունքային հանույթային ցանցեր կամ առանձին կետեր, ինչպես նաև ֆոտոգրամետրիական խտացման կետեր:
2.21 Բացառիկ դեպքերում տեղագրական հանույթները թույլատրվում է կատարել միայն հանույթային հիմքի հիման վրա, եթե տարածքի վրա կամ նրա մոտակայքում մինչև 5 կմ հեռավորության վրա բացակայում են պետական գեոդեզիական ցանցի կետերը և եթե տարածքի վրա մոտակա ժամանակահատվածում չեն կատարվելու տեղագրական հանույթներ:
Միայն հանույթային հիմքի վրա հանույթագրվող տարածքի մակերեսը չպետք է գերազանցի՝
- 1:5000 մասշտաբի համար - 20 քառ. կմ,
- 1:2000 և ավելի խոշոր մասշտաբների համար - 10 քառ. կմ: Քաղաքներում միայն հանույթային հիմքի վրա չի թույլատրվում կատարել հանույթ:
Ինքնուրույն հանույթային ցանցերը կողմնորոշվում են դիրեկցիոն անկյունով, որոշված 1' միջին քառակուսային սխալանքով:
Մինչև 5 քառ. կմ մակերես ունեցող տարածքների վրա 1:5000, 1:2000 մասշտաբի հանույթների համար հանույթային ցանցերն անհրաժեշտ է կողմնորոշել մագնիսական ազիմուտով:
2.22. Հանույթային հիմքի կետերի կոորդինատները և բարձրությունները հաշվարկվում են պետական գեոդեզիական կոորդինատային համակարգում և բարձրությունների 1977 թ. Բալթիական բարձունքային համակարգում:
Այլ կոորդինատային և բարձունքային համակարգեր կարող են կիրառվել միայն համաձայնեցնելով կադաստրի կոմիտեի հետ, տեխնիկատնտեսական հիմնավորման առկայության դեպքում, հաշվի առնելով տվյալ տարածքի զարգացման հեռանկարը:
Քաղաքներում, արտադրական համալիրների տարածքներում, գործող լեռնամշակման և այլ կազմակերպություններում բոլոր նոր հանույթները կատարվում են, որպես կանոն, նախկինում ընդունված կոորդինատային համակարգում:
Տեղագրական հանույթների համար կազմված տեխնիկական նախագծերում (ծրագրերում) կոորդինատային և բարձունքային համակարգերի հարցերը պետք է համաձայնեցված լինեն կադաստրի կոմիտեի հետ:
2.23 Գեոդեզիական ցանցերի խտությունը պետք է համապատասխանի հանույթի մասշտաբին, ռելիեֆի անկումների բարձրությանը, ինչպես նաև գեոդեզիական, մարկշեյդերական, մելիորատիվ, հողաշինարարական և այլ աշխատանքների ճշտության աստիճանի ապահովման պահանջներին, ինչպես հետազոտման և շինարարության նպատակների համար, այնպես էլ կառույցների հետագա շահագործման համար:
Գեոդեզիական հիմքի խտացումը, որպես կանոն, կատարվում է ընդհանուրից մասնավորը, բարձր դասից (կարգից) ցածրին: Անհրաժեշտ է ձգտել գեոդեզիական կառույցների բազմաստիճանության կրճատմանը և տեղանքում զարգացնել միադաս (միակարգ) ցանցեր, կիրառելով ժամանակակից գեոդեզիական գործիքներ:
Ցանցի անհրաժեշտ խտությունը միադաս (միակարգ) կառույցների դեպքում ապահովվում է կողմերի երկարությունների փոքրացումով:
Խոշորամասշտաբ հանույթների գեոդեզիական հիմքի ստեղծման դեպքում տվյալ դասի (կարգի) կառույցների զարգացման համար, որպես կանոն ելակետեր կարող են ծառայել, միայն բարձր դասի գեոդեզիական կառույցների կետերը:
2.24 Պետական գեոդեզիական և բարձունքային ցանցի կետերի միջին խտությունը հանույթային հիմքի համար, տեղագրական հանույթների ստեղծման նպատակով, պետք է համապատասխանի ըստ նշանակության, որոնք տրված են N 4-րդ հավելվածում:
Տեղագրական հանույթների ստեղծման նպատակով հանույթային հիմքի համար պահանջվող պետական գեոդեզիական եվ բարձունքային ցանցերի խտությունը
Հավելված 4
Հանույթի մասշտաբը |
Տարածքի մակերեսը, որի վրա պետք է գտնվի պետական գեոդեզիական (բարձունքային) ցանցի 1 կետ, քառ. կմ | |
Կառուցապատված և մոտ տարիներին |
Այլ տարածքներ | |
1:5000 |
5/5 |
20-30/10-15 |
1:2000 և խոշոր |
5/5 |
5-15/5-7 |
2.25 Խոշորամասշտաբ հանույթների գեոդեզիական հիմքի խտացման հետագա ավելացումն, անհրաժեշտության դեպքում, ստացվում է գեոդեզիական խտացման ցանցերի և հանույթային հիմքի զարգացումով:
Գեոդեզիական հիմքի խտությունը պետք է համապատասխանի հանույթի կատարման անմիջական պահանջների ապահովմանն, այս կամ այն եղանակներով, նկարագրված համապատասխան բաժիններում:
2.26 Գեոդեզիական կետերը, որոնք տեղադրված են տեղագրական հանույթների գեոդեզիական հիմքի զարգացման համար, ակտով հանձնվում են տեղական ինքնակառավարման մարմինների ղեկավարներին` պահպանման, համաձայն «Գեոդեզիական կետերի պահպանման հրահանգի»:
2.27 Տեղագրական հանույթները, կախված նրանց նշանակությունից, բազմացվում են թվային ինֆորմացիայի դուրս բերման եղանակով գրաֆիկական պլոտերի վրա կամ պատրաստվում են հրատարակման ավանդական եղանակներով օֆսեթային տպագրման միջոցներով: Հանույթի հատակագծերի համար, կատարված ոչ մեծ տարածքների վրա, միանվագ օգտագործման համար թույլ է տրվում հեշտացված ձևավորումը, դեկոլների և տառաշարի լուսաշարվածքի կիրառմամբ:
2.28 Շրջանակից դուրս գտնվող ձևավորումը խոշորացված պատճենների վրա պետք է համապատասխանի օրինակին, նախատեսված ստացվող տեղագրական հատակագծի մասշտաբի պատճենի ձևավորման համար, իսկ դուրս բերման տվյալներում պետք է նշվի ելման բնօրինակի հանույթի մասշտաբը և աշխատանքի կատարման տարեթիվը: Օրինակ «Պատճենն ստացված է... թվի 1:5000 հանույթի հատակագծի խոշորացմամբ»:
2.29 Ամեն տեղագրական հանույթ պետք է ունենա տեղեկամատյան (ֆորմուլյար)- փաստաթուղթ, որի մեջ գրանցվում են բոլոր հիմնական տվյալները ընտրված տեխնոլոգիայի վերաբերյալ և հանույթի ճշտությունը, բերվում են տեղեկություններ ընդունված կոորդինատային և բարձունքային համակարգերի վերաբերյալ (տես հավելված 33):
Տարածքում իրականացված աշխատանքների վերաբերյալ բոլոր տեղեկությունները տրվում են տեխնիկական հաշվետվության մեջ:
2.30 Խոշոր մասշտաբի տեղագրական հանույթների ստուգումը և ընդունումը կատարվում է սահմանված կարգով:
2.31 Տեղագրական հանույթի կատարմանը պետք է նախորդի տեխնիկական նախագծի (ծրագրի) կազմումը:
Աշխատանքները ավարտելուց հետո կազմվում է տեխնիկական հաշվետվություն:
2.32 Այն անձինք, որոնք զբաղվում են խոշորամասշտաբ տեղագրական հանույթներով, պարտավոր են անցնել վերապատրաստում համապատասխան դաշտային տեղագրագեոդեզիական աշխատանքներում տեղանքի պայմաններին, հանույթվող օբյեկտների և օգտագործվող տրանստորտային միջոցների նկատմամբ անվտանգության տեխնիկայի վերաբերյալ:
3. ՏԵՂԱԳՐԱԿԱՆ ՀԱՏԱԿԱԳԾԵՐԻ ՆՇԱՆԱԿՈՒԹՅՈՒՆԸ
3.1 1:500 մասշտաբի տեղագրական հատակագծերը նախատեսվում են հետևյալ նպատակների համար՝
1) շինարարական տարածքի գլխավոր հատակագծի կազմման և բարձրահարկ կապիտալ կառույցների բանվորական գծագրերի համար, որոնք ունեն ստորգետնյա հաղորդակցուղիների խիտ ցանց, արդյունաբերական կազմակերպությունների, ուղղաձիգ հարթման աշխատանքների համար, ստորգետնյա ցանցերի հատակագծերի կազմման, ինչպես նաև կառույցների և շինությունների կապակցումը քաղաքի կառուցապատված տարածքների հետ;
2) պատվարների, շուրջօրյա կարգավորման ջրավազանների գլխավոր հանգույցների, հավասարակշռման հորերի, ճնշումային խողովակաշարերի, ՀԷԿ-ի կառույցների, թունելների շքամուտքերի բանվորական (աշխատանքային) գծագրերի կազմման համար;
1:500 մասշտաբի տեղագրական հանույթների իրականացման անհրաժեշտությունը պետք է հիմնավորված լինի ճարտարագիտական հաշվարկներով կամ ՆՏՓ-ով:
3.2 1:1000 մասշտաբի տեղագրական հատակագծերը նախատեսվում են հետևյալ նպատակների համար՝
1) ոչ կառուցապատված տարածքների կամ մեկ հարկանի շինություններով կառուցապատված տարածքների տեխնիկական նախագծերի և բանվորական (աշխատանքային) գծագրերի կազմման համար;
2) ուղղաձիգ հարթման աշխատանքների որոշման և տարածքի կանաչապատման նախագծերի կազմման համար;
3) գոյություն ունեցող ստորգետնյա ցանցերի և կառույցների հատակագծերի կազմման համար, ինչպես նաև կառույցների և շինությունների կապակցումը շինարարական տեղամասերի հետ;
4) բետոնե պատվարների, ՀԷԿ-ի կառույցների բանվորական (աշխատանքային) գծագրերի կազմման համար;
5) գոյություն ունեցող և նոր կառուցվող երկաթգծերի կայարանների և հանգույցների նախագծերի մշակման և նրանց վերակառուցման համար;
6) բացառապես բարդ շինություններով և չընդգծված հանքերակներով, միջերակներով, խողովակային և հանքաքարերի բներով հանքավայրերի (տարբեր հանքավայրերի և այլն) օգտակար հանածոների պաշարների հաշվարկման և մանրամասն հետախուզման համար;
7) բարդ ճարտարագիտական հետազննության համար;
8) բետոնե հիմքերի վրա գտնվող ճնշումային խողովակաշարերի, 2 հա-ից ավել մակերեսի վրա հիդրոտեխնիկական կառույցների, առանձին կառույցների համար հատկացված տարածքների, ֆիլտրացման դաշտերի, կոյուղու և ջերմամատակարարման նախագծման համար;
9) լեռնամշակման և հարստացուցիչ կազմակերպությունների նախագծման և շինարարության համար բանվորական (աշխատանքային) գծագրերի մշակման համար;
10) լեռնամշակման կազմակերպությունների երկրաբանական սպասարկման համար:
3.3 1:500 և 1:1000 մասշտաբի հանույթները հանդիսանում են ստորգետնյա հաղորդակցուղիների հաշվառման հիմնական հատակագծեր և առանց բացառության պետք է ճշգրիտ արտացոլեն բոլոր ստորգետնյա հաղորդակցուղիների պլանային և բարձունքային դիրքը և նրանց հիմնական տեխնիկական բնութագրերը:
3.4 1:2000 մասշտաբի տեղագրական հատակագծերը նախաատեսվում են հետևյալ նպատակների համար՝
1. փոքր քաղաքների, քաղաքատիպ ավանների և գյուղական բնակավայրերի գլխավոր հատակագծերի մշակման համար;
2. կառուցապատման էսկիզների և մանրամասն ուղղաձիգ հարթման նախագծերի մշակման համար, քաղաքային արդյունաբերական շրջանների պլանավորման նախագծերի կազմման համար, քաղաքների գլխավոր հատակագծերի մշակման փուլում առավել բարդ տրանստորտային հանգույցների նախագծման համար;
3. լեռնամշակման կազմակերպությունների կատարողական հատակագծերի կազմման համար;
4. ջերմաէլեկտրակայանների, ջրաբաշխման, հիդրոտեխնիկական կառույցների հիմնական ընդունված տարբերակների տեխնիկական նախագծերի կազմման համար;
5. ջրատարների ուղեգծերի և լեռնային տարածքներում խողովակաշարերի անցկացման տեխնիկական նախագծերի կազմման համար;
6. փակ դրենաժների չորացման, օժանդակ արտադրատնտեսական շենքերի և բնակարանային շինարարության, «ջրատար-գոտու» շինարարության, ջրատարի առանցքի 100-ից մինչև 400 մ ուղղությամբ տեղանքի առավելագույնս բարդ ռելիեֆի պայմաններում կամ երկրաբանական շինությունների բանվորական (աշխատանքային) գծագրերի կազմման համար;
7. տեխնիկական նախագծման փուլում լեռնային տարածքներում երկաթուղիների և ավտոճանապարհների նախագծման և հարթավայրային տարածքներում բանվորական (աշխատանքային) գծագրերի կազմման համար:
3.5 1:5000 մասշտաբի տեղագրական հատակագծերը նախատեսվում են հետևյալ նպատակների համար՝
1. խոշոր, միջին և փոքր քաղաքների գլխավոր հատակագծերի մշակման և շինարարության տեղաբաշխման առաջին հերթի նախագծերի կազմման համար, 1000 հա-ն գերազանցող արդյունաբերական տարածքների հատակագծման նախագծերի կազմման, խոշոր քաղաքների գլխավոր հատակագծերում տրանսպորտային բարդ բաժանումների նախագծերի կազմման, խոշոր, միջին և փոքր քաղաքների համակարգում նախագծվող բնակելի և արտադրական տարածքների սխեմաների դասավորության, ճարտարագիտական կառուցվածքների ընդհանուր հատակագծերի և ճարտարագիտական միջոցառումների մշակման համար և այլն;
2. մեծ քաղաքային տեղամասերի բարդ հանգույցների հատակագծման նախագծերի կազմման համար;
3. արդյունաբերական և լեռնաարդյունաբերական կազմակերպությունների տեխնիկական նախագծերի կազմման համար;
4. ծովային նավահանգիստների, նավաշինարական գործարանների ընդհանրացված գլխավոր հատակագծերի կազմման համար;
5. III խմբի հանածոների հանքավայրերի նախնական հետախուզական աշխատանքների համար;
6. մետաղական և ոչ մետաղական (ածուխ, վառելիք) I և II խմբերի օգտակար հանածոների հանքավայրերի մանրամասն հետախուզական աշխատանքների համար;
7. ոչ մետաղական III խմբի օգտակար հանածոների (կարբոնատային ապառների, ֆոսֆորի, ավազի և խճի) հանքավայրերի մանրամասն հետախուզական աշխատանքների համար;
8. նավթի և գազի հանքավայրերի համար մարկշեդերական գլխավոր հատակագծերի կազմման, հանքավայրերի սարքավորվածության նախագծման և լեռնատեխնիկական խնդիրների որոշման, հողային և լեռնային հատկացումների համար;
9. հողային կադաստրի, բարդ պայմաններ և գյուղատնտեսական փոքր հողատեսքեր ունեցող տարածքներով ինտենսիվ աշխատող տնտեսությունների հողաշինարարության համար;
10. մինչև 15 քառ. կմ մակերեսային և անձրևային եղանակներով ջրվող ամբողջ ոռոգվող զանգվածների, տիպային ոռոգվող տարածքների տեխնիկական նախագծերի կազմման համար, կարգավորող ջրընդունիչների, 0.5 - 3.0 քառ. կմ ջրածածկ ունեցող ջրամբարների, բաց ջրատարներով չորացվող տիպարային հատվածների, գրունտային ջրերով ճահճացած միկրոռելիեֆով, բնական դժվարանցանելի, միջին և բարդ տարածքների տեխնիկական նախագծերի կազմման համար;
11. բաց ջրատարներով բնական բարդ պայմաններում գտնվող չորացվող զանգվածների, շինարարական նյութերի հրապարակների, կամրջային փոխանցումների և շինանյութերի բաց հանքերի բանվորական (աշխատանքային) գծագրերի կազմման համար;
12. տեղանքի բարդ ռելիեֆի պայմաններում, խոշոր բնակելի տարածքներին մոտեցման և ուրիշ բարդ իրադրությունների դեպքերում ավտոմոբիլային ճանապարհների կամերալ նախագծման համար;
13. էլեկտրահաղորդիչ գծերի, նրանց հատումների և կառուցվածքներին մոտեցման տեղամասերի նախագծման համար;
14. ցածր, հարթավայրային և լեռնային գետերի վրա հիդրոցանցերի նախագծման և շինարարության համար;
15. կառուցապատված տարածքներում ջրամբարների նախագծային ուրվագծային սահմանները և տեղանքում զբաղեցված տնկարանների (պտղատու, հատապտուղային և խաղողի այգիների) սահմանները որոշելու համար;
16. նախագծվող երկաթուղային և ավտոմոբիլային ճանապարհների (լեռնային շրջաններում ուղղության ընտրության, հարթավայրային և բլրոտ շրջաններում ընդունված ուղղություններով) տեխնիկական նախագծերի համար;
17. մայրուղային ջրանցքների (նավաերթևեկելի, ջրմուղային, էներգետիկ) նախագծման և շինարարության համար, 1 - 2 կմ լայնակի շերտով հարթավայրային կտրտված և բլրոտ կամ խիտ բնակեցված տարածքների տեխնիկական նախագծերի համար:
Տեղագրական 1:5000 մասշտաբի հատակագծերը, որոնք ստացվել են տեղագրական հանույթներից, ծառայում են որպես հիմք ավելի մանր մասշտաբների տեղագրական և հատուկ հատակագծեր, քարտեզներ կազմելու համար;
3.6 կախված տեղագրական հատակագծերի նշանակությունից (կետ 3.1, 3.2, 3.4, 3.5) սահմանվում են տեղագրական հանույթների մասշտաբները: Այդ դեպքում նախատեսվում է, որ բնակեցված տարածքների տեղագրական հանույթը կախված քարտեզագրվող տարածքի տեսակից կատարվում է միայն երկու մասշտաբներով՝
1. 1:2000 և 1:500 - բազմահարկ կառուցապատված կամ խոշոր քաղաքների (I տիպի) տարածքները,
2. 1:5000 և 1:1000 - մեծամասամբ մեկ հարկանի կառուցապատված կամ ոչ կառուցապատված (II տիպի) տարածքները:
3.7 1:500 - 1:5000 մասշտաբի հանույթները կարող են կատարվել նաև այլ դեպքերում, բացի սույն բաժնով նախատեսվածից, եթե այդ հանույթների կարիքը հիմնավորված է:
4. ՏԵՂԱԳՐԱԿԱՆ ՀԱՏԱԿԱԳԾԵՐԻ ԲՈՎԱՆԴԱԿՈՒԹՅՈՒՆԸ
4.1. Սույն հրահանգի 2.8. կետին համապատասխան 1:500, 1:1000, 1:2000 և 1:5000 մասշտաբի տեղագրական հատակագծերի վրա կախված նրա մասշտաբից, հավաստի և անհրաժեշտ ճշտությամբ ու մանրամասնությամբ պետք է արտացոլվեն՝
1) Պետական գեոդեզիական ցանցի կետերը, գրունտային հենանիշերը (ռեպերները) և տեղանքում ամրացված հանույթային ցանցի կետերը (տեղադրվում են կոորդինատներով), 1:5000 մասշտաբի հատակագծերի վրա կարող են ցույց չտրվել շենքերի պատերի վրա ամրացված գեոդեզիական խտացման ցանցերի կետերը, ինչպես նաև բազային հենանիշերը (ռեպերները) և դրոշմանիշերը (մարկաները):
2) Շենքերը, բնակելի և ոչ բնակելի շինությունները, նշելով նրանց նշանակությունը, նյութը, հարկայնությունը: Շինությունները, որոնք երևում են հատակագծերի մասշտաբում, պատկերվում են նրանց ուրվագծերով և ձեղնահարկերի (ցոկոլի) չափերով:
Շենքերի ճարտարապետական ձևավորումները՝ դուրս ընկած և ներս ընկած մասերը, եթե հատակագծի վրա նրանց պատկերման մեծությունը 0.5մմ է և ավելին:
3) Արտադրական օբյեկտները - շինությունների համալիրները և գործարանների կառույցները, էլեկտրակայանների, հանքերի և այլն, շահագործման հորերը, նավթային և գազային աշտարակները, վերգետնյա խողովակաշարերը, ցիստեռնները, բարձր և ցածր լարման էլեկտրական գծերը, հորերը և ստորգետնյա հաղորդակցուղիները, կոմունալ տնտեսության օբյեկտները:
Ստորգետնյա խողովակաշարերի 1:5000 մասշտաբի հատակագծերի վրա անպայման պետք է արտացոլվեն միայն նավթա-գազա և ջրատարերը, որոնց դիրքը հատակագծից վեր անց է կացվում կոորդինատներով:
1:500-1:2000 մասշտաբի հատակագծերի վրա ստորգետնյա խողովակաշարերը ցույց են տրվում այն դեպքում, եթե գոյություն ունի համապատասխան մասշտաբի կատարողական հանույթ կամ ստորգետնյա հաղորդակցուղիների հանութագրման հատուկ առաջադրանք:
4) Երկաթուղային, մայրուղային և գրունտային բոլոր տեսակի ճանապարհները և նրանց կից շինությունները - կամուրջները, թունելները, ճանապարհաշարերը և այլն:
5) Հիդրոգրաֆիական օբյեկտները՝ գետերը, լճերը, ջրամբարները, ջրահեռացման և ջրամատակարարման գծերը և այլն: Առափնյա գծերը պատկերվում են հանույթագրման պահին եղած ձևով:
6) Հիդրոտեխնիկական և ջրային տրանսպորտի օբյեկտները՝ ջրատարները, պատվարները, առուները, ծովապատնեշները, ջրարգելակները:
7) Ջրամատակարարման օբյեկտները՝ հորեր, սյունիկներ, պահեստարաններ, պարզունակ բնական աղբյուրներ և այլն:
8) Տեղանքի ռելիեֆը արտահայտված հորիզոնականներով, բարձրությունների նիշերը և ձորակների, լեռների, քարաթափվածքների, սողանքների սառցադաշտերի և այլն արտացոլված պայմանական նշաններով: Միկրոռելիեֆի ձևերը պատկերվում են կիսահորիզոնականներով կամ լրացուցիչ հորիզոնականներով տեղանքի բարձրությունների նիշերով:
9) Անտառածածկը, թփուտները, բուսածածկը, կուլտուրային բուսականությունը (անտառներ, այգիներ, տնկարաններ և այլն) առանձին կանգնած ծառերը և թփերը` 1:500 և 1:1000 մասշտաբի հատակագծերի կազմման ժամանակ լրացուցիչ պահանջներով կարող է հանույթագրել ամեն ծառը, ցույց տալով գրառումները և նրա տեսակը:
10) Երկրի մակերևույթի գրունտները և միկրոձևերը՝ ավազ, ծալաքարուտ, կավեր, խճեր, միաքար, բազմանկյուն և այլ մակերևույթները, ճահիճները և աղուտները:
11) Սահմանները՝ վարչատարածքային, հողօգտագործման և արգելանոցային, զանազան ցանկապատերը: Համայնքային և քաղաքային վարչատարածքային սահմանները անց են կացվում եղած շրջադարձային կետերի կոորդինատներով կամ եղած քարտեզագրական նյութերի հիման վրա:
Տեղագրական հանույթների վրա արտահայտվում են բնակավայրերի, փողոցների, երկաթուղային կայարանների, անտառների, լեռնանցքների, հարթավայրերի բարձունքների, ձորակների և այլ աշխարհագրական օբյեկտների անվանումները:
4.2. Տեղագրական հատակագծերի մշակման ընթացքում և նրանց վրա գրագրումների ձևերի որոշման ժամանակ խորհուրդ է տրվում առաջնորդվել պայմանական նշաններով, գործող հրահանգներով, կանոնակարգերով և բառարաններով:
4.3. Այն տարածքներում, որտեղ գոյություն ունեն կամ նախատեսվում են կատարել 1:500 և 1:1000 մասշտաբի հանույթներ, թույլատրվում է (լրացուցիչ պահանջների բացակայության դեպքում) 1:2000 և 1:5000 մասշտաբի հատակագծերի վրա ցույց չտալ առանձին օբյեկտները:
5. ՏԵՂԱԳՐԱԳԵՈԴԵԶԻԱԿԱՆ ԱՇԽԱՏԱՆՔՆԵՐԻ ՏԵԽՆԻԿԱԿԱՆ ՆԱԽԱԳԾՈՒՄԸ ՏԵՂԱԳՐԱԳԵՈԴԵԶԻԱԿԱՆ ՆՅՈՒԹԵՐԻ ՈՒՍՈՒՄՆԱՍԻՐՈՒՄԸ
5.1. Տեղագրագեոդեզիական աշխատանքների իրականացման համար հիմք է հանդիսանում տեխնիկական առաջադրանքը և տեխնիկական նախագիծը կամ աշխատանքների ծրագիրը:
Տեխնիկական նախագծի կամ աշխատանքների ծրագրի կազմման անհրաժեշտությունը որոշվում է համաձայն տեխնիկական առաջադրանքի, տեղագրագեոդեզիական և քարտեզագրական աշխատանքների հրահանգների պահանջներին համապատասխան:
Աշխատանքների փոքր ծավալների կամ նրանց պարզ տեխնիկական լուծման դեպքերում, որպես կանոն, կազմվում է աշխատանքների ծրագիր, որը պարունակում է աշխատանքների նշանակության կրճատ շարադրանքը, նրանց կազմը, ելակետային տվյալների մասին տեղեկություններ և եղած նյութերի օգտագործումը, նախագծման աշխատանքների տեղադրման սխեմաները, նրանց ծավալները և նախահաշիվները:
5.2. Տեխնիկական նախագիծը (ծրագիրը) մի փաստաթուղթ է, որը որոշում է նախատեսվող աշխատանքների ցանկը, ծավալը, աշխատանքային ծախսերը, նախահաշիվը, հիմնական տեխնիկական պահանջները, նախագծված աշխատանքների կատարման ժամկետները:
5.3. Տեխնիկական նախագիծը պետք է նախատեսի աշխատանքների ամբողջ համալիրը, որոնք անհրաժեշտ են տեղագրական հատակագծերի ստեղծման համար և բավարարում են տեխնոլոգիական հրահանգների պահանջներին:
Բոլոր տեսակի տեղագրական հանույթների կատարման համար տեխնիկական նախագծի մեջ անհրաժեշտ է հիմնավորել մասշտաբի ընտրությունը և ռելիեֆի անկման բարձրությունը:
Տեղագրական հանույթի մասշտաբները և ռելիեֆի անկումը որոշվում են կախված տեղագրական հանույթների օգտագործման նպատակից և նշանակությունից, որոնք բավարարում են սույն հրահանգի 3 բաժնի պահանջներին, հետագա ճարտարագիտական աշխատանքների նկատմամբ պահանջվող ճշտության աստիճանն ապահովելու համար: Ռելիեֆի անկման բարձրության ընտրության ժամանակ պետք է հաշվի առնվի ռելիեֆի թեքությունը և լանջերի զառիթափությունը:
Աշխատանքների տեխնիկական նախագծումը կատարվում է գործող համընդանուր և գերատեսչական նորմատիվային ակտերի պահանջներին համապատասխան:
5.4. Տեխնիկական նախագիծը բաղկացած է տեքստային, գրաֆիկական և նախահաշվային մասերից:
5.4.1. Տեխնիկական նախագծի տեքստային մասում արտացոլում են.
1) նախագծվող աշխատանքների նպատակը և նշանակությունը,
2) աշխատանքային տեղամասի կրճատ ֆիզիկա-աշխարհագրական բնութագիրը,
3) աշխատանքային տեղամասի տեղագրագեոդեզիական ապահովության ուսումնասիրումը,
4) պլանաբարձունքային հիմքի կառուցման ձևերի անհրաժեշտության և հանույթի մասշտաբի ընտրության հիմնավորումները,
5) աշխատանքների կատարման կազմակերպումը և ժամկետները, անվտանգության տեխնիկայի կիրառվող միջոցառումները,
6) աշխատանքների ավարտից հետո հանձնման ենթակա տեղագրագեոդեզիական, քարտեզագրական և այլ նյութերի ցուցակը:
5.4.2. Նախագծի գրաֆիկական մասում տրվում է`
1) ուսումնասիրված տեղագրական և քարտեզագրական նյութերի վրա հանույթվող տեղամասի սահմանները և ելակետային գեոդեզիական տվյալները,
2) պլանաբարձունքային գեոդեզիական ցանցի նախագիծը,
3) տեղագրական հանույթի սյունակավորումը, հանույթային թերթերի դասավորությամբ:
5.4.3. Նախագծի նախահաշվային մասում տրվում է աշխատանքների համար անհրաժեշտ նյութական ծախսերի հաշվարկը:
5.5. Տեխնիկական նախագծի կազմումը պետք է կատարվի նախկինում կատարված տեղագրագեոդեզիական և աերոֆոտոհանույթային աշխատանքների ուսումնասիրման հիման վրա:
Նախատեսվող տեխնիկական նախագծով հիմնական աշխատանքների կատարմանը, պետք է նախորդի տեղագրագեոդեզիական նյութերի ուսումնասիրումը և հետազոտումը:
5.5.1. Տեղագրագեոդեզիական նյութերի ուսումնասիրման և հետազոտման արդյունքում ճշտվում են՝
1) Աշխատանքային օբյեկտի տեղագրագեոդեզիական ուսումնասիրվածությունը (նախկինում իրականացված աշխատանքների արդյունքում ստացված նյութերի առկայությունը և նրանց կատարման տարեթիվը), նրանց քանակը և համապատասխանությունը ժամանակակից տեխնիկական պահանջներին,
2) Տեղագրագեոդեզիական նյութերը, որոնք ենթակա են օգտագործման և այլոք, որոնք պիտանի չեն օգտագործելու աշխատանքների կատարման համար:
5.5.2. Ուսումնասիրված նյութերի վերլուծության արդյունքում պետք է մշակված լինեն հետևյալ փաստաթղթերը՝
1) բացատրագիր,
2) գեոդեզիական կետերի ամփոփիչ կատալոգը, որը կազմված է կոորդինատային միասնական համակարգում և բարձրությունների կատալոգ, որպես հավելված ունենալով տեղագրագեոդեզիական ուսումնասիրվածության սխեմաներ, որոնք կազմված են օգտագործման համար նպատակահարմար մասշտաբով,
3) նախկինում կատարված տեղագրական աշխատանքների ամփոփիչ քարտեզագրական նյութերի սխեման, նոր աշխատանքներում նրանց օգտագործման աստիճանի նկարագրությամբ (միայն գեոդեզիական հիմնավորումը, ռելիեֆը, ուրվագծային բեռնվածությունը) և կոորդինատների ու բարձրությունների միասնական համակարգի բերման կարգը:
5.5.3. Նախկինում կատարված տեղագրագեոդեզիական աշխատանքների մասին անհրաժեշտ տվյալները և նյութերն օբյեկտի վերաբերյալ պետք է լինեն ստացված կադաստրի կոմիտեի կողմից սահմանված կարգով:
5.6. Տեղագրագեոդեզիական աշխատանքները կատարվում են միայն տեխնիկական նախագծի հաստատումից հետո, որը սահմանված կարգով համաձայնեցված է և տրված է այդ աշխատանքների կատարման համար թույլտվություն կադաստրի կոմիտեի կողմից:
5.7. Նախագծային և այլ կազմակերպությունների կողմից 4-րդ դասի գեոդեզիական կառույցների, հանույթային հիմնավորման 1 և 2-րդ կարգի, խոշորամասշտաբ տեղագրական հանույթների գեոդեզիական հիմքի նախագծումը, պետք է կատարվի հաշվի առնելով սույն հրահանգի պահանջները կախված հանույթի մասշտաբից և կատարվելիք հանույթի եղանակից, ինչպես նաև գեոդեզիական կառույցներին ներկայացվող պահանջներին, հիմնավորելով՝
1) նախագծվող օբյեկտում նախկինում կատարված գեոդեզիական աշխատանքների արդյունքում ստացված նյութերի հավաքումը, ուսումնասիրումը և վերլուծությունը;
2) կատարվելիք աշխատանքների տարածքի ուսումնասիրումը առկա խոշորամասշտաբ քարտեզների օգնությամբ;
3) աշխատանքային տարածքում հատուկ հետազննության ընթացքում կատարվում է նախկինում կատարված նյութերի ուսումնասիրությունը, ընդգրկելով գործիքային հետազննումներ նախկինում ամրացված գեոդեզիական նշանների որոնման համար;
4) գեոդեզիական կառուցվածքի ստեղծման ամենանպատակահարմար տարբերակի ընտրությունը հաշվի առնելով տարածքի զարգացման առաջընթացները համաձայն գլխավոր հատակագծի և հողերի յուրացման ծրագրի:
5.8.4. 4-րդ դասի գեոդեզիական կառուցվածքների նախագիծը, 1 և 2-րդ կարգի և հանույթային հիմնավորումը, որպես կանոն կազմվում է 1:10000-1:25000 մասշտաբի քարտեզների վրա:
5.9. Գեոդեզիական կառուցվածքի կետերի կոորդինատները որոշվում են արբանյակային, եռանկյունավորման, պոլիգոնոմետրիական, տրիլատերացիոն գեոդեզիական եղանակներով:
5.10. Գեոդեզիական կառուցվածքների կետերի բարձրությունները որոշվում են արբանյակային եղանակով, երկրաչափական և եռանկյունաչափական նիվելիրացման եղանակներով:
5.11. Գեոդեզիական կառուցվածքների դասակարգումը բերված է 2.20. կետում:
5.12. Խոշորամասշտաբ հանույթների գեոդեզիական հիմքի ստեղծման ժամանակ տվյալ կարգի կառուցվածքների զարգացման համար ելակետային են ծառայում, որպես կանոն, միայն իրենց ճշտությամբ բարձր դասի գեոդեզիական կառուցվածքի կետերը, որոնք բավարարում են տրված պահանջներին:
Առանձին դեպքերում թույլատրվում է 4-րդ դասի եռանկյունավորման կետերի օգտագործումը, որպես ելակետեր 4-րդ դասի պոլիգոնոմետրիայի համար:
5.13. Ավելի մանրամասն պահանջներն առանձին աշխատանքների նախագծման համար բերված են համապատասխան բաժիններում:
6. ԳԵՈԴԵԶԻԱԿԱՆ ՀԻՄՆԱԿԵՏԵՐԻ ՏԵՂԱԶՆՆՈՒԹՅՈՒՆԸ ԵՎ ԿԱՌՈՒՑՈՒՄԸ, ԿԵՆՏՐՈՆՆԵՐԻ ԱՄՐԱՑՈՒՄԸ
6.1. Գեոդեզիական կառուցվածքների տեղազննությունը կատարվում են հաստատված նախագծի հիման վրա: Տեղազննության ընթացքում ճշտվում է կառուցվածքները, նախագիծը, պոլիգոնոմետրիական ընթացքների ուղղությունները և նախանշում կետերի տեղադրման տեղերը:
6.2. Պոլիգոնոմետրիական ընթացքները պետք է տեղակայվեն այնպիսի տեղանքներով, որպեսզի գծային և անկյունային չափումները կատարվեն բարենպաստ պայմաններում:
6.3. Գեոդեզիական կառուցվածքների տեղադրման տեղերը պետք է ընտրվեն հեշտ հասանելի և հարմար օգտագործման տեղանք, և ապահովեն տեղանքի լավ ճանաչելիություն ու կետերի կենտրոնների և արտաքին նշանների երկարաժամկետ պահպանությունը:
6.4. Գեոդեզիական կառուցվածքների տեղանքը պետք է ընտրվի հաշվի առնելով կետերի հետագա օգտագործումը, որպես հանույթային հիմնավորման կետ:
6.5. Գեոդեզիական հարակից կառուցվածքների միջև տեսանելիությունը պետք է ապահովվի երկրի մակերեսից:
6.6. Կառուցապատված տարածքներում ելնելով կետերի պահպանության պայմաններից, նպատակահարմար է նախատեսել նրանց ամրացումը որտեղ դա հնարավոր է պատային նշաններով:
6.7. Գեոդեզիական կառուցվածքների կետերի ամրացման տեղանքը նպատակահարմար է ընտրել այնպես, որ հնարավոր լինի դիրեկցիոն անկյունների փոխանցումը հարող կետերից նախագծվող պոլիգոնոմետրիական ընթացքին ոչ պակաս միջին հաշվարկայինից:
6.8. Արբանյակային տեխնոլոգիաների միջոցով գեոդեզիական կառուցվածքների տեղազննության և ստեղծման, ինչպես նաև հանույթագրման ժամանակ, բացի վերը նշվածից, հաշվի են առնում նաև հետևյալ պահանջները:
6.8.1. Հետազոտում են գեոդեզիական հիմնակետերը և որոշում նրանց փաստացի բավարարվածությունն արբանյակային դիտումների համար (հավելված N 3): Այն դիտակետերը, որոնք չեն բավարարում այդ պահանջներին պետք է խոտանվեն: Եթե արբանյակային դիտումների ժամանակ տվյալ տարածքում գեոդեզիական դիտակետերը չեն բավարարում, ապա միջոցներ են ձեռք առնվում (ռադիոընդունիչի անտենայի բարձրացում և այլն) խոտանված կետերի վրա դիտումներ կատարելու համար:
6.8.2. Դիտակետերում ստուգում են արբանյակային որոշումների կատարման հնարավորությունները: Դրա հետ մեկտեղ հայտնաբերում հավանական ռադիոխզումների սահմանները (հավելված N 3), մտցնելով ուղղումներ նախագծի մեջ` ճշտելով դիտակետերի տեղը:
6.8.3. Անհրաժեշտության դեպքում ելնելով դիտակետի հետազոտման արդյունքներից կատարվում են նախապատրաստական աշխատանքներ.
1) Արբանյակային որոշումների համար խոտանված դիտակետերի փոխարեն ընտրում են նոր դիտակետեր:
2) Մտցնում են փոփոխություններ դիտակետերի ուրվանկարների մեջ:
6.8.4. Արբանյակային տեխնոլոգիաներով նախագծված հանույթագրվող տարածքն անհրաժեշտության դեպքում կարող են բաժանվել ավելի փոքր մասերի և այդ հատվածներում օբյեկտների ազիմուտների և բարձրությունների որոշման համար արբանյակներից ստացվող ռադիոալիքների անցման խոչընդոտների պայմանը նույնն է յուրաքանչյուր հատվածի համար:
6.9. Արբանյակային տեխնոլոգիաների օգտագործման ժամանակ տեղանքի հետազննման գործընթացում անհրաժեշտ է վարել մատյան, որի մեջ յուրաքանչյուր կետի (իսկ հանույթների ժամանակ յուրաքանչյուր տարածքի) համար պետք է գրանցվի հորիզոնից 150 բարձր խոչընդոտները և նրանց ազիմուտների և արգելային բարձրությունների սահմանները: Այդ իսկ պատճառով արգելքի բարձրությունը հորիզոնի վրա պետք է որոշվի հաշվի առնելով ընդունիչի անտենայի հավանական բարձրությունը:
6.10. Դիտակետերի կառուցման համար ընտրված տեղամասում ամրացվում է ժամանակավոր կետը (մետաղյա ձող, հողաթումբ և այլն), կազմվում ուրվանկար և այն չափումներով կապակցվում է տեղանքի մշտական իրերի կամ կառուցվածքների հետ, ոչ պակաս երեք տեղից: Դիտակետի ամրացման ժամանակ նշված չափումները ճշտվում են:
6.11. Եռանկյունավորման և պոլիգոնոմետրիական կետերի վրա (որոնք ստեղծվում են խոշոր մասշտաբի հանույթների համար) կառուցվում են արտաքին գեոդեզիական նշաններ հետևյալ տեսակների. տուրեր և մետաղական եռանիստ և քառանիստ բուրգեր, բարդ սիգնալներ իրենց պտուտակավոր դիտման կենտրոններով: «Г»-աձև տիպի նշաձողերը կարող են օգտագործվել որպես ժամանակավոր գեոդեզիական կետեր:
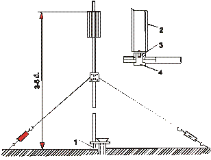
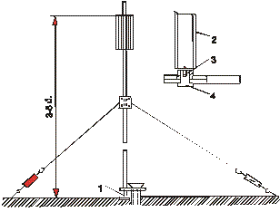
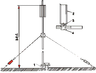
6.12. Քաղաքներում և արտադրական տարածքներում ամրացվում են մետաղական կամ երկաթբետոնյա մշտական արտաքին նշաններով կետեր: Փայտյա արտաքին նշաններով կետերի տեղադրումը չի թույլատրվում: Կառուցապատված տարածքներում, որպես մշտական գեոդեզիական արտաքին նշաններ կարող են օգտագործվել նաև մետաղական եռանիստ բուրգեր կամ տուրեր պտուտակավոր դիտման կենտրոններով (հավելված N 4, նկ. 45, 46) տեղադրված տանիքների վրա:
Օգտագործվում են նաև պտուտակավոր (հանվում և դրվում է աշխատանքի ժամանակ) մետաղական նշաձողեր (հավելված N 4, նկ. 4.7):
Տանիքների վրա տեղադրված դիտակետերի կենտրոններն ամրացվում է դրոշմանիշով (տուրի մեջ կամ վերին մակերևույթին):
Թույլատրվում է որպես կենտրոն ընդունել (օգտագործել) ջրընդունիչ ցանկապատերն, օդափոխիչ չուգունե խողովակները: Այդ դեպքում կենտրոնը նշահարում են չժանգոտվող մետաղով (պղինձ, լատուն), որը հարմարեցվում է անցքում 2-4 մմ տրամագծով և 5 մմ խորությամբ:
6.13. Գեոդեզիական նշանների պտուտակավոր կենտրոնները պետք է ունենան հետևյալ չափսերը. դիտոցային գլանի բարձրությունը 0.50 մ, տրամագիծը 0.25 մ գործիքային սեղանիկից մինչև դիտոցային գլանի ներքևի սկավառակը պետք է լինի ոչ պակաս 0.8 մ-ից:
6.14. Արտաքին նշանները պետք է լինեն կայուն և ամուր: Արտաքին նշանի դիմացկունությունը պետք է ապահովի անկյունների չափման համար հնարավորություն միջին ուժգնության քամիների ժամանակ:
Նշանները պետք է լինեն սիմետրիկ ուղղաձիգ առանցքի համեմատ: Դիտումային գլանի կենտրոնի և գործիքի սեղանի պրոյեկցիայի տատանումը կետի կենտրոնի համեմատ չպետք է գերազանցի 5 սմ-ից:
Տանիքների վրա տեղակայված գեոդեզիական դիտակետերի բերման գործակիցները պետք է հավասարվի զրոյի:
6.15. 2, 3 և 4 դասի գեոդեզիական կետերի համար քաղաքային, գյուղական և արտադրական տարածքներում կողմնորոշիչ կետեր չեն տեղադրվում, եթե երկու հարակից կետերի միջև տեսանելիությունը ապահովված է երկրի մակերեսից:
6.16. Գեոդեզիական մետաղական նշանները պետք է պաշտպանված լինեն կոռոզիայից և ծածկված լինեն հակակոռոզիոն ներկերով:
6.17. Քաղաքներում, գյուղերում և արտադրական տարածքներում 2, 3, 4 դասի, 1 և 2 կարգի գեոդեզիական դիտակետերի կենտրոնները ամրացվում են համաձայն գործող հրահանգների:
6.18. Գյուղական վայրերում գեոդեզիական 4 դասի, 1 և 2 կարգի դիտակետերի կենտրոններն ամրացվում են 5 գր. կամ 6 գր. տիպի կենտրոններով (հավելված N 5 նկ. 5.4, 5.5):
5 գր. տիպի կենտրոնը բաղկացած է երկու մասից`
1) Բետոնե միաձույլ քառանիստ հատած բուրգի տեսքով 50x50 սմ ներքին հիմքում և 12x12 սմ վերին հիմքում, 40 սմ բարձրությամբ:
2) Բետոնե միաձույլ քառանիստ հատած բուրգի տեսքով 30x30 սմ ներքին հիմքով և 12x12 սմ վերին հիմքով, 20 սմ բարձրությամբ: Միաձույլերի վերին մասերում ամրացվում է դրոշմանիշ: Միաձույլերն ամրացվում են այնպես, որ դրոշմանիշերի արանքները լինեն նույն ուղղահայաց գծի վրա:
6 գր. տիպի կենտրոնն իրենից ներկայացնում է բետոնե միաձույլ քառանիստ հատած բուրգի տեսքով 40x40 սմ ներքին հիմքով և 15x15 սմ վերին հիմքով, 20 սմ բարձրությամբ և նրա մեջ անցկացված մետաղյա ասբոցեմենտե խողովակով 60-100 մմ տրամագծով և 3 մմ-ից ոչ պակաս պատերի հաստությամբ, որի վերին մասում ամրացվում է դրոշմանիշ, իսկ ներքին մասում երկու մետաղյա ձողեր: Մետաղյա խողովակը լցվում է բետոնե շաղախով: Կենտրոնի վրա տեղադրվում է չուգունե կափարիչ:
Եթե կենտրոններն ամրացվում են զբոսայգիներում, անտառաշերտերում և այլ տարածքներում, որտեղ բացակայում է ավտոտրանսպորտի երթևեկությունն, ապա չուգունե կափարիչի փոխարեն օգտագործվում են մետաղյա, բետոնե, ազբոցեմենտե խողովակներ 20-25 սմ ներքին տրամագծով (հավելված N 5 նկ. 5-8):
6.19. Գեոդեզիական խտացման ցանցի զարգացումը (2, 3, 4 դաս, 1 և 2 կարգի) անկախ տեղանքի ֆիզիկա-աշխարհագրական պայմաններից ամրացվում են հետևյալ հաստատուն կենտրոններով (1գռ., 5գռ., 6գռ., 8գռ.):
Գյուղական վայրերում եռանկյունավորման կետերը և արբանյակային կառուցվածքները 4 դասի, 1 և 2 կարգի և 4 դասի պոլիգոնոմետրիական կետերի կենտրոններն ամրացվում են 5 գռ., կամ 6գռ. տիպի կենտրոններով իրարից 1000 մ-ից ոչ ավել հեռավորությամբ, իսկ 2 կարգի պոլիգոնոմետրիական կետերը 500 մ-ից ոչ ավել: Կետերը պետք է դասավորված լինեն զույգերով, ապահովելով տեղադրումը գծի ծայրերում: Հանգույցային կետերի կենտրոնները պետք է լինեն տեղադրված 1գռ., տիպի կենտրոններով:
Կենտրոնների վրա, որպես կանոն պետք է տեղակայված լինեն արտաքին հաստատուն նշաններ:
6.20. Այն պոլիգոնոմետրիական ընթացքների կետերը, որոնց վրա չեն տեղակայվում 5գռ. և 6 գռ. կենտրոնները, պետք է տեղադրվեն երկարաժամկետ պահպանվող նշաններ նախատեսված հանույթային հիմնավորման համար (հավելված 6, նկ. 6.1.-6.5):
6.21. Այն դեպքերում, երբ գեոդեզիական 4 դասի, 1 և 2 կարգի կետերի վրա կառուցված են մետաղական կամ երկաթբետոնե արտաքին նշաններ, ակոսավորումը (ակոպկա) պարտադիր չէ:
Արտաքին նշանների բացակայության դեպքում կետից 1-ից 3 մ հեռավորության վրա տեղակայվում է երկաթբետոնյա ճանաչման սյուն 15x15x160 սմ չափերով, կամ ասբոցեմենտյա խողովակ խարիսխով: Ավելի լավ նկատելի լինելու համար սյունը ներկվում է դեղին և սև-սպիտակ հորիզոնական գծերով: Բուրգերին, կամ ճանաչման սյան վրա ամրացվում է մետաղական պահպանական թիթեղը, որի վրա գրված է` «Գեոդեզիական կետ. Պահպանվում է պետության կողմից»: Կառուցապատված տարածքներում ճանաչման սյուներ, նշաններ չեն տեղադրվում:
6.22. Հանույթային հիմնակետերը տեղանքում ամրացվում են երկարաժամկետ պահպանություն ապահովող կետերով (հավելված N 6, նկ. 6.1-6.5) և ժամանակավոր կետերով (հավելված N 6, նկ. 6.6-6.10) որոնց պահպանությունն ապահովվում է մինչև հանույթային աշխատանքների ավարտը:
6.23. Օգտագործվում են երկարաժամկետ կետերի հետևյալ տեսակները.
6.23.1. Բետոնե պիլոն 12x12x90 սմ չափերով, վերին մասում ամրացվում է կոփած մեխ, իսկ ներքին մասում հողի հետ լավ ամրապնդման համար ցեմենտվում է երկու մետաղական ձող:
6.23.2. Բետոնե միաձույլ քառանիստ հատած բուրգի տեսքով հետևյալ չափերով` 15x15 սմ ներքին հիմքում և 10x10 սմ վերին հիմքում, 90 սմ բարձրությամբ, վերին մասում ամրացվում է կոփած մեխ:
6.23.3. Երկաթյա խողովակ 35-60 մմ տրամագծով, հատած ռելս կամ երկաթե անկյունակ 50x50x5 մմ, 35x35x4 մմ 100սմ երկարությամբ, բետոնյա խարիսխով հատված քառանիստ բուրգի տեսքով 20x20 սմ ներքին և 15x15 վերին հիմքերով և 20 սմ բարձրությամբ: Ռելսի, անկյունակի վերին մասում եռակցվում է մետաղյա թիթեղ մակագրության համար, ներքևում մետաղյա ձողեր (խաչաձև):
6.23.4. Փայտյա սյուն 15 սմ-ից ոչ պակաս տրամագծով հարմարեցված բետոնե հատած քառանիստ բուրգի վրա 20x20 ներքին և 15x15 սմ վերին հիմքերով և 20 սմ բարձրությամբ, միաձույլ վերին եզրից մակերևույթի վրա կատարվում է խաչաձև փորվածք, իսկ փայտյա սյան վերին մասը տաշվում է գլանաձև:
6.23.5. Կտրված ոչ պակաս 25 սմ տրամագծով ծառի կոճղի վերին մասում խփվում է կոփած մեխ:
6.23.6. Դրոշմանիշ, ցցաձող, հեղույս ամրացված բետոնե շաղախով կառուցվածքների հիմքերի վրա, երկրի ամուր ծածկույթի կամ ժայռերի վրա:
Բետոնե պիլոնները (հենասյուները) և միաձույլերը տեղադրվում են 80 սմ խորության վրա: Կառուցապատված տարածքներում հանույթային ցանցի կետերն ամրացվում են պատային նշաններով:
6.24. Երկարաժամկետ տիպի կենտրոնները և հենանիշը նշահարվում են ակոսավորում (ակոպկա) 1.5 մx1.5 մ և 0.3 մ խորությամբ, իսկ կենտրոնի վրա լցվում է 0.1 մ բարձրության հող:
6.25. Թեոդոլիտային ընթացքներում երկարաժամկետ տիպի նշաններ տեղադրվում են մի շարքով 2-3 կետ, այն հաշվարկով, որպեսզի նրանք կապեն հարակից մեկ կամ երկու ընթացքների գծերը 500-800 մ տարածության վրա:
Թույլատրվում է թեոդոլիտային 2-3 ընթացքների հարևան կետերի փոխարեն ամրացնել միայն մեկ կետ այն պայմանով, որ այդ ամրացված կետից հնարավոր լինի որոշելու դիրեկցիոն անկյուն (ազիմուտ) տեղանքի բնորոշ կետերի ուղղությամբ, հեշտ ճանաչելի և կայուն տեղական առարկա-կողմնորոշիչներ՝ ռադիո-հեռուստացուցային անտենաներ, գործարանային խողովակ և այլն երկարաժամկետ պահպանվող տեսակի կողմնորոշիչները:
Չի թույլատրվում կետերի հենանիշերի (ռեպերների) ամրացումը՝ վարելահողերի վրա, ճահիճներում, ճանապարհի բանուկ մասում, գետերի ջրամբարների ողողվող ափերին մոտ:
6.26. Ժամանակավոր կետեր կարող են ծառայել` ծառի կտրված կոճղը, փայտյա ցցեր 5-8 սմ տրամագծով, մետաղյա ձողեր 04.-0.6 մ երկարությամբ:
Ժամանակավոր կետերի շուրջը կատարվում է կլոր ակոսավորում (ակոպկա) 0.8 մ տրամագծով:
6.27. Ժամանակավոր կետերի կենտրոնները նշվում են մեխով, խփված փայտյա ցցերի կենտրոնում, իսկ մետաղյա ձողերի վրա արվում է խաչաձև նշահարում:
Անտառապատ տարածքներում ծառերի վրա նշահարումները կատարվում է ներկով:
6.28. Պլանային հիմնակետերի համարակալումը կատարվում է հերթական կարգով, որպեսզի նույն տարածքում չլինեն կրկնվող համարներ:
Չի թույլատրվում փոխել նախկինում ամրացված գեոդեզիական կետերի համարները:
6.29. Հաստատուն կետերի վրա ներկով, իսկ ժամանակավոր կետերի վրա ցուցանշման մատիտով գրվում է կրճատ աշխատանքներն իրականացնող կազմակերպության անունը, կետի համարը և տեղադրման տարեթիվը:
6.30. Բոլոր կետերի կենտրոնների համար սահմանված ձևով կազմվում է տեղադրման՝ քարտ և լուսանկար:
Հաստատուն գեոդեզիական նշանի կառուցումը ձևակերպվում են համապատասխան ակտով:
6.31. Գեոդեզիական կետերը կառուցումից հետո ակտով հանձնվում է պահպանության՝ քաղաքներում, գյուղերում և բնակեցված վայրերում տեղական ինքնակառավարման մարմիններին, իսկ մնացած վայրերում տվյալ հողօգտագործողներին: Տվյալ դեպքում կազմվում է ակտ երեք օրինակից, համաձայն կետերի պահպանության համապատասխան կանոնակարգի:
7. ԳԵՈԴԵԶԻԱԿԱՆ ԽՏԱՑՄԱՆ ՑԱՆՑԵՐ
7.1. ԳԵՈԴԵԶԻԱԿԱՆ ԽՏԱՑՄԱՆ ՑԱՆՑԻ ԿԱՌՈՒՑՈՒՄՆ ԱՐԲԱՆՅԱԿԱՅԻՆ ՏԵԽՆՈԼՈԳԻԱՆԵՐԻ ՄԻՋՈՑՈՎ
7.1.1. Արբանյակային տեխնոլոգիան հանդիսանում է գեոդեզիական ցանցերի խտացման հիմնական եղանակը, որն իր խտությամբ բավարարում է խոշորամասշտաբ հանույթների հանույթային հիմնավորման պահանջներին:
Արբանյակային ցանցերի համար ելակետային կետեր են հանդիսանում պետական գեոդեզիական ցանցի կետերն (եռանկյունավորման և պոլիգոնոմետրիական 1, 2, 3 և 4 դասերի բարձունքային I, II, III և IV դասերի), ինչպես նաև եռանկյունավորման և պոլիգոնոմետրիայի 1 կարգի կետերը:
Հանույթագրվող օբյեկտում կախված ելակետային կետերի տեղաբաշխումից և խտությունից արբանյակային խտացման ցանցը զարգացնում են եռանկյունավորման շղթաներով և առանձին կետերի կազմադրումը եռանկյունիներում (սխեմաների օրինակը տես՝ հավելված N 8):
7.1.2. Ելակետային կետերը պետք է բավարարեն ռադիոալիքների անարգել և անխափան ընդունման պահանջներին (հավելված N 3):
7.1.3. Որպես ելակետային նպատակահարմար է օգտագործել 7.1.1. կետում նշված բոլոր գեոդեզիական կետերը, որոնք գտնվում են աշխատանքային տարածքում և նրան հարակից, բայց 4 կետից ոչ քիչ իրենց հայտնի պլանային կոորդինատներով և 5 կետից ոչ քիչ հայտնի բարձրություններով, այնպես, որպեսզի ցանցը բերվի ընդունված կոորդինատային և բարձունքային համակարգերի:
7.1.4. Արբանյակային խտացման ցանցի զարգացումը կատարում են արբանյակային որոշումների ստատիկ եղանակներով համաձայն օգտագործվող սարքավորումների շահագործման ցուցմունքների, բերված կից փաստաթղթերում: Գծերի չափման հարաբերական սխալը թույլ կողմում պետք է լինի ոչ ավել 1:10000-ից:
7.1.5. Արբանյակային խտացման ցանցի բոլոր կետերը (գծերը) պետք է որոշվեն անկախ մեկը մյուսից:
Երկու ընդունիչների օգտագործման դեպքում այդ պահանջը կատարվում է ավտոմատ կերպով:
Ավելի շատ թվով ընդունիչների օգտագործման և աշխատանքների վարումը գործաշրջանի (սեանսի) միջոցով կազմակերպելու դեպքում ընդգրկելով երեք և ավելի կետերի դիտարկումներ, յուրաքանչյուր գործաշրջանի (սեանսի) համար որպես անկախ որոշվող գիծ անհրաժեշտ է նախանշել այնպիսի գծեր, որոնց բեկյալը չի հատվում իրար հետ միացման գծերի կետում և չի փակվում:
նկ 1. Սխեմա 4 կետերի վրա կատարված գործաշրջանից (սեանսից) որոշված երեք անկախ գծերի ստացման
Ինչպես երևում է նկար 1-ից բեկյալ գծերը 1-2, 2-3, 3-4 ինքն իրենով չի հատվում գծերի միացման կետերում և չի փակվում: 1-3, 1-4, 2-4 անկախ գծերի որոշման համար անհրաժեշտ է այդ կետերի վրա կատարել մեկ գործաշրջան (սեանս): Ինչպես երևում է նկարից այդ դեպքում էլ բեկյալ գծի միացումներն ինքն իրեն չի հատվում և չի փակվում:
7.1.6. Գործիքը տեղակայված կայանի վրա, կենտրոնացվում է արբանյակային խտացման ցանցի կետերի վրա կենտրոնի համեմատ ոչ ավելի 2 մմ ճշտությամբ:
Կետի բերման տարրերը որոշվում են գրաֆիկ եղանակով երկու անգամ (մինչ չափումները սկսելը և չափումներից հետո) համաձայն տրված ցուցումների (հավելված 9):
7.1.7. Եթե նախատեսվում է արբանյակային ցանցի կետերն օգտագործել տեղագրագեոդեզիական աշխատանքների համար ավանդական (ոչ արբանյակային) եղանակներով, այն դեպքերում, երբ բացակայում է տեսանելիությունը գեոդեզիական կառուցվածքի (որի կոորդինատների ճշտությունը ցածր չէ կառուցվող ցանցի կետերի կոորդինատների ճշտությունից) ուղղությամբ, ապա արբանյակային խտացման ցանցի կետերի մոտակայքում անհրաժեշտ է կառուցել կողմնորոշիչ կետեր:
Կողմնորոշիչ կետը տեղադրվում է կառուցվող ցանցի կետի սահմանում, ապահովելով տեսանելիությունը, ոչ պակաս 250 մ հեռավորության վրա և ամրացվում է 5 գռ. կամ 6 գռ. տիպի կենտրոններով:
Կողմնորոշիչ կետն ընդգրկվում է տվյալ ցանցի մեջ որպես կախված կետ, իսկ արբանյակային որոշումները կատարվում են այնպես, ինչպես մյուս ցանցի գծերի համար:
7.1.8. Արբանյակային դիտումների արդյունքների հաշվարկումների մշակումը կատարվում են Այ-Բի-Էմ (IBM) համատեղելի համակարգիչների կիրառմամբ, օգտագործելով մասնագիտացված ծրագրային փաթեթներ, որոնք մտնում են արբանյակային սարքավորումների լրակազմում: Աշխատանքներն այդ փաթեթների հետ կատարվում է համաձայն համապատասխան պահանջների, որոնք շարադրված են կցված շահագործման փաստաթղթերում:
7.2 ԵՌԱՆԿՅՈՒՆԱՎՈՐՄԱՆ 1 ԵՎ 2 ԿԱՐԳԻ ԽՏԱՑՄԱՆ ՑԱՆՑԵՐ
7.2.1. Եռանկյունավորման 1 և 2 կարգի ցանցերի զարգացման նպատակն այն է, որն ապահովում է խոշորամասշտաբ հանույթների հանույթային հիմնավորմանը՝ բաց լեռնային շրջաններում, կամ այն դեպքերում, երբ ինչ-որ պատճառներով արբանյակային տեխնոլոգիաների և պոլիգոնոմետրիայի կիրառումն անհնար է կամ նպատակահարմար չէ: 1 կարգի եռանկյունավորման համար որպես ելակետեր կարող են ծառայել պետական գեոդեզիական ցանցի 1, 2, 3 և 4 դասի եռանկյունավորման և պոլիգոնոմետրիական կետերը, I, II, III և IV դասի բարձունքային կետերն, իսկ 2 կարգի եռանկյունավորման համար նաև 1 կարգի եռանկյունավորման կամ պոլիգոնոմետրիական կետերը: Ելնելով ելակետերի դիրքից 1 կարգի եռանկյունավորման զարգացումը կատարվում է շղթայաձև եռանկյունիների տեսքով և առանձին կետերի կազմադրումով եռանկյունիներում կազմված 2-4 դասերի կետերով: 2 կարգի եռանկյունավորման զարգացումը կատարվում է ցանցերի տեսքով, 2-4 դասի և 1 կարգի եռանկյունավորման առանձին կետերի միջև կամ մի խումբ կետերի միջոցով:
Յուրաքանչյուր 1 և 2 կարգի եռանկյունավորման կետ պետք է որոշվի այն եռանկյունիներից, որոնցում չափվում են բոլոր անկյունները, երեքից ոչ պակաս չափված ուղղություններով փոխհատումներով որոշվում են միայն տեղական առարկաներն, որոնց վրա դիտարկումները հնարավոր չեն (1 և 2 կարգի եռանկյունավորման կառուցման սխեմայի օրինակը տրված է հավելված N 8-ում):
7.2.2. Եռանկյունավորման համատարած ցանցը պետք է հիմնվի ոչ պակաս երեք գեոդեզիական ելակետերի և ոչ պակաս երկու ելակետային կողմերի վրա:
Եռանկյունիների շղթան պետք է հիմնվի երկու գեոդեզիական ելակետերի և հարող երկու ելակետային կողմերի վրա: Որպես ելակետային կողմ օգտագործվում է պոլիգոնոմետրիական կամ եռանկյունավորման 3-4 դասի կողմերը, նաև զարգացվող եռանկյունավորման կողմերը ոչ կարճ 1 կմ-ից և որոնց հարաբերական սխալը պետք է լինի ոչ պակաս N 3 հավելվածում բերված ցուցանիշներից:
7.2.3. 1 և 2 կարգի եռանկյունավորումը պետք է ապահովի N 3 հավելվածում նշված պահանջներին:
7.2.4. Եթե 1 կարգի եռանկյունավորումը և բարձր դասի կետերի միջև հեռավորությունը 2 կմ քիչ է, ապա պետք է նախատեսվի նրանց կապը:
2 կարգի եռանկյունավորման կետերի համար նախատեսվում է կապ ոչ պակաս 1.5 կմ-ից:
7.2.5. 1 և 2 կարգի եռանկյունավորման անկյունները չափվում են շրջանային նվագների եղանակով T2, T5 և այլ համարժեք գործիքներով N 4 հավելվածում բերված պահանջներին համապատասխան:
Եթե տատանումները չեն բավարարում ներկայացված պահանջներին, ապա այդ նվագները պետք է կրկնվեն:
Կոպիտ սխալների բացակայության դեպքում մշակում է հիմնական և կրկնվող նվագները:
1 եվ 2 կարգի եռանկյունավորման հիմնական պահանջները
Հավելված 5
Ցուցանիշներ |
1 կարգ |
2 կարգ |
Եռանկյան կողմերի երկարությունը, ոչ ավել, կմ |
5.0 |
3.0 |
Թույլատրելի ամենափոքր անկյան չափը, անկ.աստիճան. համատարած ցանցում |
200 |
200 |
եռանկյունիների կազմադրման համար |
300 |
300 |
Եռանկյունիների քանակը ելակետային կողմերի միջև կամ ելակետի և ելակետային կողմի մեջ, ոչ ավել |
10 |
10 |
Ելակետային կողմի ամենափոքր երկարությունը, կմ |
1 |
1 |
Անկյան միջին քառակուսային սխալանքի սահմանային մեծությունը, հաշվարկված եռանկյունների անկապքների միջոցով, անկյունային վայրկյաններ. |
5II |
10II |
Եռանկյան սահմանային առավելագույն թույլատրելի անկապքն, անկյունային վայրկյաններ. |
20II |
40II |
Ելակետային (բազիսային) կողմի հարաբերական սխալը, ոչ ավելի |
1/50000 |
1/20000 |
Ամենաթույլ մասում կողմի երկարության որոշման հարաբերական սխալն, ոչ ավելի |
1/20000 |
1/10000 |
7.2.6. 1 և 2 կարգի եռանկյունավորման անկյունների չափման ծրագրում պետք է ընդգրկվի ելակետային կետերից 1-ից 2 ելակետային ուղղություն:
1 և 2 կարգի եռանկյունավորման ուղղությունները կարելի է համախմբել մեկ խմբում և չափել 1 կարգի ծրագրով:
7.2.7. Եթե կետում ուղղությունների քանակը 7-ից ավելի է կամ վատ տեսողության պատճառով բոլոր ուղղությունները հնարավոր չէ չափել, թույլատրվում է չափումները կատարել երկու կամ ավելի խմբերով մեկ ընդհանուր ուղղություն վերցնելով:
Հավելված 6
Ցուցանիշները |
Թեոդոլիտ T2 և նրան համարժեք |
Թեոդոլիտ T5 և նրան համարժեք | ||
1 կարգի |
2 կարգի |
1 կարգի |
2 կարգի | |
Նվագների քանակը |
3 |
2 |
4 |
3 |
Կիսանվագի սկզբում և վերջում սկզբնական ուղղության վրա չափումների արդյունքների տարբերությունը |
8II |
8II |
0.2I |
0.2I |
Առանձին նվագներում ընդհանուր զրոյի բերված ուղղության նշանակության արժեքների տատանումները |
8II |
8II |
0.2I |
0.2I |
7.2.8. Թեոդոլիտը կետի կենտրոնի համեմատ կենտրոնացվում է ոչ պակաս 2 մմ ճշտությամբ, բերման էլեմենտները կետում որոշվում է գրաֆիկ եղանակով երկու անգամ (չափումներից առաջ և հետո համաձայն հավելված N 9-ի):
7.2.9. 1 և 2 կարգի եռանկյունավորման կետերում տեսանելիության բացակայության դեպքում հարակից եռանկյունավորման և պոլիգոնոմետրիական կետերին, չափվում են կողմնորոշվող կետերի ուղղությունը, որը պետք է լինի կետից ոչ մոտիկ 250 մ, իսկ չափման եղանակների թիվը համաձայն 4 հավելվածի:
Կողմնորոշվող կետերի կենտրոններն ամրացվում են 5 գռ. և 6 գռ. տիպի կենտրոններով:
Հեռավորությունը կետից կողմնորոշվող կետ չափում են 1 մ-ի ճշտությամբ:
7.2.10. 1 և 2 կարգի եռանկյունավորման կենտրոնների բարձունքային նիշերի փոխանցումը կատարվում է IV դասի կամ տեխնիկական նիվելիրացմամբ, կամ արբանյակային տեխնոլոգիաների միջոցով:
Եռանկյունավորման կետերի բարձրությունների չափումը IV դասի նիվելիրացմամբ սահմանափակվում է կախված կենտրոնների հուսալիությունից:
IV-րդ դասի նիվելիրացում 5 գռ. և 6 գռ. կենտրոններով կարելի է չկատարել, հակառակ դեպքում այդ նիշերը կատալոգներում չի ընդգրկվում:
Լեռնային վայրերում եռանկյունավորման կետերի բարձունքային նիշերը կարելի է ստանալ եռանկյունաչափական եղանակով ցանցի բոլոր կողմերով:
7.2.11. Շենքերի տանիքներում տեղադրված եռանկյունավորման կետերի կենտրոնների կոորդինատները իջեցվում են հողի վրա, ինչպես կարգն է թեոդոլիտի և հեռաչափի օգնությամբ:
Կոորդինատների իջեցումը կատարվում է միաժամանակ բոլոր 4 կետերի վրա, որոնք դասավորված են զույգերով հակառակ ուղղությունների վրա: Յուրաքանչյուր աշխատանքային կենտրոնի համար ամրացվում է երկուական պատի նշան: Հեռավորությունը երկու հարակից կետերի միջև պետք է լինի ոչ պակաս 200 մ-ից: Կոորդինատների իջեցման ժամանակ անկյունները և գծերը չափվում են պոլիգոնոմետրիական կարգի համար նախատեսված համապատասխան ճշտությամբ:
7.3. 4 ԴԱՍԻ, 1 ԵՎ 2 ԿԱՐԳԻ ՊՈԼԻԳՈՆՈՄԵՏՐԻԱ
7.3.1. 4 դասի, 1 և 2 կարգի պոլիգոնոմետրիական ընթացքների նպատակը գեոդեզիական խտացման ցանցի ստեղծումն է, որն ապահովում է խոշորամասշտաբ հանույթների, հանույթային հիմքերի զարգացմանը (տարածմանը), եթե ինչ-որ պատճառներով արբանյակային տեխնոլոգիաների օգտագործումը հնարավոր կամ նպատակահարմար չէ:
Պոլիգոնոմետրիական ցանցերը ստեղծվում են (տարածվում են) առանձին ընթացքներով կամ այլ տեսակի ընթացքներով:
Պոլիգոնոմետրիական ընթացքների սխեմատիկ օրինակը տրված է հավելված N 10-ում:
7.3.2. Պոլիգոնոմետրիական առանձին ընթացքը պետք է հիմնված լինի երկու ելակետերի վրա: Ելակետային կետերում չափվում են միջանկյալ անկյունները:
Առանձին դեպքերում, երբ երկու ելակետերի միջև բացակայում է տեսանելիությունը, թույլատրվում են հետևյալ տարբերակները:
7.3.2.1. Պոլիգոնոմետրիական ընթացքի ամրացումը, որը հիմնված է երկու ելակետերի վրա նրանցից որևէ մեկում առանց անկյունային կապի: Այդ դեպքում անկյունային ստուգումների համար օգտագործվում է պետական գեոդեզիական ցանցի կետերի ազիմուտները, կամ հարակից կողմերի ազիմուտները, որոնք ստացվում են աստղագիտական չափումներից 5II -7II ճշտությամբ:
7.3.2.2. Պոլիգոնոմետրիական 1 և 2 կարգի փակ ընթացքները, որոնք հիմնված են մեկ ելակետային կետի վրա, այն պայմանով, որ ընթացքի կետերից փոխանցվի կամ չափվի երկու հարակից կողմերի համար ազիմուտներ 5II-7II ճշտությամբ, հնարավորին չափ ընթացքի թույլ տեղում (մեջտեղում):
7.3.2.3. Կոորդինատների կապակցումը գեոդեզիական ցանցի կետերին:
Այդ դեպքում անկյունային կոպիտ սխալներից խուսափելու համար օգտագործում են դիրեկցիոն անկյուններ կողմնորոշիչ կետերի վրա չափված կամ ազիմուտներ ստացված աստղագիտական չափումներից: Կախված ընթացքներ չեն թույլատրվում:
7.3.3. Պոլիգոնոմետրիական 4 դասի, 1 և 2 կարգի ցանցերի կառուցման ընթացքում անհրաժեշտ է առաջնորդվել 7 հավելվածում տրված պահանջներով:
7.3.3.1. Առանձին դեպքերում պոլիգոնոմետրիական ընթացքների կապակցումը պետական գեոդեզիական ցանցին օգտագործելով լուսահեռաչափեր, կապակցվող կողմերի երկարությունները, որոնք տրված են հավելված 5-ում կարելի է ավելացնել մինչև 130%:
7.3.3.2. Պոլիգոնոմետրիական 1 կարգի ընթացքներում մինչև 1 կմ երկարությամբ և 2 կարգի ընթացքներում մինչև 0.5 կմ երկարությամբ բացառության կարգով թույլատրվում է 10 սմ գծային անկապք:
4 դասի, 1 եվ 2 կարգի պոլիգոնոմետրիական ցանցերի կառուցման պահանջները
Հավելված 7
Ցուցանիշներ |
4 դաս |
1 կարգ |
2 կարգ |
Ընթացքի սահմանային երկարությունը, կմ՝ առանձին ելակետային և հանգուցային կետերի միջև հանգուցային կետերի միջև |
15 |
5 |
3 |
Պոլիգոնի առավելագույն պարագիծը, կմ |
30 |
15 |
9 |
Ընթացքի կողմերի երկարությունը, կմ |
|
|
|
առավելագույն |
2.0 |
0.8 |
0.35 |
նվազագույն |
0.25 |
0.12 |
0.08 |
միջին հաշվարկագիծը |
0.50 |
0.30 |
0.20 |
Ընթացքի կողմերի թիվը ոչ ավել |
15 |
15 |
15 |
Ընթացքի հարաբերական սխալանքը ոչ ավելի |
1/25000 |
1/10000 |
1/5000 |
Անկյան չափման միջին քառակուսային սխալանքը (ընթացքների և պոլիգոնի անկապքներով) ոչ ավել, վայրկյան |
3 |
5 |
10 |
Ընթացքի կամ պոլիգոնի անկյունային անկապքը (վրկ.) ոչ ավել, որտեղ n-ը անկյունների քանակն է |
5Ön |
10Ön |
20Ön |
ըստ հավելվածում բերված տվյալների անհրաժեշտ է նկատի առնել հետևյալը՝
7.3.3.3. Անկյունային և գծային անկապքների թիվը, որոնք մոտ են սահմանային անկապքին, չպետք է գերազանցեն 10%:
7.3.3.4. Պոլիգոնոմետրիական 1 և 2 կարգի ընթացքների գծերի երկարությունը թույլատրվում է ավելացնել մինչև 130% պայմանով, որ պահպանվեն 7.3.5. կետի պահանջները:
7.3.4. Զուգահեռ պոլիգոնոմետրիական ընթացքների (ըստ կարգի կամ դասի) կետերի միջև հեռավորությունը պետք է լինի ոչ պակաս 2.5 կմ (4 դասի պոլիգոնոմետրիայի համար) և 1.5 կմ (1 կարգի պոլիգոնոմետրիայի համար): Ավելի քիչ տարածությունների դեպքում մոտակա կետերը պետք է կապված լինեն տվյալ կարգի կամ դասի պոլիգոնոմետրիական ընթացքներով:
Եթե 1 կարգի պոլիգոնոմետրիական ընթացքի կետերը գտնվում են 1.5 կմ-ից քիչ հեռավորության վրա 4 դասի պոլիգոնոմետրիական կետերից, ապա այդ ընթացքների միջև կատարվում է կապակցում 1 կարգի պոլիգոնոմետրիական ընթացքի միջոցով:
7.3.5. Տեղակայված այն 1 և 2 կարգի պոլիգոնոմետրիական ընթացքները, որոնց երկարությունը գերազանցում է N 5 հավելվածում տրված պահանջներից անհրաժեշտ է որոշել դիրեկցիոն անկյունները 5-7II ճշտությամբ յուրաքանչյուր 15-րդ կետը կամ յուրաքանչյուր 3 կմ հաճախականությամբ:
7.3.6. Որպեսզի ապահովվի գեոդեզիական կառուցվածքների ամրությունն անհրաժեշտ է ձգտել բազմաստիճան կառուցվածքների կրճատմանը և զարգացնել ավելի շատ 4 դասի և 1 կարգի պոլիգոնոմետրիան:
7.3.7. Պոլիգոնոմետրիական ընթացքների բոլոր կետերում անհրաժեշտ է որոշել բացարձակ բարձրությունները IV դասի նիվելիրացման միջոցով (IV դասի նիվելիրացումը 5 գռ., 6 գռ. տիպի կենտրոնների համար անհրաժեշտ չէ կատարել, հակառակ դեպքում այդ նիշերը կատալոգներում չի գրանցվում) տեխնիկական նիվելիրացման կամ արբանյակային տեխնոլոգիաների միջոցով:
Լեռնային տարածքներում բացարձակ բարձրությունները թույլատրվում է որոշել եռանկյունաչափական նիվելիրացման եղանակով:
7.3.8. Պոլիգոնոմետրիական կետերում անկյունները չափվում են առանձին անկյունների եղանակով կամ շրջանային նվագների եղանակով, ինչպես պահանջվում է երեք եռոտանիների համակարգով T1, T2, T5 և այլ հավասարազոր թեոդոլիտներով 1 մմ կենտրոնացման սխալով, ինչպես նաև ժամանակակից էլեկտրոնային տախեոմետրերով:
Շրջանային նվագների եղանակը կիրառվում է այն դեպքում, երբ դիտարկվող ուղղությունները 2-ից ավելի են:
7.3.9. Առանձին անկյան եղանակով անկյան չափման ժամանակ ալիդադան պտտում են միայն ժամսլաքի ուղղությամբ կամ միայն ժամսլաքի հակառակ ուղղության:
Նվագների եղանակով անկյունների չափման դեպքում առաջին նվագի ժամանակ ազիդադան պտտում են ժամսլաքի ուղղությամբ, իսկ 2-րդ նվագի ժամանակ՝ հակառակ ուղղությամբ:
7.3.10. Դիտարկումների նվագների քանակը կախված ընթացքի և կախված օգտագործվող գործիքից տրված է N 8 հավելվածում:
Դիտարկումների նվագների քանակը կախված ընթացքի դասից կամ կարգից եվ օգտագործվող գործիքից
Հավելված 8
Գործիքի տեսակը |
Նվագների քանակը պոլիգոնոմետրիայում | ||
4 դաս |
1 կարգ |
2 կարգ | |
T1 և նրան հավասարազոր |
4 |
- |
- |
T2 և նրան հավասարազոր |
6 |
2 |
2 |
T5 և նրան հավասարազոր |
- |
3 |
2 |
մեկ նվագից անցումը մյուսին լիմբը վերադասավորվում է անկյան (1800/n) + s չափով, որտեղ n-ը նվագների թիվն է, իսկ s հավասար է 10I կամ 5I
7.3.11. Առանձին անկյունների եղանակով անկյունների չափման թույլատրելի չափերը տրված են հավելված 9-ում:
Առանձին անկյունների եղանակով անկյունների չափման թույլատրելի չափերը
Հավելված 9
Չափման տարրերին վերաբերող |
գործիքի տեսակը | ||
T1 և նրան հավասար |
T2 և նրան հավասար. |
T5 և նրան հավասար. | |
Երկու կիսանվագներից ստացված անկյան արժեքի տարբերությունը |
6II |
8II |
0.2I |
Առանձին նվագներից ստացված անկյան արժեքների տարբերության տատանումները |
5II |
8II |
0.2I |
Սկզբնական ուղղության արժեքի տարբերությունը կիսանվագի սկզբում և վերջում |
6II |
8II |
0.2I |
Առանձին նվագներում որոշված և ընդհանուր զրոյի բերված ուղղությունների արժեքների տատանումները |
5II |
8II |
0.2I |
Եթե զենիթային հեռավորության տարբերությունը երկու չափված ուղղություններից 200-ից ավել է, այդ դեպքում երկու կիսանվագներից ստացված, միևնույն անկյան թույլատրելի արժեքների տարբերությունը ավելացվում է 1.5 անգամ:
7.3.12. Եթե անկյունների չափումներից ստացված արդյունքները չեն բավարարում սահմանված պահանջներին, ապա չափումները կրկնվում են լիմբի նախկին դիրքերով:
Կրկնակի չափումները կատարվում են հիմնական ծրագրով նախատեսված չափումների ավարտից հետո:
Եթե անկյան (ուղղության) արժեքները, որոնք ստացվել են հիմնական և կրկնակի չափումներից և բավարարում են սահմանված պահանջներին, ապա այն ընդունվում է հետագա հավասարակշռման: Հակառակ դեպքում հիմնական արժեքների փոխարեն հավասարակշռման համար ընդունվում են կրկնակի չափման արժեքները:
7.3.13. Չափված և ելակետային անկյունների արժեքների տարբերությունը կապվող կետում չպետք է գերազանցի՝
4-րդ դասի պոլիգոնոմետրիայի համար - 6II
1 կարգի պոլիգոնոմետրիայի համար - 10II
2 կարգի պոլիգոնոմետրիայի համար - 20II:
Եթե արժեքների տարբերությունը նախատեսվածից ավել է, ապա որոշվում է երրորդ ելակետային ուղղությունը, որի օգնությամբ կատարվում է վերստուգում:
7.3.14. Չափման գործիքներն օպտիկական կենտրոնադրիչի միջոցով կետի կենտրոնի վրա տեղակայվում է 1 մմ-ի ճշտությամբ:
7.3.15. Սիգնալների սեղանիկներից կամ բուրգերի դիտոցային կենտրոններից դիտումներ կատարելիս պետք է որոշվի բերման տարրերը գրաֆիկ եղանակով երկու անգամ (աշխատանքների սկզբում և ավարտից հետո) համաձայն հավելված N 9-ի ցուցումների:
7.3.16. Անկյունային և գծային չափումները խորհուրդ է տրվում կատարել միաժամանակ: Այդ դեպքում չափումների նախնական արդյունքների մշակումը կատարվում է չափագրողի կողմից:
7.3.17. Պոլիգոնոմետրիական 4 դասի, 1 և 2 կարգի կողմերը չափվում են էլեկտրոնային տախեոմետրերով, լուսահեռաչափերով և այլ գործիքներով և եղանակներով, որոնք ապահովում են նախատեսված ճշտությունները:
7.3.18. Գործիքները և սարքավորումները չափումների ժամանակ պետք է տեղակայվեն կետի կենտրոնի վրա 1 մմ ճշտությամբ:
7.3.19. Պոլիգոնոմետրիական ընթացքների գծերի (կողմերի) չափումները կատարվում են էլեկտրոնային տախեոմետրերով՝ Ta 5, TC 600, TC 305, TC 805, TC 1100, TC 1800 և դրանց համարժեք ճշտության գործիքներով, լուսահեռաչափերով՝ CT 5, CT 10 և այլն, որոնք ապահովվում են մինչև 3 սմ ճշտություն:
7.3.20. Գծերի չափումը էլեկտրոնային տախեոմետրերով և լուսահեռաչափերով կատարվում է համապատասխան եղանակներով և նվագներով, կախված գործիքի տեսակից, համաձայն տվյալ գործիքին կից տրված շահագործման ցուցումների:
7.3.21. Գծերի չափումը լուսահեռաչափերով գծի մի կողմում մեկ անգամ կատարվում է չափում՝ օդի ջերմաստիճանը 10 C-ի և մթնոլորտային ճնշումը 666.610 Па (5 մմ սնդիկի սյան) ճշտությամբ:
7.3.22. Դաշտային աշխատանքների գործաշրջանի սկզբում և վերջում, բայց ոչ պակաս 6 ամիսը մեկ անգամ, բոլոր լուսահեռաչափերի համար, անհրաժեշտ է կատարել մասշտաբային հաճախականության վերստուգում: Դաշտային աշխատանքների գործաշրջանի սկզբում հաճախականությունը բերվում է անվանական ճշտության՝ 10 հց:
7.3.23. Լուսահեռաչափի ուղղման հաստատունը դաշտային պայմաններում որոշվում են յուրաքանչյուր տարում ոչ պակաս 3 անգամ 400-600 մ երկարությամբ բազիսի վրա, չափված 2 մմ-ից ոչ ավել սխալանքով:
7.3.24. Լուսահեռաչափով չափված գծի երկարության հաշվարկումը, պետք է կատարվի տեղում մինչև կետից հեռանալը:
7.3.25. Պոլիգոնոմետրիական ընթացքների կապակցումը տանիքների վրա կամ շենքերի պատերին ամրացված ելակետերին, ունեն հետևյալ առանձնահատկությունները՝
7.3.25.1.Պոլիգոնոմետրիական ընթացքների կապակցումը տանիքների վրա կամ շենքերի պատերին ամրացված ելակետերին, կատարվում է երկու եռանկյունների կառուցման օգնությամբ, որոնց անկյունները և կողմերը չափվում է համապատասխան դասի կամ կարգի համար նախատեսված ճշտության պահանջներով:
Անկյունների մեծությունը պետք է լինի 300-ից ոչ պակաս:
7.3.25.2. Պոլիգոնոմետրիական ընթացքների կապակցումը պատերի վրա գտնվող ելակետերին, խորհուրդ է տրվում չափել 3.18. կետում նշված գործիքներով:
7.3.25.3. Պոլիգոնոմետրիական կետը կարող է ամրացվել շենքի պատին երկու-երեք հենանիշերով, որոնք կազմում են կամ վերականգնող, կամ կողմնորոշիչ համակարգեր:
7.3.25.4. Պատերին ամրացված նշանները, որոնք կազմում են կողմնորոշող համակարգ, կոորդինատների փոխանցումը կատարվում է ժամանակավոր գրունտային կետերից, որոնց վրա կատարվում է բոլոր անկյունային և գծային չափումները պոլիգոնոմետրիական ընթացքների համար: Գրունտային ժամանակավոր կետերի ոչնչացման դեպքում, նրանց վերականգնումը կատարվում է նոր տեղակապումով, կամ պոլիգոնոմետրիական ընթացքի ամրացմամբ:
7.3.25.5.Պատերին նշանների վրա, որոնք կազմում են վերականգնման համակարգ կոորդինատներ չեն փոխանցվում: Ժամանակավոր աշխատանքային կետի ոչնչացման դեպքում այն վերականգնվում է պատային նշաններից չափումների միջոցով:
7.3.25.6. Պատերին ամրացված նշանների ուղղությունները 4 դասի պոլիգոնոմետրիայի համար չափվում է երեք շրջանային նվագներով ընթացքի չափումների ավարտից հետո:
1 և 2 կարգի պոլիգոնոմետրիական ընթացքներում պատերի նշանների չափումները կատարվում է ընդհանուր ծրագրով:
Առանձին նվագներից ստացված արդյունքների ընդհանուր զրոյի բերման տատանումները չպետք է գերազանցի N 10 հավելվածում տրված մեծությունները:
Առանձին նվագներից ստացված արդյունքների ընդհանուր զրոյի բերման տատանումների մեծությունները
Հավելված 10
|
Հեռավորությունը մինչև պատային նշանը, S | |||||||
|
2 |
4 |
6 |
8 |
10 |
15 |
20 |
30 |
Առանձին նվագներից ստացված արդյունքների տատանումները բերված ընդհանուր զրոյի, վրկ. |
200 |
150 |
80 |
60 |
40 |
30 |
20 |
10 |
30 մետրից ավելի հեռավորության դեպքում առանձին նվագներից ստացված արդյունքները չպետք է գերազանցեն N 9 հավելվածում բերված մեծությունները:
7.3.25.7. Ժամանակավոր աշխատանքային կետերից կոորդինատների փոխանցումը, որոնցից կատարվում է հիմնական անկյունային և գծային չափումները պատային նշանների կենտրոններին, և որոնք ընգրկվում են կողմնորոշվող համակարգում, կարելի է կատարել հետևյալ եղանակներով:
Ռեդուկցիայի, բևեռային, անկյունային և գծային փոխհատման: Ռեդուկցիան կիրառվում է այն դեպքում, երբ կետն ամրացված է մեկ կենտրոնով:
7.3.25.8. Բևեռային եղանակով կիրառվում է կոորդինատների փոխանցման համար այն դեպքում, երբ պատային նշանները տեղակայված են նշանների եզակի, կրկնակի, եռակի համակարգերով:
7.3.25.9. Անկյունային փոխհատման եղանակը նպատակահարմար է կիրառել այն դեպքում, երբ ժամանակավոր կետերից չափված տարածությունը մինչև պատային նշանների կենտրոնները խոչընդոտում են տրանսպորտի և հետիոտների ինտենսիվ երթևեկությանը:
7.3.25.10. Գծային փոխհատումների եղանակը կարելի է կիրառել, երբ պատային նշանները հեռու չեն ժամանակավոր կետից, և չափումների ընթացքում չկան խոչընդոտներ:
Կողմնորոշիչ համակարգերի չափումները համեմատած վերականգնվող համակարգի, կրում են լրացուցիչ սխալանքներ:
7.3.25.11. Վերականգնվող համակարգերի պատային նշաններն, որոնք բաղկացած են երկու, երեք նշաններից տարբերվում են կողմնորոշվող համակարգի նշաններից նրանով, որ աշխատանքային ժամանակավոր կետերն, որոնց վրա կատարվում է անկյունային և գծային չափումներ պոլիգոնոմետրիական ընթացքներում, կարող են վերականգնվել նույն եղանակով, ինչպես կառուցվել են դրանք:
Տարբերվում են հետևյալ վերականգնողական համակարգերը.
ա) գծահամատեղված - վերականգնողական,
բ) գծահամատեղված - վերականգնոողական, լրացուցիչ վերստուգմամբ,
գ) հավասարակողմ եռանկյան համակարգ,
դ) ուղղանկյան եռանկյան համակարգ,
ե) հավասարասրուն եռանկյան համակարգ:
7.3.25.12. Պատային նշանների կոորդինատների փոխանցումը ժամանակավոր կետերից (կողմնորոշվող համակարգում) կատարվում է ± 2 մմ միջին քառակուսային սխալանքով բոլոր կարգի պոլիգոնոմետրիական ընթացքների համար:
7.3.25.13. Հեռավորությունը չափվում է մետաղյա ժապավենով:
Չափման մեջ մտցվում է ժապավենի համեմատական ուղղումը և գծի թեքման ուղղումը: Օդի ջերմաստիճանը չափվում է 20C ճշտությամբ:
Բարձրությունները ժապավենի երկու կողմերում չափվում է 5 մմ-ի ճշտությամբ երկրաչափական կամ եռանկյունաչափական նիվելիրացմամբ:
Եթե հանգամանքները բարենպաստ են, կարելի է միանգամից չափել գծի հորիզոնական դիրքը, որի համար թեոդոլիտի, ուղղալարի կամ կենտրոնադրիչի միջոցով որոշվում է ժապավենի փոքրագույն հաշվանքը:
7.3.26. Դաշտային աշխատանքների ավարտից հետո ներկայացվում են հետևյալ նյութերը.
1) ընթացքի սխեման պարտադիր ցույց տրված ելակետի հետ տեղակապումով,
2) չափող գործիքների համեմատման մատյան,
գծերի չափման մատյան,
անկյունների չափման մատյան,
նիվելիրացման մատյան,
3) գործիքների հետազոտությունների նյութեր,
4) դաշտային չափումների մշակման և վերստուգիչ հաշվարկման նյութեր,
5) պոլիգոնոմետրիական կետերի տեղադրման քարտ,
6) պոլիգոնոմետրիական կետերի պահպանության հանձնման ակտ,
7) բացատրագիր:
7.4. ՆԻՎԵԼԻՐԱՑՈՒՄ
7.4.1. Խոշորամասշտաբ տեղագրական հանույթների կատարման ժամանակ նիվելիրացման ցանցերը կազմվում են, ինչպես կանոն պետական բարձունքային ցանցի խտացմամբ (զարգացմամբ):
Կախված տեղագրական հանույթների նշանակությունից, նիվելիրային ցանցերը կարելի է կառուցել, պահպանելով տարբեր դասերի ճշտությունների պահանջները:
Տեղագրական հանույթների համար, կախված նրանց նշանակությունից և մասշտաբներից, նիվելիրային ցանցերի խտությունը և դասի ճշտությունը, ինչպես նաև ռելիեֆի անկմանը որոշվում է աշխատանքների տեխնիկական նախագծով (ծրագրով):
7.4.2. Պետական գեոդեզիական բարձունքային ցանցի խտացումը խոշորամասշտաբ հանույթների համար նախատեսվում է ապահովել կառուցման հետևյալ սկզբունքը` գեոդեզիական ցանցերի համար «բարձր դասի ճշտությունից ցածր դասի»:
Նիվելիրային ցանցերը, խոշորամասշտաբ տեղագրական հանույթների համար, կազմվում են առանձին ընթացքների տեսքով, փակ ընթացքների կամ ինքնուրույն ցանցերի տեսքով և ինչպես կարգն է կապվում է ոչ պակաս երկու բարձր դասի ելակետերի (հենանիշեր, դրոշմանիշեր) հետ:
7.4.3. Հանույթային հիմնակետերի և գեոդեզիական խտացման ցանցերի կետերի բարձրությունները որոշվում են տեխնիկական նիվելիրացմամբ:
7.4.4. Քաղաքներում և գյուղերում ստեղծվող նիվելիրային ցանցերը, որոնք նախատեսված են ապահովելու քաղաքային տնտեսական և շինարարական պահանջները, ունեն իրենց առանձնահատկությունները:
500 քառ. կմ-ից ավելի տարածք ունեցող քաղաքներում պետք է կառուցվի I դասի նիվելիրային ցանց, 50-500 քառ. կմ-ի համար - II դասի, իսկ այնուհետև՝ 3 և 4 դասերի:
2 դասի նիվելիրացումով պետք է ծածկվի քաղաքի ամբողջ տարածքը, ինչպես կառուցապատված, այնպես էլ ոչ կառուցապատ տարածքները: II դասի ընթացքների երկարությունները չպետք է գերազանցեն.
ա) երկու հանգույցային կետերի միջև` 15 կմ կառուցապատված տարածքներում,
բ) 20 կմ - ոչ կառուցապատված տարածքներում: II դասի նիվելիրային ընթացքներում հենանիշերը տեղադրվում են յուրաքանչյուր 2 կմ կառուցապատված տարածքներում և 3 կմ ոչ կառուցապատված տարածքներում:
Ոչ մեծ քաղաքներում, որոնք զբաղեցնում են 25-50 քառ. կմ տարածք` կառուցվում են III դասի նիվելիրային ցանցեր, իսկ 25 քառ. կմ-ից պակաս տարածքներ ունեցող քաղաքներում թույլատրվում է կառուցել միայն IV դասի նիվելիրային ցանց:
III դասի նիվելիրացման ընթացքների կողմերի երկարությունը հանգուցային կետերի միջև չպետք է գերազանցի 10 կմ-ից կառուցապատված տարածքներում և 15 կմ-ից ոչ կառուցապատված տարածքներում:
Նիվելիրային հենանիշերը III և IV դասերի ընթացքներում տեղադրվում են քաղաքների կենտրոնական փողոցներում, յուրաքանչյուրը 200-300 մ հեռավորության վրա, արվարձանային տեղամասերում մինչև 300 մ, իսկ ոչ կառուցապատված տարածքներում յուրաքանչյուր 0.5-2 կմ:
Որպես նիվելիրային նշաններ օգտագործվում են հիմնականում պատային հենանիշերը:
7.4.5. Պահանջները, որոնք ներկայացվում են նիվելիրացման եղանակներին, գործիքներին և աշխատանքների ճշտությանը, տրված են գործող հրահանգներում:
7.4.6. IV դասի նիվելիրացմանը ներկայացվում են հետևյալ հիմնական պահանջները.
7.4.6.1. IV դասի նիվելիրային ընթացքները կառուցվում են մեկ ուղղությամբ: 4 դասի նիվելիրային ընթացքի երկարությունը չպետք է գերազանցի 50 կմ-ից:
7.4.6.2. IV դասի նիվելիրացումը կատարվում է նիվելիրներով, որոնց դիտախողովակի խոշորացումը 25x է, իսկ գլանաձև հարթաչափի բաժանմունքի արժեքը ոչ ավելի 25II 2 մմ-ի վրա:
7.4.6.3. Դաշտային աշխատանքներն սկսելուց առաջ պետք է կատարվի նիվելիրների դաշտային ստուգումներ և հետազոտություններ, ինչպես նաև ռեյկաների համեմատումը կոմպարատորի վրա:
7.4.6.4. IV դասի նիվելիրացման համար օգտագործվում են երկկողմանի չծալվող ռեյկաներ, որոնց վրա հաշվեցույցը վերցվում է սև և կարմիր կողմերով նիվելիրի միջին ցանցաթելի օգնությամբ:
Գործիքից մինչև նշաձող հեռավորությունը որոշվում է նշաձողի (ռեյկայի) սև կողմով ցանցաթելերի օգնությամբ:
7.4.6.5.Նիվելիրացման կայանում դիտարկումները կատարվում է հետևյալ հերթականությամբ.
1. հաշվեցույց հետին նշաձողի (ռեյկայի) սև կողմին,
2. հաշվեցույց առջևի նշաձողի (ռեյկայի) սև կողմին,
3. հաշվեցույց առջևի նշաձողի (ռեյկայի) կարմիր կողմին,
4. հաշվեցույց հետին նշաձողի (ռեյկայի) կարմիր կողմին:
7.4.6.6. Կայանում նշաձողերի (ռեյկաներիի) սև և կարմիր կողմերով որոշված վերազանցումների արժեքների տարբերությունը թույլատրվում է մինչև 5 մմ: Կայանում նիվելիրից մինչև ռեյկաներ հեռավորությունների անհավասարության տարբերությունը թույլատրվում է մինչև 5 մ, իսկ կուտակումը ամբողջ հատվածում (սեկցիայում) մինչև 10 մ:
7.4.6.7. Դիտման ճառագայթի նորմալ երկարությունը պետք է լինի 100 մ: Եթե նիվելիրացումը կատարում են նիվելիրով, որի դիտախողովակը ունի 30x ոչ պակաս խոշորացում, ապա պատկերի արտացոլման տատանումների բացակայության դեպքում դիտման ճառագայթի երկարությունը թույլատրվում է ավելացնել մինչև 150 մ:
7.4.6.8. Ընթացքների անկապքը ելակետերի միջև պետք է լինի ոչ ավելի 20 ÖL մմ, 1 կմ ընթացքի վրա մինչև 15 կայանի դեպքում և 5 Ön (մմ), 1 կմ ընթացքի 15-ից ավել կայանի դեպքում: Որտեղ L- ընթացքի երկարությունն է (կմ), n - կայանների թիվը ընթացքում:
7.4.6.9. 4 դասի նիվելիրացումից հետո պետք է ներկայացվեն հետևյալ նյութերը՝
1. նիվելիրացման ընթացքների սխեման,
2. նիվելիրացման մատյանները,
3. նիվելիրների հետազոտման նյութերը և նշաձողերի (ռեյկաների) համեմատման նյութերը կոմպարատորի վրա,
4. վերազանցումների ամփոփագիր,
5. հաշվարկների նյութերը և ճշտության գնահատականը,
6. նիվելիրային դրոշմանիշերի պատային և գրունտային հենանիշերի ուրվանկարները,
7. դրոշմանիշերի, հենանիշերի բարձրությունների կատալոգը,
8. գրունտային և պատային հենանիշերի պահպանման հանձնման ակտերը,
9. բացատրագիր:
7.4.7. Տեխնիկական նիվելիրացմանը ներկայացվում են հետևյալ հիմնական պահանջները.
7.4.7.1. Տեխնիկական նիվելիրացման ընթացքները կառուցվում են երկու ելակետային հենանիշերի միջև առանձին ընթացքների տեսքով կամ մեկ և մի քանի հանգուցային կետերի միջև: Բացառության կարգով թույլատրվում է փակ ընթացքներ, որոնք հենվում են նույն ելակետի վրա:
Տեխնիկական նիվելիրացման ցանցի մեջ պետք է ընդգրկվեն բոլոր պլանային խտացման կետերը, որոնք չեն ընդգրկվել IV դասի նիվելիրացման ցանցի մեջ:
7.4.7.2. Տեխնիկական նիվելիրացման ընթացքների երկարությունները որոշվում են կախված հանույթի ռելիեֆի անկման բարձրությունից: Ընթացքների թույլատրելի երկարությունները տրված են N 11 հավելվածում:
Տեխնիկական նիվելիրացման ընթացքների թույլատրելի երկարությունները
Հավելված 11
Կետի բնութագիրը |
Ընթացքների երկարությունը կմ-ով ըստ ռելիեֆի անկման | ||
0.25 մ |
0.5 մ |
1 մ և ավելի | |
Երկու ելակետերի միջև |
2.0 |
3 |
15 |
Ելակետի և հանգուցային կետի միջև |
1.5 |
6 |
12 |
Երկու հանգուցային կետերի միջև |
1.0 |
4 |
8 |
7.4.7.3. Տեխնիկական նիվելիրացման համար օգտագործվում են նիվելիրներ, որոնք ունեն 20x ոչ պակաս դիտախողովակի խոշորացում և հարթաչափի բաժանմունքի արժեքը ոչ ավել 45II-ից 2 մմ-ի վրա և նիվելիրներ թեք ճառագայթով:
Նիվելիրային նշաձողերը (ռեյկաները) պետք է ունենան սանտիմետրային կամ 2 սանտիմետրային բաժանումներ:
7.4.7.4. Նիվելիրացումը կատարում են մեկ ուղղությամբ.
նշաձողի (ռեյկայի) հաշվեցույցը, որը կանգնեցվում է նիվելիրային հենակալի (բաշմակի) կամ հողում խփված ցցափայտի վրա, վերցվում է միջին ցանցաթելով,
նիվելիրացման կայանում պահպանում են հաշվեցույցների ընթերցման հետևյալ հերթականությունը.
1) հաշվեցույց հետին ռեյկայի սև և կարմիր կողմերի վրա,
2) հաշվեցույց առջևի ռեյկայի սև և կարմիր կողմերի վրա:
Վերազանցումների տարբերությունը կայանում՝ ստացված նշաձողի (ռեյկայի) սև և կարմիր կողմերով չպետք է գերազանցեն 5 մմ-ից:
7.4.7.5. Հեռավորությունը գործիքից մինչև նշաձող (ռեյկա) որոշվում է դիտախողովակի հեռաչափային ցանցաթելերի միջոցով: Դիտման ճառագայթի նորմալ երկարությունը կազմում է 120 մ: Լավ տեսանելիության պայմաններում և պատկերի արտացոլման տատանումների բացակայության դեպքում դիտման ճառագայթը կարելի է ավելացնել մինչև 200 մ:
7.4.7.6. Նիվելիրացման բաց կամ փակ ընթացքներում անկապքը fh-ը հաշվարկվում է հետևյալ բանաձևով`
¦h=50ÖL (մմ), (1)
որտեղ՝ Լ- նիվելիրացման ընթացքի երկարությունն է կմ-ով:
Տեղանքի մեծ թեքությունների դեպքում, երբ 1 կմ ընթացքում կայանների թիվը գերազանցում է 25-ից, թույլատրելի անկապքը հաշվվում է հետևյալ բանաձևով՝
¦h=10Ön (մմ), (2)
որտեղ n-ը կայանների թիվն է ընթացքում:
7.4.7.7. Տեխնիկական նիվելիրացման գործընթացին զուգահեռ նիվելիրացվում է նաև տեղանքի առանձին բնորոշ կետերը, հաստատուն բարձրություններով օբյեկտները՝ կոյուղիների կափարիչներ, երկաթգծեր, ճանապարհային սյուներ և այլն, որոնք հաշվվում են որպես միջանկյալ բարձրություններ:
Յուրաքանչյուր միջանկյալ կետ պետք է դրոշմվի կամ այդ կետի համար կազմվի ուրվանկար մոտակա կողմնորոշիչ առարկաների հանդեպ: Հատուկ ուշադրություն պետք է դարձնել ջրագծի որոշման վրա:
7.4.8. Գեոդեզիական հանույթային հիմնակետերի բարձրությունների որոշման համար ռելիեֆի 2 և 5 մ անկման, ինչպես նաև բլրոտ տարածքների ռելիեֆի 1մ անկման դեպքում երկրաչափական նիվելիրացումը կարող է փոխարինվի եռանկյունաչափական նիվելիրացումով, որին ներկայացվում են հետևյալ հիմնական պահանջները:
7.4.8.1. Եռանկյունաչափական նիվելիրացման համար որպես ելակետեր կարող են ծառայել եռանկյունավորման և պոլիգոնոմետրիայի բոլոր դասերի և կարգերի կետերը, որոնց բարձրությունները որոշված են երկրաչափական նիվելիրացումով:
Ելակետերը պետք է դասավորված լինեն ոչ պակաս յուրաքանչյուր 5 կողմը մեկ:
Տեսանելիության բարենպաստ պայմանների դեպքում լեռնային շրջաններում T1 և T2 թեոդոլիտներով չափումներ կատարելիս կողմերի թիվը կարելի է ավելացնել 1.5 անգամ:
Լեռնային շրջաններում, որպես ելակետեր կարող են ծառայել եռանկյունավորման և պոլիգոնոմետրիայի կետերը, որոնց բարձրությունները որոշվել են եռանկյունաչափական եղանակով:
7.4.8.2. Եռանկյունաչափական նիվելիրացման ժամանակ ուղղաձիգ անկյունները չափվում են բոլոր կետերի վրա, որոնց բարձրությունները չեն որոշվում երկրաչափական նիվելիրացումից, միաժամանակ միևնույն գործիքներով հորիզոնական անկյունների չափման հետ ուղիղ և հակադարձ ուղղություններով:
Չափումները կատարվում են երեք նվագով ուղղաձիգ շրջանի երկու դիրքով:
Չափումների կատարման համար օգտագործում են դիտման նշանակետերի ցայտուն արտահայտման և օրվա հարմար ժամանակաշրջանում, բացառապես արևածագի և արևամուտի ժամանակահատվածը:
7.4.8.3. Ուղղաձիգ անկյունների և զրոյի տեղի արժեքների տատանումները ստացված առանձին նվագներից չպետք է գերազանցի 15II-ից:
7.4.8.4. Ուղիղ և հակադարձ վերազանցումների տարբերությունը, որոշված ուղիղ և հակադարձ ուղղություններով միևնույն կողմի համար, չպետք է գերազանցի 4 սմ-ից յուրաքանչյուր 100 մ համար:
7.4.8.5. Փակ ընթացքներում սահմանային անկապքը հաշվվում է հետևյալ բանաձևով՝
¦h=0.04Sմջ Ön (սմ), (3)
|
(4) |
որտեղ n- կողմերի թիվն է փակ ընթացքում,
Տ- կողմի երկարությունն է (մ):
Եռանկյունաչափական նիվելիրացման ճշտության համար, հատուկ դեպքերում, կարելի է սահմանել ավելի բարձր պահանջներ, այդ դեպքում աշխատանքների եղանակը որոշվում է հատուկ հաշվարկների հիման վրա:
7.4.8.6. Դիտման նշանակետի գագաթի և գործիքի հորիզոնական առանցքի բարձրությունը նշանի կենտրոնի դրոշմի նկատմամբ չափվում է 1 սմ ճշտությամբ:
8. ՀԱՆՈՒՅԹԱՅԻՆ ՑԱՆՑԻ ՍՏԵՂԾՈՒՄԸ
8.1. ԸՆԴՀԱՆՈՒՐ ԴՐՈՒՅԹՆԵՐ
8.1.1. Հանույթային ցանցը ստեղծում են՝ նպատակ ունենալով խտացնել գեոդեզիական պլանային և բարձունքային հիմքը մինչև այն խտություն, որը կապահովվի տեղագրական հանույթի կատարումը:
Հանույթային ցանցի կետերի խտությունը և դասավորվածությունը որոշվում է տեխնիկական նախագծով, կախված աշխատանքների ընտրված տեխնոլոգիայից, համաձայն սույն հրահանգի պահանջներին:
8.1.2. Հանույթային ցանցը զարգացվում է պետական գեոդեզիական ցանցի, գեոդեզիական խտացման ցանցի 1 և 2 կարգի և տեխնիկական նիվելիրացման կետերի հիման վրա:
Հանույթային ցանցի կետերը որոշվում են արբանյակային եղանակով, կառուցելով հանույթային եռանկյունավորման ցանց, ամրացնելով թեոդոլիտային և մենզուլային ընթացքները, ուղիղ և հակադարձ համատեղված հատումներով:
Հանույթային ցանցի զարգացման ընթացքում, միաժամանակ որոշվում են, որպես կանոն, կետերի պլանային և բարձունքային դիրքը:
Հանույթային հիմնավորման կետերի բարձրությունները որոշվում են արբանյակային եղանակներով, երկրաչափական և եռանկյունաչափական նիվելիրացումով:
8.1.3. Հանույթային հիմքի կետերի պլանային դիրքի սահմանային սխալանքը, այդ թվում պլանային ճանաչման կետերի, պետական գեոդեզիական և գեոդեզիական խտացման ցանցերի նկատմամբ, չպետք է գերազանցի բաց և կառուցապատված տարածքներում 0.2 մմ ճշտությամբ հատակագծի մասշտաբի նկատմամբ և 0.3 մմ - անտառային և թփուտային բուսականությամբ ծածկված տարածքներում:
8.1.4. Ստերեոտեղագրական հանույթի ընթացքում հանույթային ցանցի կետերի դասավորությունը որոշվում է ընտրած հանույթի տեխնոլոգիայով, կախված նկարահանման բարձրությունից և աերոֆոտոհանույթի մասշտաբից:
8.1.5. Հանույթային ցանցի կետերը տեղանքում ամրացվում են երկարաժամկետ կետերով, այն հաշվարկով, որ յուրաքանչյուր հանույթային հատակագծի վրա լինի ինչպես կարգն է, ամրացված ոչ պակաս երեք կետ 1:5000 մասշտաբի և երկու կետ 1:2000 մասշտաբի հանույթների համար, հաշվի առնելով պետական գեոդեզիական և խտացման ցանցերի կետերը (եթե պատվիրատուի կողմից տեխնիկական նախագծում չի պահանջվում ավելի խիտ ցանց):
Բնակեցված տարածքներում և արդյունաբերական կազմակերպությունների տարածքներում հանույթային ցանցի բոլոր կետերը և պլանաբարձունքային ճանաչման կետերն ամրացվում են հիմնային կետերով: Հիմնային և ժամանակավոր կետերի ամրացման և տեղադրման տեսակները տրված են հավելված 6-ում:
8.1.6. Այն դեպքերում, երբ հանույթային ցանցը համարվում է ինքնուրույն գեոդեզիական ցանց, ապա կետերն ամրացվում են հիմնային միաձույլներով (մոնոլիտներով), եռանկյունավորման կետերի կենտրոններով, 1 և 2 կարգի պոլիգոնոմետրիական 5 գռ և 6 գռ. տիպի կենտրոններով, նույն քանակով, ինչպես խտացման ցանցերի, բայց ոչ պակաս 20 % հանույթային ցանցի կետերի քանակից:
8.1.7. Հանույթային ցանցի հավասարակշռումը թույլատրվում է կատարել պարզեցված ձևով:
Թեոդոլիտային և մենզուլային կախված ընթացքների հաշվարկները կատարվում են գեոդեզիական հիմնակետերից և թեոդոլիտային ընթացքների 1 և 2 կարգի կետերից:
8.2 ՀԱՆՈՒՅԹԱՅԻՆ ՑԱՆՑԻ ՍՏԵՂԾՈՒՄԸ ԱՐԲԱՆՅԱԿԱՅԻՆ ՏԵԽՆՈԼՈԳԻԱՆԵՐԻ ՄԻՋՈՑՈՎ
8.2.1. Գեոդեզիական հիմքը, որն օգտագործվում է հանույթային ցանց ստեղծելու համար արբանյակային որոշումների միջոցով, պետք է բավարարի ռադիոալիքների անարգել անցման պահանջներին՝ համաձայն համապատասխան հրահանգի:
8.2.2. Այն դեպքերում, երբ տվյալ տարածքում նախատեսվում է կատարել տեղանքի հանույթ արբանյակային տեխնոլոգիայով, գեոդեզիական խտացման ցանցի և հանույթային ցանցի կառուցում չի պահանջվում, քանի որ արբանյակային եղանակներով որոշումները հեռավորությամբ և ճշտությամբ բավարարում են իրականացնելու հանույթային աշխատանքներ պետական գեոդեզիական պլանային և բարձունքային ցանցերի հիմքերի վրա, 2.24 կետում տրված կետերի խտությանը համապատասխան:
Նման դեպքերում նախատեսվող ցանցի կետերի վրա պետք է բացակայեն այն խոչընդոտները, որոնք ազդում են արբանյակային որոշումների վրա :
8.2.3. Հանույթային ցանցը զարգացնելու համար որպես ելակետեր անհրաժեշտ է օգտագործել գեոդեզիական հիմքի բոլոր կետերը, որոնք գտնվում են տվյալ տարածքում և տարածքից դուրս, բայց ոչ պակաս 4 կետ հայտնի կոորդինատներով և 5 կետ հայտնի բարձրություններով, այնպես որ բավարարի զարգացնելու հանույթային ցանցը գեոդեզիական հիմքի համակարգում:
8.2.4. Արբանյակային տեխնոլոգիաներով հանույթային ցանցի զարգացումը, կախված հանույթի մասշտաբից և ռելիեֆի անկման բարձրությունից, պետք է ընտրել երկու եղանակներից մեկը՝ ցանցի ստեղծման եղանակը կամ կախված կետերի եղանակը:
8.2.5. Հանույթային ցանցի նախագծման համար (տրված օբյեկտում պահանջվող մասշտաբով և ռելիեֆի անկման բարձրությունով) անհրաժեշտ է կիրառել արբանյակային որոշումների ստատիկ, արագ ստատիկ կամ ռեօկուպացիայի եղանակներից որևէ մեկը:
8.2.6. Հանույթային ցանցի զարգացմամ եղանակների և արբանյակային որոշումների եղանակի (կախված հանույթի մասշտաբից և ռելիեֆի անկման բարձրությունից) ընտրության ցուցումները տրված են 12 հավելվածում:
Հանույթային ցանցի զարգացման եղանակների եվ արբանյակային որոշումների եղանակի ընտրության ցուցումները կախված տարբեր հանույթների մասշտաբից եվ ռելիեֆի անկման բարձրությունից
Հավելված 12
Հանույթի մասշտաբը և ռելիեֆի անկման բարձրությունը |
Պլանային հիմք |
Պլանաբարձունքային կամ | ||
հանույթային ցանցի զարգացման եղանակը օգտագործելով արբանյակային տեխնոլոգիան |
արբանյակային որոշումների եղանակները |
հանույթային ցանցի զարգացման եղանակը օգտագործելով արբանյակային տեխնոլոգիան |
արբանյակային որոշման եղանակները | |
1 |
2 |
3 |
4 |
5 |
1:10000 |
կախված կետերի |
արագ-ստատիկ կամ |
կախված կետերի |
արագ-ստատիկ |
1:10000 |
կախված կետերի |
արագ-ստատիկական |
ցանցի կառուցում |
արագ-ստատիկ |
1:2000 |
ցանցի կառուցում |
արագ-ստատիկ |
ցանցի կառուցում |
արագ-ստատիկ |
1:5000 |
կախված կետերի |
արագ-ստատիկ կամ |
ցանցի կառուցում |
ստատիկ |
1:2000 |
ցանցի կառուցում |
արագ-ստատիկ կամ |
ցանցի կառուցում |
ստատիկ |
8.2.6.1. Հանույթային ցանցի զարգացումը կախված կետերի եղանակով խորհուրդ է տրվում օգտագործել այն դեպքերում, երբ չի պահանջվում մեծ ճշտություններ (ռելիեֆի անկման բարձրությունների 1 մ, 2 մ և ավելի դեպքերում):
8.2.6.2. Հանույթային ցանցի զարգացումը ցանցի կառուցման եղանակով խորհուրդ է տրվում օգտագործելու պլանային կոորդինատները և բարձունքային նիշերը բարձր ճշտությամբ ստանալու, ավելի խոշոր մասշտաբի հանույթների կատարման բոլոր պահանջներով (տես. 2.11.1) ռելիեֆի անկման բարձրության համապատասխան (0.5 մ մինչև 5 մ):
8.2.6.3. Արբանյակային որոշումների արագ-ստատիկական եղանակը հանույթային ցանցի զարգացման համար հանդիսանում է հիմնականը:
Այն թույլ է տալիս կատարել որոշումներ պլանային կոորդինատների և բարձունքային նիշերի ստացման բավարար ճշտություն և բարձր օպերատիվություն մասշտաբային շարքի մեծ մասի և ռելիեֆի անկման բարձրությունների համար:
8.2.6.4. Ռեոկուպացիայի եղանակը փոխարինում է արագ-ստատիկական եղանակին այն դեպքերում, երբ աշխատանքների կատարման պայմաններից ելնելով հարմար է կատարել երկու կարճ ընդունում արբանյակներից, տրված ժամանակահատվածում մեկ երկար ընդունման փոխարեն:
8.2.6.5. Արբանյակային որոշումների ստատիկ եղանակը համեմատած աշխատանքներում իր ցածր օպերատիվականությունից կարելի է օգտագործել այն դեպքերում, երբ ռելիեֆի անկման բարձրությունը 0.5 մ է և տեխնիկատնտեսական տեսանկյունից նպատակահարմար է կատարել ոչ թե նիվելիրացում, այլ բարձունքային նիշերը ստանալ արբանյակային որոշումներով:
8.2.7. Հանույթային ցանցի կառուցման եղանակի դեպքում բոլոր ցանցի կողմերը պետք է որոշվեն անկախ մեկը մյուսից (7.1.5), ընդգրկելով նաև այն կողմերը, որոնք հենված են գեոդեզիական հիմքի կետերին: Այդ դեպքում անհրաժեշտ է յուրաքանչյուր նոր որոշված հանույթային ցանցի կետից որոշել ոչ պակաս 3 կետի կողմեր:
8.2.8. Նախատեսված հանույթային հիմնային ցանցի զարգացումը, կախված կետերի եղանակով անհրաժեշտ է որոշել յուրաքանչյուր հանույթային հիմնային կետից մինչև նրան մոտակա գեոդեզիական հիմնավորման կետը, ինչպես նաև հարակից գեոդեզիական հիմնային կետերի միջև (նկ. 12.ա, հավելված 12), կամ եթե նպատակահարմար է գծերը որոշել հանույթային հիմնակետերից մինչև մոտակա գեոդեզիական հիմնակետերը (նկ. 12.2բ), արդյունքում ստանալով հատումները:
Այսպիսով բոլոր դեպքերում գեոդեզիական կառուցումը պետք է ընդգրկի անհրաժեշտ քանակով գեոդեզիական հիմնավորման կետեր (տես.8.2.3):
8.2.9. Արբանյակային դիտումների հաշվարկների համար օգտագործում են IBM-ին համապատասխան համակարգիչներ հագեցված հատուկ ծրագրային փաթեթներով, որոնք մտնում են արբանյակային սարքավորման համալիրի մեջ: Այդ ծրագրային փաթեթների հետ աշխատանքները կատարվում են համաձայն դրանց կիրառման պահանջների, որոնք շարադրված են նրանց կից շահագործման փաստաթղթերում:
8.3 ՀԱՆՈՒՅԹԱՅԻՆ ՑԱՆՑԻ ՍՏԵՂԾՈՒՄԸ ԹԵՈԴՈԼԻՏԱՅԻՆ ԸՆԹԱՑՔՆԵՐՈՎ.
8.3.1 Թեոդոլիտային ընթացքները տեղակայվում են հետևյալ սահմանային հարաբերական սխալներով 1:3000, 1:2000, 1:1000: Ընթացքների թույլատրելի երկարությունը կախված կատարվող հանույթի մասշտաբից, պետական գեոդեզիական ցանցի կետերի նկատմամբ հանույթային հիմքի կետերի պլանային սահմանային հարաբերական սխալի արժեքի մեծությունից և թեոդոլիտային ընթացքների համար 1/N սահմանային հարաբերական սխալների մեծությունից, տրված են 13 հավելվածում:
Թեոդոլիտային ընթացքների թույլատրելի երկարությունները
Հավելված 13
Հանույթի |
ms=0.2mm |
ms=0.3mm | |||
1/N=1/3000 |
1/N=1/2000 |
1/N=1/1000 |
1/N=1/2000 |
1/N=1/1000 | |
ընթացքների թույլատրելի երկարությունը ելակետերի միջև, կմ | |||||
1:5000 |
6.0 |
4.0 |
2.0 |
6.0 |
3.0 |
1:2000 |
3.0 |
2.0 |
1.0 |
3.6 |
1.5 |
1:1000 |
1.8 |
1.2 |
0.6 |
1.5 |
1.5 |
1:500 |
0.9 |
0.6 |
0.3 |
- |
- |
Թեոդոլիտային ընթացքների համակարգում սահմանային թույլատրելի ընթացքի երկարությունը հանգուցային և ելակետային կետերի միջև կամ հանգուցային կետերի միջև պետք է լինի 30 %-ով փոքր 13 հավելվածում բերված մեծություններից:
8.3.2 Թեոդոլիտային ընթացքներում կողմերի երկարությունը կառուցապատված տարածքներում պետք է լինի ոչ ավելի 350 մ և ոչ պակաս 20 մ, իսկ ոչ կառուցապատված տարածքներում` ոչ ավելի 350 մ և ոչ պակաս 40 մ:
8.3.3 Թույլատրվում է տեղակայել կախված թեոդոլիտային ընթացքներ, որոնց երկարությունը չպետք է գերազանցի N 14 հավելվածում տրված մեծությունները:
Կախված թեոդոլիտային ընթացքների թույլատրելի երկարությունները
Հավելված 14
հանույթի մասշտաբը |
կախված ընթացքների երկարությունները, մ | |
կառուցապատված տարածքներում |
ոչ կառուցապատ տարածքներում | |
1:5000 |
350 |
500 |
1:2000 |
200 |
300 |
1:1000 |
150 |
200 |
1:500 |
100 |
150 |
Կախված ընթացքներում կողմերի քանակը կառուցապատ տարածքներում պետք է լինի ոչ ավելի 4-ից, իսկ ոչ կառուցապատ տարածքներում ոչ ավելի 3-ից:
8.3.4 Թեոդոլիտային ընթացքների կողմերի երկարությունը չափվում է`
1) էլեկտրոնային տախեոմետրով և լուսահեռաչափերով մեկ ուղղությամբ,
2) ժապավեններով ուղիղ և հակադարձ ուղղություններով:
Թուլատրվում է օգտագործել նաև ուրիշ գործիքներ, որոնք ապահովում են պահանջվող ճշտությունը:
Կողմի հարաբերական անկապքը 1/N չափված ուղիղ և հակառակ ուղղություններով հաշվվում է հետևյալ բանաձևով
|
(5) |
որտեղ Sուղ- Sհակ- |
չափված համապատասխան ուղիղ և հակադարձ կողմի երկարությունն է: 1/N արժեքի մեծությունը չպետք է գերազանցի թեոդոլիտային ընթացքի սահմանային հարաբերական սխալից: |
8.3.5 Թեոդոլիտային ընթացքները պետք է տեղակայվեն գծային չափումների համար հարմար տեղամասերով:
Թեոդոլիտային ընթացքի կետերի տեղն ընտրվում է այնպես, որպեսզի ապահովի գործիքի տեղադրման և հանույթագրման համար տեսադաշտ:
Թեոդոլիտային ընթացքները չպետք է հատեն պոլիգոնոմետրիական ընթացքների գծերը:
8.3.6 Գծերի չափման համար օգտագործվող ժապավենները, չափերիզները և այլ գործիքներ ճշտվում են (կոմպորիրովկա) դաշտային կոմպորատորով:
8.3.7 Թեոդոլիտային ընթացքներում սահմանային անկյունային անկապքը հաշվում են հետևյալ բանաձևով
¦b= 1 Ön , (6)
որտեղ n - ընթացքի անկյունների թիվն է:
8.3.8 Եթե ընթացքի գծի թեքման անկյունը 1.50-ից ավել է, ապա հորիզոնական անկյան չափման հետ միաժամանակ մեկ նվագով չափվում է ուղղաձիգ անկյունը և գծերը բերվում են հորիզոնի:
8.3.9 Թեոդոլիտային ընթացքների անկյունները չափվում են 30”-ից ոչ պակաս ճշտությանբ թեոդոլիտներով և տախեոմետրերով, մեկ լրիվ նվագով տեղափոխելով լիմբը 900-ով (օպտիկական գործիքների համար):
Միակողմանի հաշվեցույց ունեցող թեոդոլիտներով անկյունների չափման ընթացքում բավական է դիտախողովակը իր առանցքով անցկացնել զենիթով, տեղակայելով լիմբի հաշվեցույցը 1 - 20-ով:
Երկու կիսանվագներով ստացված անկյան արժեքների տատանումները չպետք է գերազանցեն 45”- ից:
Ելակետերին թեոդոլիտային ընթացքների կապակցման ընթացքում չափվում են երկու հարակից անկյունները: Չափված հարակից անկյունների գումարը չպետք է տարբերվի ստացված ելակետային անկյան արժեքից, ոչ ավելի, քան 1’-ից:
8.3.10 Թեոդոլիտի կենտրոնավորումը կետերի վրա կատարվում է օպտիկական կենտրոնացույցով կամ ուղղալարի միջոցով 3 մմ ճշտությամբ:
8.4 ՀԱՆՈՒՅԹԱՅԻՆ ՑԱՆՑԻ ՍՏԵՂԾՈՒՄԸ ԵՌԱՆԿՅՈՒՆԱՎՈՐՄԱՆ ԵՂԱՆԱԿՈՎ
8.4.1. Հանույթային ցանցը բաց տեղանքում կարելի է ստեղծել եռանկյունավորման եղանակով, եռանկյունիների ոչ բարդ ցանցի տեսքով, եռանկյունիների շղթայով կամ առանձին կետերով, որոնք որոշվում են ուղիղ, հակադարձ կամ համատեղված հատումներով:
Եռանկյունավորման ցանցերը, որոնցով որոշվում են 2-ից ավելի կետեր, պետք է հենվեն ոչ պակաս, քան 2 ելակետային կողմերի վրա:
Ելակետային կողմեր կարող են ծառայել գեոդեզիական արբանյակային կառուցվածքների գծերը, եռանկյունավորման 1 և 2-րդ կարգի կողմերը և պոլիգոնոմետրիայի, ինչպես նաև հատուկ չափված բազիսային կողմերը, որոնց հարաբերական սխալը փոքր է 1:5000-ից:
Եռանկյունավորման ցանցերի և շղթաների զարգացումը, որոնք հենվում են մի կողմի վրա (կախված), արգելվում է:
8.4.2. Եռանկյունավորման շղթայի թույլատրելի երկարությունը կամ ելակետային կետերի մեջ եղած հեռավորությունը, որոնց վրա հենվում է եռանկյունների համակարգը, չպետք է գերազանցի, սահմանված հանույթի մասշտաբին համապատասխան, 1:2000 ճշտության թեոդոլիտային ընթացքի երկարությունը:
1:500, 1:1000, 1:2000 և 1:5000 մասշտաբի հանույթների դեպքում ելակետային կողմերի (կետերի) միջև տեղակայված եռանկյունավորման ցանցում, թույլատրվում է կառուցել ոչ ավել 10, 15, 17 և 20 եռանկյունիներ ըստ համապատասխան մասշտաբների:
8.4.3. Եռանկյան անկյունների մեծությունները պետք է լինի ոչ պակաս 200, իսկ կողմերը 150 մ-ից ոչ կարճ:
Անկյունները չափվում են 30”-ից ոչ պակաս ճշտությամբ թեոդոլիտներով և տախեոմետրերով 2 կիսանվագներով լիմբը տեղափոխելով 900-ով (օպտիկական գործիքների համար):
Տարբեր նվագներից ընդհանուր 0-ի բերված նույն ուղղությունների տարբերություններում չպետք է գերազանցեն 45”-ից:
Եռանկյուններում անկապքը չպետք է գերազանցի 1.5’:
Կետի վրա չափված անկյուններում պետք է մտցնել կենտրոնավորման և ռեդուկցիայի համար ուղղումներ, եթե կենտրոնավորման և ռեդուկցիայի գծային տարրերի մեծությունը գերազանցում է գծերի երկարության 1:10 000 հարաբերական սխալը:
8.4.4. Ուղիղ փոխհատումը կատարվում է ոչ պակաս ցանցի 3 հենակետերից, ընդ որում ուղղությունների միջև անկյունները, որոշվող կետի նկատմամբ, չպետք է լինեն 300-ից պակաս և մեծ 1500-ից:
Հակադարձ փոխհատումը կատարվում է ոչ պակաս, քան 4 ելակետերով հետևյալ պայմանով, որոշվող կետը չի գտնվում, ցանկացած 3 ելակետերով անցնող շրջանագծի մոտակայքում:
Համատեղված հատումը կատարվում է ուղիղ և հակադարձ հատումներով նրանց մեջ ընդգրկելով ոչ պակաս, քան 3 ելակետեր:
9. ԳԵՈԴԵԶԻԱԿԱՆ ՉԱՓՈՒՄՆԵՐԻ ՏՎՅԱԼՆԵՐԻ ՄՇԱԿՈՒՄԸ
9.1 ԸՆԴՀԱՆՈՒՐ ԴՐՈՒՅԹՆԵՐ
9.1.1 Գեոդեզիական չափումների արդյունքների մշակումն ընդգրկում է հետևյալ հիմնական գործընթացները՝
1. Դաշտային հաշվարկներ, ներառելով ստուգումները,
2. Կամերալ մշակումներ և հավասարակշռման հաշվարկներ:
Որպես կանոն, եթե չկա ստուգման այլ բանաձևեր, ապա բոլոր նյութերը հաշվարկվում են երկրորդ ձեռք:
9.1.2 Ստուգման գործողությունները պետք է կատարվեն աշխատանքների իրականացման գործընթացում բացահայտելու և պարզաբանելու չափումների ճշտությունը և նրանց համապատասխանությունը գործող հրահանգների պահանջներին:
Որպես կանոն, ստուգման հաշվարկները կատարում է աշխատանքներ կատարողը և նրա անմիջական ղեկավարը:
9.1.3 Գեոդեզիական չափումների մաթեմատիկական մշակումը կատարվում է ընդունված քարտեզագրական պրոյեկցիաներով և կոորդինատային ու բարձունքային համակարգերով: Մաթեմատիկական մշակումն ընդգրկում է հետևյալ աշխատանքները՝
1. գեոդեզիական ցանցի սխեմայի կազմումը,
2. ելակետերի կոորդինատների և բարձրությունների պատրաստումը և վերլուծությունը պարզաբանելու նրանց հուսալիությունը և ճշտությունը,
3. ելակետերի կոորդինատների անցումը մի համակարգից մյուս համակարգ,
4. չափման մատյանների ստուգումը և մշակումը,
5. գեոդեզիական կետերի բերման տարրերի որոշած նյութերի ստուգումը և մշակումը,
6. չափման ուղղությունների և անկյունների, զենիթային հեռավորությունների համատեղումների կազմումը,
7. լուսահեռաչափերով և այլ գործիքներով չափված գծերի երկարությունների հաշվարկումը,
8. անկյունային, բևեռային, գծային, կոորդինատային անկապքների որոշումը,
9. վերազանցումների ամփոփագրերի կազմումը,
10. գեոդեզիական կետերի բարձրությունների մոտավոր կոորդինատների հաշվարկումը,
11. պոլիգոնոմետրիական ընթացքին կապվող պատային նշանների հաշվարկների ստուգում (քաղաքներում կատարվող աշխատանքների համար),
12. գեոդեզիական կառուցվածքների հավասարակշռման համար տեղեկատվության պատրաստումը և հավասարակշռումը` առավելագույնս օգտագործելով համակարգիչներ և ԷՀՄ-ներ,
13. բացատրագրի և հաշվետվության սխեմայի կազմումը,
14. նյութերի կարգավորումը և նրանց պատրաստումը հանձնման:
Համակարգիչ մուտքագրվող տվյալները ստուգվում են 2 տարբեր կատարողների կողմից:
9.1.4 Որպես կանոն հաշվարկները կատարվում է տվյալ օբյեկտի համար որոշված կոորդինատային համակարգում:
Նոր տեղական կոորդինատային համակարգերի ընտրության դեպքերում ընդունում են եռաստիճան գոտիներ Գաուսի պրոյեկցիայում և կամայական առանցքային միջօրեականը պետք է անցնի տարածքի կենտրոնական մասով կամ նրան մոտ, այնպիսի հաշվարկով, որպեսզի հարթության վրա գծային և անկյունային վերծանման ուղղումները լինեն չափման սխալներից ոչ պակաս, քան 3 անգամ:
Նշանակալից բարձրություններով տարածքներում թուլատրվում է հարաբերական մակարդակային մակերևույթը տեղափոխել հանույթագրվող օբյեկտի միջին բարձրության բերված մակերևույթը:
9.1.5 Անկյունաչափական տվյալների մշակման ընթացքում անհրաժեշտ է ղեկավարվել հետևյալով՝
9.1.5.1 Պոլիգոնոմետրիական բազմանկյուններում և փակ ընթացքներում չափվող անկյան mb միջին քառակուսային սխալը որոշում են հետևյալ բանաձևով՝
mb = |
|
(7) |
իսկ ցանցի հանգուցային կետերի համար, որտեղ բացակայում են փակ բազմանկյունները mb հաշվում են հետևյալ բանաձևով.
mb = |
|
(8) |
որտեղ՝ ¦b - բազմանկյան կամ ընթացքի անկյունային անկապքն է,
n - չափված անկյունների քանակն է,
N - բազմանկյունների կամ ընթացքների քանակն է,
k - հանգուցային կետերի քանակն է:
Պոլիգոնոմետրիական փակ ընթացքների և բազմանկյունների անկյունների չափումների ճշտության վերջնական գնահատումը, երբ N փոքր է 5-ից, խորհուրդ է տրվում կատարել հավասարակշռման նյութերով, ոչ թե անկապքներով, որովհետև անկապքները միմյանց մեջ կապված են և բանաձև 7-ը երբ N փոքր է 5-ից, բավարար արդյունավետ չէ:
9.1.5.2 Եռանկյունավորման մեջ անկյան միջին քառակուսային սխալը որոշում են հետևյալ բանաձևով՝
mb = |
|
(9) |
որտեղ՝ V - եռանկյան անկապքն է,
n - եռանկյունիների թիվն է ցանցում:
9.1.5.3 Կողմնային և բևեռային պայմանների ազատ անդամների սահմանային թույլատրելի արժեքը ¦բեվ թույլ որոշում են հետևյալ բ-ով:
¦բեվ թույլ = 2.5m |
[d2] | (10) |
որտեղ m - եռանկյունավորման համապատասխան դասի անկյան չափման միջին քառակուսային սխալն է:
Öd - եռանկյունների կապող անկյունների սինուսների լոգարիթմների փոփոխումն է այդ անկյունների 1”-ն փոփոխման դեպքում, արտահայտված լոգարիթմի 6-րդ նիշի միավորով:
9.1.5.4 Բազիսային և ազիմուտային պայմանների ազատ անդամների սահմանային թույլատրելի արժեքները ¦բազ. թույլ և ¦ազ. թույլ հաշվում են հետևյալ համապատասխան բանաձևերով՝
¦բազ. թույլ = 2.5 |
m2[d2]+2m2s | (11) |
և
¦բազ. թույլ = 2.5 |
m2n+2m2a | (12) |
որտեղ՝ ms - ելակողմի միջին քառակուսային սխալն է, արտահայտված լոգարիթմի 6-րդ
նիշի միավորով՝
ma - ելային ազիմուտի միջին քառ. սխալն է,
n - անկյունների քանակը ազիմուտի փոխանցման դեպքում կամ եռանկյունիների քանակը:
9.1.6 Ելակետային ցանցի վերլուծությունը և ելակետային կոորդինատների և բարձրությունների ցուցակի նախապատրաստումը՝ նախորդում են փաստացի հաշվարկներին:
Վերլուծություն են կատարում հետևյալ աշխատանքներով՝
1. Ելակետային կետերի նոր և հին կենտրոնների համակցման ստուգումը տեղադրման ակտերով և անկյունների համեմատման եղանակով նոր ցանցի կապակցման չափումների դեպքում (տեղեկությունները ձևակերպում են հատուկ մատյանում):
2. Ելակետային գեոդեզիական ցանցի հավասարակշռման նյութերի վերլուծությունը:
Այդ դեպքում հատուկ ուշադրություն պետք է դարձվի տարբեր աշխատանքների արդյունքում ստեղծված գեոդեզիական ցանցին և նրանց հավասարակշռման եղանակներին՝
տարբեր գեոդեզիական կառույցների բազմափուլ հավասարակշռումներից ստացված կոորդինատների համար ամենաթույլը պետք է ընդունել երկու հարակից գեոդեզիական կետերի փոխադարձ դիրքը:
Գեոդեզիական ցանցի կողմերի հարաբերական սխալն ամենաթույլ մասում չպետք է գերազանցի հետևյալ մեծությունները՝
-1/50000 4-րդ դասի ցանցի զարգացման դեպքում,
-1/20000 1-ին կարգի խտացման ցանցի զարգացման դեպքում,
-1/10000 2-րդ կարգի խտացման ցանցի զարգացման դեպքում:
9.1.7 Ելակետային ցանցը փորձարկելու համար պետք է հաշվարկել կոորդինատային անկապքները բոլոր ելակետերի միջև ընթացքի ամենակարճ գծով:
9.1.8 Նոր և նախկինում ստեղծված գեոդեզիական ցանցերի համատեղ հավասարակշռման համար ելակետերի ընտրությունը կատարվում է ելակետային գեոդեզիական կառույցների մանրամասն վերլուծությունից հետո:
Ցանցերի համատեղ հավասարակշռման համար ելակետերի ընտրությունը չպետք է հետագայում բերի լրացուցիչ աշխատանքների կատարմանը:
9.1.9. Տեղական համակարգում գեոդեզիական խտացման ցանցերի հավասարակշռման համար անհրաժեշտ է պետական գեոդեզիական ցանցի բոլոր կոորդինատները վերահաշվարկել տեղական կոորդինատային համակարգում հաշվի առնելով այդ կոորդինատների վերաբերյալ տեղանքի բարձրությունների միջին մակարդակային մակերևույթը:
Պետականից տեղական կոորդինատային համակարգին անցնելու դեպքում պետք է հաշվի առնել հետևյալ տվյալները՝
1) տեղական կոորդինատային համակարգում առանցքային միջօրեականի երկայնությունը,
2) տեղական կոորդինատային համակարգում սկզբնակետի կոորդինատների արժեքները,
3) սկզբնական դիրեկցիոն անկյունը և կոորդինատների համակարգը, որում նա տրված է,
4) տեղանքի միջին մակարդակային մակերևույթի նշանակությունը, որին վերաբերում են չափումները:
9.2. ԳԵՈԴԵԶԻԱԿԱՆ ԿԱՌՈՒՅՑՆԵՐԻ ՀԱՎԱՍԱՐԱԿՇՌՈՒՄԸ
9.2.1 Գեոդեզիական կառույցների հավասարակշռումը կատարում են նվազագույն քառակուսիների եղանակով:
9.2.2. Գեոդեզիական կառույցների հավասարակշռման համար հանդես են գալիս ՊԳՑ 1, 2, 3 և 4 դասի կետերի հավասարակշռված կոորդինատները, որոնք բավարարում են «Պետական գեոդեզիական ցանցի ստեղծման հիմնական դրույթներ»-ի պահանջներին:
Հավասարակշռված կոորդինատների բացակայության կամ այդ ցանցերի դեֆորմացիայի դեպքում ելակետային տվյալների և մոտավոր հավասարակշռման պատճառով անհրաժեշտ է կատարել պետական գեոդեզիական ցանցի այդ մասի տեղական հավասարակշռում, ամենափոքր քառակուսիների եղանակով:
Մասշտաբի փոխանցման և կողմնորոշման համար անհրաժեշտ է, որ հատկացված տարածքը ունենա ելակետեր հանդիսացող հավասարակշռված 1-4 դասերի ցանցի 2 կետ կամ չհավասարակշռված 2-4 դասերի ցանցը լրացնող մեկ բազիս և մեկ ելակետային դիրեկցիոն անկյուն:
Մինչև պետական ցանցի վերջնական հավասարակշռումը թույլատրվում է օգտագործել տեղական ցանցի ելակետերի ուղղանկյուն կոորդինատների արժեքները, ստացված նրանց նախնական հավասարակշռումից:
9.2.3 Որպես կանոն, գեոդեզիական կառուցվածքները մտցնում են պետական ցանցի հաստատուն եզրագծով կետերի և տեղական ցանցի կետերի մեջ (օրինակ. քաղաքային եռանկյունավորման), որոնց կոորդինատները ստացված են պետական ցանցի հետ համատեղ հավասարակշռումից:
9.2.4 Այն դեպքերում, երբ ինչ-որ պատճառներով 4-րդ դասի ցանցը համատեղ պետական ցանցի հետ չի, ապա այն պետք է հավասարակշռել առանձին, ելակետային ընդունելով 1-3-րդ դասերի հավասարակշռված ցանցերի կետերը:
Անհրաժեշտության դեպքում թույլատրվում է ելակետերի փոխարեն օգտագործել 4-րդ դասի պետական գեոդեզիական ցանցի կետերը:
Ցանցի հավասարակշռման աշխատանքների ընթացքում, որպես կանոն չի թույլատրվում խախտել նրա անընդհատությունը կապակցման խզումը տեղական համակարգի եռանկյունավորման 4-րդ դասի ցանցի կետերը ելակետերով:
Այդպիսի խզման դեպքերից խուսափելու համար թույլատրվում է 4-րդ դասի եռանկյունավորման կետերի փոխարեն կապակցման կողմեր օգտագործել ստեղծվող 4-րդ դասի պոլիգոնոմետրիական ընթացքների մի մասը:
Ելակետային ցանցի հաստատուն եզրագծի մեջ 4-րդ դասի եռանկյունավորման ցանցը կապակցման համար, վերջինի հետ ամնիջական կապի բացակայության դեպքում՝ կատարվում է 4-րդ դասի եռանկյունավորման և պոլիգոնոմետրիայի համատեղ հավասարակշռում:
4-րդ դասի պոլիգոնոմետրիայի և եռանկյունավորման հավասարակշռումից ստացված կետերի կոորդինատները կարող են ծառայել որպես ելակետեր 1 և 2-րդ կարգի խտացման ցանցերի հավասարակշռման համար:
Եթե 4-րդ դասի (1 և 2-րդ կարգի) գեոդեզիական ցանցը ստեղծվում է ոչ ամբողջ տարածքում, այլ որպես նախկինում եղած ցանցի լրացում, այդ դեպքում թույլատրվում է որպես ելակետեր օգտագործել 4-րդ դասի (1 և 2-րդ կարգի) եռանկյունավորման և պոլիգոնոմետրիական կետերը:
9.2.5 Տեղական գեոդեզիական ցանցի նոր հավասարակշռման անհրաժեշտությունը որոշվում է 1:500 և 1:1000 մասշտաբի (առանձին դեպքերում նաև 1:2000 մասշտաբի) կատարված և կատարվող աշխատանքների ծավալների համեմատումով, որոնք կապված են կառույցների նախագծերը բնության մեջ տեղադրելու, ինչպես նաև շինարարական առանցքների և նախագծվող շինությունների ծրագծերի (ուղագծերի) բոլոր տեսակի նշահարման աշխատանքների հետ:
Ցանկացած ճշտության ցանցի նոր հավասարակշռումը կատարվում է նախկինում կատարված աշխատանքների տվյալների հիման վրա:
9.2.6 Չի թույլատրվում կրկնակի հավասարակշռել նախկինում ստեղծված գեոդեզիական հիմքը, եթե այն բերում է կոորդինատների ոչ հավասարաչափ փոփոխումների ամբողջ տարածքի համար ավելի քան 0.2 մմ առավելագույնս խոշոր մասշտաբի հատակագծի վրա 1կմ հատվածում:
9.2.7 Քաղաքային գեոդեզիական ցանցերը պետք է ունենան հուսալի կապ պետական գեոդեզիական ցանցի հետ, որի համար քաղաքային ցանցի գեոդեզիական կետերը համատեղվում են 3-ից ոչ պակաս պետական գեոդեզիական ցանցի կետերի հետ:
9.2.8 Բնակավայրերում գեոդեզիական ցանցերի հավասարակշռումը պետք է կատարվի առանձին 2 կոորդինատային համակարգերում՝ պետական կոորդինատային համակարգում և տվյալ բնակավայրի համար ընդունված տեղական կոորդինատային համակարգում:
9.2.9 Քաղաքային գեոդեզիական ցանցի հավասարակշռումը տեղական կոորդինատային համակարգում կատարվում է հետևյալ կերպով՝
1) Որպես ազատ ցանց համատեղ նախկինում որոշված նույն դասի ցանցի կետերի հետ, եթե հավասարակշռման հետևանքով այդ կետերի կոորդինատների փոփոխությունները չեն գերազանցի 8-10 սմ: Այդպիսի հավասարակշռման դեպքում ելակետային են հանդիսանում մեկ կետի կոորդինատները, տրված տեղական կոորդինատային համակարգում, ինչպես նաև դիրեկցիոն անկյունները և բազիսները որոշված քաղաքային ցանցի ստեղծման ընթացքում և պրոյեկտված ընդունված հարաբերական մակերևույթի վրա և ընդունված առանցքային միջօրեականի նկատմամբ, կամ 2 հարակից կետերի կոորդինատները, որոնք տրված են տեղական կոորդինատային համակարգում:
2) Ելակետային ընդունելով նախկինում որոշված կետերի կոորդինատները, եթե վերջիններիս կոորդինատների փոփոխությունը համատեղ հավասարակշռումից գերազանցում է 10 սմ:
Ելակետային կոորդինատների ընտրության հարցը պետք է համաձայնեցված լինի Կադաստրի կոմիտեի պետական գեոդեզիական վերահսկողության տեսչության հետ:
9.2.10 Պետական կոորդինատային համակարգում քաղաքային գեոդեզիական ցանցի հավասարակշռումը կատարվում է ներառելով պետական գեոդեզիական ցանցի 4-րդ դասի, 1-ին, 1-2-րդ կարգի եռանկյունավորման և պոլիգոնոմետրիական կետերը:
Այդ դեպքում պետական գեոդեզիական ցանցի կետերի հետ միասին ելակետային են ընդունվում նաև քաղաքային ցանցի դիրեկցիոն անկյունները և բազիսները:
9.2.11 Խտացման գեոդեզիական ցանցերը, որոնք ստեղծվում են համեմատաբար փոքր տարածքների վրա թույլատրվում է նաև թեոդոլիտային և հանույթային ընթացքները հավասարակշռել պարզեցված եղանակով՝ առանձին դիրեկցիոն անկյունների, աբսցիսների և օրդինատների հավասարակշռմամբ:
9.2.12. Նիվելիրային ցանցի մշակումը և հաշվարկումը կատարվում է գործող հրահանգների պահանջներին համապատասխան:
9.2.13 Բոլոր դասերի նիվելիրացման և եռանկյունաչափական նիվելիրացման հաշվարկները և հավասարակշռումը կատարվում է 1977 թ. Բալթյան բարձունքային համակարգում, կամ առանձին դեպքերում, պայմանական բարձունքային համակարգում:
9.2.14 Բավական քանակի ելակետեր ունեցող IV դասի նիվելիրացման ցանցը կարելի է հավասարակշռել պարզեցված եղանակով:
9.2.15 Նախկինում ստեղծված նիվելիրային ցանցի առաջնային նյութերի առկայության դեպքում նույն դասի նոր ցանցը հավասարակշռվում է նրա հետ համատեղ:
9.2.16 IV դասի նիվելիրացման գծերը հավասարակշռվում են ավելի բարձր դասի նիվելիրացման հավասարակշռումից հետո՝ անհրաժեշտության դեպքում նախկինում կատարված նիվելիրացման կետերի բարձրությունները հաշվարկվում են նորից:
9.2.17 IV դասի հին նիվելիրացման գծերի նոր հավասարակշռումը կարելի է կատարել պարզեցված եղանակով՝ բարձր դասի ցանցի մեջ առանձին կապակցումներով:
9.2.18 Հավասարակշռման աշխատանքների ավարտից հետո բոլոր նյութերը պետք է համապատասխան կարգով ձևակերպված լինեն հետագա գեոդեզիական աշխատանքներում (կատալոգների, տեխնիկական հաշվետվությունների կազմում և այլն) օգտագործելու համար:
Բացատրագրի մեջ, որը կցվում է հավասարակշռման նյութերին պետք է բերվեն հետևյալ տեղեկությունները՝
1) ընդունված կոորդինատային և բարձունքային համակարգը,
2) հավասարակշռման մեջ ընդգրկված գեոդեզիական կառուցվածքների ցանկը և նրանց տեխնիկական բնութագրերը,
3) տեղեկությունները ելակետային գեոդեզիական հիմքի մասին,
4) հավասարակշռման եղանակները, նրանց առանձնահատկությունները և ճշտության գնահատումը,
5) այբբենական կարգով դասավորված կետերի տեղակագիրը:
Համակարգիչների օգնությամբ հավասարակշռելու դեպքում բերվում են հետևյալ տվյալները (ծրագրի անվանումը, համակարգչի տեսակը և այլն):
9.3 ԿՈՈՐԴԻՆԱՏՆԵՐԻ ԵՎ ԲԱՐՁՐՈՒԹՅՈՒՆՆԵՐԻ ԿԱՏԱԼՈԳՆԵՐԻ ԿԱԶՄՈՒՄԸ
9.3.1 Օբյեկտի բոլոր նոր և նախկինում ստեղծված գեոդեզիական կառուցվածքների համար կազմում են կետերի կոորդինատների և բարձրությունների հավասարակշռման ամփոփ կատալոգ:
Եթե նոր գեոդեզիական կառուցվածքները ստեղծված են որպես նախկին կառուցվածքների լրացում, ապա նրանց կատալոգները նույնպես կազմվում են որպես նախկին կատալոգների լրացում:
9.3.2 Պետական և տեղական կոորդինատային համակարգերում կետերի կոորդինատների և բարձրությունների կատալոգները կազմվում են առանձին-առանձին: Այդ կատալոգները պետք է պարունակեն հետևյալ բաժինները և մասերը:
1) երեսպատ թերթը, տիտղոսաթերթը և բովանդակության ցանկը,
2) բացատրագիրը,
3) կետերի կոորդինատների և բարձրությունների ցուցակը,
4) կենտրոնների և հենանիշերի գծագրերը,
5) գեոդեզիական կառուցվածքների սխեման,
6) կետերի անվանումների ցանկն այբբենական կարգով:
9.3.3 Պետական կոորդինատային համակարգի կատալոգների կազմում ընդգրկվում են միայն քաղաքների և արդյունաբերական խոշոր համալիրների կետերի կոորդինատները:
9.3.4 Քաղաքներում կատարվող աշխատանքների տեղական կոորդինատային համակարգի կատալոգներում ներառում են քաղաքային գեոդեզիական ցանցի բոլոր կետերը:
Պետական կոորդինատային համակարգի կատալոգներում ներառում են արբանյակային գեոդեզիական կառույցները, 4-րդ դասի պոլիգոնոմետրիական և եռանկյունավորման կետերը, 1 և 2-րդ կարգի եռանկյունավորման կետերը, ինչպես նաև 1 և 2-րդ կարգի պոլիգոնոմետրիական հանգուցային և հարակից կետերը:
Առանց հանգուցային կետերի պոլիգոնոմետրիական 1 և 2-րդ կարգի ընթացքների կետերից կատալոգ են ներառում 3 կետ, որոնք դասավորված են ընթացքի մեջտեղում:
9.3.5 Կատալոգների մեջ չեն ընդգրկում գեոդեզիական կառուցվածքների կետերը, եթե այդ կետերը տեղանքում պահպանված չեն կամ ամրացված են կենտրոններով, որոնք չեն ապահովում նրանց մշտական գոյությունը, բացառությամբ այն կետերի, որոնք հանդիսանում են ելակետային (աշխատանքային) պատային նշանների կապակցման համար:
9.3.6 Այն կետերի կոորդինատները, որոնք իջեցված են կարգով մինչև հանույթային, ընդգրկվում են «հանույթային ցանցի կոորդինատների և բարձունքային նիշերի ցուցակ»-ի մեջ:
Այդպիսի կետերի համեմատաբար փոքր քանակության դեպքում (մինչև 50) նրանք կարող են ընդգրկվել ընդհանուր կատալոգի մեջ հիմնական կետերի ցուցակից հետո:
9.3.7 Արբանյակային և եռանկյունավորման գեոդեզիստական կետերը, կատոլոգում տեղաբաշխվում են աբսցիսների նվազման կարգով, պոլիգոնոմետրիական կետերը և նիվելիրացման հենանիշերը՝ ելակետերի միջև ընթացքների ուղղությամբ:
9.3.8 Կետերի կոորդինատների արժեքները կատալոգում գրանցվում են մինչև 0.001 մ, իսկ դիրեկցիոն անկյունները մինչև 0.1” ճշտությամբ: Հանույթային ցանցի կետերի կոորդինատները գրանցվում են մինչև 0.01 մ ճշտությամբ:
Կենտրոնների բարձունքային նիշերը Բալթյան 1977 թ. բարձունքային համակարգում կամ պայմանական մակարդակի բարձունքային համակարգում, անկախ նիվելիրացման դասից, կատալոգում նշում են մինչև 0.001 մ ճշտությամբ: Բարձունքային նիշերը, որոնք ստացված են եռանկյունաչափական նիվելիրացմամբ, գրանցվում են մինչև 0.1 մ ճշտությամբ:
9.3.9 Դիրեկցիոն անկյունները և գծերի երկարությունները գրանցվում են 2 ուղղությունների համար, որոնք վերաբերում են այն կետին, որի համար գրանցված են կոորդինատները:
9.3.10. Կատալոգում տրված կոորդինատների, դիրեկցիոն անկյունների և կողմերի երկարությունների միջև պետք է լինի խիստ համապատասխանություն :
9.3.11 Նիվելիրացման կետերի բարձունքային նիշերի կատալոգը պարունակում է հետևյալ բաժինները և մասերը՝
1) երեսպատ թերթը, տիտղոսաթերթը և բովանդակության ցանկը,
2) բացատրագիրը,
3) ընդունված կրճատումների ցուցակը,
4) նիվելիրային նշանների գծագրերը,
5) նիվելիրային հենանիշերի, դրոշմանիշերի և կետերի ցուցակը,
6) նիվելիրային ընթացքների սխեման:
9.3.12 Գեոդեզիական կառուցվածքների կոորդինատների (բարձունքային նիշերի) կատալոգները ցանցի կետերի սխեմաների հետ միասին կազմվում են տեխնիկական նախագծով նախատեսված անհրաժեշտ քանակով, բայց ոչ պակաս 3 օրինակից:
Կատալոգները փոխանցվում են կադաստրի կոմիտեի պետական գեոդեզիական վերահսկողության տեսչություն, որոնք սահմանված կարգով ըստ հայտերի տրամադրվում են օգտագործողներին: Այդ կատալոգից մեկ օրինակ մշտական պահպանման է հանձնվում հանրապետական քարտեզագեոդեզիական ֆոնդին:
10. ԱԵՐՈՖՈՏՈՏԵՂԱԳՐԱԿԱՆ ՀԱՆՈՒՅԹ
10.1. ԸՆԴՀԱՆՈՒՐ ԴՐՈՒՅԹՆԵՐ
10.1.1 Աերոֆոտոտեղագրական հանույթը, կախված նկարահանվող տարածքի բնույթից, կազմվող հատակագծի մասշտաբից, գոյություն ունեցող ֆոտոգրամետրիական սարքերից, աշխատանքների կատարման ժամկետից, կատարում են հետևյալ հիմնական տեխնոլոգիական սխեմաներից մեկով՝ ստերիոտեղագրական կամ համակցված եղանակներով.
10.1.1.1. Թվային տեղեկատվության հավաքագրումը հատակագծի ուրվագծային մասի և ռելիեֆի մասին կատարվում է ստերեոֆոտոգրամետրիական (անալիտիկ կամ թվային) սարքավորումների վրա:
Վերծանումը (դեշիֆրովկա) կատարում են կամերալ պայմաններում և դաշտում աերոֆոտոնկարների կամ ֆոտոսխեմաների վրա (1-ին տարբերակ ստերեոտեղագրական եղանակով).
10.1.1.2 Ռելիեֆի մասին թվային տեղեկատվության հավաքագրումը կատարվում է ստերիոֆոտոգրամետրիական (անալիտիկ կամ թվային) սարքավորումներով, հատակագծի ուրվագծային մասը ստեղծվում է ֆոտոհատակագծի պատկերի վեկտորացման ճանապարհով թվայնացվող սարքավորումների վրա:
Վերծանումը կատարում են կամերալ և դաշտային եղանակների զուգակցումով (2-րդ տարբերակ ստերեոտեղագրական եղանակ).
10.1.1.3 Ռելիեֆի հանույթը կատարվում է վերգետնյա սովորական եղանակներով (արբանյակային, տախեոմետրական, մենզուլային և այլ) միաժամանակ վերծանելով և ֆոտոնկարի վրա չերևացող (չպատկերված) օբյեկտների հանույթագրման հետ համատեղ: Ռելիեֆի մասին վեկտորիզացված թվային տեղեկատվությունն օգտագործվում է թվային ֆոտոգրամետրիկ կայանի (ԹՖԿ) վրա թվայնացված օրթոֆոտոհատակագիծ ստանալու համար: Հատակագծի ուրվագծային մասը ստեղծվում է 10.1.1.2 կետում շարադրված եղանակին համանման, թվայնացնող սարքերի վրա օրթոֆոտոպատկերի վեկտորացման ճանապարհով (համակցված եղանակ 1-ին տարբերակ):
10.1.1.4 Կամերալ վերծանման ժամանակ աերոֆոտոնկարի վրա պատկերված բոլոր օբյեկտների ուրվագծերի մասին թվայնացված տեղեկատվության հավաքագրումը կատարվում է ստերեոֆոտոգրամետրիական անալիտիկ սարքերով: Ռելիեֆի հանույթը կատարվում է վերգետնյա չափումներով, այդ դեպքում ճշտվում են կամերալ վերծանման տվյալները և կատարվում գրաֆիկական հատակագծի վրա բացակայող օբյեկտների հանույթը: Հավաքագրված դաշտային տեղեկատվությունը վերածվում թվային տեսքի (համակցված եղանակ, 2-րդ տարբերակ):
10.1.2 Առանձին հատվածներ ունեցող այն հանույթագրվող օբյեկտները, որոնք նպատակահարմար չեն ստերեոտեղագրական եղանակով կիրառման, ելնելով կառուցապատման կամ հողատեսքերի բնույթից, անհրաժեշտ է ստերեոտեղագրական հանույթը զուգակցել վերգետնյա հանույթի հետ: Այդ դեպքում վերգետնյա եղանակով հանույթագրվում է այն հատվածները, որոնք չեն ընդգրկվել ստերեոտեղագրական հանույթում:
1:500, 1:1000 և 1:2000 մասշտաբի խիտ բարձրահարկ կառուցապատված տարածքների հանույթագրման ընթացքում, հատակագծերի ուրվագծային մասերը կազմվում են ստերեոֆոտոգրամետրիական սարքերի վրա (համակցված եղանակ, 2-րդ տարբերակ):
Ռելիեֆի ստերեոսկոպային հանույթը չպետք է կիրառվի բարձր և տարածական բուսածածկ ունեցող տարածքներում (անտառներ, այգիներ, թփուտներ, եղեգներ) ռելիեֆի 0.5 մ և 1 մ անկման 1:2000 և 1:5000 մասշտաբի հատակագծերի և խիտ բարձրահարկ կառուցապատված օբյեկտներում 1:500 և 1:1000 մասշտաբի հատակագծերի ստեղծման ընթացքում:
10.1.3 Ֆոտոհատակագծերը, որպես ուրվագծերի մասին թվային տեղեկատվություն հավաքելու համար հիմք, կարելի է կիրառել հետևյալ տարածքների համար.
1) չկառուցապատված,
2) ապակենտրոնացված կառուցապատումներում,
3) փոքրահարկ կառուցապատումներում:
Ֆոտոհատակագծերը որպես ուրվագծերի թվայնացման համար հիմք օգտագործվում են հարթ-հարթավայրային, հարթ-կտրտվածքային և մասնակի լեռնային ռելիեֆով տարածքների համար:
1:5000 մասշտաբի հանույթների ժամանակ ցանկացած բնույթի կառուցապատումների դեպքում ֆոտոհատակագծերը կարելի է օգտագործել որպես տեղագրական հանույթի հիմք:
Բարձրահարկ կառուցապատ խոշոր հատվածները 1:2000 և ավելի խոշոր մասշտաբի հանույթագրման համար ֆոտոհատակագծերը որպես տեղագրական հատակագծերի ստեղծման համար հիմք չեն օգտագործում, այն կարելի է օգտագործել, որպես լրացուցիչ նյութ գրաֆիկական հատակագծերի համար ճշտված ֆոտոսխեմաների տեսքով:
10.1.4 Աերոֆոտոտեղագրական հանույթների ժամանակ դաշտային տեղագրական աշխատանքների համալիրում մտնում են հետևյալ աշխատանքները.
1. Ճանաչման կետերի մակնշում (մարկիրովկա) կամ աերոֆոտոնկարների վրա հստակ ուրվանկարների ճանաչում:
2. Հանույթային պլանային ցանցի տարածում (աերոֆոտոնկարների պլանային նախապատրաստում):
3. Հանույթի բարձունքային ցանցի տարածում (աերոֆոտոնկարների բարձունքային նախապատրաստում) - ստերեոտեղագրական հանույթի ժամանակ:
4. Ուրվագծերի վերծանում - ստերեոտեղագրական հանույթի ժամանակ:
5. Ռելիեֆի հանույթ և ուրվագծերի վերծանում - համակցված հանույթի ժամանակ:
Ստերեոտեղագրական հանույթների ժամանակ, դաշտային աշխատանքներին ներկայացվող պահանջները շարադրված են 10.3-10.7 ենթաբաժիններում:
10.1.5 Աերոֆոտոտեղագրական հանույթի դաշտային աշխատանքներն սկսելուց առաջ կազմվում է բանվորական նախագիծ հանույթային ցանցի և ճանաչման կետերի մակնշումների համար: Բանվորական նախագծի կազմման համար օգտագործվում են գոյություն ունեցող տեղագրական քարտեզները կամ հատակագծերը, որոնց մասշտաբները երկուսից - հինգ անգամ փոքր են ստեղծվող հատակագծի մասշտաբից: Աերոֆոտոհանույթի առկայության դեպքում օգտագործում են աերոֆոտոնկարները վերադիր (նակիդնոյ) մոնտաժված վերարտադրանկարները (репродукция): Եթե աերոֆոտոհանույթը դեռ չի կատարված, ապա կարող են օգտագործվել նաև անցած տարիների աերոֆոտոհանույթային նյութերը:
Աերոֆոտոնկարների բարձունքային նախապատրաստման նախագիծը նոսր հիմնային ցանցի դեպքում միաժամանակ համատեղ կատարվում է աերոֆոտոնկարների պլանային նախապատրաստման և մակնշման նախագծային աշխատանքները:
Ամբողջության (համատարած) բարձունքային նախապատրաստման ժամանակ նախագիծը կազմվում է աերոֆոտոնկարներով, իսկ հետո փոխարինվում է վերադիր մոնտաժված վերարտադրանկարի:
10.1.6 Հանույթային ցանցի բանվորական նախագիծը մշակվում է որպես տեխնիկական նախագծի զարգացում համաձայն համապատասխան և սույն Հրահանգի: Բանվորական նախագծի կազմման ընթացքում անհրաժեշտ է հաշվի առնել տեղանքի բնութագիրը (ռելիեֆը, ուրվագծային ծանրաբեռնվածությունը) և կառուցապատումը, կատարված աերոֆոտոհանույթի որակը, գեոդեզիական ցանցի և հանույթային հիմնային կետերի խտությունը և տեղաբաշխումը, ֆոտոգրամետրիկ սարքավորումների զինվածությունը և օգտագործվող տարածական ֆոտոեռանկյունավորման եղանակները:
Նախագծման ընթացքում նշում են պլանային և բարձունքային հիմնակետերի տեղակայման գոտիները, գետերի և ջրհավաքների մակարդակների նիշերի բարձրությունները, մշակվում են կետերի գեոդեզիական որոշման սխեմաները և ձևերը, որոշվում է ամրացվող նշանների ձևը և չափերը:
10.1.7. Որպես պլանային և բարձունքային հիմքի կետեր առաջին հերթին պետք է օգտագործվեն պետական գեոդեզիական ցանցի և խտացման ցանցի կետերը:
10.1.8 Պլանային և բարձունքային հիմքի կետերը պետք է դասավորված լինեն աերոֆոտոհանույթի երթուղիների շարքերի լայնությամբ և միջերթուղիների ծածկման կենտրոնում, և հնարավորության դեպքում երթուղում աերոֆոտոնկարի եռակի ծածկման գոտիներում:
Երկու մասշտաբներով աերոֆոտոհանույթների դեպքում տեղանքում նախատեսվող կետերը պետք է ապահովեն այն աերոֆոտոնկարներին, որոնցով կատարվելու են ֆոտոգրամետրիական խտացման հիմնային ցանցը:
Պլանային ցանցի կետերի համար պետք է որոշվեն նաև բարձունքային նիշերը:
10.1.9 Նախագծային սխեմայի վրա ընդունված պայմանական նշաններով ցույց է տրվում հետևյալ օբյեկտները:
1. Օբյեկտի սահմանները - սև գույնով:
2. Հատակագծերի նոմենկլատուրային բաժանումները - կապույտ գույնով:
3. Գեոդեզիական պլանային և բարձունքային հիմնավորման կետերը, ընդգրկելով օբյեկտի սահմաններից դուրս գտնվող անհրաժեշտ կետերը - սև գույնով:
4. Աերոֆոտոհանույթի նախագծային երթուղիների ուղղությունների առանցքները - կանաչ գույնով:
5. Նախագծով նախատեսված ճանաչման և որոշման ենթակա գեոդեզիական հիմքի այլ կետերը - կարմիր գույնով:
Նոր ստեղծվող գեոդեզիական կառուցվածքները սխեմայի վրա ցույց է տրվում կարմիր գույնի գծերով:
Եռանկյունավորման ցանցի կետերը կապող գծերը սխեմայի վրա չեն անցկացվում:
Սխեմայի վրա պետք է ցույց տրվեն ջրերի հորիզոնները և այլ կետեր, որոնց բարձրությունները պետք է որոշվեն:
10.1.10. Պլանային և բարձունքային նախապատրաստման նախագիծը պետք է ստորագրվի կատարողի և հաստատվի աշխատանքի ղեկավարի կողմից:
10.1.11. Ստերեոտեղագրական հանույթի կամերալ աշխատանքների համալիրն ընդգրկում է հետևյալ աշխատանքները.
1. նախապատրաստական աշխատանքներ (աերոֆոտոհանութային նյութերի և դաշտային տեղագրագեոդեզիական աշխատանքների ուսումնասիրում, բանվորական նախագծում և ելակետերի նախապատրաստում, աերոֆոտոնկարների թվայնացում);
2. հենարանային (опорный) ցանցի ֆոտոգրամետրիկ խտացում;
3. անալիտիկ կամ թվայնացնող ֆոտոգրամետրիկ սարքերի միջոցով ռելիեֆի վերաբերյալ թվայնացված տեղեկատվության ստերեոհավաքագրում;
4. օրթոֆոտոհատակագծերի ստացումը թվայնացնող ֆոտոգրամետրիկ սարքերի միջոցով;
5. ուրվագծերի վերաբերյալ հավաքագրված թվային տեղեկատվությունը և վերծանումը ստերեոմոդելի կամ օրտոֆոտոհատակագծերի միջոցով;
6. Գրաֆիկական պատճենների ստացում կամ հատակագծերի նախապատրաստում հրատարակման:
Համակցված աերոֆոտոտեղագրական հանույթն ընդգրկում է հետևյալ կամերալ աշխատանքների համալիրը.
1. Նախապատրաստական աշխատանքներ;
2. Պլանային ցանցի ֆոտոգրամետրիական խտացում;
3. Ռելիեֆի վերաբերյալ դաշտային տեղեկատվության փոխադրումը թվային տեսքի;
4. Օրթոֆոտոհատակագծերի ստացում թվայնացնող ֆոտոգրամմետրիական սարքերի միջոցով;
5. Ուրվագծերի վերաբերյալ հավաքագրված թվային տեղեկատվությունը և վերծանումը ստերեոմոդելի կամ օրթոֆոտոհատակագծերի միջոցով;
6. Գրաֆիկական պատճենների ստացում կամ հատակագծերի նախապատրաստում հրատարակման:
Կամերալ աշխատանքները կատարում են համաձայն սույն Հրահանգի պահանջներին:
10.2. ԱԵՐՈՖՈՏՈՀԱՆՈՒՅԹ
10.2.1 Աերոֆոտոհանույթը պետք է կատարվի համաձայն աերոֆոտոհանույթային նորմատիվ ակտերի, որն իրագործվում է տեղագրական քարտեզներ և հատակագծեր ստեղծելու համար, համաձայն սույն Հրահանգի պահանջների:
10.2.2 Լուսանկարահանումների մասշտաբները, աերոֆոտոլուսանկարչական սարքերի տիպերը, աերոֆոտոհանույթներին տրվող հատուկ պահանջները նկատի են առնվում տեխնիկական առաջադրանքում:
Աերոֆոտոհանույթների համար տեխնիկական առաջադրանքը մշակվում է հաշվի առնելով նկարահանվող տարածքի բնույթը և կազմվող հատակագծերի մասշտաբը, պահանջները վերջնական տեղագրական նյութերի տեսակին, աշխատանքների կատարման ժամկետներին և լրացուցիչ պահանջների տեղագրական նյութերին և նախագծվող աերոֆոտոտեղագրական հանույթի տեխնոլոգիային:
10.2.3. Հարթավայրային շրջաններում ռելիեֆի ստերեոտեղագրական հանույթի համար տեղանքի լուսանկարահանումն ինչպես կարգն է կատարվում է ԱՖԱ-ով, որի կիզակետման (ֆոկուսային) հեռավորությունը fk =70 մմ, բլրաշատ և լեռնային շրջաններում - fk = 100 մմ:
Կառուցապատված տարածքներում, երբ միևնույն թռիչքի նյութերն օգտագործվում են և հատակագծերի կազմման և ռելիեֆի ստերեոսկոպիական պատկերման (рисовка) համար, տեղանքի լուսանկարահումը պետք է կատարվի ԱՖԱ-ով - fk = 100 մմ:
Կառուցապատ տարածքների լուսանկարահանումը, որի նպատակն է աերոֆոտոնկարներով ունիվերսալ ԱՖԱ-սարքերի միջոցով կազմելու գրաֆիկական ուրվագծային հատակագիծ, կիզակետային (ֆոկուսային) հեռավորությունն ընտրվում է կախված կառուցապատման խտությունից և հարկայնությունից (fk = 100 մմ, fk = 140 մմ, fk = 200 մմ):
Թվային տեղեկատվության հավաքման ժամանակ, որպեսզի անհրաժեշտություն չլինի հաշվի առնելու տանիքների և շինությունների հիմքերի պատկերների մասշտաբների տարբերությունը, ուրվագծերի ԱՖԱ - ի կիզակետման (ֆոկուսային) հեռավորությունն ընտրվում է ոչ ավելի, քան հաշվված N 15 աղյուսակում տրված բանաձևով:
ԱՖԱ-ի համար սահմանային կիզակետային (ֆոկուսային) հեռավորությունների բանաձեվեր
Հավելված 15
Ֆոտոհատակագծի մասշտաբը |
ԱՖԱ-ի համար սահմանային կիզակետային |
1:500 |
Lh/0.2 |
1:1000 |
Lh/0.8 |
1:2000 |
Lh/3.2 |
1:5000 |
Lh/2.0 |
Հավելված 15-ում` հ - կառուցապատման բարձրությունների գերակշռող մասը մետրերով,
Լ - կառուցապատման ձգվածության գերակշիռ մասը մետրերով:
Ուրվագծերի ստերեոսկոպիական հանույթի համար ԱՖԱ-ի ընտրության ժամանակ, պետք է հաշվի առնել այն հանգամանքը, որ «ստերեոսկոպիական մեռյալ գոտու» լայնության բարձր օբյեկտների (շենքեր, ծառեր և այլն) պատկերման շեղումներից առաջացած ուղղությունը սկսած նադիրի (ստորնակետ) կետից, կազմում է՝
fk = 100 մմ - 0.7 օբյեկտի բարձրության դեպքում;
fk = 140 մմ - 0.5 օբյեկտի բարձրության դեպքում;
fk = 200 մմ - 0.35 օբյեկտի բարձրության դեպքում:
10.2.4 Ստերեոտեղագրական հանույթների համար օգտագործվող ԱՖԱ-ները պետք է ունենան բարձր մետրիական հատկություններ (метрическими свойствами):
Ռելիեֆի ստերեոսկոպիական պատկերման (рисовка) համար խոշորամասշտաբ աերոֆոտոհանույթը պետք է կատարվի միայն ստուգված ԱՖԱ-ով, որոնց օբյեկտիվները հետազոտված են դիստորսիայի (պատկերի աղավաղման) նկատմամբ, որն ամենամեծ ազդեցությունն է թողնում բարձրության որոշման վրա:
10.2.5. Հանույթի համար օգտագործվում են սև-սպիտակ, գունավոր և սպեկտրալ աերոժապավեններ, որոնք պատրաստված են պաշտպանիչ հակալուսապսակ (противоореольной) պաշտպանությամբ պոլիեթերային (լավսանի) հիմքերի վրա:
10.2.6. Գունավոր աերոժապավենների օգտագործումը խորհուրդ է տրվում քաղաքների հանույթի ժամանակ, ինչպես նաև աշնանային ժամանակաշրջանի խառն անտառաթփուտային ծառատնկարանների և բաց լեռնային շրջանների հանույթների համար:
Սպեկտոզոնալ (спектрозолнальной) աերոժապավենները խորհուրդ է տրվում օգտագործել գարնանային և ամառային ժամանակաշրջանում բնական տարբեր բուսականություն, տեխնիկական կուլտուրաների պլանտացիաներն ունեցող շրջանների հանույթները կատարելու համար, ինչպես նաև հավելյալ (избыточным) խոնավություն պարունակող մակերևույթների դեպքում:
10.2.7. Աերոֆոտոհանույթը սև-սպիտակ աերոժապավենի վրա 3000 մ բարձրությունից կատարվում է հանույթային ЖС-18 լուսաֆիլտրով, 3000-1000 մ բարձրության դեպքում լուսանկարահանումը կատարվում է ինչպես կանոն առանց լուսաֆիլտրի, որպես բացառության կարգով օգտագործվում են նաև ЖС-12 և ЖС-18 լուսաֆիլտրերը: Աերոֆոտոհանույթը գունավոր աերոժապավենի վրա կատարվում է, որպես կանոն, առանց հանույթային լուսաֆիլտրի, իսկ նկատելի մշուշի (дымка) առկայության և 1500 մ-ից ավելի լուսանկարահանման բարձրության դեպքերում, խորհուրդ է տրվում օգտագործել թույլ դեղին լուսաֆիլտր: Սպեկտոզոնալ աերոժապավենի վրա լուսանկարահանման դեպքում, օգտագործվում են հրահանգով կանոնակարգված ժապավենների կիրառման ЖС-12, ЖС-18, ОС-14 լուսաֆիլտրերը:
10.2.8. Հանույթային տեղամասերի և օբյեկտի հանույթային սահմանների ապահովումն աերոֆոտոլուսանկարներով, պետք է համապատասխանի գործող տեխնիկական պահանջներին, որոնք վերապահվում են աերոֆոտոհանույթային աշխատանքների պայմանագրերի կնքման համար: Աերոֆոտոհանույթների երթուղիների ուղղությունները լայնածավալ օբյեկտների լուսանկարահանման դեպքում, ինչպես կանոն, պետք է լինի լայնարձակ:
Փոքրածավալ տարածքների հանույթագրման դեպքում թույլատրվում է աերոֆոտոհանույթային երթուղիների անցկացումը կատարել նաև այլ ուղղություններով, եթե այդ դեպքում կրճատվում են աերոֆոտոհանույթային, դաշտային գեոդեզիական և կամերալ ֆոտոգրամմետրիական աշխատանքները:
Աերոֆոտոհանույթի երթուղիները նախագծվում են այնպիսի հաշվարկով, որպեսզի տվյալ տարածքում գտնվող ավելի շատ քանակով գեոդեզիական կետեր, հնարավոր լինի օգտագործել որպես հիմնակետ ֆոտոգրամմետրիկ մշակման համար:
10.2.9. Ստերեոֆոտոգրամմետրիական աշխատանքների համար լուսանկարահանման մասշտաբի ընտրության դեպքում հաշվի են առնում ռելիեֆի ստերեոսկոպիական պատկերմանը (рисовка) (կամ հատակագծի վրա արտահայտիչ բարձրությունների) տրված ճշտությունը, ուրվագծերի անցկացման ճշտությունը, և ստերեոֆոտոգրամմետրիական սարքերի խոշորացման R (հատակագծի մասշտաբի հարաբերությունը լուսանկարի մասշտաբին) գործակիցը, նկատի ունենալով, որ
СЦ-1 R ≤ 6 ստերեոգրաֆի համար;
СД-3 R ≤ 3.0 ստերեոգրաֆի համար;
СПР-3 R ≤ 2 ստերեոպրոյեկտորի համար;
СПР-3 R ≤ 10 ստերեոպրոյեկտորի համար;
СМR ≤ 10 fk = 100 մմ դեպքում ստերեոմետրոգրաֆի համար:
10.2.10. Ստերեոտեղագրական հանույթների ժամանակ լուսանկարահանման մասշտաբի նշանակությունն (տեղանքի ցածր բարձրություններով կետերի համեմատ) անալիտիկ և թվային ֆոտոգրամմետրիական սարքերի կիրառման դեպքում, կախված ռելիեֆի կտրվածքի բարձրությունից և օգտագործվող ԱՖԱ-ից, պետք է լինեն ոչ փոքր հավելված 16-ում տրված մեծություններից:
Ստերեոտեղագրական հանույթների ժամանակ անալիտիկ ԵՎ թվային ֆոտոգրամմետրիկ սարքերի կիրառման դեպքում լուսանկարահանման նվազագույն մասշտաբները
Հավելված 16
Հատակագծի ռելիեֆի կտրվածքի բարձրու- |
ԱՖԱ-ի կիզակետային հեռավորությունը մմ, կադրի ֆորմատի համար |
Լուսանկարա- |
Մշակման համար սարքի տիպը |
Բարձունքային |
Տարածքը. | ||
18x18 |
23x23 |
18x18 սմ |
23x23 | ||||
1:500 մասշտաբի հատակագծերի ստեղծման դեպքում | |||||||
0.25 |
70.10 |
90.150 |
1:3000 |
1.:3000 |
Ա(A) |
Հ(C) |
1;2 |
140 |
210 |
1:2500 |
1:2500 |
Ա(A), Թ(Ц) |
Հ(C) |
2 | |
0.5 |
100, 140 |
150, 210 |
1:4000 |
1:3500 |
Ա(A), Թ(Ц) |
Հ(C) կամ Ն(P) |
1;2 |
350 |
300 |
1:3500 |
1:3500 |
Ա(A), Թ(Ц) |
Հ(C) կամ Ն(P) |
2 | |
1.0 |
100, 140, |
150, 210 |
1:4000 |
1:3500 |
Ա(A), Թ(Ц) |
Ն(P) |
1;2 |
350 |
300 |
1:4000 |
1:3500 |
Ա(A), Թ(Ц) |
Ն(P) |
2 | |
1:1000 մասշտաբի հատակագծերի ստեղծման դեպքում | |||||||
0.25 |
70, 100 |
90, 150 |
1:3000 |
1:3000 |
Ա(A) |
Հ(C) |
1 |
|
140 |
210 |
1:2500 |
1:2500 |
Ա(A), Թ(Ц) |
Հ(C) |
2 |
0.5 |
70, 100 |
90, 150 |
1:5500 |
1:5000 |
Ա(A), Թ(Ц) |
Հ(C) կամ Ն(P) |
1 |
140, 350 |
150, 210 |
1:5000 |
1:4500 |
Ա(A), Թ(Ц) |
Հ(C) կամ Ն(P) |
1;2 | |
1.0 |
100, 140 |
150, 210 |
1:6000 |
1:5500 |
Ա(A), Թ(Ц) |
Ն(P) |
1;2 |
350 |
300 |
1:6000 |
1:5500 |
Ա(A), Թ(Ц) |
Ն(P) |
2 | |
1:2000 մասշտաբի հատակագծերի ստեղծման դեպքում | |||||||
0.25 |
70, 100 |
90, 150 |
1:3000 |
1:3000 |
Ա(A) |
Հ(C) |
1 |
140 |
210 |
1:3000 |
1:3000 |
Ա(A), Թ(Ц) |
Հ(C) |
2 | |
0.5 |
70, 100 |
90, 150 |
1:6500 |
1:7000 |
Ա(A), Թ(Ц) |
Հ(C) կամ Ն(P) |
1 |
140, 350 |
210, 300 |
1:5500 |
1:6000 |
Ա(A), Թ(Ц) |
Հ(C) կամ Ն(P) |
1;2 | |
1,0 |
100, 140 |
150, 210 |
1:12000 |
1:10000 |
Ա(A), Թ(Ц) |
Ն(P) |
1 |
350 |
300 |
1:10000 |
1:10000 |
Ա(A), Թ(Ц) |
Ն(P) |
2 | |
2.0 |
100, 140 |
150, 210 |
1:14000 |
1:14000 |
Ա(A), Թ(Ц) |
Ն(P) |
1;2 |
350 |
300 |
1:14000 |
1:14000 |
Ա(A), Թ(Ц) |
Ն(P) |
2 | |
1:5000 մասշտաբի հատակագծերի ստեղծման դեպքում | |||||||
0.5 |
70, 100 |
90, 150 |
1:6500 |
1:7000 |
Ա(A), Թ(Ц) |
Հ(C) կամ Ն(P) |
1 |
140, 350 |
210, 300 |
1:5500 |
1:6000 |
Ա(A), Թ(Ц) |
Հ(C) կամ Ն(P) |
1;2 | |
1.0 |
100, 140 |
150, 210 |
1:12000 |
1:10000 |
Ա(A), Թ(Ц) |
Ն(P) |
1 |
350 |
300 |
1:10000 |
1:10000 |
Ա(A), Թ(Ц) |
Ն(P) |
1;2 | |
2.0 |
100, 140 |
150, 210 |
1:20000 |
1:20000 |
Ա(A), Թ(Ц) |
Ն(P) |
1;2 |
350 |
300 |
1:15000 |
1:18000 |
Ա(A), Թ(Ц) |
Ն(P) |
2 | |
5.0 |
100, 140 |
150, 210 |
1:20000 |
1:20000 |
Ա(A), Թ(Ц) |
Ն(P) |
1 |
350 |
300 |
1:20000 |
1:20000 |
Ա(A), Թ(Ц) |
Ն(P) |
2 |
10.2.11. Լուսանկարահանումների մասշտաբների նշանակությունը ֆոտոհատակագծերի պատրաստման ժամանակ, որը որոշվել է կախված հատակագծին տրված մասշտաբից, ԱՖԱ-ի կիզակետային (ֆոկուսային) հեռավորությունից և ֆոտոտրանսֆորմատորի տիպից տեսակները բերված են հավելված 17-ում:
Օրթոֆոտոնկարներից ֆոտոհատակագծերի պատրաստման, լուսանկարահանման մասշտաբը չպետք է լինի փոքր հատակագծի մասշտաբից ավելի, քան 4 անգամ:
Լուսանկարահանումների մասշտաբների նշանակությունը ֆոտոհատակագծերի պատրաստման ժամանակ, որը որոշվել է` կախված հատակագծին տրված մասշտաբից, ԱՖԱ-ի կիզակետային (ֆոկուսային) հեռավորությունից ԵՎ ֆոտոտրանսֆորմատորի տեսակից
Հավելված 17
Հատակագծի մասշտաբը |
ֆոտոլուսանկարահանման մասշտաբը |
ԱՖԱ-ի կիզակետային (ֆոկուսային) հեռավորությունը, մմ |
ֆոտոտրանսֆորմատորի տեսակը |
1:500 |
1:3000 |
500,350,200 |
Seg=v |
1:1000 |
1:5000 |
500,350,200 |
Seg=v |
1:2000 |
1:8000 |
500,350,200 |
Seg=v |
1:5000 |
1:20000 |
200,100, |
Seg=v |
Ֆոտոհատակագծերի ստեղծման համար ֆոտոլուսանկարահանման մասշտաբը նպատակահարմար է ընտրել այնպիսի հաշվարկով, որպեսզի մեկ նկարը ծածկի այնպիսի տարածք, որը համապատասխանի, ոչ պակաս, հանույթային մեկ պլանշետի: Այդ դեպքում աերոֆոտոհանույթը պետք է կատարել տրված, ինչպես կանոն, մակնշված (замаркированным) ուղղություններով երկայնական կտրվածքի 80-90% ծածկույթով:
Քաղաքների աերոֆոտոհանույթների ժամանակ 1:500 և 1:1000 մասշտաբների տեղագրական հանույթների համար նպատակահարմար է լայնակի ծածկույթները կատարել 60%-ին հավասար, որպեսզի հնարավորություն լինի ստերեոսկոպիկ դիտել կառույցների մասերն (դետալները) առնվազն երկու կողմից:
10.2.12. Հատվածի աերոֆոտոհանույթը կարելի է կատարել մեկ կամ երկու ԱՖԱ-ով միաժամանակ: Երկու ԱՖԱ-ով միաժամանակ աերոֆոտոհանույթի դեպքում լրացուցիչ ԱՖԱ-ից ստացված խոշոր մասշտաբի աերոֆոտոլուսանկարները նախատեսվում են այն դեպքում, երբ ֆոտոգրամետրիական աշխատանքները կատարվում են մանր մասշտաբի աերոֆոտոլուսանկարներով (ստացված հիմնական ԱՖԱ-ով), որոնք թույլ չեն տալիս կատարելու վերծանումներն անհրաժեշտ լիարժեքությամբ և մանրամասնությամբ:
Լուսանկարահանման մասշտաբը և ԱՖԱ-ի տեսակը տրվում է համաձայն այդ թռիչքների նշանակությունից:
10.2.13. 1:1000, 1:2000 և 1:5000 մասշտաբների ռելիեֆի 0.5 մ և ավելի անկումով հանույթների համար, աերոֆոտոհանույթի կատարման ծամանակ կարելի է օգտագործել արբանյակային գեոդեզիական համակարգերը, նկարների պրոյեկցիաների կենտրոնների կոորդինատները որոշելու համար:
10.2.14. Քաղաքների և այլ բնակեցված տարածքների լուսանկարահանումները նպատակահարմար է կատարել համատարած բարձր ամպամածության դեպքում («հովանոցի տակ»), իսկ պարզ եղանակի դեպքում - վաղ առավոտյան ժամերին, երբ ստվերները զգալի «թափանցիկ են»:
Մեծ քանակությամբ անտառային ծածկույթ ունեցող բնակավայրերի, ինչպես նաև հարթավայրային տարածքների, համատարած ծածկված անտառային ծածկույթով տարածքների աերոֆոտոհանույթը պետք է կատարել տերևաթափված շրջանում:
Ստերեոտեղագրական հանույթների ժամանակ գյուղատնտեսական հողերի լուսանկարահանումները կատարվում է ցանքերի (посевы) բացակայության կամ նրանց նվազագույն բարձրության շրջանում:
Ամայի տարածքների աերոֆոտոհանույթի կատարման լավագույն շրջանը համարվում է գարունը:
10.2.15. Խոշոր գետահովիտների աերոֆոտոհանույթը կատարվում է գետերի նվազամակարդակային (меженного) շրջանում: Հանույթային ժամանակահատվածի երկարատևության սահմանափակ շրջաններում, աերոֆոտոհանույթը կատարվում է անկախ գետերում ջրի մակարդակից, իսկ նվազամակարդակության (меженного) հաստատման համար գետերի երկայնքով անցկացվում են լրացուցիչ երթուղիներ:
Ջրամբարային գոտիներում աերոֆոտոհանույթը պետք է կատարել ջրի հորիզոնի նորմալ վիճակի դեպքում, որը կարող է լինի տարվա տարբեր շրջաններում:
10.2.16. Աերոֆոտոհանույթային նյութերի ընդունումը կատարվում է համաձայն գործող աերոֆոտոհանույթային նորմատիվ ակտերի պահանջների և պայմանագրի պայմանների:
10.3. ՃԱՆԱՉՄԱՆ ԿԵՏԵՐԻ ՄԱԿՆՇՈՒՄԸ (ՄԱՐԿԻՐՈՎԿԱ)
10.3.1. Խոշոր մասշտաբի հատակագծերի ստեղծման ժամանակ, եթե աերոֆոտոհանույթի մասշտաբն ընտրում են հատակագծի մասշտաբից զգալի փոքր, և եթե աերոֆոտոնկարների վրա բարձրացվում է գեոդեզիական հիմքի կետերի ճանաչման ճշտության պահանջները, խորհուրդ է տրվում մակնշման կետերը նախատեսել գեոդեզիական հիմքով:
10.3.2. Գեոդեզիական հիմքի կետերի մակնշումը կատարվում է աերոֆոտոհանույթից առաջ ժամանակահատվածի նվազագույն տարբերությամբ:
1:5000 մասշտաբի հանույթի դեպքում մակնշվում են գեոդեզիական հիմքի կետերը և նախագծվող պլանային ճանաչման կետերը (ՊՃԿ) կամ պլանաբարձունքային ճանաչման կետերը (ՊԲՃԿ):
1:500, 1:1000 և 1:2000 մասշտաբների հանույթների դեպքում մակնշվում են գեոդեզիական հիմքի կետերը, ՊՃԿ, ՊԲՃԿ, ստորգետնյա հաղորդակցուղիների ելուստները (դիտահորերը), և աերոֆոտոհանույթի երթուղու առանցքի վրա գտնվող մտնող և դուրս եկող կողմնորոշիչ առարկաները:
Կարող են մակնշվել այն օբյեկտները, որոնց կոորդինատները նկատի կառնվի որոշելու ֆոտոգրամետրիական կառուցումների արդյունքում:
10.3.3. Մակնշվող ՊՃԿ (ՊԲՃԿ)-ները պետք է տեղակայված լինեն այնպիսի ձևով, որպեսզի աերոֆոտոնկարների վրա նրանց պատկերները չծածկվեն մյուս օբյետներով կամ նրանց ստվերներով:
Եթե գեոդեզիական հիմքի կետերն ամրացված են պատերի վրա, ապա նրանց փոխարեն մակնշվում են նրանց մոտ գտնվող տեղի առարկաները, որոնց կոորդինատները պետք է որոշվեն լրացուցիչ:
10.3.4. Մակնշումների համար, ինչպես կանոն, պետք է օգտագործվեն էժան նյութեր: Նյութերի, ինչպես նաև ներկանյութերի ընտրման պարտադիր պայմանն է հանդիսանում մակնշվող նշանների և ֆոնի միջև առավելագույն ցայտունության ապահովումը:
Փողոցների, ասֆալտապատ, գրունտային, խճապատ, բետոնյա ծածկույթով ճանապարհների վրա, ինչպես նաև այն վայրերում, որտեղ չի ապահովվում կետերի և ֆոնի միջև բավարար ցայտունություն, ապա լրացուցիչ ստեղծվում է արհեստական ֆոն:
10.3.5. Մակնշվող նշաններն, ինչպես կանոն, պետք է ունենան խաչի տեսք, կազմված չորս ճառագայթներից, իսկ կենտրոնը պետք է լինի ազատ քառակուսու կամ շրջանի տեսքով:
Մակնշվող նշանների չափերը որոշվում են կախված լուսանկարահանման մասշտաբից այնպես, որ աերոֆոտոլուսանկարի վրա նշանի սպիտակ կամ դեղին գույներն ունենան հետևյալ չափերը.
- «խաչ» նշանի մեկ ճառագայթի երկարությունը և լայնությունը - համապատասխանաբար 0.15 մմ և 0.05 մմ,
- նշանի կենտրոնից ճառագայթի հեռավորությունը - 0.05 մմ,
- քառակուսու կողմը կամ շրջանի տրամագիծը - 0.10 մմ:
Սև գույնի «խաչ» նշանի ճառագայթի լայնությունը պետք է լինի 1.5 անգամ մեծ, քան սպիտակ գույնի նշանինը:
Եթե գեոդեզիական հիմքի կետերն ունեն լավ տեսանելի ակոսավորում, ապա նրանց կարելի է մակնշել քառակուսի կամ շրջանաձև:
Անհրաժեշտ է, որ մակնշվող նշանները լինեն սիմետրիկ իրենց կենտրոնների նկատմամբ:
Սիմետրիկության թույլատրելի շեղումները չպետք է գերազանցի 0.05 մմ-ից կազմվող հատակագծի մասշտաբում:
10.3.6. Աերոֆոտոհանույթային երթուղիների առանցքների մակնշման նշանները ձևավորվում են սլաքների և ուղղանկյունների տեսքով 0.6 մմ երկարությամբ և 0.10-0.15 մմ լայնությամբ ֆոտոլուսանկարահանման մասշտաբում:
10.3.7. Արգելվում է անտառներում ճանաչման կետերի մակնշումը կատարել անտառահատումների միջոցով:
Թույլատրվում է մակնշումները կատարել հին կոտրված ծառերի մաքրումով կամ բացատներում քառակուսու տեսքով, խիստ պահպանելով անտառահատումների համար հաստատված կանոնները:
10.3.8. Յուրաքանչյուր մակնշվող նշանի համար կազմվում է հատուկ քարտ, որում նշվում է մակնշվող կետի տեղակայումը (օբյեկտի անվանումը, պլանշետի նոմենկլատուրան, կետի համարը), ինչ է մակնշվել (գոյություն ունեցող գեոդեզիական հիմքի կետ, նախագծվող ճանաչման կետ, երթուղու առանցք, դիտահորի (լյուկի) կափարիչ և այլն), աբրիսը, մակնշվող նշանի ձևը և չափերը, նշանի բարձրությունը հողի մակերևույթից սանտիմետրերով, մակնշման համար օգտագործված նյութերի տեսակը: Աերոֆոտոհանույթի ավարտից հետո դրվում է աերոֆոտոնկարի համարը (ցույց է տրվում քարտում):
10.4. ԱԵՐՈՖՈՏՈՆԿԱՐՆԵՐԻ ՊԼԱՆԱՅԻՆ ՆԱԽԱՊԱՏՐԱՍՏՈՒՄԸ.
10.4.1. Ճանաչման կետերի (ՃԿ) որոշման նախագիծը կատարվում է տեղանքում եղած գեոդեզիական կառուցվածքային կետերը համալրելու, նպատակ ունենալով, անհրաժեշտ պլանային հիմնակետերով ապահովելու ֆոտոգրամետրիական ցանցերի յուրաքանչյուր հատվածամասը:
Նախագծվող ՃԿ-ները հնարավորության սահմաններում պետք է համատեղվեն նիվելիրացման հենանիշերի հետ:
Հանույթի այն հատվածներում, որոնց երկարությունն աերոֆոտոհանույթի երթուղու ուղղության մեջ կազմում է 106-200 սմ ստեղծվող հատակագծի մասշտաբում, հիմնային կետերը բաշխվում են նկար N 2-ում տրված սխեմայով:
Աերոֆոտոլուսանկարի լայնակի ծածկման գոտի
Օ Պլանային նախապատրաստման կետեր
նկ. 2. Հիմնային կետերի բաշխման սխեման հանույթի այն հատվածներում, որոնց երկարությունն աերոֆոտոհանույթի երթուղու ուղղության մեջ կազմում է 160-200 սմ ստեղծվող հատակագծի մասշտաբում:
Փոքր երկարության տեղամասերում, յուրաքանչյուր հատվածամասի ծայրամասերը ապահովվում են զույգ կետերով, որոնք տեղաբաշխվում են երթուղու առանցքից տարբեր կողմերի վրա: Հիմնային կետերի միջև եղած հեռավորությունը երթուղու ուղղության վրա կարող է կազմել 80-100 սմ` հատակագծի մասշտաբում:
10.4.2. Աերոֆոտոհանույթի յուրաքանչյուր երթուղու սկիզբը և վերջը պետք է ապահովված լինեն երկու պլանային հիմնային կետերով, որոնցից մեկը պետք է լինի հանույթի սահմանից դուրս: Այն սահմանները, որոնք համընկնում են աերոֆոտոհանույթային երթուղիների ուղղությունների հետ, մեջտեղերն ապահովվում են լրացուցիչ (յուրաքանչյուր 40-50 սմ պլանի մասշտաբում) պլանային կետերով, եթե տեղամասի երթուղիների թիվը ավելի է 3-ից:
10.4.3. Պլանային անալիտիկ ֆոտոեռանկյունավորման ցանցերի հավասարակշռման համար դաշտային հիմնային կետերը բաշխվում են բլոկների պարագծով և բլոկների կենտրոնում, նկար N 3-ում բերված է սխեմայով:
Երթուղիների քանակը բլոկում և երթուղում ստերեոզույգի (стереопара) քանակը, կախված է կիրառվող ֆոտոեռանկյունավորման տարածման ծրագրից, աերոֆոտոհանույթի և կազմվող հատակագծի մասշտաբների հարաբերությունից և տեղամասի եզրագծի ձևից:
Տեղամասի ազատ սահմաններում պլանային հիմնային կետերը տեղակայվում են ոչ հաճախ, քան ֆոտոլուսանկարահանման յուրաքանչյուր 4-5 բազիսը մեկ:
0 |
|
0 |
|
0 |
|
0 |
|
0 |
0 |
|
|
|
|
|
|
|
0 |
0 |
|
|
|
0 |
|
|
|
0 |
0 |
|
|
|
|
|
|
|
0 |
0 |
|
|
|
0 |
|
|
|
0 |
0 |
|
|
|
|
|
|
|
0 |
0 |
|
0 |
|
0 |
|
0 |
|
0 |
Նկ.3 Պլանային անալիտիկ ֆոտոեռանկյունավորման բլոկներով հավասարակշռման դեպքում պլանային հիմնային կետերի բաշխման սխեման:
Բլոկները նախագծվում են այն հաշվարկով, որպեսզի նրանց սահմաններում աերոֆոտոհանույթում ֆիզիկապես բացակայեն խզվածությունը, երթուղիների միացումները և զգալի ջրային տարածքները:
10.4.4. Յուրաքանչյուր բլոկում, Ֆոտոգրամմետրիական խտացումը վերահսկելու համար, որը կազմված է 4-6 սեղանից (трапециа) ստեղծվող հատակագծում, որոշվում է 1-2 վերահսկողական (ստուգիչ) պլանային կետեր: Որպես վերահսկողական (ստուգիչ) կետեր կարող են ծառայել նաև ճանաչված (опознанные) գեոդեզիական հիմքի կետերը (արբանյակային կառուցվածքներից, եռանկյունավորման և պոլիգոնոմետրիայի կետերը):
10.4.5. Մեծ քանակությամբ ցայտուն եզրագծեր ունեցող տարածքներում հանույթային ցանցի կետերը նշվում են բնական եզրագծերի վրա, հաշվի առնելով նրանց գեոդեզիական ավելի հասարակ որոշման պահանջները:
Որպես ՃԿ ընտրվում են եզրագծային կետերը, որոնք աերոֆոտոնկարի վրա կարելի է որոշել մինչև 0.1 մմ ճշտությամբ կազմվող հատակագծի մասշտաբում: Արգելվում է որպես ՃԿ օգտագործել ոչ ցայտուն սահմանները և եզրագծերը, որոնք կարող են փակվել աերոֆոտոնկարի վրա բարձր առարկաների հեռանկարների պատկերներից:
Չի կարելի ընտրել որպես ՃԿ այն եզրագծերը, որոնք տեղակայված են թեք լանջերի վրա և ձորերի մեջ, թփուտներ, ծառեր (եթե նրանց հիմքը չի երևում):
10.4.6. Եթե աերոֆոտոհանույթի մասշտաբն ավելի քան 1.5 անգամ փոքր է հատակագծի մասշտաբից, ապա ճանաչման համար համապատասխանաբար աերոֆոտոնկարները կարելի է մեծացնել (խոշորացնել) մինչև հատակագծի մասշտաբը:
10.4.7. Գեոդեզիական հիմքի ճանաչված կետը ձևակերպվում է աերոֆոտոլուսանկարի երեսի կողմում 10 մմ տրամագծով շրջանակի տեսքով, ճանաչված կետի կենտրոնով (չծածկելով նշանը), գրելով համարը կամ անվանումը: Եթե ճանաչված կետի հարևանությամբ աերոֆոտոնկարի վրա պատկերվել են այլ դետալներ, որոնք կարող են դժվարեցնել կետի նույնացմանը (իդենտիֆիկացմանը), ապա աերոֆոտոնկարի հակառակ կողմում կազմվում է ուրվանկար (աբրիս): Եթե աերոֆոտոնկարի վրա մակնշված նշանը երևում է ցայտուն, ապա աերոֆոտոնկարի հակառակ կողմում 2-3 մմ տրամագիծ ունեցող շրջանակով նշվում է կետի տեղը, գրվում է համարը և ցույց է տրվում կետի մակնշման ձևը:
Եթե որպես ՃԿ ընտրվել է եզրագիծ, ապա այն ծակվում է բարակ ասեղով, աերոֆոտոնկարի երեսի կողմում նշվում է կետագծով և համարակալվում, իսկ հակառակ կողմում կազմվում է ուրվանկար (աբրիս) ավելի խոշոր մասշտաբի, քան աերոֆոտոնկարի մասշտաբն է և ՃԿ նկարագրությունը:
Ուրվանկարի (աբրիսի) վրա պատկերի գունավորումը (տոնը) պետք է համապատասխանի աերոֆոտոլուսանկարի գունավորմանը (տոնին): Ճանաչված կետերին հատկացվում են աերոֆոտոնկարի համարին համապատասխան համարները: Աերոֆոտոնկարի հակառակ կողմում գրվում է այն հատակագծի թերթի նոմենկլատուրան, որին այն պատկանում է:
10.4.8. Տեղանքում Ճանաչման կետերը (ՃԿ) ամրացվում է համաձայն 6.2.-6.30 կետերի պահաջների:
10.4.9. Ճանաչման կետերի կոորդինատները և բարձրությունները որոշվում են գեոդեզիական եղանակներով համաձայն 7 և 8 բաժինների պահանջների:
Կոորդինատների որոշման եղանակն ընտրվում է կախված տեղանքի բնույթից և գեոդեզիական կառուցվածքների խտությունից:
10.4.10. Նոսր պլանային նախապատրաստման դեպքում բոլոր չմակնշված ճանաչման կետերն ամբողջությամբ ենթարկվում են դաշտային ճանաչման: Ճանաչման ստուգումը կատարվում է երկրորդ կատարողի կողմից աերոֆոտոնկարների մյուս օրինակի վրա: Հիմնական ծակվածքները (наколы) համեմատվում են ստուգվածների հետ աշխատանքի ղեկավարի կողմից:
Եթե հիմնական և ստուգիչ ծակվածքները (наколы) չեն համընկնում, ապա կատարվում է լրացուցիչ ստուգում:
10.4.11. Աերոֆոտոնկարների պլանային նախապատրաստական աշխատանքների ավարտից հետո հանձնվում են հետևյալ նյութերը.
1) աերոֆոտոնկարներն` անցկացած գեոդեզիական հիմքի ճանաչված կետերով, տեղավորված ծրարում, նշելով աերոֆոտոնկարների համարները և քանակը,
2) աերոֆոտոնկարները ճանաչման ստուգիչ կետերով և համեմատման տեղեկագրերով,
3) կոորդինատների կատալոգը (հավելված 15) հաշվարկային նյութերով,
4) վերադիր մոնտաժի վերարտադրանկարները (репродукция), որոնց վրա անցկացված են դաշտային աշխատանքների կատարողական նախագիծը,
5) հատակագծերի տեղեկամատյանները (формуляры),
6) ՃԿ կոորդինատների որոշման չափումների մատյանները:
Նշված նյութերը համակարգվում են հաջորդ, ավելի մանր մասշտաբի սեղաններով (трапециям):
10.5. ԱԵՐՈՖՈՏՈՆԿԱՐՆԵՐԻ ԲԱՐՁՈՒՆՔԱՅԻՆ ՆԱԽԱՊԱՏՐԱՍՏՈՒՄԸ ՍՏԵՐԵՈՏԵՂԱԳՐԱԿԱՆ ՀԱՆՈՒՅԹԻ ՀԱՄԱՐ
10.5.1. Աերոֆոտոնկարների բարձունքային նախապատրաստումը կայանում է պլանային ճանաչման կետերի բարձրությունների ՊԲՃԿ (պլանաբարձունքային ճանաչման կետեր) կամ ցայտուն եզրագծերի ԲՃ (բարձունքային ճանաչման) բարձրությունների որոշմանը, որը կարող է կատարվել նաև համատարած կամ նոսրացված նախապատրաստում տարբերակում, կախված ֆոտոնկարահանման մասշտաբից, ռելիեֆի անկման բարձրությունից, հանույթագրվող տեղամասի բնույթից և ԱՖԱ-ի տեխնիկական բնութագրից:
Համատարած կամ նոսրացված բարձունքային նախապատրաստման կիրառման անհրաժեշտությունը ցույց է տրված հավելված 16-ում:
10.5.2. Համատարած բարձունքային նախապատրաստման դեպքում ԲՃԿ-ը դասավորվում են աերոֆոտոնկարների լայնակի ծածկման գոտիների յուրաքանչյուր երկու ստերեոզույգերի անկյուններում: Բացի այդ, վերահսկման համար յուրաքանչյուր ստերեոզույգում որոշվում է հինգերորդ բարձունքային կետը (տես նկ. 4)
10.5.3. Նոսրացված բարձունքային նախապատրաստման դեպքում ԲՃԿ-ները պետք է դասավորված լինեն զույգերով, երթուղու առանցքի երկու կողմերում հարևան երթուղիների աերոֆոտոնկարների վրա լայնակի ծածկման գոտիներում: Ռելիեֆի 0.5 և 1 մ անկման հանույթի երթուղիների ուղղությունում ԲՃԿ-երի միջև հեռավորությունը կարող է կազմել 2-2.5 կմ:
Ռելիեֆի 2 մ և 5 մ անկման հանույթների դեպքում ԲՃԿ-ները համատեղվում են ՊՃԿ-ների հետ:
10.5.4. Նոսրացված բարձունքային նախապատրաստման դեպքում, աերոֆոտոնկարների նկարահանվող կողային տեղամասերում երթուղիների ԲՃԿ-ի խտությանը ներկայացվում են հետևյալ պահանջները:
10.5.4.1. Ռելիեֆի անկման 0.5 մ և 1 մ-ի դեպքում կատարվում է սահմանային երթուղիների աերոֆոտոնկարների համատարած բարձունքային նախապատրաստում:
նկ. 4. Աերոֆոտոնկարների համատարած բարձունքային նախապատրաստման դեպքում ԲՃԿ-երի տեղակայման սխեման
● - բարձունքային ՃԿ
| | - աերոֆոտոնկարի գլխավոր կետը
10.5.4.2. Ռելիեֆի անկման 2 մ բարձրության դեպքում անցկացվում է բարձունքային ընթացք երթուղու արտաքին եզրով, ապահովելով յուրաքանչյուր ստերեոզույգ երկու ԲՃԿ-ով:
10.5.4.3. Ռելիեֆի անկման 5 մ բարձրության դեպքում ԲՃԿ-երը որոշվում է ֆոտոնկարահանման բազիսի 2-3 միջակայքով (ինտերվալով):
10.5.5. ԲՃԿ-ը պետք է հնարավորության դեպքում համատեղել մակնշվող կետերի հետ: Այն ՃԿ-ը, որոնք չեն համատեղվել մակնշվող կետերի հետ ընտրվում են հուսալի ճանաչվող եզրագծերի վրա: Տեղանքում կետի ճանաչման սխալը և աերոֆոտոնկարի վրա նրանց նույնացումը չպետք է բերեն կետի բարձրության սխալի ավելի, քան ռելիեֆի անկման բարձրության 1/10-ը: Արգելվում է կտրուկ թեքությունների վրա ընտրել ԲՃԿ-ներ:
Այն ԲՃԿ-ը, որոնք չեն համատեղվել մակնշված կետերի հետ նոսրացված բարձունքային նախապատրաստման ընթացքում, ենթակա են լիարժեք դաշտային վերահսկողական ճանաչման:
Հարթ հարթավայրային քիչ եզրագիծ ունեցող տեղամասերում աերոֆոտոնկարների համատարած բարձունքային նախապատրաստման ընթացքում թույլատրվում է ԲՃԿ-ի դիրքը որոշել երեք ցայտուն եզրագծերից չափումների կամ երկու հաստատուն ճանաչված կետերի գծահամատեղում (створ), որոնք գտնվում են այդ նույն նկարում:
10.5.6. Բարձունքային նախապատրաստման ընթացքում որոշվում են գետերի և ջրամբարների ջրի հորիզոնի բարձրություններն, ինչպես նաև ՃԿ-երի միջև ցայտուն և բնութագրող եզրագծերի բարձրությունները:
Ռելիեֆի ուրվագծման (рисовка) ժամանակ գետերի ջրի հորիզոնի բարձրությունները պետք է բերվեն աերոֆոտոհանույթի կատարման ամսաթվի բարձրությանը և նվազամակարդակային (меженному) բարձրությունը հատակագծերի վրա գրելու համար: Եթե վերջինի կատարումը հնարավոր չէ, ապա ջրի հորիզոնի բարձունքային նիշի գրառման մոտ գրվում է ջրի հորիզոնի բարձրության որոշման ամսաթիվը:
Ցանքային կուլտուրաներով և խոտով ծածկված տեղամասերում պետք է նշվեն նրանց բարձրությունների բնութագիրն աերոֆոտոհանույթի կատարման ամսաթվով:
10.5.7. ԲՃԿ-երն աերոֆոտոնկարի երեսի կողմում նշվում են ծակվածքով, առնելով այն շրջանակի մեջ և գրելով կետի համարն ու բարձրությունը: Աերոֆոտոնկարի հակառակ կողմում կետն առնում են շրջանակի մեջ, գրում՝ համարը և կարճ նկարագրությամբ նշելով ՃԿ-ի դիրքի հարաբերությունը մոտակա միկրոռելիեֆին: Անհրաժեշտության դեպքում նկարվում է ուրվանկարը (աբրիսը) կամ տեղանքի կտրվածքը (պրոֆիլը):
Այն կետերը, որոնք ստացվել են չափումներով, աերոֆոտոնկարի երեսի կողմում ձևակերպվում են կետագծային շրջանակով և այն եզրագծերի ծակվածքներով, որոնցից կատարվել է չափումները: Աերոֆոտոնկարի հակառակ կողմում կազմվում է սխեմա, նշելով կետի դիրքը եզրագծային կետերի համեմատ և նշվում չափված հեռավորությունները:
10.5.8. ՃԿ-երի բարձրությունները որոշվում են արբանյակային կամ տեխնիկական նիվելիրացման եղանակներով, ռելիեֆի անկման 0.25, 0.5, 1 և 2 մ-ի դեպքում և եռանկյունաչափական նիվելիրացումով` բլրոտ և լեռնային տարածքներում ռելիեֆի անկման 2-5 մետրի դեպքում:
10.5.9. Եթե անտառապատ տարածքներում բարձունքային ընթացքների անցկացման ընթացքում պահանջվում է մեծ քանակությամբ անտառուղիների կտրատում, ապա կետերի բարձրությունները ստերեոնկարման համար ռելիեֆի անկման 2 և 5 մ դեպքում, թույլատրվում է որոշել եռանկյունաչափական նիվելիրացումով եռանկյունավորման կառուցվածքների կողմերով կամ հատումներով: Այդ դեպքում կողմերի երկարությունը չպետք է գերազանցի 12 կմ միջին ճշտության թեոդոլիտներով չափելիս և 5 կմ 30 վրկ ճշտության թեոդոլիտներով չափելիս:
10.5.10. Բարձունքային նախապատրաստման ժամանակ յուրաքանչյուր հանույթային սեղանի (տրապեցիա) համար պետք է որոշվի ոչ պակաս 5 բարձունքային կետ ռելիեֆի ստերեոնկարի վերահսկման համար: Որպես վերահսկիչ կետեր կարող են ծառայել գեոդեզիական հիմքի և հանույթային ցանցի կետերն, ինչպես նաև գրունտային հենանիշերը և բնորոշ կետերը, որոնք որոշվել են բարձունքային նախապատրաստման ժամանակ և վերահսկիչ ընթացքների կետերը:
10.5.11. Համատարած բարձրունքային նախապատրաստման դեպքում ենթակա են վերահսկման ճանաչման ԲՃԿ-երի 25%-ն, իսկ նոսր բարձունքային նախապատրաստման դեպքում մակնշված ԲՃԿ-երը` ամբողջությամբ ենթակա են ստուգողական ճանաչման:
10.5.12. Բարձունքային նախապատրաստման աշխատանքների ավարտից հետո հանձնվում են հետևյալ նյութերը.
1) աերոֆոտոհանույթները ձևակերպված ԲՃԿ-երով,
2) աերոֆոտոհանույթները ստուգողական ճանաչումով և համեմատիչ ամփոփագրով,
3) ձևավորված վերադիր մոնտաժի վերարտադրանկարները,
4) չափումների մատյանները,
5) բարձունքային կատալոգը (տես հավելված 15) և հաշվարկման նյութերը:
Նյութերը սիստեմատացվում են հաջորդող ավելի փոքր մասշտաբի սեղաններով:
10.6. ՎԵՐԾԱՆՈՒՄՆԵՐԸ ՍՏԵՐԵՈՏԵՂԱԳՐԱԿԱՆ ՀԱՆՈՒՅԹՆԵՐԻ ՀԱՄԱՐ
10.6.1. Ստերեոտեղագրական եղանակով տեղագրական հատակագծերի ստեղծման տեխնոլոգիայի հիմնական պարտադիր մասը հանդիսանում է ֆոտոգրաֆիական պատկերի վերծանումը, որն էլ եզրափակում է նկարի վրա տեղանքի օբյեկտների ճանաչումը, տալիս է նրանց բնութագիրը և պատկերվում է պայմանական նշաններով:
10.6.2. Վերծանումների հիմնական եղանակներ են հանդիսանում դաշտային և կամերալ վերծանումները: Խոշոր մասշտաբների տեղագրական հանույթների համար կիրառվում է դաշտային և կամերալ զուգորդված վերծանումը:
Կախված հանույթագրվող տարածքի տեղագրական ուսումնասիրվածությունից և աշխատանքների ընդունված տեխնոլոգիական սխեմաներից, դաշտային վերծանումները կատարվում են մինչև կամերալ աշխատանքները կամ նրանից հետո:
10.6.3. Բնակավայրերի և բարձր եզրագծային հագեցվածություն ունեցող տարածքների վերծանումները տեղում կարող են կատարվել խոշորացված աերոֆոտոնկարների, ֆոտոսխեմաների, ֆոտոհատակագծերի կամ գրաֆիկական բնօրինակների հետ լրակազմ աերոֆոտոնկարների վրա: Նյութը, որի վրա սևեռում են (ֆիկսում) վերծանման արդյունքները պետք է լինի ստեղծվող հատակագծի մասշտաբով, կամ նրան մոտ: Քիչ եզրագծեր ունեցող տարածքների վերծանումները թույլատրվում է կատարել աերոֆոտոնկարների վրա թռիչքի մասշտաբով, եթե աերոֆոտոհանույթի մասշտաբը 2-2.5 անգամ փոքր է ստեղծվող հատակագծի մասշտաբից:
10.6.4. Նախապատրաստական աշխատանքների փուլում ցանկացած վերծանման եղանակի դեպքում իրականացվում է քարտեզագրական նշանակության նյութերի հավաքում և ուսումնասիրում:
Օգտագործման ենթակա են հետևյալ նյութերը (գրաֆիկական և թվային տեսքով).
1) մասշտաբներին մոտիկ տեղագրական քարտեզները և հատակագծերը,
2) տեղանքի գեոդեզիական հետազննությունների տվյալները,
3) նախկինում կատարված հանույթների հաշվետվությունները,
4) մասնագիտական նպատակներով ստեղծված տեղագրական հանույթների պլանշետները (գյուղատնտեսական հողերի հատակագծերը, անտառատնտեսական հատակագծերը, շինարարական աշխատանքների ավարտից հետո կատարված կատարողական հատակագծերը),
5) ամբողջ քաղաքային տարածքի հողերի և քաղաքի կառուցապատված տարածքի հերթապահ հատակագիծը, որի վրա կատարվում են ընթացիկ փոփոխությունները,
6) քաղաքի սխեմատիկ հատակագիծը, որում ընդգրկված են բոլոր փողոցների, հրապարակների, նրբանցքների և փակուղիների անունները,
7) շենքերի ցոկոլների չափումների հատակագծերը,
8) վերգետնյա և ստորգետնյա ցանցերի տեղակայման գրանցման հատակագիծը,
9) երկաթգծերի և ավտոմայրուղիների երկայնական պրոֆիլները,
10) ջրչափիչ կետերի (պոստերի) տվյալները,
11) փողոցների ծածկույթի մասին տվյալները,
12) տեղեկագրերը (ադմինիստրատիվ-տարածքային բաժանումների, երկաթուղային և գետային հաղորդակցման ճանապարհների, հիդրոմետ ծառայությունների և այլն):
Եղած նյութերը պետք է ուսումնասիրվեն նկատի առնելով նրանց ճշտությունը և օգտագործման նպատակահարմարությունը: Վերծանման աշխատանքների գործընթացում իրականացվում է աշխարհագրական անվանումների ստուգում և ավելացում:
10.6.5. Դաշտային վերծանումը կատարվում է մինչև կամերալ աշխատանքները հետևյալ դեպքերում.
1) եթե հանույթագրվող օբյեկտը բավականաչափ չի ապահովված քարտեզագրական (տեղագրական) նշանակության նյութերով,
2) եթե աերոֆոտոհանույթի նյութերը բավականաչափ հնացել են կամ աերոֆոտոհանույթը կատարվել է ոչ 10.2.14., 10.2.15. կետերում նշված ժամանակահատվածում,
3) եթե բարձրությունների ֆոտոգրամետրիական ճշգրիտ որոշումները տեղանքի օբյեկտների քանակական բնութագրերի համար անհնար է բուսածածկի պատճառով,
4) փոքր և թույլ ցայտունություն ունեցող օբյեկտների բավականաչափ կենտրոնացվածությունն առանձին հատվածներում, որոնք կամերալ պայմաններում ոչ լրիվ կամ ընդհանրապես չեն ճանաչվում աերոֆոտոնկարի վրա:
10.6.6. Դաշտային վերծանումները մնացած բոլոր դեպքերի համար պետք է կատարել կամերալ աշխատանքներից հետո:
Տեղամասերը պետք է հետազննվի տեղանքում (նատուրայում) կամերալ վերծանման ստուգման և ուղղումների համար այն օբյեկտների նկատմամբ, որոնք աերոֆոտոնկարի վրա լավ չեն ճանաչվում (փոքր չափերի, թույլ ցայտունության, ստվերների առկայության, վիճակի առանձնահատկությունները), օբյեկտները բնութագրող ոչ բավարար տեղեկատվությունների ճշտման և չափումների միջոցով (կամ այլ եղանակներով) տեղի առարկաների և ուրվագծերի անկյունների անցկացում, որոնք չեն պատկերվել աերոֆոտոհանույթի ընթացքում: Չափումների տվյալներն աերոֆոտոնկարների հետ աշխատելիս նշվում են նրան հակառակ կողմում կամ առանձին ուրվանկարներում (աբրիսներում), իսկ ֆոտոսխեմաների, ֆոտոհատակագծերի կամ հատակագծերի գրաֆիկական բնագրերի վրա՝ անմիջապես նրանց վրա:
Եթե վերծանման գործընթացում 1:500 և 1:1000 մասշտաբների բնակավայրերի հանույթի ընթացքում պահանջվում է կատարել բավականաչափ ծավալի բնական չափումներ, ապա այդ չափումների արդյունքները ձևակերպվում է աերոֆոտոնկարների վրա գրառման տեսքով, իսկ հետո օգտագործվում է հատակագծի բնօրինակի ուրվագծային մասի կազմման համար: Անհրաժեշտության դեպքում վերջինս ուղարկվում է դաշտային վերամշակման:
10.6.7. 1:500-1:1000 մասշտաբների տեղագրական հանույթների վրա ենթակա են պարտադիր պատկերման` տեղանքի առարկաները, ռելիեֆը և իրավիճակը (սիտուացիան) համաձայն 4 բաժնի ցուցումների:
Վերծանման լիարժեքությունը և մանրամասնությունը որոշվում են գործող պայմանական նշաններով և լրացուցիչ տեխնիկական պահանջներով, որոնք ներկայացվում են մասնագիտացված նշանակության հատակագծերին:
Օբյեկտների պայմանական նշանները պետք է դասավորված լինեն իրարից 0.3 մմ բացվածքով (просвет):
Կառուցապատված տարածքների վերծանումների ընթացքում անհրաժեշտ է հաշվի առնել հետևյալը.
1) բնակելի կառույցներին, բացի բնակելի շինություններից, վերաբերում են հասարակական նշանակության (ուսումնական հաստատությունները, ճաշարանները, սրճարանները, հիվանդանոցները, հանգստյան տները, ադմինիստրատիվ, կուլտուրայի, առևտրի և մանկական հիմնարկները և կազմակերպությունները),
2) կառուցվածքները, որոնք բնակության համար օգտագործվում են միայն տարվա տաք ժամանակահատվածում (ճամբարներ, ամառանոցային կոոպերատիվներ և այլն) վերաբերում են ոչ բնակելիին,
3) հրակայուն կարելի է համարել այն շինությունները, որոնք կառուցված են քարից, աղյուսից, բետոնից, ապակուց,
4) փայտյա և ծղոտե շինությունները, նաև տաշատախտակե, եղեգե, ծղոտե տանիքներ ունեցող շինությունները պետք է համարել ոչ հրակայուն,
5) որպես կանոն 1:5000 մասշտաբի տեղագրական հատակագծերի վրա ստորգետնյա հաղորդակցուղիների ելուստային մասերը (դիտահորեր) ցույց չեն տրվում, 1:2000 մասշտաբում արտացոլվում են ստորգետնյա ուղեգծի դիտահորերը, 1:500 և 1:1000 մասշտաբների վրա ցույց են տրվում ստորգետնյա հաղորդակցուղիների բոլոր տեսակները և նրանց ելուստային մասերը, ինչպես նաև եղած տվյալների հիման վրա նրանց գույքագրումը քաղաքի համապատասխան ծառայություններում, գյուղերում, արդյունաբերական օբյեկտներում:
10.6.8. Ուրվագծային ամենափոքր տեղամասը, որն արտացոլվում է 1:500-1:5000 մասշտաբների հատակագծերի վրա, պետք է լինի 20 քառ. մմ թանկարժեք-տնտեսական հողատեսքերի համար և 50 քառ. մմ - ոչ տնտեսական նշանակության հատվածների համար:
10.6.9. Բարձր օբյեկտների (շենք, կառուցվածք) հիմքերի վերծանման գործընթացում անհրաժեշտ է մտցնել ուղղում շինությունների վերին մասերի պատկերի շեղումների համար, որոնք առաջանում են կենտրոնական նախագծերի և կառնիզների առկայություն հետևանքով:
Ուղղումը հաշվի է առնվում, եթե այն գերազանցում է հատակագծի գրաֆիկական ճշտությունը:
10.6.10. Որպես կանոն, կառնիզների մեծությունները և տանիքների ցվիքները կարելի է հաշվի առնել տվյալ շինության հեռանկարային ֆոտոպատկերով կամ նրա ստվերով: Այդ հնարավորության բացակայության դեպքում անհրաժեշտ է բնության մեջ կատարել համապատասխան չափումներ:
Բացի այդ, ֆոտոհատակագծերի վրա շինությունների ուրվագծումների ընթացքում անհրաժեշտ է հաշվի առնել շինության ցոկոլի և տանիքի մասշտաբների տարբերությունը:
Մտցվող ուղղումների մեծությունները կախված այդ դեպքում կլինեն ավելի շատ, որքան ֆոտոհատակագծի մասշտաբն է խոշոր, շինության չափերը (ինչպես հատակագծում, այնպես էլ բարձրությամբ), և այնքան փոքր, որքան ավելի է ֆոտոնկարահանման բարձրությունը և ԱՖԱ-ի խցիկի կիզակետային (ֆոկուսային) հեռավորությունը:
Կառուցապատ տարածքների սահմաններում վերծանման ընթացքում, տեղանքի առարկաների քանակը կարող է լինել այնքան շատ, որ դրանց բոլորի անցկացումն իրենց տեղերում հնարավոր չէ: Այդպիսի դեպքերում, ըստ իրենց նշանակության, կարևոր առարկաները ցույց են տրվում ճիշտ իրենց տեղերում, իսկ ոչ կարևոր առարկաները կարող են քիչ տեղաշարժված լինել կամ հանվել: Բնակավայրերում, որտեղ չկան ցայտուն սահմաններ այգիների և բանջարանոցների միջև, կարելի է համապատասխան պայմանական նշանները փոխարինել «այգի և բանջարանոց» գրառումով:
10.6.11. Օգտակար հանածոների բաց հանքավայրերը (ավազ, խիճ և այլն) ցույց են տրվում փաստացի յուրացման ուրվագծով, նշելով հանվող նյութի տեսակը և հանքավայրի խորությունը (0.1 մ ճշտությամբ):
10.6.12. Վերծանումներն, անկախ հանույթի տեխնոլոգիական տարբերակից, որպես կանոն, պետք է վերահսկվեն և ընդունվեն անմիջապես տեղանքում:
10.6.13. Վերծանումներն անհրաժեշտ է կատարել համաձայն գործող հրահանգների պահանջների:
10.7. ԲԱՐՁՈՒՆՔԱՅԻՆ ՀԱՆՈՒՅԹԱՅԻՆ ՀԻՄՆԱՎՈՐՈՒՄ, ՌԵԼԻԵՖԻ ՀԱՆՈՒՅԹ ԵՎ ՎԵՐԾԱՆՈՒՄ ՀԱՄԱԿՑՎԱԾ ՀԱՆՈՒՅԹՆԵՐԻ ԸՆԹԱՑՔՈՒՄ
10.7.1. Համակցված տեղագրական հանույթները կատարվում են այն դեպքերում, երբ ֆոտոգրամետրիական որոշումներով հնարավոր չէ ստանալ երկրի մակերևույթի վրա կետերի բարձրություններն անհրաժեշտ ճշտությամբ բուսածածկի պատճառով, կամ երբ ստերեոտեղագրական հանույթները նպատակահարմար չեն տեխնիկական կամ կազմակերպչական պատճառներով:
10.7.2. Համակցված հանույթների իրականացման ընթացքում անմիջապես դաշտում որոշվում են կետերի բարձրությունները, տեղանքի ռելիեֆը պատկերվում է հորիզոնականներով և պայմանական նշաններով, վերծանվում են եզրագծերը և անցկացվում այն օբյեկտները, որոնք աերոֆոտոնկարի վրա չեն պատկերվել:
10.7.3. Յուրաքանչյուր ֆոտոհատակագծին (գրաֆիկական հատակագծին) դաշտային աշխատանքների կատարման համար, պետք է կցվի աերոֆոտոնկարների լրակազմ (կոմպլեկտ) այն մասշտաբի, որը մոտ է հանույթի մասշտաբին:
10.7.4. Համակցված հանույթների ընթացքում պլանային հանույթային հիմնավորումը (աերոֆոտոնկարի պլանային նախապատրաստում) կատարվում է համաձայն 10.4 ենթաբաժնում տրված ցուցումների:
Օրթոֆոտոհատակագծերի ստացումը և նրանց հետ կապված ֆոտոգրամետրիական աշխատանքները կատարվում են համաձայն 10.2.10. և 10.2.11. կետերի ցուցումների և [12] պահանջներով:
10.7.5. Համակցված հանույթների ընթացքում բարձունքային հիմնավորումը, որն անհրաժեշտ է տեղանքի ռելիեֆի հանույթագրման համար, կատարվում է հիմնական և հանույթային ընթացքների անցկացմամբ:
10.7.6. Հանույթային ցանցի նախագիծը մշակվում է մինչև դաշտային աշխատանքների սկսելը, օգտագործելով տվյալ աշխատանքային տեղամասի ավելի խոշոր մասշտաբի եղած քարտեզները, որի վրա մոտավորապես անցկացվում են բոլոր եղած գեոդեզիական հիմքի կետերը և հանույթային պլանշետների շրջանակները (ռամկա):
10.7.7. Հիմնական բարձունքային ընթացքները համարվում են ելակետային հանույթային ընթացքները զարգացնելու համար և պետք է հիմնվեն նիվելիրային ցանցի հենանիշերի (ռեպետնիրի) և դրոշմանիշերի (մարկաների), պետական գեոդեզիական ցանցի, գեոդեզիական խտացման ցանցի 1 և 2 կարգերի և հանույթային ցանցերի կետերի վրա, որոնց բարձրությունները որոշված են 4 դասի նիվելիրացումով: Ռելիեֆի անկման 2 և 5 մ հանույթների դեպքում, որպես բարձունքային հիմք կարող են օգտագործվել այն կետերը, որոնց բարձրությունները որոշվել են եռանկյունաչափական նիվելիրացումով, այն պայմանով, որ բարձրության որոշման սխալանքը չի գերազանցում ընդունված ռելիեֆի անկման 1/5-ը:
10.7.8. Հիմնական ընթացքները նախագծվում են՝ առանձին ընթացքների, ընթացքների համակարգի (հանգույցային կետերի գոյացումով) և փակ պոլիգոնների տեսքով: Դրանց նախագծումը պետք է կատարել այնպես, որ ընթացքի կետերը հավասարաչափ բաշխված լինեն ամբողջ հանույթային տարածքի վրա: Պլանային հանույթային ցանցի բոլոր կետերը, որոնք գտնվում են հանույթագրվող տարածքի սահմաններում, պետք է ընդգրկվեն հիմնական բարձունքային ընթացքներում:
10.7.9. Հիմնական բարձունքային ընթացքների կետերը, որպես կանոն, պետք է ճանաչվեն ֆոտոհատակագծի (գրաֆիկական հատակագծի) վրա: Ճանաչման հնարավորության բացակայության դեպքում նրանց պլանային դիրքը որոշվում է հանույթի իրականացման գործընթացում գրաֆիկական ուղիղ և հակադարձ փոխհատումներով գեոդեզիական ցանցի կետերով կամ ճանաչված ցայտուն եզրագծերով գծահամատեղման (створов) եղանակով կամ այլ եղանակներով:
10.7.10. Ռելիեֆի կտրվածքի 0.25, 0.5 և 1 մ հանույթների համար, հիմնական բարձունքային ընթացքները զարգացվում են տեխնիկական նիվելիրացումով համաձայն 7.4.7. կետում տրված ցուցումների:
10.7.11. Ռելիեֆի կտրվածքի 2 և 5 մ հարթավայրային կտրատված և լեռնային տարածքների հանույթների համար հիմնական ընթացքները թույլատրվում է զարգացնել եռանկյունաչափական նիվելիրացումով, թեոդոլիտներով, նոմոգրամային կիպրեգելներով:
Թեքման անկյունները չափվում են մեկ նվագով գործիքի ուղղաձիգ շրջանի երկու դիրքերով ուղիղ և հակադարձ ուղղություններով, իսկ նոմոգրամային կիպրիգելով աշխատելիս բարձրությունը որոշվում է կրկնակի ձախ շրջանի դեպքում նշաձողի տարբեր բարձրությունների վրա:
Թելային հեռաչափերով, գործիքից մինչև նշաձող հեռավորությունը չափելիս բարձունքային ընթացքների կողմերի երկարությունները չպետք է գերազանցեն 250 մ-ը:
Նոմոգրոմային կիպրեգելներով, գործիքից մինչև նշաձող հեռավորությունը չափելիս բարձունքային ընթացքների կողմերի երկարությունները չպետք է գերազանցեն 150 մ-ը: Բարենպաստ պայմանների դեպքում թույլատրվում է հեռավորությունը մեծացնել մինչև 200 մ:
Ուղիղ և հակադարձ չափումներից ստացված բարձրությունների տարբերությունը, կամ բարձրությունների տարբերությունը ստացված նշաձողի տարբեր բարձրություններից միևնույն գծի համար թույլատրվում է մինչև 10 սմ, եթե գծի երկարությունը 250 մ է և ավելի մեծ հեռավորության դեպքում 4 սմ յուրաքանչյուր 100 մ-ի համար:
10.7.12. Հիմնական բարձունքային ընթացքները պետք է հավասարակշռվեն մատյանի համապատասխան բաժնում:
Համակարգային ընթացքները հավասարակշռվում են միասին:
Ընթացքի անկապքը բաշխվում է համապատասխան կողմերի երկարության:
10.7.13. Հիմնական բարձունքային ընթացքների հանգուցային և առավել անհրաժեշտ կետերը տեղանքում երկարաժամկետ նշաններով ամրացման հարցը որոշվում է տեխնիկական նախագծի մշակման ընթացքում` կախված հանույթի նպատակից: Բոլոր միջանկյալ կետերը, որոնք ամրացված չեն մշտական նշաններով, ամրացվում են ժամանակավոր կետերով, համաձայն 6.27 և 6.28 կետերում տրված ցուցումների:
10.7.14. Հանույթում ռելիեֆն անհրաժեշտ ճշտությամբ ապահովելու համար հարակից պլանշետների վրա նշվում են ընդհանուր կապող կետեր:
Որպես կապող կետեր կարող են ծառայել մշտական կամ ժամանակավոր նիվելիրացման հենանիշերը, որոնք գտնվում են պլանշետների շրջանակներին (ռամկային) մոտիկ: Դրանց բացակայության դեպքում հարակից հանույթային պլանշետների հիմնական բարձունքային ընթացքների համակարգերը պետք է ունենան ոչ պակաս մեկ ընդհանուր կետ:
Կապող կետերի բարձունքային անկապքը չպետք է գերազանցի ռելիեֆի անկման բարձրության 1/5-ը:
Կապող կետերի պլանային անկապքը չպետք է լինի հատակագծի վրա 1 մմ-ից ավելի:
Եթե բարձունքային հանույթային հիմքը զարգացնում են միաժամանակ սեղանների բլոկի համար, ապա այդ սեղանների միջև հատուկ կապող կետերը չեն նշվում:
10.7.15. Հանույթային կետերի բարձրությունները որոշվում է հանույթային ընթացքների անցկացմամբ, որոնք հենվում են հիմնական բարձունքային ընթացքի կետերի վրա և գեոդեզիական հիմքի կետերի վրա: Հանույթային ընթացքներն անցկացվում են հիմնական բարձունքային ընթացքների կապումից հետո:
Հանույթային կետերի քանակը որոշվում է կախված տեղանքի ռելիեֆի բարդությունից, կառուցապատվածությունից կամ հանույթագրվող տարածքի անտառապատումից: Կետերի բարձրությունների որոշման անկապքը չպետք է գերազանցի ընդունված ռելիեֆի անկման 1/5-ը:
10.7.16. Ռելիեֆի անկման 0.25, 0.5 և 1 մ հանույթի համար հանույթային ընթացքները զարգացվում են երկրաչափական նիվելիրացման եղանակով նիվելիրով, կիպրիգելով, որի տեսախողովակի վրա կա հարթաչափ:
10.7.17. Ռելիեֆի անկման 2 և 5 մ հանույթի համար հանույթային ընթացքները կարելի է զարգացնել եռանկյունաչափական նիվելիրացման եղանակով համաձայն 7.4.8. կետի ցուցումների:
10.7.18. Հանույթային ընթացքի կետերը ցանկալի է նշել ցայտուն, լավ ճանաչվող եզրագծերի վրա: Եթե հանույթային կետը չի ճանաչվում հատակագծի վրա, ապա նրա դիրքը որոշվում է հետևյալ եղանակներով.
1) գեոդեզիական հիմքի կետերով և երկրաչափական ցանցով հակադարձ հատումների եղանակով կամ ճանաչված ցայտուն եզրագծերով մոտեցումների եղանակով:
2) երեք և ավելի ճանաչված ցայտուն եզրագծերից հեռավորություների չափումով,
3) հեռավորությունների չափումով երկու ճանաչված ցայտուն եզրագծերից, որոնք գտնվում են եզրագծի ուղղագիծ հատվածներում` ճանապարհներ, ջրատարներ, սահմանագծեր և այլն,
4) նախորդ կետում որոշված ուղղությունների և հեռավորությունների շարունակման եղանակով ստուգել հակադարձ հատումներով գեոդեզիական հիմքի կետերը կամ ճանաչված եզրագծերը:
10.7.19. Հիմնական և հանույթային ընթացքների անցկացման ժամանակ նշաձողերը տեղակայվում են հողին հավասար ցցափայտերի վրա:
10.7.20. Ընթացքների թույլատրելի երկարությունները և անկապքները, կախված ռելիեֆի բարձրության անկումից և կետերի բարձրությունների որոշման եղանակից բերված են հավելված 18-ում:
Ընթացքների թույլատրելի երկարությունները եվ անկապքները` կախված ռելիեֆի անկումից եվ կետերի բարձրությունների որոշման եղանակից
Հավելված 18
Բարձուն- |
Երկրաչափական նիվելիրացում |
Եռանկյունաչափական նիվելիրացում | ||||||||
Ռելիեֆի անկումը մ | ||||||||||
0.25 |
0.5 |
1 |
2 |
5 | ||||||
ընթացքի երկար. կմ |
ան- |
ընթացքի երկար. կմ |
ան- |
ընթացքի երկար. կմ |
ան- |
ընթացքի երկար. կմ |
ան- |
ընթացքի երկար. կմ |
ան- | |
Հիմնական |
2 |
0.07 |
8 |
0.14 |
16 |
0.20 |
6 |
0.30 |
12 |
1.0 |
Հանույթային |
1 |
0.08 |
5 |
0.15 |
8 |
0.20 |
3 |
0.60 |
6 |
1.00 |
10.7.21. Հանույթային ընթացքները պետք է հավասարակշռվեն տեղագրական հանույթի մատյանի համապատասխան մասում:
10.7.22. Ֆոտոհատակագծերի կամ գրաֆիկական հատակագծերի վրա ռելիեֆի հանույթը կատարվում է մենզուլայի և կիպրիգելի օգնությամբ, իսկ հարթավայրերում՝ նիվելիրների:
Բարձունքային կետերը (պիկետները), որոնք անհրաժեշտ են ռելիեֆի պատկերման համար որոշվում են հիմնական և հանույթային ընթացքների, ինչպես նաև գեոդեզիական հիմքի կետերից:
Ռելիեֆի ճիշտ պատկերման համար պետք է նախօրոք աերոֆոտոնկարներով ուսումնասիրել տեղանքի ստերեոսկոպիական մոդելը և նշել, հանույթային ընթացքների կետերի և պիկետների անհրաժեշտ տեղերը:
10.7.23. Ռելիեֆի հանույթի ընթացքում պետք է պիկետները որոշել ռելիեֆի բնութագրող մասերում՝ բարձրություններում, ջրբաժանների վրա, լեռնաշղթաների թամբարդներում, գոգահովիտներում, հարթավայրերում, լեռնահովիտներում և լանջերի զառիթափության փոփոխման մասերում: Բացի այդ պետք է որոշվեն նաև տեղանքի եզրագծային բնորոշ կետերի բարձրությունները (ճանապարհներ և ծառուղիների հատումները, եզրագծերի կտրուկ ծռվածությունները, ջրամբարների բարձրությունները, կամուրջների, ջրարգելակների, ջրհորների մոտ հողի բարձրությունները և այլն), որոնց գրառումները տեղավորվում են հատակագծի վրա:
10.7.24. Հատակագծի վրա յուրաքանչյուր 10-12 սմ վրա որոշվում են ջրագծի հորիզոնը (урез воды) գետերում, գետակներում, ջրանցքներում, ջրավազաններում՝ հանույթի կատարման պահին:
Ջրագծերի հորիզոնը և տեղանքի բնորոշ կետերի բարձրությունները որոշվում են հանույթային ընթացքների կետերի բարձրությունների որոշման համար ընդունված ճշտությամբ:
10.7.25. Հարթ տեղանքներում ռելիեֆի անկման 0.25, 0.5 և 1 մ հանույթների ընթացքում, թեքման անկյան մինչև 20-ի դեպքում, պիկետների բարձրությունները որոշվում են դիտախողովակի վրա հարթաչափով կիպրեգելի հորիզոնական ճառագայթով, կամ նիվելիրով, որը տեղակայվում է մենզուլայի հողքին:
Հաշվարկների պարզեցման համար գործիքի հորիզոնը որոշվում է հետևյալ բանաձևով.
ГП=Hi+i (13)
որտեղ Hi - գործիքի կայանման կետի բարձրությունն է,
i - գործիքի բարձրությունը:
Պիկետների բարձրությունները հաշվում են հետևյալ բանաձևով.
H= ГП - a , (14)
որտեղ a-ն - նշաձողի վրա վերցված հաշվեցույցն է:
Օգտագործվում են սանտիմետրանոց և երկու սանտիմետրանոց բաժանումներ ունեցող նշաձողեր (ռեյկա), ինչպես նաև նշաձողեր փոփոխական սանդղակով:
10.7.26. 20-ից ավելի թեքման անկյուն ունեցող տեղանքի հանույթի ընթացքում պիկետների բարձրությունները որոշվում են եռանկյունաչափական նիվելիրացման եղանակով: Ուղղաձիգ անկյունները չափում են KH տիպի կիպրիգելով մեկ շրջանի դիրքով:
Պիկետների վերազանցումները հաշվում են հետևյալ բանաձևով.
h = 1/2 (kL+ c) sin2a, (15)
կամ
h = Sotg a, (16)
որտեղ՝ K - հեռաչափի գործակիցն է,
L - հեռաչափի ցանցաթելերի միչև եղած հատվածն է նշաձողի վրա,
c - հեռաչափի մշտական գումարելին է,
a - չափված ուղղաձիգ անկյունն է,
So - հորիզոնի բերված գծի երկարությունն է (ուղղումը հաշվի է առնվում 30-ից ավելի թեքման անկյան դեպքում):
Պիկետի բարձրությունը հաշվում են հետևյալ բանաձևով
Hպիկ=Hկայ+ i - v +h, (17)
որտեղ՝ Hկայ - գործիքի կանգնած կետի բարձրությունն է,
i - գործիքի բարձրությունը,
v - դիտման կետի բարձրությունը,
հ - չափված վերազանցումը:
Հաշվարկների պարզեցման համար միջին ցանցաթելը պետք է ուղղել նշաձողի այն հաշվեցույցի վրա, որը համապատասխանում է գործիքի բարձրությանը (I=v): Այդ դեպքում պիկետի Hկայ բարձրությունը հաշվարկում են հետևյալ բանաձևով`
Hպիկ=Hկայ+h (18)
Կիպրիգելի ուղղաձիգ շրջանի զրոյի տեղը որոշում են ամեն օր: Որոշումների արդյունքները գրի են առնում հանույթային մատյանում:
10.7.27. Պիկետների բարձրությունները հաշվում են մինչև 0.01 մ-ի ճշտությամբ և գրում են պլանշետի վրա՝ կլորացնելով մինչև 0.1 մ ռելիեֆի անկման 1 մ-ի և ավելիի դեպքում:
Ռելիեֆի 1 մ-ից փոքր անկման դեպքում պիկետների բարձրությունները հաշվարկվում և գրվում են պլանշետների վրա մինչև 0.01 մ ճշտությամբ:
10.7.28. Կախված հանույթի մասշտաբի և ռելիեֆի անկման բարձրությունից, հեռավորությունը գործիքից մինչև նշաձող և պիկետների միջև չպետք է գերազանցեն հավելված 19-ում տրված մեծությունները:
Առավելագույն հեռավորությունը` գործիքից մինչԵՎ նշաձող ԵՎ պիկետների միջև
Հավելված 19
Հանույթի մասշտաբը |
Ռելիեֆի անկման բարձրությունը |
Պիկետների միջև առավելագույն հեռավորությունը մ |
Առավելագույն հեռավորությունը մինչև նշաձող ռելիեֆի հանույթի դեպքում |
Առավելագույն հեռավորությունը գործիքից մինչև նշաձող հանույթի ժամանակ, մ | |
ցայտուն եզրագիծ |
ոչ ցայտուն եզրագիծ | ||||
1:500 |
0.5 |
20 |
100 |
60 |
80 |
1:1000 |
0.5 |
30 |
150 |
80 |
100 |
1:2000 |
0.5 |
50 |
200 |
100 |
150 |
1:5000 |
0.5 |
75 |
250 |
150 |
200 |
10.7.29. Հանույթի ընթացքում մանրակրկիտ պատկերվում են հորիզոնականներով տվյալ տեղամասի համար բնորոշ ռելիեֆի բոլոր ձևերը, ինչպես նաև այն մասերը, որոնք ունեն հատուկ նշանակություն տեղագրական հատակագծերի օգտագործման դեպքում (հանույթային կետերը ընտրվում են այնպես, որ նրանցից լինի տեսանելի տվյալ կետից հանույթագրվող ամբողջ տարածքը):
Ռելիեֆի բնորոշվող ձևերը և մասերը պատկերման համար, որոնք հիմնականում արտահայտված չեն հորիզոնականներով, կիրառվում են կիսահորիզոնականներ և օժանդակ հորիզոնականներ, իսկ անհրաժեշտության դեպքում՝ հաստատված պայմանական նշաններ:
Կիսահորիզոնականները պարտադիր անցկացվում են այն տեղամասերում, որտեղ հիմնական հորիզոնականների միջև հեռավարությունը գերազանցում է 2.5 սմ հատակագծի վրա:
10.7.30. Հատակագծի վրա հորիզոնականներն անցկացվում են մատիտով անմիջապես դաշտում պիկետների հավաքումից հետո կամ միաժամանակ:
Հանույթը պետք է կատարել համատարած զանգվածով:
1:2000 և 1:5000 մասշտաբների հատակագծերի վրա յուրաքանչյուր դեցիմետրային քառակուսում պետք է գրառվի տեղանքի բնորոշող կետերի ոչ պակաս 10 նիշ:
Գրառվող կետերի քանակը հաստատվում է տեխնիկական նախագծում: 1:500 և 1:1000 մասշտաբների հատակագծերի վրա գրվում են բոլոր պիկետների նիշերը: Պետք է նկատի առնել, որ հողերի մելիորատիվ նպատակներով կատարված հանույթում 1 քառ. դմ-ում գրվում է 30 և ավելի նիշեր, համաձայն գործող հրահանգների:
10.7.31. Ռելիեֆի հանույթի ընթացքում, յուրաքանչյուր պլանշետի համար մոմաթղթի վրա կազմվում է բարձունքային պատճենը (կալկա), որի վրա անցկացվում են գեոդեզիական հիմնակետերը, հիմնական բարձունքային և հանույթային ընթացքների կետերն իրենց համարներով և բարձրություններով, ջրագծերը և բոլոր պիկետները, որոնց բարձրությունները գրված են հատակագծի վրա (տես հավելված 16):
Բարձունքային պատճենը (կալկա) կազմելուց առաջ անհրաժեշտ է ստուգել ընթացքների կետերի բարձրությունների, ջրագծերի և տեղանքի բնորոշիչ կետերի (պիկետները) հաշվարկման ճշտությունը: Բարձունքային պատճենը (կալկա) պահպանվում է մշտական:
10.7.32. Ռելիեֆի նկարագրումը և վերծանումը, որպես կանոն, պետք է կատարվի ոչ թե անմիջապես ֆոտոպատկերի վրա, այլ թափանցիկ քիչ դեֆորմացվող պլաստիկատի վրա, որն ամուր ամրացվում է ֆոտոհատակագծի վրա: Դրա հետ մեկտեղ, պետք է ձգտել նաև գծագրի որակի բարձրացմանը:
Պլանային հիմքերի ձևակերպման ընթացքում, պետք է օգտագործել փոխանցվող ինքնակպիչ (самоприклеивающиеся) տառերի, թվերի, պայմանական նշանների պատկերները:
10.7.33. Հանույթային աշխատանքների ավարտից հետո, հատակագիծը պետք է համատեղվի շրջանակի (ռամկայի) այն կողմերի հետ, որոնց հարում են նույն տարվա կամ նախկինում կատարված հատակագծերը նույն կամ ավելի խոշոր մասշտաբների: Շրջանակի (ռամկայի) մնացած կողմերը հաշվարկվում են ազատ, իսկ հանույթը այդ կողմերով պետք է շարունակվի 1 սմ շրջանակից դուրս:
10.7.34. Հատակագծերի համատեղման ընթացքում ուրվագծերը և հորիզոնականները տեղաշարժվում են յուրաքանչյուր տարամիտման (расxождения) կիսով չափ, եթե այդ տարամիտումները հատակագծի վրա չեն գերազանցում 1.0 մմ - հիմնական ուրվագծերի համար (երկաթուղային, ավտոմայրուղիների և գրունտային բարեկարգ ճանապարհները, փողոցները, ջրատարները և խոշոր գետերի առափնյա գծերը), և 1.5 մմ այլ ուրվագծի համար:
Տարբերություններն ըստ բարձրության, չպետք է գերազանցի մոտակա գեոդեզիական հիմքի կետերի համեմատ ռելիեֆի հանույթի թույլատրելի անկապքի մեծության կրկնակի չափը:
Տեղանքի 60-ից ավելի թեքման անկյան դեպքում, հորիզոնականների թիվը պետք է համապատասխանի բարձրությունների տարբերությանը, որոնք որոշվել են լանջերի գերածռման մասերում: Անտառապատ տարածքների հանույթագրման համար թույլատրելիությունը ավելացվում է 1.5 անգամ:
Կառուցապատ տարածքների հանույթների և 1:500, 1;1000 մասշտաբների հանույթների համար թույլատրելիությունը նվազեցվում է 1.5 անգամ:
10.7.35. Հրատարակված հատակագծերի հետ համատեղելիս, ուղղումները կատարվում են նոր կատարված հատակագծերի վրա:
Եթե այդ դեպքում տարամիտումը գերազանցում է վերը նշված թույլատրելիությունը, ապա համատեղման հարցը լուծվում է հանույթ կատարող ստորաբաժանման ղեկավարության կողմից, կամ կատարվում է կրկնակի դաշտային ստուգում:
10.7.36. Տեղագրական վերծանումները համակցված հանույթների ընթացքում կատարվում են ռելիեֆի հանույթի հետ միաժամանակ տեղանքում ստուգելով և ճշտելով վերծանումները ամբողջությամբ, որոնք կատարվել են կամերալ պայմաններում ֆոտոգրամետրիական սարքի վրա հատակագծի բնօրինակի կազմման ընթացքում:
Վերծանման աշխատանքների գործընթացում պետք է գործիքավորմամբ անցկացվեն տեղանքի այն տեղագրական օբյեկտները, որոնք պատկերված չեն ֆոտոհատակագծի (գրաֆիկական հատակագծերի) վրա, ինչպես նաև հավաքվեն և գրվեն աշխարհագրական անվանումները:
10.7.37. Եթե աերոֆոտոնկարների վրա կան օբյեկտների ֆոտոպատկերներ, որոնք տեղագրական աշխատանքների կատարման ընթացքում վերացվել են, ապա ֆոտոհատակագծի վրա (գրաֆիկական հատակագիծ) պետք է դրանք կապույտ գծերով ջնջել (խաչ քաշել):
Յուրաքանչյուր տրված տեղամասի վերծանման արդյունքները գծագրվում են ոչ ուշ, քան հաջորդ օրը դաշտային աշխատանքից հետո:
10.7.38. Ֆոտոհատակագծերը (գրաֆիկական հատակագծերը) ձևավորվում են հետևյալ գույներով.
1) ուրվագիծը, ստորագրությունները և շրջանակից (ռամկայից) դուրս ձևավորումները - սև գույնով;
2) ռելիեֆը - շագանակագույն;
3) հիդրոգրաֆիան և աղուտները - կանաչ;
4) ջրային տարածքները - կապույտ;
5) կոշտ ծածկույթով տարածքները (ասֆալտ և այլն) - վարդագույն:
10.7.39. Ֆոտոհատակագծերի (գրաֆիկական հատակագծերի) վրա տեղագրական հանույթի արդյունքում, յուրաքանչյուր պլանշետի համար ներկայացվում են հանձնման հետևյալ նյութերը.
1) հատակագիծը կամ ֆոտոհատակագիծը թվային և գրաֆիկական տեսքով,
2) հատակագծի տեղակամատյանը (ֆորմուլյարը),
3) հանույթի և հանույթային բարձունքային հիմքի զարգացման մատյանները,
4) բարձունքային պատճենը (կալկա) մոմաթղթի վրա,
5) յուրաքանչյուր շրջանակի (ռամկայի) համատեղման պատճենաքաղվածքը,
6) դաշտային աշխատանքների ստուգման և ընդունման ակտերը:
Համակցված հանույթի բոլոր նյութերը պետք է ստուգվեն, ընդունվեն և ստորագրվեն աշխատանքի ղեկավարի (արշավախմբի պետի) կողմից:
10.7.40. Յուրաքանչյուր հանույթային պլանշետ ստուգվում և ընդունվում է դաշտում: Հանույթի ստուգումները պետք է կատարվեն գործիքով:
Ստուգողական պիկետները բարձունքային պատճենի վրա նշվում են գունավոր տուշով:
Ստուգման գործընթացը և հետագա աշխատանքների ընդունումը պետք է կատարվեն համաձայն [5]-ի:
Ընդունումը ձևակերպվում է ակտով:
11. ՎԵՐԳԵՏՆՅԱ ՖՈՏՈՏԵՂԱԳՐԱԿԱՆ (ՖՈՏՈԹԵՈԴՈԼԻՏԱՅԻՆ) ՀԱՆՈՒՅԹ
11.1. Վերգետնյա ֆոտոտեղագրական (ֆոտոթեոդոլիտային) հանույթը որպես կանոն կիրառում են բարձր լեռնային և լեռնային, ռելիեֆի բարդ ձևերի բաց տեղանքներում և առանձին դեպքերում` հարթավայրային շրջաններում ինժեներական հետազոտումների ժամանակ:
Ոչ մեծ տեղամասերում այն կարող է օգտագործվել որպես ինքնուրույն հանույթային եղանակ, իսկ մեծ տարածքների քարտեզագրման ժամանակ՝ մյուս հանույթային եղանակների հետ զուգակցված:
11.2. Տեղագրական հանույթի բովանդակությունը և ճշտությունը, վերգետնյա ֆոտոտեղագրական հանույթի եղանակով ստեղծված, պետք է համապատասխանեն տեղագրական հատակագծերին ներկայացվող ընդհանուր պահանջներին:
11.3. Աշխատանքներն սկսելուց առաջ կազմվում է վերգետնյա ֆոտոտեղագրական հանույթների նախագիծը: Նախագծի կազմումը կատարվում է քարտեզի վրա հիմնական հանույթային կայանների տեղադրման, գեոդեզիական տեղակապումների եղանակների մշակման, հանույթային տարբեր կայաններից նկարահանվող տարածքի ծածկույթի բազմապատիկի որոշման, անհրաժեշտ խտությամբ ստուգիչ կետերի որոշման մեջ: Նախագիծը պետք է հաշվի առնի ֆոտոգրամմետրիկ հիմնային ցանցի խտացման եղանակը և հատակագծի բնօրինակի կազմումը, նախատեսի «մեռած տարածության» հանույթի եղանակը:
Նախագծի գրաֆիկական մասը կազմվում է հատակագծով (քարտեզով), որի մասշտաբը պետք է լինի մանր հանույթի մասշտաբից ոչ ավելի, քան 5 անգամ: Հանույթային կայանները տեղաբաշխվում են բարձրադիր տեղերում, լավ տեսանելիություն ունեցող շրջակա տարածքում այն հաշվով, որպեսզի հանույթը կատարվի մինիմալ քանակով հանույթային կայաններից և «մեռած տարածքներից»:
Հանույթային կայանները կարող են տեղաբաշխվել տարածքում գոյություն ունեցող բարձր, ամուր արհեստական շինությունների վրա (շենք, խողովակ, կայմ և այլն) կամ շարժական աշտարակների (տելեսկոպիկ և այլն) վրա:
11.4. Կախված հանույթային խցիկի տեղադասավորվածությունից հանույթագրվող օբյեկտի համեմատ, տարբերում են հինգ հիմնական հանույթային ձև (դեպք)՝ նորմալ, հավասարաշեղվածքային (շեղատված), հավասարաթեքվածային, կոնվերգենտ և ընդհանուր (կամայական):
11.5. Հանույթային կայաններից մինչև հանույթի հեռավոր սահմանի առավելագույն հեռավորությունը (Y) որոշվում է ստեղծվող տեղագրական հատակագծին ներկայացվող պահանջներով և ճշտությամբ, հանույթային խցիկի և նկարների կամերալ մշակման սարքերի տեխնիկական հնարավորություններով:
1:5000 մասշտաբի հանույթի դեպքում առավելագույն հեռավորությունը պետք է սահմանափակել՝ հաշվի առնելով վերծանման հնարավորությունները:
11.6. Հանույթի հիմնագծերը (բազիսները) հնարավորության դեպքում պետք է տեղաբաշխված լինեն նկարահանվող տեղանքի տեղամասի ռելիեֆի հորիզոնականների ընդհանուր ուղղությանը զուգահեռ: Հիմնագծերի թեքությունները չպետք է գերազանցեն 100-ից: Հիմնագծերի (բազիսների) ծայրակետերի միջև պետք է ապահովված լինի փոխադարձ տեսանելիություն:
Հիմնագծերի (բազիսների) ծայրակետերի վերազանցումները որոշվում են թեոդոլիտով ուղղաձիգ անկյան մեկ նվագով, մեկ ծայրակետի վրա:
Գեոդեզիական աշխատանքները կրճատելու նպատակով, նպատակահարմար է հանույթների հիմնագծերը (բազիսները) տեղաբաշխել խմբերով:
Հիմնագծերի (բազիսների) դասավորությունը պետք է ապահովի անհրաժեշտ վրածածկումը հարևան հիմնագծերին (բազիսներին) հարակից ստերեոզույգերին, որոնք կարող են լինել 20%-ից մինչև 50%, կախված ռելիեֆի բարդությունից: Հիմնագծի (բազիսի) երկարությունը պետք է չափվի 1/2000 հարաբերական սխալից ոչ ավելի:
Հիմնագծի (բազիսի) նվազագույն թույլատրելի երկարությունը հաշվում են հետևյալ բանաձևով՝
|
(19) |
որտեղ
tmin = cosj - | | | |
x2max ¦k |
- sinj | | | |
(20) |
որտեղ |
g - մինչև հանույթի հեռավոր սահմանի հեռավարությունն է մ-ով; mp - երկայնական պարալաքսի որոշման միջին քառակուսային սխալանքը մմ-ով, որն ընդունում են հավասար ± 0.01 մմ; fk - հանույթային խցիկի կիզակետային (ֆոկուսային) հեռավարությունն է մմ-ով; mg - հատակագծի վրա կետի դիրքի որոշման միջին քառակուսային սխալն է մմ-ով; j - խցիկի օպտիկական առանցքի շեղման անկյունն է բազիսի նորմալից` աստիճաններով; x2max - ամենամեծ արժեքն է x2 կոորդինատի ստերեոզույգի աշխատանքային մասի սահմաններում: |
Կայանում, որպես հանույթի հիմնագծի վերջնական արժեք ընդունում են հիմնագծի ամենամեծ արժեքը, հաշվարկված տվյալ կայանում նախագծվող բոլոր ստերեոզույգերի համար:
11.7. Հանույթի կատարման ընթացքում յուրաքանչյուր ստերեոզույգ պետք է ապահովվի ստուգողական կետերով, որոնք օգտագործվում են կամերալ մշակումներում նկարների արտաքին կողմնորոշման սխալները բացառելու համար:
Եթե հանույթը կատարվում է առանց վերածածկման կամ մեկ հիմնագծից (բազիսից), ապա յուրաքանչյուր ստերեոզույգ ապահովվում է չորսական կետերով: Առաջինը մոտիկ, երկրորդը՝ հեռավոր հատակագծում նկարի առանցքին մոտիկ, երրորդը և չորրորդը՝ հեռավոր հատակագծում Z առանցքի տարբեր կողմերում միմյանցից առավելագույն հեռավորության վրա:
Եթե հանույթը կատարվում է կրկնակի և ավելի վերածածկույթով, ապա յուրաքանչյուր ստերեոզույգ ապահովվում է մեկ - երկու կետերով, որոնք դասավորված են հեռավոր հատակագծում, իսկ մնացած ստերեոզույգերը ստուգիչ կետերով առհասարակ չեն ապահովվում: Այդպիսի ստերեոզույգերի կողմնորոշման համար հիմնային կետերը որոշվում են ֆոտոգրամմետրիական խտացումով:
Եթե ինժեներական հետազոտությունների ընթացքում կատարվում է հեռանկարային հանույթ, ապա յուրաքանչյուր ստերեոզույգ ապահովվում է ոչ պակաս, քան 5 կետով, որոնցից 4-ը տեղաբաշխվում են անկյուններում, իսկ հինգերորդը` ստերեոզույգի կենտրոնում:
Որպես ստուգիչ կետեր օգտագործվում են գեոդեզիական հիմնային ցանցի կետերը, հանույթային ցանցի կետերը, ինչպես նաև տեղանքի ցայտուն եզրագծերը, որոնք նկարի վրա լավ են արտահայտվում (սուր գագաթներ, ժայռերի ցցվածքներ, քարեր, առանձին կանգնած ծառեր, շենքերի անկյուններ, և հատուկ մակնշման նշաններ):
Ստուգիչ կետերը հանույթային հիմնագծի (բազիսի) ձախ և աջ ծայրամասերի համար, որպես կանոն, պետք է ընտրել ընդհանուր:
Վերգետնյա հանույթագրման մատյանում կազմվում են ստուգիչ կետերի աբրիսները:
11.8. Մինչև հանույթի կատարումը հանույթային ցանցի կետերը և ստուգիչ կետերը պետք է մակնշվեն, եթե վերջիններս չեն համատեղվել բնութագրվող եզրագծերի կամ տեղի առարկաների հետ, նկարների վրա արտահայտվում են ոչ ավելի 0.1 մմ սխալով:
Լրացուցիչ հանույթային աշխատանքների կրճատման նպատակով, խորհուրդ է տրվում մակնշել նաև անհրաժեշտ եզրագծերը, որոնք կարող են նկարի վրա չպատկերվել, բայց պետք է անցկացվեն հատակագծի վրա (օրինակ՝ ինժեներական ցանցերի և կառուցվածքների ելուստային մասերը):
Մակնշումը (մարկիրովկա) իրականացվում է հետևյալ եղանակներով.
1) տեղանքում եղած նյութերով (քարեր, թփուտներ և այլն) բուրգերի կառուցմամբ,
2) ֆաներայից և տախտակներից պատրաստված վահանակների կանգնեցում, որոնց վրա ձգվում է (փակցվում է) կտոր (մառլյա, բյազ, սատին և այլն) կամ պոլիէթիլենային ժապավեն,
3) պատկերների ներկում «խաչ» շենքերի պատերին, շինությունների վրա, ժայռային ելուստների վրա և այլն:
Մակնշվող նշանի տեղի ընտրության համար անհրաժեշտ է ապահովել, հանույթի ընթացքում, բարձր առարկաների ստվերով (շինություն, ծառեր և այլն) չփակվելու պայմանը:
Մակնշվող նշանների չափերը կախված են այդ նշանի և հանույթային կայանի միջև եղած հեռավորությունից, որոնք չպետք է փոքր լինեն հավելված 20-ում տրված մեծություններից:
Մակնշվող (մարկիրովկա) նշանների նվազագույն չափերը
Հավելված 20
Հեռավորությունը հանույթային կայանից մինչև մակնշվող |
Մակնշվող նշանի չափերը (մ) | |
բարձրությունը |
լայնությունը | |
400 |
0.3 |
0.1 |
800 |
0.5 |
0.2 |
1000 |
0.7 |
0.3 |
2500 |
1.4 |
0.5 |
3000 |
1.7 |
0.6 |
3500 |
2.0 |
0.7 |
4000 |
2.2 |
0.8 |
Մակնշումների համար նյութերի և ներկանյութերի ընտրության պարտադիր պայման է հանդիսանում մակնշվող նշանների և ֆոնի միջև առավելագույն ցայտունության պահպանումը:
Եթե բնապատկերի ֆոնը բաց է (պարզ), կամ եթե նշանը նախագծվում է օդում կամ ձյան վրա, ապա օգտագործում են մուգ գույնի նյութեր, որի համար նշանի չափերը ավելացվում է 30%-ով հավելված 20-ում տրված չափերի համեմատությամբ:
Մակնշման մատյանում պետք է անցկացվեն (գրանցվեն) կառուցված նշանի կատարման մասին տեղեկություններ, ըստ նրանց ձևի, չափսերի, գույնի, կետի դիտման բարձրության, կառուցման տարեթվերի:
11.9. Ֆոտոթեոդոլիտային հանույթների համար գեոդեզիական ցանցի կետերի խտությունը պետք է համապատասխանի 2.23. և 2.24 կետերի պահանջներին:
Գեոդեզիական չափումները, որոնց նպատակն է որոշել հանույթային ցանցի կետերի կոորդինատները և բարձրությունները, կատարվում են 8-րդ բաժնի ցուցումներին համապատասխան, իսկ կետերի ամրացումը՝ 6.23 - 6.26 կետերի ցուցումներին համաձայն:
Հանույթային ցանցի կետերը տեղադրվում են այնպես, որպեսզի ապահովեն հանույթային կայանների և ստուգիչ կետի ավելի հարմար կապը:
Հիմնագծային (բազիսային) և ստուգիչ կետերը, որոնց ամրացումը երկարաժամկետ կենտրոններով չի նախատեսված, ամրացվում են տեղանքում ժամանակավոր կենտրոններով (մետաղյա խողովակներ, ամրակներ, փայտյա ցցեր, խփված հողի մեջ կամ հատումներ քարերի վրա և այլն), այն հաշվարկով, որպեսզի դրանք պահպանվեն մինչև աշխատանքների և ստուգումների ավարտը կամ նրանց մի մասի կրկնման դեպքերի համար:
11.10. Հանույթային կայանների և ստուգիչ կետերի կապակցումը, որոնք չեն համակցվել գեոդեզիական ցանցի կետերի հետ, կատարվում է արբանյակային մեթոդներով, ուղիղ, հակադարձ և համակցված փոխհատումներով, հեռաչափաթեոդոլիտային ընթացքներով կամ եռանկյունավորման հանույթային ցանցի կառուցմամբ, կախված տեղանքի պայմաններից:
1:500 և 1:1000 մասշտաբների հանույթների ընթացքում հանույթային կայանների և ստուգիչ կետերի կապակցումը հակադարձ փոխհատումներով չի թույլատրվում:
Փոխհատումներով հանույթային կայանների կապակցման, հորիզոնական ուղղությունների չափումը կատարվում է երկու նվագով, իսկ ուղղաձիգ անկյունների չափումը՝ մեկ նվագով 30 վայրկյանից ոչ պակաս ճշտության թեոդոլիտի միջին ցանցաթելով:
Փոխհատումներով ստուգիչ կետերի կապակցման հորիզոնական ուղղությունները չափում են մեկ նվագով, իսկ ուղղաձիգ անկյունները՝ մեկ նվագով միջին ցանցաթելով:
Ֆոտոնկարահանման հիմնագծերի (բազիսների) ծայրակետերից ստուգիչ կետերի վրա հորիզոնական և ուղղաձիգ անկյունների չափման, դիտարկումներին կցվում է նաև հիմնագծի (բազիսի) հակառակ ծայրի ուղղությունը:
Հանույթային կայանների և ստուգիչ կետերի կապակցումը գեոդեզիական ցանցի կետերին թեոդոլիտային ընթացքներով և հանույթային ցանցի կառուցմամբ, պետք է կատարվի համաձայն 8-րդ բաժնի պահանջներով:
Կախված ընթացքներով հանույթային կայանների կապակցման ընթացքում, ստուգման համար ընթացքի վերջում չափվում է գեոդեզիական հիմնային կետերի վրա ոչ պակաս երկու ուղղություն:
Հիմնագծի որևէ մի ծայրակետի և գեոդեզիական ցանցի կետի համատեղման դեպքում, որոշվում է հիմնագծի (բազիսի) ուղղության դիրեկցիոն անկյունը երկու հեռու գտնվող գեոդեզիական հիմքի կետերի ուղղությամբ երկու նվագով, իսկ ուղղաձիգ անկյունները՝ մեկ նվագով միջին ցանցաթելով:
11.11. Հանույթային կայանում հանույթային աշխատանքի իրականացումը կայանում է գեոդեզիական որոշումների սխեմայով նախատեսված հիմնագծի (բազիսի) ուղղության երկարության և թեքման անկյան չափումների մեջ:
Հանույթները, հիմնագծի (բազիսի) երկու ծայրակետերից, պետք է կատարվեն ժամանակի ոչ մեծ ընդհատումով, որպիսի լուսավորվածության տարբերությունը փոքր լինի:
Նպատակահարմար է հանույթը կատարել օրվա արևոտ եղանակին կամ թեթև ամպամածության դեպքում:
Այդ դեպքում, խորհուրդ է տրվում հանույթի համար ընտրել այնպիսի ժամանակ, երբ արևը գտնվում է հետևում և ինչ-որ չափով գործիքի կողքից:
11.12. Ֆոտոլաբորատորային մշակումից հետո ստուգվում է բոլոր նեգատիվների լուսանկարահանման և ֆոտոգրամմետրիական որակը:
Լուսանկարահանման որակի ստուգումները կատարվում են ամբողջ խտությամբ, «ստվերում» (նեգատիվի ավելի շատ լուսավոր մասերը) գտնվող մասերի մշակումներով և «լուսավորությունում» (նեգատիվի խիտ, մութ մասերը), նեգատիվի ցայտունությունով և շղարշի (քողի) խտությունով:
Ֆոտոգրամետրիական աշխատանքների համար նեգատիվները համարվում են ոչ պիտանի, եթե նրա վրա հայտնաբերվում են էմուլսիայի սահում (սողում), քերծվածքներ, աշխատանքային մասում խալեր (լաքաներ) չմշակված մասերով, կոորդինատային նիշի (метка) պատկերի բացակայության կամ եթե կոորդինատների նիշերի միջև հեռավորությունը գերազանցում է 0.2 մմ-ից: Ստերեոզույգի նեգատիվներից մեկի խոտանի դեպքում այն չի ընդունվում:
11.13. Նեգատիվների վրա և ֆոտոթեոդոլիտային նկարների տպահետքերի, կամ ֆոտոհամայնապատկերների վրա պետք է ճանաչվեն բոլոր ստուգիչ կետերը և հանույթային ցանցի կետերը: Ճանաչումը կատարվում է ստերեոսկոպի միջոցով, օգտվելով դաշտային նկարագրություններից և ուրվանկարներից:
11.14. Դաշտային վերծանումները կատարվում են նախատեսված երթուղիներով շրջադարձման կամ հանույթային կայաններից տեղանքը դիտելիս:
Դաշտային տեղագրական վերծանումները նկարների վրա (ֆոտոհամայնապատկերի) կատարելիս, ճանաչվում է տեղանքի բոլոր մասերը և առարկաները, որոնք չեն կարող ճանաչվել նկարների կամերալ մշակումների ընթացքում, միևնույն ժամանակ հավաքվում են վերծանվող օբյեկտների մասին որակական և քանակական բնութագրերը:
11.15. Բոլոր դաշտային աշխատանքների ավարտից հետո հանձնման են ներկայացվում հետևյալ նյութերը.
1) քարտեզը (կամ սխեման) նախագծված և փաստացի կատարված ֆոտոթեոդոլիտային հանույթով,
2) նեգատիվները և կոնտակտային նկարները (ֆոտոհամայնապատկերի) նշված նրանց վրա գեոդեզիական կետերը, կազմված յուրաքանչյուր կայանի համար և տեղադրված արկղի մեջ,
3) գեոդեզիական չափումների, հանույթի, մակնշման և աբրիսների ուրվագծումը,
4) գեոդեզիական ցանցի կետերի, ստուգիչ և հիմնագծային կետերի աշխատանքային կոորդինատների և բարձրությունների կատալոգները,
5) դաշտային վերծանումների, հետազոտումների և հանութի («մեռած տարածք») նյութերը,
6) հանույթային խցիկների ներքին կողմնորոշիչների որոշման տվյալները,
7) նկարների որակի գնահատման ամփոփագրերը,
8) կատարված աշխատանքների բացատրագիր կամերալ աշխատանքների կատարման ցուցմունքներով,
9) աշխատանքների ստուգման և ընդունման ակտեր:
11.16. Ֆոտոթեոդոլիտային նկարների կամերալ մշակումները կատարվում են համաձայն գործող հրահանգների պահանջների:
12. ՄԵՆԶՈՒԼԱՅԻՆ ՀԱՆՈՒՅԹ
12.1. Մենզուլային հանույթը կիրառվում է ոչ մեծ տեղամասերում, եթե տախեոմետրիական և արբանյակային մեթոդներով կատարվող հանույթները տնտեսապես և կազմակերպչական առումով աննպատակահամար են հետևյալ պայմաններով.
1. աերոհանույթային նյութերի բացակայության դեպքում;
2. տնտեսական տեսակետից աերոֆոտոհանույթի կիրառումը նպատակահարմար չէ;
3. եթե մենզուլային հանույթի կիրառումը անհրաժեշտ է որպես մյուս մեթոդներով կատարվող հանույթների լրացում (ամայի տարածքների ֆոտոտեղագրական հանույթների ժամանակ և այլն):
12.2. Մենզուլային հանույթը կատարվում է գծագրական հիմքերի վրա, որոնք պատրաստվում են թափանցիկ չդեֆորմացվող պլաստիկատներից կամ բարձր որակի գծագրական թղթերից՝ սոսնձված ալյումինե կամ ավիացիոն թիթեղների վրա:
12.3. Աշխատանքներն սկսելուց առաջ պլանշետների վրա կոորդինատագրաֆի կամ տեղագրական քանոնի օգնությամբ նշահարվում է քառակուսային ցանցը 10 սմ կողմերով: 1:500, 1:1000, 1:2000 մասշտաբների համար քառակուսիները կառուցվում են 50x50 սմ չափսի շրջանակով (ռամկա), իսկ 1:5000 մասշտաբի համար՝ 40x40 սմ չափսի շրջանակով:
1:500, 1:1000, 1:2000 մասշտաբների համար հեռավորությունը շրջանակի եզրագծից մինչև պլանշետի կողմերը չպետք է լինի 5 սմ-ից քիչ, իսկ 1:5000 մասշտաբի համար՝ 10 սմ-ից քիչ:
Նախապատրաստվող պլանշետի վրա անցկացվում է գեոդեզիական հիմքի կետերն իրենց կոորդինատներով, շրջանակի անկյուններում գրվում է կոորդինատները, իսկ պլանշետի հյուսիսային վերին մասում՝ համարը (նոմենկլատուրան):
Կոորդինատային ցանցը և նշված հիմքի կետերը ստուգվում է ստուգիչ քանոնի օգնությամբ: Անցկացված և թեորիապես նախատեսված գծերի երկարությունների տարբերությունը չպետք է գերազանցի 0.2 մմ-ից, իսկ երեք և ավելի քառակուսիների տարբերությունը 0.3 մմ-ից, իսկ շրջանակի անկյունագծերի տարբերությունը 0.5 մմ-ից:
12.4. Այն դեպքերում, երբ անհրաժեշտ է մենզուլան կողմնորոշել կարճ կողմ ունեցող կետերով (հատակագծի վրա 5 սմ-ից կարճ), կամ հարակից կետերով, որոնք ընկած են երկու պլանշետի վրա, հետագայում աշխատանքի հեշտացման համար պլանշետի վրա նշում են օժանդակ կողմնորոշիչ գծեր: Կողմնորոշիչ գծերի անցկացման համար հաշվում են կետերի կոորդինատները ցանցի եզրագծի հատման կետում կամ կետի կոորդինատները, որն ընկած է կողմնորոշիչ գծի շարունակության վրա:
12.5. Իրավիճակի (սիտուացիայի) և ռելիեֆի հանույթը կատարում են մենզուլայի և KH տիպի կամ նրան փոխարինող ուրիշ տիպերի կիպրեգելների օգնությամբ: Աշխատանքի արտադրողականության բարձրացման նպատակով պետք է առավելություն տրվի նոմոգրամայով կիպրիգելներին:
Աշխատանքներն սկսելուց առաջ բոլոր գործիքները պեք է մանրակրկիտ ստուգվեն և ճշտադրվեն (յուստիրովկա):
Լեռնային և բլրաշատ տեղանքներում հանույթներ կատարելիս նշաձողերի (ռեյկաների) պատրաստման ժամանակ բաժանմունքների նշահարումը կատարվում է այնպես, որ հեռաչափի գործակիցը հավասարվի 100-ի: Հարթավայրային և մանր կտրտված ռելիեֆի հանույթի ժամանակ օգտագործվում է նիվելիրացման նշաձողերը կամ նշաձողեր, որոնք ունեն երկու սանտիմետրանոց բաժանմունքներով նշահարում: Հիմնական ընթացքների զարգացման ժամանակ աշխատանքների ստուգման համար պետք է օգտագործել նշաձողեր, որոնք ունեն 11/10 մմ բաժանմունքներ:
12.6. Հանույթի կատարման ժամանակ մենզուլան կենտրոնացնում են հիմնակետերի վրա կենտրոնացնող արտակենտրոնի միջոցով: Հորիզոնական վիճակի բերված մենզուլայի կենտրոնացման սխալը տվյալ կետի նկատմամբ չպետք է գերազանցի՝
- 5սմ - 1:500 և 1:1000 մասշտաբների համար;
-10 սմ - 1:2000 մասշտաբի համար;
- 25 սմ - 1:5000 մասշտաբի համար:
Մենզուլայի կողմնորոշումը պետք է կատարվի ոչ պակաս, քան երկու հեռավոր կետերով: Տվյալ կայանում կողմնորոշումը ստուգվում է աշխատանքի ընթացքում և նրա ավարտից հետո:
12.7. Մենզուլային հանույթի համար մենզուլային հանույթային ցանցը զարգացնում են պետական գեոդեզիական ցանցի հիման վրա (տես կետ 2.20.1) և գեոդեզիական խտացման ցանցի հիման վրա (տես կետ 2.20.2):
Հանույթային ցանցի խտացումը կատարվում է երկրաչափական ցանցի կառուցման ճանապարհով, մենզուլային կամ թեոդոլիտային ընթացքների տեսքով:
Մենզուլային հանույթի ժամանակ երկրաչափական եռանկյունների ցանցը, որն ստացվում է գրաֆիկ եղանակով, կարող է թույլատրվել որպես հանույթային խտացման ցանց 1:5000 մասշտաբի հանույթներում այն տարածքներում, որտեղ առկա է խիտ ելակետային ցանցը և որը կոորդինատներով նշված է պլանշետի վրա:
Մենզուլային անցողիկ կետերը թույլատրվում է որոշել ուղիղ, հակադարձ և համակցված հատումներով, ինչպես նաև երկու գեոդեզիական հիմնակետերի գծահամատեղված ուղղության վրա չափելով ժապավենով:
Կառուցապատված տարածքներում մենզուլային ընթացքների կետերը պետք է կոորդինատավորվեն:
Պլանային հանույթային ցանցի կետերի քանակը պետք է ապահովի հանույթ կատարելու (մենզուլայի կողմնորոշման) համար և ընթացքների երկարությունները պետք է լինեն ոչ ավելի, քան տրված է հավելված 21-ում:
Մենզուլային ընթացքների պարամետրերը
Հավելված 21
Հանույթի |
Ընթացքի |
Կողմի առավելագույն |
Կողմերի |
1:500 |
200 |
100 |
2 |
12.8. Հանույթային հիմքի բարձունքային ցանցի կետերը համատեղում են պլանային ցանցի կետերին:
12.9. Հատումների եղանակով անցումային կետերի որոշման ընթացքում, դիտման ճառագայթի երկարությունը չպետք է գերազանցի մենզուլային ընթացքի գծի երկարության կրկնակի չափից:
12.10. Նոմոգրամային կիպրիգելների օգտագործման ժամանակ, եթե առանձին հատվածների հանույթը անհնար է կատարել հանույթային ցանցի կետերից, թույլատրվում է որոշել ոչ ավելի երկու անցումային կախված կետեր:
12.11. Մենզուլային ընթացքի կետերի միջև հեռավորությունը չափվում է ցանցաթելերի օգնությամբ ուղիղ և հակադարձ ուղղություններով, որտեղ ուղիղ և հակադարձ չափումների արդյունքների տարբերությունը չպետք է գերազանցի 1:200 կողմի երկարության չափին: Թեքման 30-ից բարձ մասերում որոշում են հորիզոնական գիծը:
1: 500 մասշտաբի հանույթի ժամանակ մենզուլային ընթացքի կողմերի երկարությունը չափվում է ժապավենով:
12.12. Մենզուլային ընթացքում հարաբերական անկապքը չպետք է գերազանցի ամբողջ ընթացքի երկարության 1 _ ը, իսկ գծային անկապքը՝ պլանի վրա ոչ ավելի 0.8 մմ-ից: 300 |
Թույլատրելի գծային անկապքը պլանի վրա բաշխվում է զուգահեռ գծերի եղանակով:
12.13. Մենզուլային ընթացքների կետերի և հանույթային պիկետների բարձրությունները հանույթի ռելիեֆի 0.25, 0.5 և 1 մ անկման դեպքում որոշում են երկրաչափական նիվելիրացումով, իսկ ռելիեֆի 2 և 5 մ անկման դեպքում թույլատրվում է որոշել եռանկյունաչափական նիվելիրացումով:
12.14. Մենզուլային ընթացքի կետերի բարձրությունները եռանկյունաչափական նիվելիրացումով որոշվում են կիպրիգելով կամ թեոդոլիտով երկու շրջանով, իսկ նամոգրամային կիպրիգելով աշխատելու դեպքում՝ երկու անգամ դիտման տարբեր բարձրություններով ձախ կիսաշրջանով:
Թեքման անկյան մինչև 50-ի դեպքում կետերի բարձրությունը կարելի է որոշել մեկընդմեջ: Այդ դեպքում յուրաքանչյուր բարձրություն որոշվում է երկու անգամ դիտման տարբեր բարձրություններով:
Տեղանքի 50-ից բարձր թեքման անկյունների դեպքում անկյունները չափվում են ուղիղ և հակադարձ ուղղություններով:
Ուղիղ և հակադարձ չափումների տարբերությունը չպետք է գերազանցի 10 սմ-ից 250 մ գծի երկարության դեպքում և 4 սմ-ից՝ 100 մ գծի երկարության դեպքում:
Մենզուլային ընթացքում բարձրության անկապքը չպետք է գերազանցի այն թույլատրելի չափերը, որոնք տրված են հավելված 22-ում:
Թույլատրելի բարձունքային անկապքը մենզուլային ընթացքներում
Հավելված 22
Ռելիեֆի անկմանը, մ |
Թույլատրելի բարձունքային անկապքը, մ |
0.25 |
0.08 |
Մենզուլային ընթացքում բարձունքային անկապքը բաշխվում է հակառակ նշանով յուրաքանչյուր վերազանցմանը ըստ գծի երկարության համամասնության:
12.15. Մենզուլային ընթացքի կետերը կարող են օգտագործվել միայն այն դեպքում, երբ նրանք ապահովված են պլանային և բարձունքային փոխկապակցվածությամբ:
12.16. Պիկետների միջև և գործիքից մինչև նշաձողը եղած հեռավորությունը չպետք է գերազանցի 19 հավելվածում բերված մեծությունները:
12.17. Տեղանքի օբյեկտների և հողատեսքերի եզրագծերի հանույթագրումը հիմնականում կատարվում է բևեռային եղանակով, հեռավորությունը գործիքից մինչև պիկետները վերցվում է կիպրիգելի հեռաչափող ցանցաթելերով, դիտելով այդ դեպքում կիպրեգելի շրջանը այն վիճակով, որով այն կողմնորոշել է մենզուլան:
Իրավիճակի հանույթագրման առանձին կետերի համար, թույլատրվում է հատումների եղանակը ոչ պակաս երեք հանույթային կետից: Հատման ճառագայթները պետք է հատվեն 600-ից ոչ պակաս անկյուններով:
12.18. Անորոշ ուրվագծեր ունեցող հողատեսքերը, ուրվագծվում և անց են կացվում պլանշետի վրա այն ճշտությամբ, որով հնարավոր է տեղանքում որոշել ուրվագծի սահմանը:
12.19. Ռելիեֆը պատկերվում է հորիզոնականներով: Ռելիեֆի հիմնական անկումները, որոնք օգտագործվում են տարբեր մասշտաբների տեղագրական հանույթներում տրված է N 2 հավելվածում:
Հորիզոնականները պարտադիր կերպով անցկացվում են դաշտային պայմաններում, վերցված պիկետների հիման վրա:
12.20. Պիկետային կետերի նիշերը տեղանքի մինչև 30 թեքման անկյան դեպքում պետք է որոշվի կիպրիգելի հորիզոնական ճառագայթի միջոցով կամ նիվելիրով, որը հարմարեցվում է մենզուլայի հարևանությամբ: Այս դեպքում նշաձողերը պետք է ունենան սանտիմետրային բաժանմունքներ:
Տեղանքի 30-ից բարձր թեքություններում պիկետային կետերի նիշերը որոշվում է կիպրիգելի թեք ճառագայթով մեկ շրջանի դիրքով: Այդ դեպքում կիպրիգելի ուղղաձիգ շրջանի զրոյի տեղը պետք է որոշվի օրը երկու անգամից ոչ պակաս:
Հեռավորությունը մինչև պիկետերը չափվում է կիպրիգելի հեռաչափային ցանցաթելերով:
12.21. Ռելիեֆի 1 մ և ավելի անկումների դեպքում պիկետների նիշերը հաշվում են 0.01մ ճշտությամբ և գրում հատակագծի վրա կլորացնելով մինչև 0.1 մ, իսկ 1 մ -ից պակաս անկումների դեպքում նիշերի բարձրությունները հաշվում և անցկացնում են հատակագծի վրա մինչև 0.01 մ ճշտությամբ:
Ռելիեֆի բնորոշ կետերի նիշերի հաշվարկների համար վարվում է մատյան: Նոմոգրամային կիպրիգելներով աշխատելիս նիշերի բարձրությունները մատյաններում կարելի է չգրել:
12.22. Հատակագծի վրա անհրաժեշտ է որոշել և գրել ռելիեֆի բնորոշ ձևերի բարձրությունները՝ գագաթների, ջրբաժանների, լանջերի գերածռումների և թամբարդների, հեղեղատահուների (տալվեգների), գագաթների ճյուղավորումների և լեռնահովիտների ելանցքների, գոգահովիտների խորությունների, փոսերի և ձագարների, ինչպես նաև դրանց եզրերը, գետերի, գետակների և ջրավազանների ջրագծի մակարդակի վրա, բարձունքների ստորոտների և այլն:
Կախված տեղանքի թեքման անկյունից ջրագիծը որոշում են հորիզոնական կամ թեքման ճառագայթով երկու անգամ, գրանցում մատյանում և հատակագծի վրա, նշելով որոշման օրը, ամիսը, տարեթիվը: Ջրագիծը որոշում են հատակագծի յուրաքանչյուր 10-12 սմ-ի վրա:
12.23. Ռելիեֆի հանույթի համար, բացի պիկետային կետերի բարձրություններից, պետք է որոշել և գրել հատակագծի վրա բարձրությունները՝ ամբարտակների, կամուրջների, ստորին և վերին լիրաթումբերի (նասիպ), ջրարգելակների, բարեկարգված և բարելավված ճանապարհների առանցքների հատումների, ջրհորների և այլ բնորոշ կետերի:
12.24. Հանույթային պլանշետներից դաշտային պայմաններում մոմաթղթի վրա կազմվում է բարձունքային և ուրվագծային պատճեններ (կալկա): Տեղանքի քիչ եզրագծերի և ոչ բարդ ռելիեֆի պայմաններում թույլատրվում է երկու պատճենները համատեղել: Պատճենը կազմվում է հանույթային աշխատանքներին զուգընթաց ամեն օր: Հանույթից մոմաթղթի վրա պատճենի կազմման ընդհատումը թույլատրվում է մինչև երեք օր: Ուրվագծային պատճենի վրա անցկացվում է տեղանքի ամբողջ իրավիճակը (սիտուացիան) և առանձին առարկաները, հողատեսքերի պայմանական նշանների փոխարեն թույլատրվում է գրել նրանց անվանումները:
Բարձունքային պատճենի վրա անհրաժեշտ է անցկացնել բոլոր պիկետները և հիմքի կետերը, գրելով նրանց համարներն ու բարձրությունները:
12.25. Դաշտային բոլոր բնօրինակները կազմվում են համաձայն 19.7-19.10 կետերի պահանջների:
12.26. Եթե տեղագրական հատակագծերը իրենց նշանակությամբ կատարված են ոռոգման նպատակների, էներգետիկայի, արտադրական և այլ կառուցվածքների և օբյեկտների շինարարության համար, որոնց տարածքներում կատարվելու է ռելիեֆի և ուրվագծերի իրավիճակի նշանակալից փոփոխություններ և եթե այդ պլանները նախատեսված չեն այլ կազմակերպությունների կողմից օգտագործման համար, թույլատրվում է դաշտային բնօրինակները կատարել մատիտով:
12.27. Յուրաքանչյուր պլանշետ կատարողից պետք է ընդունվի դաշտում: Ընդունման արդյունքները նշվում ընդունման ակտում: Ստուգման ժամանակ վերցված պիկետները կարմիր տուշով անցկացվում է բարձունքային պատճենի վրա:
12.28. 1:5000 և 1:2000 մասշտաբի հատակագծերում ռելիեֆի ընթեռնելիության համար 1դմ2 վրա գրվում է 10 բարձունքային նիշ (եթե տեխնիկական նախագծում չկա այլ պահանջներ), իսկ 1:1000 և 1:500 մասշտաբների համար գրվում են բոլոր նիշերը:
12.29. Մենզուլային հանույթների ավարտից հետո ներկայացվում են հետևյալ նյութերը.
1) հատակագծի սկզբնական բնօրինակը,
2) տեղեկաքարտը (ֆորմուլյար), կցված բնօրինակի հակառակ կողմում (հավելված 2),
3) տեղագրական հանույթի մատյանը և հանույթային ցանցի զարգացման մատյանը,
4) հանույթային ցանցի պլանային և բարձունքային հաշվարկների ամփոփագրերը,
6) ուրվագծային և բարձունքային պատճենները,
7) դաշտային աշխատանքների վերահսկման և ստուգման ակտերը:
Բոլոր փաստաթղթերը առանձնացվում են ըստ պլանշետների, համակարգվում և ներկայացվում են հանձնման, ինչպես կարգն է թղթապանակով:
Երկրաչափական ցանցի, մենզուլային ընթացքների և անցումային կետերի բարձրությունների որոշման բոլոր չափումների և հաշվարկների արդյունքները պետք է լինեն գրանցված մենզուլային հանույթի մատյանում:
13. ՏԱԽԵՈՄԵՏՐԻԱԿԱՆ ՀԱՆՈՒՅԹ
13.1. Տախեոմետրիական հանույթները, որպես հիմնական հանույթի տեսակ կիրառում են ոչ մեծ տարածքների հատակագծերի ստեղծման համար, կամ զուգակցում մյուս տեսակներին հետևյալ դեպքերում.
1) Եթե ստերեոտեղագրական կամ արբանյակային եղանակներով կատարվելիք հանույթը տնտեսապես նպատակահարմար չէ կամ տեխնիկապես հնարավոր չէ:
2) Եթե կառուցապատված տարածքում կատարվում է միայն ռելիեֆի հանույթ:
3) Եթե կատարվում է նեղ շերտերով հանույթ (էլ.բարձր լարման գծերի, խողովակաշարերի ուղեգծերի և այլն):
13.2. Տախեոմետրիական հանույթները իրականացվում է էլեկտրոնային տախեոմետրերով կամ բացառության կարգով թեոդոլիտներով:
Տախեոմետրիական հանույթի կատարման համար բավարար ճշտություն են ապահովում անկյունաչափական 30 վայրկյանանոց գործիքները, որոնք հեռավորությունը չափում են ցանցաթելային հեռաչափով: Ստորև սույն բաժնում բերված են նշված գործիքներով ավանդական եղանակով տախեոմետրիական հանույթներին ներկայացվող տեխնիկական պահանջները: Սակայն նորագույն էլեկտրոնային տախեոմետրերի կիրառումը, որը տալիս է հնարավորություն անկյունների և գծերի չափման ավելի մեծ ճշտություն, պարզեցնում է հանույթային աշխատանքներ կատարելու տեխնոլոգիան, թույլ է տալիս բարձրացնելու աշխատանքի արդյունավետությունը, որի պատճառով էլ ավանդական տեխնոլոգիայի փոխարեն երաշխավորված է օգտագործել այդ տեխնոլոգիան: Այդ դեպքում տախեոմետրիական հանույթներ կատարելիս անհրաժեշտ է տեխնիկական պահանջները որոշել` ելնելով այդ գործիքների ճշտության ցուցանիշներից:
13.3. Տախեոմետրիական հանույթների ժամանակ հանույթային ցանցի կետերի խտությունը պետք է բավարարի տախեոմետրիական ընթացքների զարգացման համար, 30 վայրկյանանոց գործիքները օգտագործելիս ներկայացված է 23 հավելվածում:
Ավելի բարձր ճշտություն ապահովող գործիքներ օգտագործելու դեպքում N 23 հավելվածում ներկայացված ցուցանիշների առավելագույն թույլատրելի արժեքները անհրաժեշտ է որոշել 13.5 կետի պահանջներից ելնելով:
Տախեոմետրիական ընթացքներին ներկայացվող պահանջներն ավանդական տեխնոլոգիաների կիրառման դեպքում
Հավելված 23
Հանույթի մասշտաբը |
ընթացքի առավելագույն երկարությունը մ |
գծի առավելագույն երկարությունը մ |
գծերի առավելագույն քանակը ընթացքում |
1:500 |
200 |
100 |
2 |
1:1000 |
300 |
150 |
3 |
1:2000 |
600 |
200 |
5 |
1:5000 |
1200 |
300 |
6 |
13.4 Տախեոմետրիական ընթացքի կետերից (հանույթագրվող կայանից) մինչև վերցված պիկետների հեռավորությունն ավանդական տեխնոլոգիաներով կատարելու դեպքում (անկախ իրականացման տեխնոլոգիաներից) չպետք է գերազանցի 24 հավելվածում տրված մեծությունները:
Տախեոմետրիական ընթացքի կետերից մինչեվ վերցված պիկետների եվ պիկետների միջեվ եղած առավելագույն թույլատրելի հեռավորությունը
Հավելված 24
Հանույթի մասշտաբը |
Ռելիեֆի անկմանը մ |
Պիկետների միջև եղած առավելագույն հեռավորությունը մ |
Ռելիեֆի հանույթի ժամանակ գործիքից մինչև նշաձող եղած առավելագույն |
ուրվագծերի հանույթի ժամանակ գործիքից մինչև նշաձող եղած առավելագույն |
1:500 |
0.5 |
15 |
100 |
60 |
1:1000 |
0.5 |
20 |
150 |
80 |
1:2000 |
0.5 |
40 |
200 |
100 |
1:5000 |
0.5 |
60 |
250 |
150 |
Ոչ հստակ արտահայտվող կամ երկրորդական նշանակության եզրագծերի որոշման ժամանակ 24 հավելվածում բերված մեծությունները թույլատրվում է ավելացնել 1.5 անգամ:
13.5 Տախեոմետրիական ընթացքներում անկյունները չափվում են մեկ լրիվ նվագով: Երկու կիսանվագներից ստացված արժեքների տարբերությունն օպտիկական թեոդոլիտներով չափելիս չպետք է գերազանցեն 30‘’-ից, իսկ 30” ճշտությամբ թեոդոլիտներով`1’-ից: Թույլատրելի անկյունային անկապքը ¦ թույլ. տախեոմետրիական ընթացքներում, երբ անկյունները չափվում են օպտիկական թեոդոլիտներով և էլեկտրոնային տախեոմետրերով հաշվարկվում է հետևյալ բանաձևերով`
ƒ
¦թույլ =0.5’Ön, (21)
որտեղ` n-ը ընթացքի անկյունների քանակն է,
իսկ 30” ճշտությամբ թեոդոլիտներով չափման դեպքում հաշվվում է հետևյալ բանաձևով`
¦b թույլ =1’Ön (մմ), ( 22 )
Թույլատրելի գծային անկապքը ¦sթույլ հաշվվում է հետևյալ բանաձևով`
|
(23) |
որտեղ` S - ընթացքի երկարությունն է մետրերով,
n - ընթացքի կողմերի թիվը:
Բարձունքային թույլատրելի անկապքը ¦h թույլ հաշվվում է հետևյալ բանաձևով`
|
(սմ), (24) |
13.6. Տախեոմետրիական հանույթ կատարելու ժամանակ պետք է ապահովվի գործիքի լիմբի կողմնորոշման ստուգման պայմանը: Տվյալ կետում աշխատանքի ավարտից հետո պետք է ստուգվի գործիքի կողմնորոշումը, իսկ ստացված արդյունքը գրանցվի մատյանում: Հանույթի կատարման ընթացքում, երբ հանույթագրվող կետից պահպանվում է (24 հավելվածում տրված) գործիքից մինչև նշաձող առավելագույն հեռավորությունը, կողմնորոշման փոփոխությունը թույլատրվում է ոչ ավելի, քան 1.5‘:
13.7. Տախեոմետրիական հանույթների իրականացման ընթացքում սխալներից և բացթողումներից խուսափելու նպատակով անհրաժեշտ է յուրաքանչյուր կայանից վերցնել մի քանի պիկետներ, որոնք վերցված են հարևան կայանից:
13.8. Հարթ տարածքներում հանույթներ կատարելիս խորհուրդ է տրվում վերազանցումները որոշել հորիզոնական ճառագայթով: Դիտման առանցքի հորիզոնական վիճակն ապահովվում է գործիքի ուղղաձիգ շրջանի հաշվեցույցը համատեղելով զրոյի տեղին:
13.9. Կայանից մինչև պիկետները չափված հեռավորությունները, հորիզոնական և ուղղահայաց անկյունները (կամ պիկետների վերազանցումները) լրացվում են դաշտային մատյանում (կամ նրանց թվային նմանօրինակը (անալոգը)):
Յուրաքանչյուր կայանում դաշտային մատյանին զուգահեռ վարվում է աբրիս: Աբրիսը կազմվում է յուրաքանչյուր կայանի համար առանձին թերթերի վրա, պայմանական նշաններով (բացատրական գրառումներով), պահպանելով մոտավոր չափով հանույթի մասշտաբը, իսկ ուրվագծերի կողմնորոշվածությունը պետք է համընկնի գործիքի լիմբի կողմնորոշման ուղղությանը: Աբրիսներում գծապատկերվում են բոլոր պիկետները: Այդ դեպքում ցույց են տալիս ռելիեֆի կառուցվածքային գծերը (ջրաբաժանները, թեքությունների կտրտվածությունը, փոսերը և այլն) և սխեմատիկորեն ռելիեֆը հորիզոնականներով:
13.10. Պիկետները պետք է հավասարապես և առանց բաց թողումների ծածկեն հանույթագրվող տարածքը:
Այդ պահանջներն իրագործելու համար հանույթագրման ենթակա յուրաքանչյուր կայանում կատարում են տեղանքի մանրակրկիտ տեղազննում, համեմատելով տվյալ կայանից կատարված ուրվագծերը հարևան կայանից կատարվածի հետ:
13.11. Տախեոմետրիական հանույթի դաշտային աշխատանքներին անհրաժեշտ է առանց հապաղելու զուգակցել հանույթային նյութերի կամերալ մշակումները, որի դեպքում պետք է կատարվի հետևյալը՝
1. դաշտային մատյանների ստուգում և մանրամասն հանույթային ցանցի սխեմայի կազմում,
2. տախեոմետրիական (թեոդոլիտային) ընթացքների կետերի կոորդինատների և բարձրությունների հաշվում (մինչև 0.01 մ ճշտությամբ),
3. կայանից որոշված բոլոր պիկետների բարձրությունների հաշվում,
4. հանույթային հիմքի կետերի, տախիեոմետրիական (թեոդոլիտային) ընթացքների կետերի և պիկետների, սիտուացիայի և հորիզոնականների անցկացումը հատակագծի վրա:
Խորհուրդ է տրվում 2-րդ և 3-րդ հավելվածներում թվարկված աշխատանքները կատարել համակարգիչներով, իսկ պիկետների (նշակետ) տեղադրումը ավտոմատացված կոորդինատոգրաֆով:
13.12. Տախեոմետրիական հանույթներից ստացված յուրաքանչյուր պլանշետ մինչև նրա տուշով գծելը դաշտում մանրակրկիտ համեմատվում և ճշտվում է պլանշետի վրա պատկերված սիտուացիան և ռելիեֆը տեղանքի հետ:
Հանույթի ճշտությունը ստուգվում է գործիքներով:
13.13. Տախեոմետրիական հանույթի ավարտից հետո (ինչպես կարգն է թվային տեսքով) ներկայացվում է հետևյալ նյութերը.
1. պլանշետների աբրիսները,
2. տախեոմետրիական հանույթի մատյանները,
3. տախեոմետրիական հանույթի հատակագծերը,
4. հանույթային ցանցի սխեման,
5. հատակագծի (պլանշետի) տեղեկամատյանը (ֆորմուլյարը),
6. հանույթային ցանցի կետերի կոորդինատների և բարձրությունների հաշվարկման ամփոփագրերը,
7. աշխատանքների ստուգման և ընդունման ակտերը:
14. ՀԱՆՈՒՅԹԱԳՐՈՒՄ ԱՐԲԱՆՅԱԿԱՅԻՆ ՏԵԽՆՈԼՈԳԻԱՆԵՐԻ ԿԻՐԱՌՄԱՄԲ
14.1 Արբանյակային տեխնոլոգիաների կիրառմամբ հանույթագրումը տեղագրագեոդեզիական պրակտիկայում նախագծվում է այն դեպքերում, երբ այդ տեխնոլոգիայի կիրառումը տեխնիկապես նպատակահարմար է և տնտեսապես հիմնավորված: Այդ աշխատանքների կատարման տեխնիկական հնարավորությունները կիրառվում են այն վայրերում, որտեղ տեղանքում եղած բնական և արհեստական ստեղծված օբյեկտները թույլ են տալիս կատարելու արբանյակային դիտումներ: Ընդհանրապես, այդ տարածքները ռելիեֆի լայն տարրապատկերային բնույթով բավականին բաց են, հնարավոր է ոչ բարձր կառույցների առկայությունը, մեկհարկանի քաղաքացիական և արդյունաբերական կառույցներ (ավտոտնակներ, առևտրի կետեր և կոմունալ տնտեսություններ, պահեստներ և այլն), տրանսպորտային օբյեկտները (երկաթուղի, ավտոմոբիլային ճանապարհներ, խողովակաշարեր, ջրանցքներ, օդանավակայաններ), ջրատարածքներ, հանգստյան գոտիներ, պետական սահմանի հատվածներ և այլն:
Կոնկրետ օբյեկտների հանույթագրման համար արբանյակային դիտարկումների տեխնիկական հնարավորությունների հարցը որոշում են տվյալ օբյեկտի ուսումնասիրումը քարտեզով մինչև նախագծային աշխատանքների սկիզբը: Այդ աշխատանքների ընթացքում տվյալ տեղանքում ի հայտ են բերում եղած բնական և արհեստական ստեղծված օբյեկտները, որոնք խոչընդոտ կարող են հանդիսանալ ռադիոալիքների անցմանն արբանյակներից և պարզաբանում են արբանյակային դիտարկումների տեխնիկական հնարավորությունները:
14.2 Արբանյակային որոշումների եղանակը սկզբունքորեն բավարարում է կատարելու հանույթային աշխատանքներ իրենց հեռավորությամբ և ճշտությամբ անմիջապես պետական գեոդեզիական ցանցերի վրա, որոնք ունեն 2.24 կետում նշված խտություն: Այդ իսկ պատճառով այդ եղանակով հանույթային աշխատանքներ կատարելիս բացառվում է գեոդեզիական խտացման ցանցերի, հանույթային ցանցերի ստեղծման, խտացման և օգտագործման անհրաժեշտությունը, բացառությամբ այն դեպքերի, երբ հանույթի ժամանակ բազային ընդունիչի տեղակայումը պետական գեոդեզիական և նիվելիրային ցանցի կետերի վրա կազմակերպչական բնույթով աննպատակահարմար է:
14.3 Գեոդեզիական հիմքը, որն օգտագործվում է որպես հենակետ իրավիճակի և ռելիեֆի հանույթագրման համար, պետք է բավարարի ռադիոալիքների անցման պահանջները` առանց խոչընդոտների և արգելքների (տես հավելված N 3):
14.4 Որպես ելակետ կապակցման համար ( այսինքն ստանալ անհրաժեշտ տվյալներ գեոդեզիական հիմքի կետերի կոորդինատային և բարձունքային համակարգում հանույթագրման արդյունքները) անհրաժեշտ է օգտագործել այն բոլոր կետերը, որոնք գտնվում են օբյեկտի սահմանում և սահմաններից դուրս սահմանին մոտիկ, բայց ոչ պակաս 4 կետ հայտնի կոորդինատներով և ոչ պակաս 5 կետ հայտնի բարձրություններով:
14.5 Կապակցման աշխատանքների կատարման համար արբանյակային որոշումների եղանակի ընտրության և կապակցման եղանակի ընտրման աշխատանքային ծրագրի կազմման համար անհրաժեշտ է իրագործել և ղեկավարվել 8.2.4-8.2.8 կետերի պահանջներով, նկատի ունենալով, որ այդ կետերում այն բոլորը, ինչ վերաբերում է հանույթային ցանցին, հավասար չափով ճիշտ է կապակցման համար:
Այն դեպքերում, երբ հանույթագրման ժամանակ բազային ընդունիչի տեղակայումը պետական գեոդեզիական ցանցի կետերի վրա կազմակերպչական առումով աննպատակահարմար է, կապակցման համար ստեղծում են հանույթային ցանց բազային ընդունիչի տեղակայման համար, ղեկավարվելով 8.2 ենթաբաժնի ցուցումներով:
14.6 Իրավիճակի և ռելիեֆի հանույթագրման համար խորհուրդ է տրվում օգտագործել «Կանգնիր-գնա (Ստոյ-իդի)» եղանակը, որը հանդիսանում է արբանյակային որոշումների կինեմատիկ եղանակի տարատեսակներից մեկը (տես հավելված 14):
14.7 Հանույթների կատարման ընթացքում, որպես բազային ընդունիչի տեղակայման կայան, անհրաժեշտ է օգտագործել ցանկացած գեոդեզիական հիմքի կետ, որը ընդգրկված է կապակցման համար (կամ հանույթային ցանցի կետ) այն հաշվարկով, որպեսզի հեռավորությունը նրանից մինչև հանույթային պիկետները, որոնց վրա հանույթային աշխատանքների կատարման ընթացքում տեղակայում են շարժական ընդունիչը` լինեն մինիմալ:
Այդ դեպքում անհրաժեշտ է օբյեկտը բաժանել մասերի, յուրաքանչյուր մաս կցելով որոշված գեոդեզիական հիմքի կետերի վրա (հանույթային հիմքի), պահպանելով վերը նշված պահանջները: Բաժանման ընթացքում անհրաժեշտ է պահպանել մասերի վերածածկը պահպանելով 24 հավելվածում տրված պիկետների միջև առավելագույն հեռավորությունը, ձգտելով մոտ մնալ տեղանքի երևացող եզրագծերին:
14.8 Արբանյակային դիտարկումների արդյունքների հաշվարկային մշակումների համար օգտագործում են Այ-Բի-Էմ (IBM) - համատեղ ԷՀՄ-ի (ЭВМ) հետ և հատուկ ծրագրային փաթեթներ, որոնք մտնում են արբանյակային սարքավորումների կոմպլեկտի մեջ:
Աշխատանքներն այդ փաթեթների հետ տարվում է համաձայն իրենց օգտագործման պահանջների, որը շարադրված է դրանց կցված շահագործման փաստաթղթերին:
14.9 Հանույթային աշխատանքների ավարտից հետո ներկայացվում են հետևյալ նյութերը.
1. աբրիսները,
2. դաշտային մատյանները,
3. կատարված հանույթի հատակագիծը,
4. գեոդեզիական հիմքին կապակցման սխեման (հանույթային հիմքի ցանցը),
5. տեղագրական հատակագծի (պլանշետների) տեղեկամատյանը (ֆորմուլյարը),
6. ստուգման և ընդունման ակտերը:
15. ԿԱՌՈՒՑԱՊԱՏՎԱԾ ՏԱՐԱԾՔՆԵՐԻ ՀԱՆՈՒՅԹՆԵՐԻ ԱՌԱՆՁՆԱՀԱՏԿՈՒԹՅՈՒՆՆԵՐԸ
15.1. Կառուցապատված տարածքների ուրվագծային մասի հանույթները պետք է կատարել աերոֆոտոտեղագրական եղանակով, բարձր ճշտությամբ ֆոտոհատակագծերի վրա: Ֆոտոհատակագծերը պետք է պատրաստվեն ըստ երկարաֆոկուս աերոֆոտոապարատներով ստացված աերոֆոտոնկարների (200, 350, 500 մմ ֆոկուսային հեռավորությամբ): Այդ դեպքում անհրաժեշտ է ղեկավարվել հետևյալով.
15.1.1 Կառուցապատված տարածքների վերծանման ժամանակ ֆոտոհատակագծերի վրա պետք է հաշվի առնվի հեռանկարի, ստվերի ուղղության և խտության շեղումները տարբեր կոնստրուկցիաների տանիքների պատկերների առանձնահատկությունները և այլն: Ֆոտոհատակագծի վրա հեռանկարի շեղման ուղղությունը ճիշտ որոշելու համար, նրանց պատրաստման ժամանակ պետք է նշվի (3 մմ շրջանակ) նկարի գլխավոր կետը:
15.1.2 Հատուկ ուշադրություն պետք է դարձվի ֆոտոհատակագծերի որակի վրա: Ստեղծվող ֆոտոհատակագծերի և բնակավայրերի կառուցապատված մասերի հատակագծի ճշտությունը պետք է բավարարի հետևյալ պահանջներին.
1. սահմանային սխալանքը ցայտուն ուրվապատկերներով արտահայտված եզրագծերի դիրքը հանույթային ցանցի կետերի նկատմամբ չպետք է գերազանցի 0.5 մմ-ից;
2. մոտակա ուրվագծերի փոխադարձ դիրքերի սահմանային սխալանքը - ոչ ավելի 0.4 մմ-ից;
3. ֆոտոհատակագծի անկմաններում և շրջանակի կողմերում եզրագծերի անհամընկնումը - 0.4 մմ-ից ոչ ավելի, համատարած կապիտալ կառուցապատված տարածքների դեպքում, 0.6 մմ-ից ոչ ավելի քաղաքի մնացած տարածքներում (ռեդուկցիայի 1.5 և ավելի գործակցի դեպքում) և 1.0 մմ-ից ոչ ավելի լեռներում;
4. հիմքի անցքերի կենտրոնների շեղումը կառուցապատված տարածքի կետերից չպետք է լինի 0.4 մմ -ից ավելի, ոչ կառուցապատված տարածքներում - 0.5 մմ-ից (լեռներում - 0.7 մմ-ից):
Կամերալ պայմաններում ֆոտոհատակագծերի ճշտությունը ստուգելու համար, բացի գեոդեզիական հիմքի ստուգիչ կետերի կոորդինատներից և ֆոտոգրամետրիական խտացումներից ստացված ստուգիչ կետերի կոորդինատներից, պետք է օգտագործել կետերի և եզրագծերի միջև եղած չափերը, աբրիսի վրա գեոդեզիական ցանցի կետերի տեղը, նախկինում կատարված տեղագրագեոդեզիական աշխատանքների նյութերը, ստուգել ուղղագիծ եզրագծերով ուղղագծային ուղղությունների պահպանվածությունը (փողոցներ, տրամվայի գծեր, կապի գծեր և այլն):
Քաղաքների և բնակավայրերի ֆոտոհատակագծերի ճշտությունը ստուգվում է դաշտային պայմաններում չափելով կարևոր եզրագծերի միջև եղած հեռավորությունը, ինչպես նաև գեոդեզիական կետերի և եզրագծերի միջև:
Այն դեպքերում, երբ ֆոտոհատակագծի պատրաստման ժամանակ պահանջվող ճշտություն չեն կարողանում ապահովել (նշանակալից քանակի գոտիների ձևափոխություն (տրանսֆորմացիոն), պրոյեկտման (ռեդուկցիայի) մեծ գործակիցներ և այլն), քաղաքների տեղագրական հատակագծերը կազմում են ունիվերսալ ստերեոֆոտոգրամմետրիական սարքավորումներով գրաֆիկական հատակագծերի տեսքով:
15.1.3 Քաղաքների և բնակավայրերի համար կազմված ֆոտոհատակագծերի ձևավորման ժամանակ անհրաժեշտ է կատարել հետևյալը:
15.1.3.1 Ֆոտոհատակագծի արտաքին բաց մասերում տեղավորել գրառում «Ուրվագծերի վերծանման (դեշիֆրովկա) ժամանակ նկատի ունենալով, որ նրանք տեղաշարժված են ֆոտոնկարահանման կենտրոնական պրոյեկցիայից և հետևել ստվերների դիրքին: Նկարի կենտրոնական (գլխավոր) կետը նշված է շրջանակով»:
15.1.3.2 Քաղաքների տարածքների ֆոտոհատակագծերի վրա արտացոլել որակական բնութագիրը, բերելով հանույթի ֆորմուլյարների «լրացուցիչ տեղեկություններ» բաժնում հետևյալ տվյալները.
1. նկարների ձևափոխման գոտիների քանակը;
2. ձևափոխվող (տրանսֆորմացվող) գոտիների բարձրությունը (մետրերով);
3. գեոդեզիական հիմքի ստուգիչ կետերով և ֆոտոգրամմետրիկ ստուգիչ կետերով ֆոտոհատակագծի ճշտության ստուգումների մասին արձանագրություններ;
4. աբրիսներում ցույց տրված կարևոր ցայտուն եզրագծերի և գեոդեզիական կետերի ստուգողական չափումների և նախկինում կատարված հանույթային նյութերի ստուգումների մասին նշումներ:
15.2 Աերոֆոտոհանույթային նյութերի բացակայության կամ տնտեսապես աննպատակահարմարության և աերոֆոտոտեղագրական եղանակով տեղագրական հանույթների կատարման երկարաժամկետության պատճառով, թույլատրվում է կառուցապատված տարածքների հանույթագրումը կատարել վերգետնյա եղանակով:
Կառուցապատված տարածքների հորիզոնական հանույթը տարբերվում է մյուս եղանակներից, քանի որ այդ դեպքում առաջ է գալիս անհրաժեշտություն տեղանքում անալիտիկ եղանակով որոշել մեծ թվով կետեր և նույն տարածքներում կատարվում է ռելիեֆի հանույթ (բարձունքային կամ ուղղաձիգ հանույթ):
Հորիզոնական հանույթը ( տեղանքի ուրվագծերի և առարկաների հանույթ) իր մեջ ընդգրկում է փողոցների ճակատային և անցումային մասերի հանույթագրումը և ներթաղամասային հատվածների հանույթագրումը:
Կախված կառուցապատ տարածքի և աշխատանքների կազմակերպման բնութից, այն կարող է կատարվել առանձին կամ համատեղ ռելիեֆի հանույթի (ուղղաձիգ հանույթ) հետ միասին:
Վերգետնյա եղանակով կառուցապատված տարածքների հանույթներն ունեն հետևյալ առանձնահատկությունները:
15.2.1 Կառուցապատ տարածքների 1:5000 մասշտաբի և նոսր կառուցապատ տարածքների 1:2000 և 1:1000 մասշտաբների հորիզոնական հանույթները, ինչպես կանոն, կատարվում է տախեոմետրիական եղանակով:
1:500, 1:1000, 1:2000 մասշտաբների հորիզոնական հանույթները կատարում են ուղղահայաց, առանցքային, հատումների, բևեռային, ռեդուկցիոն-բևեռային և գրաֆիկաանալիտիկ եղանակներով, այսինքն տախեոմետրերի օգնությամբ (կամ որպես բացառություն մենզուլայով և կիպրեգելով) համատեղելով շինությունների չափագրումը:
15.2.2 Պլանային տեսակետից կառուցապատված տարածքների հանույթների համար, որպես գեոդեզիական հիմք ծառայում են գեոդեզիական խտացման 1 և 2 կարգերի կետերը և հանույթային ցանցի կետերը, իսկ բարձունքային տեսակետից՝ պետական գեոդեզիական ցանցի հենանիշերը և դրոշմանիշերը (տես կետ 2.20.1) և բոլոր այն կետերը, որոնց բարձրությունները որոշված են տեխնիկական նիվելիրացման ճշտությամբ:
Ռելիեֆի հանույթի 2 մ և 5 մ անկումների դեպքում, որպես բարձունքային հիմք կարող են օգտագործվել նաև այն կետերը, որոնց բարձրությունները որոշված են եռանկյունաչափական նիվելիրացումով:
15.2.3 Նախքան կառուցապատ տարածքների հանույթագրման աշխատանքների սկսելը, գոյություն ունեցող ավելի մանր մասշտաբի տեղագրական հատակագծի վրա կազմվում է հանույթային ցանցի ստեղծման տեխնիկական նախագիծ, հաշվի առնելով կառուցապատված տարածքի խտությունը և բնույթը:
Կառուցապատ տարածքների հանույթագրման համար հանույթային ցանցի կետերի քանակը 1 քառ.կմ-ի վրա պետք է լինի ոչ պակաս, քան տրված են N 25 հավելվածում:
Հանույթային ցանցի կետերի նվազագույն քանակը 1 կմ2 վրա
Հավելված 25
Հանույթի մասշտաբը |
Հանույթային ցանցի կետերի նվազագույն քանակը 1 կմ2 վրա |
1:2000 |
8 |
15.2.4 Կառուցապատված տարածքների հանույթը կատարվում է գեոդեզիական ցանցի, հանույթային ցանցի և տախեոմետրիական (թեոդոլիտային ) ընթացքների կետերից:
Կախված հանույթի պայմաններից և փողոցի լայնությունից, փողոցների ուղղությամբ անցկացվում է մեկ կամ երկու հանույթային ընթացք:
Հանույթային ընթացքները, որոնք անցկացված են փողոցի երկու կողմերով կապակցվում են միմյանց հետ լայնակի ընթացքներով խաչմերուկներում կամ ընթացքի մեջտեղում:
Ուղիղ փողոցներով բնակավայրերում հանույթային ընթացքների փոխարեն կարող են ամրացվել կետեր գեոդեզիական հիմքի կետերի առանցքային գծով, թաղամասերի կոորդինատավորված անկյունների կամ հիմնական կառույցների միջև: Տեղանքի սիտուացիայի հանույթը կատարվում է առանցքային գծից ուղղահայացների կամ առանցքային գծի կետերից` հատումների եղանակով:
Գեոդեզիական հիմքի կետերի միջև առանցքային կետերը որոշում են համապատասխան կետերից չափումների միջոցով ոչ պակաս 1:2000-ի ճշտությամբ:
15.2.5 Ուղղահայացների և հատումների եղանակով կառուցապատված տարածքների հանույթագրման ժամանակ առանցքային կետերի միջև եղած հեռավորությունը ժապավենով չափելիս չպետք է գերազանցի հավելված 26-ում տրված մեծությունները:
Պողպատյա ժապավենով չափված առանցքային կետերի միջեվ եղած առավելագույն թույլատրելի հեռավորությունը
Հավելված 26
Հանույթի մասշտաբը |
Առանցքային կետերի միջև եղած հեռավորությունը |
1:500 |
40 |
15.2.6 Ուղղահայացների եղանակով հանույթների կատարման ժամանակ նրանց միջև եղած հեռավորությունները չպետք է գերազանցի հավելված 27-ում տրված արժեքներից:
Հանույթային ուղղահայացների նվազագույն թույլատրելի երկարությունները
Հավելված 27
Հանույթի մասշտաբը |
Ուղղահայացների երկարությունը, մ | |
տեղակայում աչքաչափով |
տեղակայում է կետի միջոցով | |
1:500 |
4 |
20 |
Ուղղահայացների երկարությունները չափվում է մեկ անգամ միչև 1 սմ-ի ճշտությամբ:
Ուղղահայացները, որոնց երկարությունը գերազանցում է աղյուսակ 27-ում տրված արժեքներից, համալրվում է գծային հատումներով, որոնց երկարությունը չպետք է գերազանցի չափիչ գործիքի երկարությանը (20-50 մ):
15.2.7 Բևեռային եղանակով հանույթագրման ընթացքում անկյունները չափվում են տախեոմետրով (թեոդոլիտով) գործիքի մեկ շրջանի դիրքով 1’-ի ճշտությամբ, իսկ հեռավորությունը լուսահեռաչափով, պողպատյա ժապավենով կամ գործիքի ցանցաթելային հեռաչափով:
15.2.8 Կառուցապատված տարածքների հանույթագրումը գրաֆաանալիտիկ եղանակով կատարվում է հետևյալ հերթականությամբ.
1. հանույթային ցանցերի անցկացման ընթացքում որոշում է թաղամասերի և կապիտալ շինությունների և կառույցների անկյունների կոորդինատները և այն անցկացվում է հատակագծի վրա;
2. շենքերի չափագրումը չափերիզով;
3. գեոդեզիական հիմքի կամ հանույթային ցանցի կետերից շինությունների և այլ եզրագծերի հանույթագրումը տախեոմետրով (կամ մենզուլայով) և հեռավորության չափումը հեռաչափով կամ ժապավենով:
Անցումների հանույթագրումն անցողիկ կետերից և տախեոմետրիական (մենզուլային) ընթացքների կետերից չի թույլատրվում:
Շինությունների չափագրման ընթացքում չափվում են նաև հարակից շինությունների անկյունների միջև եղած հեռավորությունը, այդ չափումներն օգտագործելով որպես ստուգման կետեր:
Միաժամանակ ուրվագծերի հանույթագրման ընթացքում կատարվում է նաև ռելիեֆի հանույթագրումը:
15.2.9. Բևեռային և գրաֆիկաանալիտիկ եղանակներով հանույթագրման ընթացքում, երբ հեռավորությունները չափվում է գործիքի ցանցաթելային հեռաչափով կամ ժապավենով, հեռավորությունը գործիքից մինչև եզրագծերը չպետք է գերազանցի հավելված 28-ում տրված մեծությունները: Ժապավենով հեռավորությունների չափման ընթացքում գծի առանցքը որոշվում է թեոդոլիտով:
Բեվեռային եվ գրաֆաանալիտիկ եղանակներով հանույթագրման ընթացքում գործիքից մինչեվ եզրագծերի առավելագույն հեռավորությունը, երբ գծերի երկարությունը որոշվում է ցանցաթելային հեռաչափերով կամ չափերիզով
Հավելված 28
Հանույթի մասշտաբը |
Հեռավորությունը մինչև եզրագիծը, մ | |
ցայտուն |
ոչ ցայտուն | |
Հեռավորության չափումը ցանցաթելային հեռաչափով | ||
1:500 |
40 |
80 |
Հեռավորության չափումը չափերիզով | ||
1:500 |
120 |
150 |
15.2.10. Ուղղանկյուն հատումների եղանակը կիրառվում է, եթե հեռավորությունների անմիջական չափումները հնարավոր չեն:
Հանույթագրվող կետի դիրքը որոշելու համար չափվում է բազիսին կից երկու հարակից անկյունները: Բազիս կարող է լինել հանույթային ընթացքի կողմը կամ նրա մի մասը կամ պլանային հիմքի ցանկացած երկու կետ, որոնց միջև կա տեսադաշտ:
Հարակից անկյունները չափվում են մեկ կիսանվագով մինչև 1’-ի ճշտությամբ:
Որոշվող կետի անկյունների անկյան չափը պետք է լինի 300-ից մինչև 1500-ի սահմաններում:
Անկյունային հատումների եղանակով որոշվող կետերի առավելագույն թույլատրելի հեռավորությունը տրված է հավելված 29-ում:
Անկյունային հատումների եղանակի դեպքում առավելագույն թույլատրելի հեռավորությունները
Հավելված 29
Հանույթի մասշտաբը |
Հեռավորությունը մինչև եզրագծեր մ | |
ցայտուն |
ոչ ցայտուն | |
1:500 |
100 |
300 |
15.2.11. Գծային հատումների եղանակով հանույթներ կատարելիս չափերիզը տեղակայվում է հանույթային գծի առանցքի ուղղությամբ և նրանով ընտրվում է հատումային հիմնակետն այն հաշվարկով, որպեսզի այդ կետերը որոշվող կետերի հետ կազմեն հավասարակողմ եռանկյուն:
Հատումային հիմնակետերի վրա անհրաժեշտ է տեղակայել չափերիզի (ռուլետկայի) բաժանմունքի կլորացված համապատասխան մետրը: Հատումների կողմերի երկարությունը չափում են պողպատյա չափերիզով, նրանց երկարությունը չպետք է գերազանցի չափերիզի երկարությանը (20-50 մ):
Թաղամասերի, հիմնական շինությունների և այլ կարևոր եզրագծերի անկյունները որոշվում են եռակողմ հատումներով:
15.2.12. Ներթաղամասային հանույթները, որպես կանոն, կատարում են անցումային մասերի հանույթագրումից հետո:
Ներթաղամասային հանույթներն սկսելուց առաջ աբրիսից պլանշետի վրա է անցկացվում հանույթագրված անցուղիների և ճակատային մասերի (ֆասադների) եզրագծերը:
Ներթաղամասային հանույթը կատարվում է այնպես, ինչպես անցուղիների հանույթը:
Հանույթային ցանցի կետերից ներթաղամասային հանույթագրման առկայության դեպքում, թույլատրվում է կատարել հանույթագրում կախված ընթացքի կետերից:
Կախված ընթացքների երկարությունները և կողմերի թիվը չպետք է գերազանցեն հավելված 30-ում տրված մեծությունները:
Կախված ընթացքների առավելագույն թույլատրելի երկարությունները եվ կողմերի թիվը
Հավելված 30
Հանույթի մասշտաբը |
Կախված ընթացքի թույլատրելի |
Ընթացքի առավելագույն |
1:500 |
100 |
2 |
15.2.13. Հորիզոնական հանույթ կատարելիս բոլոր տվյալներն անցկացվում են աբրիսի վրա, որոնք լրացվում են մատիտով և գծվում ամուր թղթի վրա համապատասխան պայմանական նշաններով:
Արգելվում է աբրիսի վերանկարումը:
15.2.14 Կառուցապատ տարածքների բարձունքային հանույթը հարթավայրային շրջաններում կատարվում է նիվելիրով կամ թեոդոլիտի և կիպրիգելի հորիզոնական ճառագայթով, իսկ բլրոտ տարածքներում, թեքման ճառագայթով:
Բարձունքային հանույթը կարելի է կատարել միաժամանակ հանույթի հորիզոնական գրաֆաանալիտիկ կամ մենզուրային եղանակների հետ միասին, կամ առանձին՝ հատակագծի հորիզոնական հանույթի առկայության դեպքում:
15.2.15. Նիվելիրային ընթացքները, որոնք անցկացվում են բարձունքային հանույթներ կատարելու համար, պետք է հենվեն պետական գեոդեզիական ցանցի հենանիշերի և դրոշմանիշերի վրա (տես կետ 2.20.1) և բոլոր այն կետերի վրա, որոնց բարձրությունները որոշված են տեխնիկական նիվելիրացման ճշտությամբ:
Առանձին դեպքերում թույլատրվում է կախված ընթացքներ, որոնք չափվում են ուղիղ և հակադարձ ուղղություններով:
Փակ և բաց ընթացքների թույլատրելի անկապքը հաշվում են (1) բանաձևով, իսկ 2 կմ-ից պակաս ընթացքների համար (2) բանաձևով:
15.2.16 Բարձունքային հանույթի ընթացքում հանույթագրվող ամբողջ տարածքը պետք է ծածկված լինի բարձունքային պիկետներով, որոնց միջև եղած հեռավորությունը չպետք է գերազանցի, աղյուսակ 31-ում տրված չափերից:
Բարձունքային պիկետների միջեվ եղած առավելագույն թույլատրելի հեռավորությունները
Հավելված 31
Հանույթի մասշտաբը |
Բարձունքային պիկետների միջև առավելագույն թույլատրելի |
1:500 |
20 |
Բացի դրանից, պետք է որոշվեն բնորոշ տեղերի պիկետները, որպեսզի ապահովվի ռելիեֆի արտահայտման բոլոր մանրամասները:
Եթե շինությունների անկյունների մոտ կան գրունտային լիցքեր, ռելիեֆի ճիշտ արտահայտման համար, բարձունքային պիկետները վերցվում են շինություններից որոշակի հեռավորության վրա:
15.2.17 Նիվելիրացման ընթացքում ջրհորների դիտահորերի, շենքերի գետնախարիսխների (ցոկոլ), բետոնե վաքերի (լոտոկների), կամրջի վրաքաշ, ճանապարհների վրա խողովակների վերին հատվածների բարձունքային նիշերը որոշում են նշաձողերի (ռեյկայի) երկու կողմերի հաշվեցույցներով: Մնացած դեպքերում բարձունքային նիշերը որոշում են նշաձողի (ռեյկայի) մեկ կողմով: Դիտոցային ճառագայթի երկարությունը չպետք է գերազանցի 150 մ-ից:
15.2.18 Անցուղիների (փողոցների) նիվելիրացման ժամանակ լայնակի անկմանների նշահարումը կատարվում է պողպատյա ժապավենով կամ տախեոմետրի հեռաչափով, յուրաքանչյուր 20, 40, 50 կամ 100 մ, կախված հատակագծի մասշտաբից, ռելիեֆի բնույթից և հատուկ տեխնիկական պահանջներից: Բացի լայնակի անկմաններից, բնորոշ կետերում նշում են հավելյալ կետեր: Լայնակի անկմաններում նիվելիրացման կետերի միջև եղած հեռավորությունը չպետք է գերազանցի 40 մ-ից 1:2000 մասշտաբի հատակագծի և 20 մ-ից` 1:500 և 1:1000 մասշտաբի հատակագծերի համար:
Լայնակի անկմանների (պրոֆիլների) նիվելիրացման ընթացքում որոշում են անցուղիների ճակատային գծերի, առանցուղու առանցքի գծերի, ջրատար առուների ափերի և խորությունների և այլ բնութագրվող կետերի բարձրությունները:
15.2.19. Լրացուցիչ պահանջներից ելնելով որոշում են նաև թաղամասերի անկյունների, շենքերի մուտքերի և հատակի, բակերի ելքի մեջտեղի, ուղանցույցների հատակի, նկուղների մուտքերի, հենապատերի և թեքությունների վերին և ներքին մասերի, տրամվայի և երկաթգծի գծերի վրա, նկուղային շենքերի մուտքերի, ջրատարների հատումն անցումների առանցքի հետ և այլ պահանջվող բնութագրվող կետերի բարձրությունները:
Եթե փողոցի ճակատային կողմից բացակայում են շենքերի մուտքերը, ապա նրանց բարձրությունները որոշում են բակի կողմից: Այն շենքերը, որոնք ունեն մի քանի մուտքեր, ապա որոշվում է բոլոր մուտքերի բարձրությունները:
Ստորգետնյա ինժեներական ցանցերի ելակետերի նիվելիրացումը կատարվում է հատուկ առաջադրանքի առկայության դեպքում:
15.2.20. Յուրաքանչյուր կայանում որոշում են երկուսից ոչ պակաս ստուգիչ կետեր, որոնք գտնվում են վերածածկի սահմաններում և կարող են որոշվել հաջորդ կայանից: Ստուգիչ կետերի բարձրությունների տարբերությունը, ստացված երկու կայաններից չպետք է գերազանցի 20 մմ-ից:
15.2.21. Ռելիեֆի նկարագրությունը կարող է կատարվել հանույթի կատարման հետ համատեղ, կամ կամերալ պայմաններում, օգտվելով կազմված աբրիսից: Խիտ կառուցապատ մասերում թույլատրվում է չանցկացնել հորիզոնականներ, այլ սահմանափակվել կետերի բարձունքային նիշերի գրառումներով:
15.2.22. Տեղանքի եզրագծերի և օբյեկտների անցկացումը հատակագծի վրա պետք է կատարել այն հաջորդականությամբ, ինչպես կատարվել է հանույթագրման ընթացքում (սկզբից թաղամասերի և կապիտալ շինությունների անկյունների կոորդինատավորում, այնուհետև անցուղիները և թաղամասերի ներքին մասեր):
15.2.23. Ուղղահայացների և հատումների եղանակով կատարված հանույթային նյութերից հատակագծերի կազմումը սկսում են, հատակագծի վրա անցկացնելով բոլոր գծերը և ընթացքների կետերը, որոնք հանդիսանում են հիմք ուղղահայացների համար կամ այդ կետերից կատարված հատումները: Հենվելով այդ կետերի վրա ուղղահայացների և հատումների եղանակով անցկացնում են որոշված կետերը, տեղանքի եզրագծերը և օբյեկտները:
Սկզբից հատակագծի վրա անցկացվում է կողմնորոշման համար նշանակություն ունեցող բոլոր գլխավոր շինությունները և օբյեկտները: Ներթաղամասային կառուցվածքներն անցկացվում է անցուղային կառուցվածքների անցկացումից հետո: Վերջում անցկացվում է այն եզրագծերը, որոնք որոշված են կախված ընթացքներից: Հատակագծերի վրա եզրագծերի անցկացման ճշտությունը ստուգվում է հատակագծերի կազմման գործընթացում ստուգիչ չափումների միջոցով, որոնք իրականացվել են հանույթագրման ընթացքում:
15.2.24. Եզրագծային կետերի անցկացումը հատակագծերի վրա թույլատրվում է կատարել անկյունաչափի կամ թիկնալարային (խոռդոուգլոմեր) անկյունաչափի միջոցով: Եթե հատակագծի մասշտաբում բևեռային հեռավորությունները մինչև ցայտուն եզրագծերը 60 մմ-ից ավելի է, ապա այդ եզրագծերն անցկացվում են կոորդինատներով:
15.2.25. Հատակագծի վրա անցուղիների և ներթաղամասային ուրվագծերի անցկացման հետ համատեղ նշվում է նրանց բարձրությունները:
Պիկետների բարձրությունները հաշվվում են անմիջապես մատյաններում՝ ստուգելով այն երկրորդ դեմքով:
Բոլոր պիկետների բարձրությունները հատակագծի վրա գրվում են կլորացված մինչև 0.1 մ:
Ուղղումների հարմարության համար բարձրությունները գրվում են մատիտով պիկետների ձախ կողմում, իսկ գծագրման ժամանակ՝ աջ կողմում:
15.2.26. Կազմված հատակագիծը ենթակա է ստուգման, այն համեմատելով տեղանքի հետ ստուգողական չափումների միջոցով:
Հատակագծի և տեղում ստուգման չափումներից ստացված հեռավորությունների տարբերությունը չպետք է գերազանցի 0.4 մմ-ից հատակագծի մասշտաբում: Անթույլատրելի տարբերությունների ստացման դեպքում ստուգվում է հատակագծի վրա կետերի անցկացման ճշտությունը համաձայն աբրիսի տվյալների, իսկ եթե սխալները չեն հայտնաբերվել, ապա տեղում կատարվում է չափումների կրկնություն:
Եթե հատակագծերի կազմման ընթացքում հայտնաբերվում են չափումների անճշտություններ կամ բացակայում են անհրաժեշտ չափեր, ապա բոլոր ճշտումները պետք է կատարվեն տեղում չափված արդյունքների հիման վրա:
15.2.27. Խորհուրդ է տրվում կամերալ մշակումները կատարել համակարգչով հետևյալ տեխնոլոգիաներից մեկով.
1) ավանդական եղանակով պլանշետների կազմման համար կետերի կոորդինատները հաշվարկվում է համակարգչով;
2) ավտոմատացված կոորդինատագրաֆով օգտագործելով համակարգիչներ:
Համակարգիչների օգտագործման դեպքում չափման արդյունքները պետք է գրանցվի մատյաններում:
15.2.28. Կառուցապատ տարածքների հանույթների ավարտից հետո պետք է ներկայացվեն հետևյալ նյութերը.
1. պլանշետների բնօրինակները կատարված կոշտ հիմքի կամ պլաստիկատի վրա և նրան կցված տեղեկամատյանը (ֆորմուլյար.);
2. հորիզոնական և բարձունքային հանույթների աբրիսները;
3. դաշտային մատյանները (կամ նրանց նմանակը թվային տեսքով) և հանույթային ցանցի սխեման;
4. կետերի կոորդինատների և բարձրությունների ժողովածուն (կատալոգները);
5. պլանշետների դասավորության սխեման;
6. պլանշետների շրջագծի (ռամկա) համատեղման պատճենաքաղվածքը;
7. ճշտման (կորրեկտուրային) թերթերը;
8. դաշտային աշխատանքների ստուգումների և ընդունման ակտը;
9. սեղմ տեխնիկական հաշվետվություն:
16. ՍՏՈՐԳԵՏՆՅԱ ՀԱՂՈՐԴԱԿՑՈՒՂԻՆԵՐԻ (ԿՈՄՈՒՆԻԿԱՑԻԱՆԵՐԻ) ՀԱՆՈՒՅԹ
16.1 Ստորգետնյա հաղորդակցուղիները և կառուցվածքները, որոնք ունեն անմիջական կապ նրանց հետ հանդիսանում են տեղագրական հատակագծերի հիմնական տարրերից մեկը:
Տեղագրական հատակագծերը, որոնք պատկերում են ստորգետնյա հաղորդակցուղիները պետք է ստեղծվեն (կազմվեն) համաձայն սույն Հրահանգի պահանջների և գործող հրահանգի պահանջների:
Սույն բաժնում շարադրված է տեղագրական հատակագծերում ցույց տալու ստորգետնյա հաղորդակցուղիների մանրամասնությունները եղած նյութերով և ստորգետնյա հաղորդակցուղիների հանույթներին վերաբերող հիմնական պահանջները:
16.2 Ստորգետնյա հաղորդակցուղիների տարրերը տեղագրական հատակագծերի վրա պետք է արտահայտվեն համաձայն սույն հրահանգի 4 բաժնի ցուցումների:
16.3 Տեղագրական հատակագծերի վրա անհրաժեշտ է պատկերել ստորգետնյա հաղորդակցուղիների պլանային և բարձունքային ճիշտ դիրքը, որոշված դասակարգման երեք խմբերով.
1. խողովակաշարեր;
2. մալուխային (կաբելային (ցանցեր;
3. թունելներ (ընդհանուր հավաքիչներ (կոլեկտորներ)):
Խողովակաշարերին է վերաբերում` ջրմուղային ցանցերը, կոյուղիները (տարբեր համակարգերի), ջեռուցման, գազամատակարարման, դրենաժային և հատուկ նշանակության (նավթամուղի, մազութամուղի, շոգեմուղի և այլն) ցանցերը:
Մալուխային (կաբելային) ցանցերին են վերաբերում` ուժային հոսանքի բարձր և ցածր լարման ցանցերը, թույլ հոսանքի ցանցերը (հեռախոսային, հեռագրային, ռադիոհաղորդման և այլն):
Թունելները ծառայում են միայն մալուխների (կաբելների) տեղաբաշխման համար: Ընդհանուր կոլեկտորներում տեղաբաշխվում են տարբեր նշանակության ցանցերը:
16.4 Տեղագրական հատակագծերը, որոնց ուրվագծային ծանրաբեռնվածությունը հանդիսանում է ստորգետնյա հաղորդակցուղիներ թույլատրվում է ստեղծել համատեղված կամ առանձին:
16.4.1 Համատեղված ստորգետնյա հատակագծերի ստեղծման ընթացքում բոլոր խմբերի հաղորդակցուղիներն անցկացվում են տեղանքի տեղագրական հատակագծի վրա:
Համատեղված հատակագծերը կազմվում են այն դեպքերում, երբ տեղագրական հատակագծերի վրա ստորգետնյա հաղորդակցուղիների անցկացումից հետո ապահովվում է պատկերված հաղորդակցուղիների լավ ընթերցելիությունը և տեսանելիությունը, ինչպես նաև նրանց բնութագրերը:
16.4.2 Առանձնացված հատակագծերը ստեղծվում են այն դեպքում, երբ առկա է տեղանքի խիտ կառուցապատման և ստորգետնյա հաղորդակցուղիների շատ խիտ ցանցեր:
Առանձնացված հատակագծերը կազմվում են 1:500 և 1:1000 մասշտաբի թեթևացված տեղագրական հատակագծերի կրկնօրինակների վրա: Թեթևացված կրկնօրինակի վրա կարող են անցկացվել անմիջապես բոլոր հաղորդակցուղիները, կամ կախված ցանցերի խտությունից, մեկ կամ մի քանի խմբի (տեսակի) հաղորդակցուղիներ (օրիանակ ջրմուղային ցանցերի հատակագիծ, էլեկտրական ցանցերի հատակագիծ և այլն):
16.5 Չի թույլատրվում ստորգետնյա հաղորդակցուղիների հատակագծերի կազմումը, փոքր մասշտաբի հատակագծերի խոշորացումով:
16.6 Ստորգետնյա հաղորդակցուղիների հատակագծերի կազմման գծագրական հիմքի համար օգտագործվում են հետևյալ քիչ դեֆորմացվող նյութերը, որոնք ապահովում են բնօրինակների երկարաժամկետ պահպանումը.
1. պլանշետները, որոնք պատրաստվում են ամուր հիմքի վրա (ալյումինի, տեկստոլիտի, վինիպլաստի, ֆաներայի և այլն);
2. թափանցիկ պլաստիկատներ (լավսան, խոստաֆան և այլն), որոնք հնարավորություն են տալիս պատրաստելու պատճենը, ապահովում են ստեղծելու առանձնացված հատակագծեր և օգտագործել բնօրինակների բևեռային միացումները:
16.7 Ստորգետնյա հաղորդակցուղիների հատակագծերի համար, ելակետային հիմք են ծառայում հետևյալ նյութերը.
1. կատարողական հանույթների (исполнительной сЪемки) նյութերը;
2. գոյություն ունեցող ստորգետնյա հաղորդակցուղիների (նախկինում կառուցված) տարրերի հանույթային նյութերը;
3. ստորգետնյա հաղորդակցուղիների կառուցվածքների և գծերի անկմանները (պրոֆիլները) և ժողովածուները (կատալոգները);
4. տեղեկատվահաշվառման բնույթի արխիվային նյութերը;
5. շահագործող կազմակերտությունների, արդյունաբերական հիմնարկությունների, կազմակերպությունների տվյալները, նախկին տարիների հանույթային նյութերը:
16.8 Ստորգետնյա հաղորդակցուղիների հատակագծերի կազմման հիմնական եղանակն է հանդիսանում ստորգետնյա հաղորդակցուղիների մասին տեղեկատվության հավաքագրումը և նրանց անցկացումը հատակագծի վրա:
Ստորգետնյա հաղորդակցուղիների առանձին հանույթային աշխատանքները կատարվում են այն դեպքում, երբ նախկին հատակագծերը ոչնչացված են կամ ունեն վերականգնելու կարիք:
16.9 Ստորգետնյա հաղորդակցուղիների հանույթը պետք է կատարվի գոյություն ունեցող կամ նոր ստեղծված պլանային և բարձունքային հանույթային ցանցի հիմքի վրա:
Ցանցի ճշտությունը պետք է համապատասխանի սույն Հրահանգի պահանջներին:
Ստորգետնյա հաղորդակցուղիների հանույթի համար որպես բարձունքային ելակետ կարող են ծառայել պետական գեոդեզիական ցանցի հենանիշերը (ռեպերները) և դրոշմանիշերը (մարկաները) (տես կետ 2.20.1):
16.10 Ստորգետնյա հաղորդակցուղիների տարրերի հանույթը կատարվում է հիմնականում տախեոմետրիական և թեոդոլիտային հանույթների եղանակով: Կարելի է օգտագործել նրանց համատեղումն աերոֆոտոտեղագրական և ֆոտոթեոդոլիտային եղանակներին:
16.10.1 Ստորգետնյա հաղորդակցուղիների կատարողական հանույթները կատարվում է 1:500 մասշտաբով բաց խրամուղիներում շինարարության ընթացքում և ավարտից հետո: Կատարողական հատակագիծը կազմվում է գոյություն ունեցող տեղագրական հատակագծի վրա, որը օգտագործվում է ստորգետնյա հաղորդակցուղիների նախագծերի կազմման համար:
16.10.2 Կատարողական հանույթների ընթացքում ստորգետնյա հաղորդակցուղիների և կառուցվածքների պլանային դիրքը կարող է որոշվել հետևյալ կերպ.
1. կառուցապատված տարածքում-գեոդեզիական և հանույթային ցանցերի կետերից գործիքային հանույթագրման, ինչպես նաև չափումների եղանակով` մոտակա կապիտալ շինությունից և թաղամասերի անկյուններից, որոնց անկյունների կոորդինատները որոշվել են գեոդեզիական և հանույթային հիմքի կետերից բևեռային եղանակով,
2. ոչ կառուցապատված տարածքներում` գեոդեզիական և հանույթային ցանցերի կետերից գործիքային հանույթագրման եղանակով:
16.10.3 Ստորգետնյա հաղորդակցուղիների կատարողական հանույթային աշխատանքների ավարտից հետո պետք է ներկայացվեն հետևյալ նյութերը.
1. հանույթային և նիվելիրացման ընթացքների սխեման,
2. ստորգետնյա հաղորդակցուղիների հանույթների աբրիսները,
3. նիվելիրացման և անկյունաչափական մատյանները (կամ նրանց նմանակները թվային տեսքով),
4. կոորդինատների և բարձրությունների հաշվարկման ամփոփագրերը,
5. կատարողական գծագրերը:
16.11 Գործող ստորգետնյա հաղորդակցուղիների հանույթային աշխատանքները կատարվում են միայն հաստատված տեխնիկական առաջադրանքի (տեխնիկական նախագծի) առկայության դեպքում, տեղազննական և հետազոտական աշխատանքներից հետո:
16.12 Ստորգետնյա հաղորդակցուղիների տեղազննումը (բնակավայրերում և արդյունաբերական տարածքներում) իր մեջ ընդգրկում է նախապատրաստական աշխատանքներ և ցանցերի գտնվելը տեղանքում:
16.13 Նախկինում անցկացված հաղորդակցուղիների ուղղությունները դիտահորի միջև որոշվում են էլեկտրոնային փնտրիչ սարքերով` մայրուղափնտրիչ (տրասսոիսկատել), խողովակամալուխափնտրիչ (տրուբոկաբելաիսկատել), իսկ այն տեղերում, որտեղ այդ սարքավորումների օգտագործումն անհնար է՝ շուրֆերի միջոցով:
Գոյություն ունեցող ստորգետնյա հաղորդակցուղիների հանույթը կազմված է պլանային և բարձունքային հանույթներից, նրանց ելքային մասերը հողածածկի վրա և գծերի հանույթից, որոնք ի հայտ են բերվել էլեկտրոնային սարքերով կամ բաց շուրֆերով:
16.14 Ստորգետնյա հաղորդակցուղիների ելուստային մասերի պլանային դիրքը որոշում են հենվելով գեոդեզիական ցանցի հիմնակետերի և հանույթային ցանցի կետերի վրա, կամ կապիտալ շինությունների, կառուցվածների անկյունների, ջրհորների վրա և այլն:
16.15 Նախկինում անցկացված ստորգետնյա հաղորդակցուղիների ելուստային մասերի հանույթը կատարվում է գծային հատումներով, ուղղահայացների, բևեռային և առանցքային եղանակներով:
16.16 Ստորգետնյա հաղորդակցուղիները 10-30 սմ ճշտությամբ որոշելու համար օգտագործվում է խողովակաշարերի փնտրիչ ԼT-6 և այլ սարքեր, որոնք ապահովում են անհրաժեշտ ճշտություն:
16.17 Գոյություն ունեցող ստորգետնյա հաղորդակցուղիների հանույթային և նիվելիրացման աշխատանքների ավարտից հետո պետք է ներկայացվեն հետևյալ նյութերը.
1. ստորգետնյա հաղորդակցուղիների անկյունաչափական և նիվելիրացման մատյանները (կամ նրանց նմանակները թվային տեսքով),
2. ստորգետնյա հաղորդակցուղիների կառուցվածքների հետազոտման և կապակցման աբրիսները,
3. հանույթային ցանցի և նիվելիրացման սխեմաները,
4. թաղամասերի անկյունների, կառուցվածքների և ստորգետնյա հաղորդակցուղիների կոորդինատների հաշվարկման ամփոփագրերը,
5. 1:2000 և 1:5000 մասշտաբի հատակագծերի վրա ստորգետնյա հաղորդակցուղիների տեղակայման սխեմաները,
6. ստորգետնյա հաղորդակցուղիների ժողովածուները (կատալոգները),
7. տեխնիկական հաշվետվությունը կամ բացատրագիրը:
16.18 Կախված ստորգետնյա հաղորդակցուղիների հատակագծերի նշանակությունից և հետագա օգտագործումից, այդ հատակագծերը կազմվում են հրատարակչական կամ կազմողական բնօրինակի տեսքով:
Կազմողական բնօրինակները պետք է տան հնարավորություն ֆոտոմեխանիկական եղանակով պատրաստելու նրանց պատճենը:
Հրատարակչական բնօրինակները պատրաստում են (վիմագրական (լիտոգրաֆիկական)) արտատիպերի տպաքանակների ստացման անհրաժեշտության դեպքում:
Ավտոմատացված համակարգերի առկայության դեպքում ստորգետնյա հաղորդակցուղիների հատակագծերը կարող են կատարվել թվային տեսքով:
17. ՀԱՐԱԿԻՑ ՏԵՂԱԳՐԱԿԱՆ ՀԱՏԱԿԱԳԾԵՐԻ ՇՐՋԱՆԱԿԻ ԿՈՂՄԵՐԻ ՀԱՄԱՏԵՂՈՒՄԸ
17.1 Տեղագրական հատակագծերում ընդգրկված բոլոր մասերը պետք է համատեղված լինեն սահմանակից թերթերի (պլանշետների) շրջագծի համապատասխան կողմերի մասերի հետ շրջագծի այն կողմերով, որով այն համակցվում է նույն մասշտաբի կամ ավելի խոշոր մասշտաբի հատակագծի, կատարված կոորդինատային և բարձունքային նույն համակարգով:
Եթե սահմանակից (հարակից) հատակագիծը կատարված է նույն մասշտաբով, բայց տարբեր կոորդինատային և բարձունքային համակարգով, ապա նրանց համատեղումը կատարվում է հետևյալ կերպ. երկու սահմանակից հատակագծերից մոմաթղթի վրա կատարվում է ուրվագծերի արտանկարում, իսկ բարձունքային համատեղում չի կատարվում, բայց ազատ շրջագծի վրա անցկացվում են նիվելիրացման ընթացքը և բարձրությունները, այդ ընթացքից ստացված կետերը, որոնք գրվում են բարձունքային պատճենի (կալկայի) վրա յուրաքանչյուր 3-5 սմ-ի վրա և միացվում են իրար կարմիր տուշով: Որպես ստուգիչ կետեր պետք է ընտրել այնպիսի ուրվագծեր, որոնք տեղանքում պահպանվում են երկար ժամանակ:
Սահմանակից հատակագծերի վրա նույն մասշտաբի հանույթների բացակայության դեպքում կամ եթե կատարված հանույթը մանր մասշտաբի է (ոչ պակաս 1:2), ապա շրջագիծը (ռամկա) բավարարում է որպես ազատ պլանային տեսակետից և անցկացվում է թեոդոլիտային ընթացքը, որի հետևանքով կոորդինատավորվում են տեղանքի բոլոր ցայտուն ուրվագծերը, և բարձունքային տեսակետից, անցկացնելով բարձունքային ընթացքը:
Այն ընթացքները, որոնք անցկացված են բավարարելու ազատ շրջագծերը, անցկացվում են բարձունքային պատճենի վրա: Այդ դեպքում գրվում են ցայտուն ուրվածերի կոորդինատները և բարձունքային նիշերը մինչև տասնորդական մետրի ճշտությամբ (կոորդինատները՝ վերջին չորս թվով):
1:5000 - 1:2000 մասշտաբի ստերեոտեղագրական հանույթների ընթացքում յուրաքանչյուր նկարի ազատ շրջագծում բավարարվում է ոչ պակաս մեկ պլանային և երկու բարձունքային կետերով:
1:5000 մասշտաբի հանույթի ընթացքում պլանային ճանաչման կետերը (նշանները) տեղակայվում են յուրաքանչյուր չորս կետ, իսկ բարձունքայինը` յուրաքանչյուր նկարում եկու հիմնագծեր (բազիսներ): Ստերեոտեղագրական բնօրինակների վրա մոմաթղթով պատճենի կազմման ընթացքում ազատ շրջագծի վրա ստուգիչ կետերը ձևակերպվում են այնպես, ինչպես նշված է վերևում:
17.2 Տեղագրական հանույթի ավարտից հետո աշխատանքի ղեկավարը կատարում է համատեղումների ստուգում երկու կատարողների միջև: Դրա համար մոնիտորի էկրանի վրա դուրս է բերվում ռելիեֆի և ուրվագծերի թվային տեղեկությունները շրջագծի (ռամկայի) գծից 2-3 սմ, երկու սահմանակից պլանշետների վրա:
17.3 Ուրվագծերի համատեղման տարբերությունը չպետք է գերազանցի 1.0 մմ հիմնական ուրվագծերի համար, դրանք են` սահմանները, երկաթուղային, խճուղային և գրունտային բարեկարգ ճանապարհները, փողոցները, ափային գծերը և այլ ցայտուն ուրվագծերը և 1.5 մմ՝ մնացած ուրվագծերի համար:
Բարձունքային տարբերությունը չպետք է գերազանցի ռելիեֆի հանույթի միջին թույլատրելի սխալի կրկնակի մեծությանը մոտակա գեոդեզիական հիմքի կետերի նկատմամբ:
Կառուցապատված տարածքների հանույթների, 1:500 և 1:1000 մասշտաբների հանույթների համար բոլոր թույլատրելի անկապքները փոքրացվում են 1.5 անգամ:
17.4 Ուրվագծերի և հորիզոնականների դիրքերի տարբերությունը կարգավորվում է հետևյալ կերպ:
17.4.1 Ոչ կառուցապատված մասերում՝ ուրվագծերի տեղաշարժում նրանց տարբերությունների կիսով չափ յուրաքանչյուր ուրվագծում:
17.4.2 Կառուցապատված մասերում՝ ոչ ցայտուն ուրվագծերի համար այնպես, ինչպես տրված է 17.4.1 կետում, իսկ ցայտուն ուրվագծերի համար (շենքերի, տրամվայի և երկաթուղային ճանապարհների, կամուրջների, կապի գծեր և էլեկտրագծեր և այլն) տարբերությունները կարգավորվում են շնորհիվ ուրվագծերի տեղաշարժման, հաշվի առնելով կողմնորոշման ճշտությունը տեղանքում և նրանց չափերի պահպանումը, որոնք ստացվել են անմիջական չափումներից:
Ոչ թույլատրելի տարբերությունների դեպքում կատարվում է հանույթի գործիքային ստուգում դաշտում հատակագծերի համատեղման մասերում և ընդունվում է որոշում աշխատանքների հնարավոր օգտագործման համար:
17.5 Ստերեոտեղագրական հանույթների դեպքում վերծանումների արդյունքների համատեղումը կատարվում է բոլոր ուրվագծերի համեմատման ճանապարհով 2-4 սմ լայնակի շերտում:
17.6 Նույն մասշտաբի կամ ավելի խոշոր մասշտաբի գոյություն ունեցող հատակագծերը, որոնք կատարված են կոորդինատային և բարձունքային նույն համակարգով, համատեղումը կատարվում է հետևյալ հերթականությամբ.
1. եթե տարբերությունները չեն գերազանցում 17.3 կետում տրված սահմանները նոր հատակագծի մասշտաբով, ապա ուղղումը մտցվում է նոր բնօրինակ;
2. եթե տարբերությունները անցնում են թույլատրելի սահմանները, ապա կատարվում է գործիքային ստուգում հարակից հատակագծի շրջագծով և հաստատվում է նոր աշխատանքի որակը: Դրա հետ միասին հնարավորության դեպքում որոշվում են չհամատեղման պատճառները:
Չթույլատրելի տարբերությունների դեպքում նոր հանույթի ընդունման հարցը որոշվում է ստորաբաժանման ղեկավարության կողմից, ելնելով հանույթային նյութերի ստուգումների արդյունքներից:
Եթե ընդունվում է, որ նոր հանույթը որակով է, ապա հանույթային պլանշետների շրջագծի դաշտի և տեղեկագրի (ֆորմուլյարի) վրա կատարվում է համապատասխան գրառում, իսկ ստուգման նյութերը պահվում են հանույթային աշխատանքների գործերում:
Տեղագրական հատակագծի շրջագծի բոլոր կողմերի համատեղման ճշտության համար պատասխանատու է կատարողը:
Տեղագրական հանույթների շրջագծերը, որոնց կողմերով կատարվել է համատեղումներ, ստորագրվում է համատեղումը կատարող տեղագրողի կողմից և անմիջական աշխատանքային ղեկավարի կողմից՝ նշելով կատարման ամսաթիվը:
17.7 Քաղաքների տեղագրական հանույթների ընթացքում հարկ է նկատի առնել հետևյալը.
17.7.1 Քաղաքի հատակագծի թերթերի վրա, կառուցապատված սահմաններում ճանապարհների ուղղությունները չեն նշվում:
17.7.2 Քաղաքի հատակագծի թերթերի վրա, քաղաքային սահմանամասերում, որտեղ կան չկառուցապատված մեծ տարածքներ, իսկ քաղաքի առանձին հատվածներ բաժանված են իրարից և միանում են ավտոճանապարհներով, ապա պետք է նշվեն ինչպես ավտոճանապարհի ուղությունները և հանույթի սահմանից մինչև մոտակա խաչմերուկի հեռավորությունը, այնպես էլ տեղագրվող քաղաքի ուղղությունը, բայց առանց նշելու հեռավորությունը:
18. ՏԵՂԱԳՐԱԿԱՆ ՀԱՏԱԿԱԳԾԵՐԻ ԽՄԲԱԳՐՈՒՄԸ
18.1 Տեղագրական հանույթի բոլոր փուլերում խմբագրական աշխատանքների նպատակը հանդիսանում է տեղագրական հանույթի բովանդակության ճշտության, լիարժեքության, աշխարհագրական ճշտության և տեղանքի պատկերման ակնառության, ինչպես նաև տեղանքի միատեսակ տարրերի միասնական ցուցադրումը հանույթային տարածքի հատակագծի բոլոր թերթերի վրա:
18.2 Խմբագրական աշխատանքների կազմի մեջ են մտնում.
18.2.1 Հանույթային տարածքի նախնական ուսումնասիրումը եղած նյութերով և տեղանքի այն բնորոշող առաձնահատկությունների հայտնաբերումը, որոնք պարտադիր ենթակա են ստեղծվող հատակագծի վրա պատկերելու:
18.2.2 Քարտեզագրական նյութերի հավաքագրման և վերլուծության ժամանակակից ապահովումը, ինչպես նաև դաշտային աշխատանքների ծավալների կրճատման եղանակների որոշման և վերծանումների թեթևացման գործընթացները (ընթացքները):
18.2.3 Խմբագրական գրության կամ սխեմայի տեսքով վերծանումների որոշման և ռելիեֆի հանույթի (կցված հղումների կազմումը) մշակման ցուցումները:
18.2.4 Տեղագրական հատակագծերի բովանդակության հարցերի մասին կատարողներին հրահանգավորումը, պայմանական նշանների օգտագործումը, վերծանումը և ռելիեֆի նկարագրումը (պատկերումը):
18.2.5 Աշխարհագրական անվանումների տառադարձությունների կազմակերպումը, որոնք տեղակայվում են տեղագրական հատակագծերի վրա:
18.2.6 Ավարտված վերծանման նյութերի և տեղագրական հատակագծերի բնօրինակների խմբագրական ստուգումները, որոնք կախված են հանույթագրվող տարածքի բարդությունից, կարող են կատարվել լրիվ ծավալով կամ ընտրովի:
18.3 Խմբագրումը պետք է կատարվի հատակագծերի ստեղծման բոլոր փուլերում նրանց ուղղումներից և անմիջական ղեկավարների (դաշտային աշխատանքների ղեկավարների, կամերալ աշխատանքների ղեկավարի և այլն) կողմից ընդունումից հետո:
Խմբագրական ստուգումների ընթացքում հատակագծերի վրա ստացվում են տեղանքի առանձին մասերի նկարագրության ճշտությունը, դաշտային վերծանման նյութերի օգտագործումը և գերատեսչական նյութերի, տեղանքի օբյեկտների բնութագրման որոշման ճշտությունը, աշխարհագրական անվանումների գրագրությունների լիարժեքությունը և ճշտությունը, տեղանքի միանման տարրերի ներդաշնակ նկարագրությունը, բարձունքային նիշերի, ջրերի հորիզոնների, պայմանական նշանների գրառմանը, հատակագծի թերթերի համատեղման ճշտությունը:
18.4 Խմբագրական սխեմաները նախատեսվում են հատակագծերի առանձին թերթերի բովանդակությունների միմյանց հետ համաձայնեցնելու համար ամբողջ հանույթի տարածքի սահմաններում: Դրանք կատարվում են վերծանման գործընթացների ընթացքում և լրացվում են ստերեոսկոպիական հանույթների գործընթացում և օգտագործվում են հատակագծերի հրատարակչական նախապատրաստական աշխատանքների ընթացքում:
18.5 Խմբագրական սխեմաները կազմվում են քարտեզների (հատակագծերի) արտատիպերի կապույտ պատճեների վրա, որոնց մասշտաբը 2-2.5 անգամ փոքր են տեղագրական հանույթների մասշտաբներից:
Խմբագրական սխեմաների վրա ցույց են տալիս.
1. հիդրոգրաֆիական օբյեկտները, գրառելով նրանց անվանումը, ցույց տալով նավագնացությունը, հոսանքի ուղղությունը և արագությունը, ջրի հորիզոնի բարձրությունները;
2. բնակավայրերի անվանումները, գոյություն ունեցող համայնքային և տեղական խորհորերի քանակը, երկաթուղային կայարանների անվանումները, նավամատույցների, խարիսխակայանների և հիմնական փողոցների անվանումները;
3. երկաթուղային գծերը, ավտոմայրուղիները, խճուղիները և բարեկարգ գրունտային ճանապարհները իրենց բնութագրող գրառումներով, նախատեսված պայմանական նշաններով, իրենց ուղղություններով;
4. վարչական և համայնքային սահմանները, քաղաքային տարածքների հողերի սահմանները;
5. բարձր լարման էլեկրահաղորդիչ գծերը, նշերով սյուների բարձրությունները;
6. քարտեզագրական օբյեկտների անվանումները (սարերի, բարձրությունների բնասահմանները և այլն):
19. ՏԵՂԱԳՐԱԿԱՆ ՀԱՏԱԿԱԳԾԵՐԻ ԿԱԶՄՈՒՄԸ ԵՎ ՆԱԽԱՊԱՏՐԱՍՏՈՒՄԸ ՀՐԱՏԱՐԱԿՄԱՆ
19.1 1:500, 1:1000, 1:2000,1:5000 մասշտաբների տեղագրական հատակագծերը, որպես կանոն պատրաստվում են տպագրման և տպագրվում են անվանակարգային (նոմենկլատուրային) թերթերի շրջանակում (3), կամ համատեղվող հատակագծերի տեսքով:
19.2 Համատեղվող հատակագծերը ստեղծվում են կապված քաղաքային տնտեսական օբյեկտների կառուցման և շահագործման, հարթեցման և բարեկարգման աշխատանքների ընթացքում և այլն:
Քաղաքների համար համատեղված հատակագծեր են հանդիսանում 1:2000 մասշտաբի և նրա շինարարական մասի 1:1000 կամ 1:5000 մասշտաբների քաղաքի ամբողջ տարածքի հատակագծերը:
19.3 1:2000 մասշտաբի համատեղվող հատակագիծը կազմվում է 1:500, 1:2000 մասշտաբի հանույթային նյութերից, իսկ1:5000 մասշտաբի համատեղված հատակագծերը կազմվում է 1:2000 - 1:5000 մասշտաբի հանույթային նյութերից:
Համատեղված հատակագծերը կարող են կազմվել մեկ կամ մի քանի մեծ ֆորմատի թերթերի վրա և պետք է բավարարեն սույն կանոնակարգի պահանջներին:
1:10000 մասշտաբի համատեղված հատակագծերը կազմվում են 1:2000 - 1:10000 մասշտաբի հանույթային նյութերից:
19.4 Հատակագծերի կազմումն ավելի խոշոր մասշտաբի հանույթային նյութերով կատարվում է ուրվագծային մասի և ռելիեֆի ընդհանրացումով, հաշվի առնելով ռելիեֆի անկումը տրված տվյալ մասշտաբի համար:
Ուրվագծային մասի և ռելիեֆի ընդհանրացումը կատարվում է համաձայն խմբագրական ցուցումների, որոնք որպես հիմնական պահանջներ պետք է շարադրված լինեն աշխատանքների տեխնիկական նախագծում:
Ընդհանրացման դեպքում անհրաժեշտ է հաշվի առնել հետևյալը.
19.4.1 Այն կառուցվածքները, որոնք իրենց չափերով չեն արտահայտվում հատակագծի մասշտաբով (ջրհորները, սյուները և այլն) հատակագծի վրա ցույց են տրվում պայմանական նշաններով, այնպես, որ նրանց կենտրոնը համընկնի պայմանական նշանի կենտրոնի հետ:
Թաղամասերի գծերը համեմատման ընթացքում պետք է համապատասխանեն նրանց ընդհանուր կառուցվածքներին բնության մեջ:
19.4.2 Գծային մասերի (երկաթուղային և ավտոմոբիլային ճանապարհներ, ծառուղիներ, կամուրջներ և այլն) կազմման ընթացքում անհրաժեշտ է, որպեսզի այդ մասերի առանցքը համընկնի պայմանական նշանի առանցքի հետ:
19.4.3 Շինությունների կուտակված տեղաբաշխությունների դեպքում թույլատրվում է առանձին շինությունները, որոնք չեն արտահայտվում կազմվող հատակագծի մասշտաբով, ցույց չտալ:
19.4.4 Ռելիեֆի ընդհանրացման դեպքում անհրաժեշտ է ձգտել նրան, որպեսզի ընդհանրացված հորիզոնականների պատկերումը չխանգարի հորիզոնականների միջև համաձայնությանը, որոնք կան ելակետային նյութում:
Քարտեզագրական նյութի վրա հիմնական ռելիեֆի ձևի (պատկերի) լավ փոխանցման համար թույլատրվում է հորիզոնականների տեղաշարժումը համեմատ իրենց դիրքի այն մեծությամբ, որը չի գերազանցում կազմվող հատակագծի հիմնադրման մեծության 1/4 - ը:
Տարրերի մանրամասն թվարկումը, որը ենթակա է ընդհանրացման, բերվում է խմբագրական ցուցումներում:
19.5 Քարտեզների կազմողական եղանակով տեղագրական հատակագծերի ստեղծումը, կախված օգտագործվող նյութերից և տեղանքի բարդությունից (ուրվագծերի քանակից, աշխատանքային օբյեկտներից, ռելիեֆի տարրերից և բնակավայրերի կառուցապատման ձևից), կարող են կատարվել հետևյալ ձևերով.
1. ելակետային նյութի կապույտ պատճենով;
2. մաքուր հիմքի վրա, օգտագործելով նախագծային սարքավորումները;
3. ելակետային նյութերի շագանակագույն կամ սև պատճեններով:
19.6 Բնօրինակների կազմումը, որպես կանոն կատարվում է չորս գույնով, համաձայն գործող պայմանական նշանների: Այն հատակագծերը, որոնք ունեն ոչ շատ գրաֆիկական ծանրաբեռնվածություն և ենթակա չեն հրատարակման, թույլատրվում է բնօրինակների կազմումը կատարել մեկ գույնով:
19.7 Տեղագրական հատակագծերը կարող են ձևավորվել հրատարակչական տեսքի բնօրինակներով կամ կազմողական (հանույթային) տեսքի բնօրինակներով:
Կազմողական կամ հրատարակչական բնորինակների և նրանից պատճենների ստացման դեպքում պայմանավորվածություն է ձեռք բերվում աշխատանքային տեխնիկական նախագծի հետ:
Կազմողական բնօրինակները պետք է հնարավորություն տան նրանցից պատրաստելու պարզ ֆոտոպատճեններ:
Հրատարակչական բնօրինակները պատրաստվում են նրանցից տպաքանակային (վիրագրական) արտատիպեր ստանալու անհրաժեշտության դեպքում:
19.8 Շրջանակից (ռամկայից) դուրս կազմողական բնօրինակի ձևավորման մեջ պետք է ընդգրկվեն այն բոլոր տեղեկությունները, որոնք տեղավորվում են հատակագծի վրա, և որոնք ենթակա են հրատարակման:
1:1000, 1:2000 և 1:5000 մասշտաբի հատակագծերի ձևավորման համար խորհուրդ է տրվում (երաշխավորվում է) օգտագործել պոզիտիվ (դրական) շրջանակներ (ռամկայի) իրենց ձևավորմամբ, պատրաստվող պատճենների վրա տպելու համար:
19.9 Հրատարակվող բնօրինակները, անկախ նրանց պատրաստման ձևից, պետք է բավարարեն հետևյալ պահանջներին.
19.9.1 Լիարժեք և ճիշտ արտահայտել դաշտային կամ կազմողական բնօրինակների բովանդակությունը:
19.9.2 Բնօրինակների գրագրությունների պայմանական նշանները և տառաշարերը նկարով և չափերով պետք է համապատասխանեն պայմանական նշանների հավելվածներում բերված պայմանական նշաններին և տառաշարերին (շրիֆտ):
19.9.3 Բոլոր տարրերի պատկերումը և գրագրությունները պետք է լինեն պարզ, ունենան միևնույն և բավարար խտություն, տարբեր նշանների մոտեցման տեղերում նրանց միջև նվազագույն հեռավորությունը պետք է լինի 0.2 մմ-ից ոչ պակաս:
19.9.4 Քարտեզի մեկ թերթի տարբեր բնօրինակների տարրերի բովանդակությունը պետք է համաձայնեցված լինեն միմյանց հետ, այնպես, որ հատակագծի հրատարակման ժամանակ ապահովվի անհրաժեշտ համակցում և համաձայնեցում այն տարրերի հետ, որոնք տպագրվում են տարբեր գույնի ներկերով:
19.9.5 Տպագրական բնօրինակների կողմերի չափերի և շրջանակների (ռամկաների) անկյունագծերը պետք է տարբերվեն տեսականից ոչ ավելի, քան 0.2 մմ այն բնօրինակների համար, որոնք պատրաստված են թափանցիկ պլաստիկների վրա և ոչ ավելի, քան 0.5 մմ այն բնօրինակների համար, որոնք պատրաստված են գծագրական թղթի վրա:
19.10 Տպագրական բնօրինակների պատրաստման հիմնական ձևերից են հանդիսանում.
1. փորագրումը կամ գծագրումը թափանցիկ քիչ դեֆորմացվող պլաստիկատի վրա;
2. գծագրումը պլաստիկատի վրա հատուկ գունավոր տուշով, ֆոտոմեխանիկական իրար հաջորդող հպումային կամ էլեկտրոնային գունաբաժանմամբ;
3. գծագրումը թղթի վրա, որը սոսնձված է ալյումինե կամ ուրիշ քիչ դեֆորմացվող նյութի վրա:
Փորագրման եղանակով հրատարակչական բնօրինակի նախապատրաստման ժամանակ որպես կանոն փորագրվում և պատրաստվում են առանձին տարրերի բովարդակության բնօրինակները (ուրվագիծ, ռելիեֆ, հիդրոգրաֆիա): Պլաստիկատների վրա գունավոր տուշով գծագրման տեխնոլոգիայով նախատեսվում է պատրաստել երկու հրատարակչական բնօրինակներ. առաջինը - համատեղված բազմագույնային ստվերագծային ծանրաբեռնվածությամբ, գունավոր ներկերով նրա տպագրության համար և երկրորդը - մնացած ծանրաբեռնվածությամբ սև ներկով տպագրության համար:
Քիչ դեֆորմացվող հիմքի վրա սոսնձված ( ամրացված) գծագրական թղթի (վատմանի) վրա գծագրումը տպագրական բնօրինակի նախապատրաստման ժամանակ կազմողական (դաշտային) բնօրինակից պատրաստվում է կապույտ պատճենը:
Նպատակահարմար է հատակագծերի հրատարակման նախապատրաստումը կատարել առանձին գծագրման եղանակով կամ անհրաժեշտության դեպքում, փորագրության հետ համատեղ, այնպես, որ ապահովվի թողարկվող արտադրանքի բարձր որակը:
19.11 1:2000 մասշտաբի հատակագծերը պետք է հրատարակել, որպես կանոն միագույն, բայց լրացուցիչ պահանջների դեպքում չի բացառվում նաև երեք գույներով ստվերագծային տեղագրական հատակագծերի հրատարակումը:
Քաղաքների և բնակավայրերի 1:5000 մասշտաբի հատակագծերը պետք է հրատարակել - տպաքանակի 2/3-ի չափով ամուր ծածկույթի վրա երեք գույնի (սև, կապույտ, շագանակագույն) ստվերագծերով, լցնելով (ծածկելով) ջրային տարածքները և անցուղիները և 1/3 - ը միագույն:
20. ՏԵՂԱԳՐԱԿԱՆ ՀԱՏԱԿԱԳԾԵՐԻ ԹԱՐՄԱՑՈՒՄԸ
20.1 Տեղագրական հատակագծերի թարմացումը կատարում են նրանց բովանդակությունը տեղանքի ժամանակակից ընթացիկ վիճակի բերելու նպատակով: 1:500, 1:1000, 1:2000, 1:5000 մասշտաբների հատակագծերի բովանդակության ուղղման ճանապարհով պահպանում են տեղանքի ժամանակակից վիճակի մակարդակը, որը իրականացնում են ընթացիկ փոփոխությունների հանույթի, նոր կառուցապատումների կատարողական հանույթների, դաշտային հետազոտումների և աերոֆոտոհանույթային նյութերի միջոցով:
Թարմացված հատակագծերի ճշտությունը և խտությունը պետք է բավարարեն [3,13] և սույն հրահանգի պահանջներին:
20.2 Կախված տեղանքի բնութագրման և ինտենսիվ փոփոխություններից, թարմացվող հատակագծերի նշանակությունից և մասշտաբից, ինչպես նաև փոփոխությունների հաշվառման դրվածքից, անընդհատ իրականացվում է (տեղագրական մոնիտորինգ) կամ հաճախակի թարմացվում են տեղագրական հատակագծերը:
Այն տեղամասերում, որտեղ տնտեսական գործունեության հետևանքով կատարվել են տեղանքի ռելիեֆի և ուրվագծերի զգալի փոփոխություններ և հատակագծի բնօրինակների ուղղումը տեխնիկական պատճառներով հնարավոր չէ, կամ տնտեսական տեսակետից նպատակահարմար չէ, ապա տեղագրական հանույթը կատարվում է նորից:
20.3 Հատակագծերի թարմացումը կատարվում է հետևյալ եղանակներով.
1. հատակագծերի բովանդակությունների ուղղում կամերալ ճանապարհով` նոր կառուցված օբյեկտների հանույթների, դաշտային հետազոտական և աերոֆոտոհանույթային նյութերով: Այն տեղամասերում, որտեղ վերջերս կատարվել են ավելի խոշոր մասշտաբի տեղագրական հանույթներ, թարմացումը կատարվում է այդ հանույթային նյութերով;
2. վերգետնյա տեղագրական հանույթների եղանակով, տեղանքում փոփոխությունների ուղղումը և ընդունումը:
20.4 1:2000 և 1:5000 մասշտաբի հատակագծերի թարմացման հիմնական եղանակ են հանդիսանում կամերալ ուղղումները, նրանց պահպանումը աերոֆոտոնկարներով, հետագա հետազոտումների միջոցով:
Տախեոմետրիական, արբանյակային և մենզուլային հանույթների եղանակներով հատակագծերի թարմացումը կատարվում է այն դեպքում, երբ աերոֆոտոհանույթային աշխատանքների կատարումը նպատակահարմար չէ:
20.5 Տեղագրական հատակագծերի թարմացումը կատարվում է համաձայն դաշտային և կամերալ աշխատանքների տեխնիկական նախագծի՝ կազմված աերոֆոտոհանույթային, գեոդեզիական և տեղագրական նյութերի սիստեմատիզացման և հավաքման, տեղանքում կատարված փոփոխությունների բնութագրման և քանակական վերլուծությունից (զննումից):
20.6 Թարմացվող հատակագծի վերլուծության (անալիզի) ճշտությունը կատարվում է հետևյալ եղանակներով.
1. գեոդեզիական և տեղագրական աշխատանքների հաշվետվության նյութերով, կատարված հատակագծի ստեղծման ընթացքում (հատակագծերի տեղեկագրքերով, տարբեր գործընթացներից ստացված ստուգումներից և այլն),
2. ավելի ուշ կատարված հանույթների հետ համեմատման ճանապարհով, թարմացվող հատակագծի վրա գեոդեզիական կետերի անցկացումով, որոնք ստացվել են հատակագծի կազմումից հետո:
Թարմացվող հատակագծի որակը ստուգվում է նաև բովանդակության ժամանակակից համապատասխանության պահանջներով, պայմանական նշաններով և կոորդինատային համակարգերով:
Եթե ավելի ուշ ժամանակի, հանույթային նյութերը բացակայում են, իսկ տվյալները չեն բավարարում հատակագծերի որակի ստույգ քննարկման համար, ապա նրանց ճշտության ստուգումը կատարվում է ֆոտոգրամետրիական ցանցերի ստեղծման (կառուցման) ճանապարհով:
Հատակագծերը թարմացման համար համարվում են պիտանի, եթե ֆոտոգրամետրիական ցանցի և հատակագծի համապատասխան կետերի պլանային դիրքի միջին տարբերությունը չի գերազանցում 0.6 մմ-ը կառուցապատված և հարթավայրային տարածքների համար, և 1.0 մմ - բլրոտ, լեռնային և անապատ տարածքների համար, իսկ բարձունքային տարբերությունը ֆոտոգրամետրիական ցանցի կետերի և համապատասխան բարձրությունների միջև, որոնք գրված են հատակագծերի վրա չեն գերազանցում ընդունված ռելիեֆի անկման 1/2-ը:
Ռելիեֆի պատկերման ճշտությունը ստուգվում է աերոֆոտոլուսանկարների վրա ստերեոսկոպիական դիտումներով, նրա ձևի համեմատման ճանապարհով թարմացվող հատակագծի վրա պատկերված ռելիեֆի ձևի հետ:
Հատակագծի ճշտության ստուգումն աերոֆոտոլուսանկարով, որպես կանոն չի կատարվում, եթե հատակագիծը կազմվել է ստերեոտեղագրական, համակցված (կոմբինացված) կամ վերգետնյա հանույթների նյութերով և կատարվել է գործող հրահանգի պահանջներով:
Հատակագծերի այն հատվածները, որոնց սահմաններում պլանային և բարձունքային տարբերությունները գերազանցում են ցուցումնային արժեքները, ենթակա են կրկնակի հանույթագրման:
20.7 Հատակագծերի թարմացման ընթացքում, որպես պլանային հիմք են ծառայում գեոդեզիական և հանույթային ցանցերի կետերը, ցայտուն ուրվագծերը և տեղանքի առարկաները, իսկ բարձունքային հիմքը - նիվելիրային նշանները, գեոդեզիական և հանույթային ցանցերի կետերը, ինչպես նաև այն բնութագրող կետերը, որոնց բարձրությունները գրված են հատակագծի վրա (եթե վերջին տվյալները չեն փոխվել):
20.8 Ֆոտոգրամետրիական խտացման ցանցերի կառուցման համար օգտագործվում են աերոֆոտոնկարների կապող պլանային նյութերը, որոնք ծառայում են որպես հիմք թարմացվող հատակագծերի կազմման համար:
Այն դեպքում, երբ պլանային կապերի նյութերը չեն պահպանվել, կամ չեն բավարարում ֆոտոգրամետրիական խտացման համար, որպես լրացուցիչ պլանային հիմք կարելի է օգտագործել ցայտուն եզրագծային կետերը, վստահ ճանաչված նոր աերոֆոտոլուսանկարների վրա: Այդպիսի կետերի ճանաչման միջին սխալանքը չպետք է գերազանցի 0.15 մմ, իսկ սահմանայինը - 0.3 մմ:
20.9 Հատակագծերի թարմացման տեխնոլոգիան ընտրվում է ելնելով փոփոխությունների ծավալից, տեղանքի բնութագրից, օգտագործվող նյութերից և գործիքներից:
Կախված տեղանքի ռելիեֆից, փոփոխությունների քանակից և բնույթից, և օգտվելով աերոֆոտոհանույթային նյութերից օգտագործվում են տեղագրական հատակագծերի թարմացման հետևյալ եղանակները.
1. թարմացում վեկտորացման ճանապարհով նոր ֆոտոհատակագծի հիման վրա;
2. թվայնացված հատակագծի ուղղում անալիտիկ կամ թվայնացնող ստերեոֆոտոգրամետրիական սարքերով;
3. թվայնացված հատակագծի ուղղում ֆոտոգրամետրիական թվայնացնող սարքերով մեկական նկարով:
Հարթավայրային տարածքներում տեղանքի բավականաչափ փոփոխությունների դեպքում հատակագծերի ուրվագծային տարրերի թարմացման համար օգտագործվում են թվային ֆոտոհատակագծեր, պատրաստված նոր աերոֆոտոհանույթային նյութերից: Ֆոտոհատակագծով կատարվում է վեկտորացում հատակագծի վրա պատկերվող տեղանքի վիճակի փոփոխված բոլոր տարրերը: Տեղանքի ուրվագծերը և օբյեկտները, որոնք վերծանվել են ոչ լրիվ համոզվածությամբ, և որոնք պահանջ ունեն դաշտում ստուգման և ճշտման, ենթակա են խմբագրման դաշտային հետազոտումներից հետո:
Տրանսֆորմացված աերոֆոտոլուսանկարի (օրթոֆոտոլուսանկար) կողմնորոշումը կատարվում է ամբողջությամբ չփոփոխված ուրվագծերով:
Ուրվագծերի քիչ քանակության դեպքում աերոֆոտոլուսանկարի կողմնորոշման համար պետք է օգտագործվեն ֆոտոգրամետրիական խտացման կետեր:
Ստերեոֆոտոգրամետրիական սարքերի վրա թվային հատակագծերի թարմացումը կատարվում է բլրոտ և լեռնային տարածքների համար և նաև բազմահարկ կառուցապատ տարածքների համար, եթե ուրվագծային փոփոխությունները զգալի են և եթե անհրաժեշտ է ուղղել կամ նորից կազմել հատակագծի առանձին հատվածները: Անհրաժեշտության դեպքում կարող է թարմացվել նաև ռելիեֆի պատկերումը:
Թվային հատակագծի ուղղումը թվային ֆոտոգրամետրիական սարքերի վրա մեկական նկարով կատարվում է աննշան ռելիեֆ ունեցող և ցածրահարկ կառուցապատ տարածքների համար: Այդ դեպքում ուղղվում է միայն հատակագծի ուրվագծային մասը, իսկ որպես բարձունքային հիմք, օգտագործվում է թարմացվող հատակագծի ռելիեֆի մասին թվային տեղեկատվությունը:
20.10 Կամերալ ուղղված հատակագծերի դաշտային հետազոտական աշխատանքները կատարվում են նրանց բովանդակությունները լրացնելու անհրաժեշտ քանակական և որակական բնութագրերով, անձնական անվանումներով, ինչպես նաև տեղանքի այն օբյեկտները, որոնք ֆոտոնկարների վրա չեն պատկերված: Այն դեպքերում, երբ տեղանքի փոփոխությունները կատարվել են գլխավոր օբյեկտների նկատմամբ, որոնք կամերալ չեն ճանաչվում աերոֆոտոլուսանկարի վրա, հատակագծերի թարմացումները կարող են սկսվել դաշտային վերծանումներով:
20.11 Ուրվագծային մասով լրացուցիչ հանույթները կատարվում են տախեոմետրիական, արբանյակային կամ մենզուլային հանույթների եղանակներով, պահպանելով տվյալ մասշտաբի հանույթի նկատմամբ տրված պահանջները:
Տեղանքի վիճակի ոչ շատ փոփոխությունների դեպքում հանույթների ընթացիկ փոփոխությունները կատարվում են ցայտուն ուրվագծերից չափումների եղանակով, որոնք պահպանել են իրենց դիրքը տեղանքում:
20.12 1:500 և 1:1000 տեղագրական հանույթների բովանդակությունը թարմացվում է կատարողական հանույթային նյութերից մշտական լրացումների ճանապարհով:
Տեղագրական հանույթների ժամանակակից մակարդակի վրա մշտական պահպանումը իրագործվում է տեղագրական մոնիտորինգի հիման վրա, որի ժամանակ ապահովվում է մշտական և անընդմեջ լիարժեք տեղեկությունների ներմուծում բոլոր կատարված փոփոխությունների մասին:
Նոր տեղեկատվությունն անցկացվում է գոյություն ունեցող հատակագծի բնօրինակի վրա թվային տեսքով ներմուծված նյութերով կամ դաշտային հանույթից հետո:
20.13 Հատակագծերի թարմացման աշխատանքների կատարման արդյունքում պետք է ներկայացվեն հետևյալ նյութերը.
1. թարմացված հատակագծերի բնօրինակները թվային կամ գրաֆիկական տեսքով;
2. հատակագծերի տեղեկագրքերը (ֆորմուլյարները), որոնք արտահայտում են թարմացման աշխատանքները;
3. աերոֆոտոլուսանկարի լրակազմը (կոմպլեկտը), որոնք օգտագործվել են դաշտային ուղղումների ընթացքում;
4. դաշտային մատյանները;
5. բարձունքային պատճենը (կալկա) մոմաթղթի վրա (եթե այն կազմվել է);
6. կոորդինատների և բարձրությունների հաշվարկման ամփոփագրերը;
7. դաշտային աշխատանքների ստուգումների և ընդունման ակտը:
21. ՏԵԽՆԻԿԱԿԱՆ ՀԱՇՎԵՏՎՈՒԹՅԱՆ ԿԱԶՄՈՒՄԸ
21.1. Տեխնիկական հաշվետվության կազմումը հանդիսանում է օբյեկտում կատարված աշխատանքների կատարման վերջնական փուլը:
21.2. Տեխնիկական հաշվետվությունը կազմվում է համաձայն «Կանոնակարգ գեոդեզիական, երկրաբանական, գրավիմետրիական և տեղագրական աշխատանքների տեխնիկական հաշվետվության կազմման» [10] և [16] պահանջների:
21.3. Տեխնիկական հաշվետվության բովանդակությունում պետք է ընդգրկված լինեն տեղեկություններ յուրաքանչյուր տեսքի աշխատանքների մասին, սպառիչ և լիարժեք բնութագրվեն կատարված աշխատանքների եղանակները և որակը, ինչպես նաև կատարման տեխնոլոգիայի բոլոր առանձնահատկությունները:
21.4. Օբյեկտում ամբողջ կոմպլեքս աշխատանքների համար, ինչպես կարգն է, կազմվում է մեկ կոմպլեքս տեխնիկական հաշվետվություն:
Եթե տեխնիկական նախագծով նկատի է առնված տվյալ օբյեկտում աշխատանքների կատարումը մի քանի տարվա ընթացքում, ապա թույլատրվում է ըստ աշխատանքների տեսակի կազմել առանձին տեխնիկական հաշվետվություն (գեոդեզիական, տեղագրական և այլն), կամ տեխնիկական հաշվետվությունների կազմումը յուրաքանչյուր տարվա համար:
Տեխնիկական հաշվետվությունների քանակը, նրանց առանձին կազմման դեպքում, մեկ օբյեկտում չպետք է լինի երեքից ավելի: Տեխնիկական հաշվետվության կոմպլեքս կամ առանձին կազմման համար նախօրոք նշված է լինում տեխնիկական նախագծում:
21.5. Տեխնիկական հաշվետվությունները, կախված նրանց ձևից բրոշյուրավորվում են 1-3 գրքերով, գեոդեզիական աշխատանքների վերաբերյալ, կատարված ոչ մեծ քաղաքներում և բնակավայրերում, ինչպես նաև կառուցապատված տարածքներում աննշան ծավալի աշխատանքների դեպքում, թույլատրվում է նրանց բրոշյուրավորումը կատարել համատեղ եռանկյունավորման, պոլիգոնոմետրիական և նիվելիրացման կետերի կոորդինատային և բարձունքային կատալոգների, ինչպես նաև չափված հորիզոնական ուղղությունների հավելվածների հետ միասին:
21.6. Բնակավայրերի գեոդեզիական աշխատանքների համար տեխնիկական հաշվետվությունը կազմվում է տեղական կոորդինատային համակարգում: Պետական կոորդինատային համակարգի կատալոգների համար կազմվում է ավելի մանրամասն բացատրագիր:
21.7. Տեղագրական աշխատանքների վերաբերյալ տեխնիկական հաշվետվությունը համաձայն տեխնիկական նախագծի, կազմվում է նախատեսված հերթականությամբ պետական կամ տեղական կոոդինատային համակարգում:
21.8. Կոմպլեքս և առանձին տեխնիկական հաշվետվություններն առանձին (տարբեր) տեսակի աշխատանքների համար կամ յուրաքանչյուր տարվա համար պետք է բովանդակված լինեն հետևյալ տեղեկություններով.
21.8.1. Ընդհանուր տեղեկություններ.
1. կազմակերպության անվանումը;
2. յուրաքանչյուր աշխատանքի արտադրության (կատարման) տարեթիվը;
3. կանոնակարգերի և այլ նորմատիվ ակտերի թվարկում, որոնցով ղեկավարվել են համապատասխան աշխատանքների կատարման ընթացքում;
4. ֆիզիկա-աշխարհագրական պայմանները և աշխատանքային տարածքի ադմինիստրատիվ պատկանելությունը;
5. աշխատանքների նշանակությունը և բովանդակությունը;
6. հանույթի մասշտաբը;
7. ռելիեֆի անկումը;
8. հանույթի կատարման եղանակները:
21.8.2. Տեղեկություններ նախկին տարիներում կատարված աերոֆոտոհանույթային և տեղագրագեոդեզիական աշխատանքների մասին.
1. աշխատանքների կատարման թվարկումը և տարեթիվը;
2. աշխատանքները կատարող կազմակերպության անվանումը;
3. աշխատանքների օգտագործման աստիճանը և ճշտությունը;
4. գեոդեզիական կետերի պահպանվածությունը, ելնելով հետազոտման արդյունքներից:
21.8.3. Տեղեկությունները կատարված աերոֆոտոհանույթային աշխատանքների մասին.
1. աերոֆոտոհանույթը կատարող կազմակերպության անվանումը;
2. աերոֆոտոհանույթի մասշտաբը;
3. աերոֆոտոլուսանկարների չափերը և ծածկույթը;
4. ԱՖԱ -ի բնութագրերը;
5. ցուցումներ հատուկ սարքերի մասին:
21.8.4. Գեոդեզիական հիմքի բնութագրերը.
1. ընդունված կոորդինատային և բարձունքային համակարգը;
2. կետերի խտությունը;
3. նշանների կառուցումը և կենտրոնների տեսակետը;
4. չափումների եղանակները և ճշտությունը;
5. օգտագործվող գործիքները;
6. հավասարակշռման եղանակները:
21.8.5. Տեղեկություններ պլանային և բարձունքային հանույթային հիմքի մասին.
1. հանույթային հիմքի նշանակությունը և խտությունը;
2. կետերի ամրացումը;
3. չափումների եղանակները և ճշտությունները:
21.8.6. Տեղեկություններ աերոֆոտոնկարների վերծանման, ուրվագծերի և ռելիեֆի հանույթի մասին.
1. եղանակները;
2. մասշտաբը;
3. ռելիեֆի անկումը;
4. հիմքը, որի վրա կատարվել են աշխատանքները;
5. նախկինում կատարված հանույթային նյութերի օգտագործումը;
6. հանույթային ընթացքների անցկացման եղանակները;
7. հանույթային ընթացքների ճշտությունը;
8. աշխատանքների ստուգման արդյունքները:
Տեղեկություններ կամերալ աշխատանքների մասին.
1. պլանաբարձունքային ֆոտոգրամետրիական ցանցերի կառուցում;
2. ֆոտոհատակագծի պատրաստումը;
3. հատակագծի բնօրինակի կազմումը;
4. սարքավորումների բնութագրումը և նրանց ճշտությունը;
5. աշխատանքի որակի գնահատումը;
6. հատակագծերի նախապատրաստումը հրատարակման;
7. խմբագրական աշխատանքներ;
8. աշխատանքների ստուգում և ընդունում:
21.9. Գեոդեզիական աշխատանքների տեխնիկական հաշվետվությանը պետք է կցվեն առանձին պլանային և բարձունքային ցանցերի սխեմաները: Կոորդինատային ցանցը սխեմաների վրա չի անցկացվում:
Տեղագրական աշխատանքների տեխնիկական հաշվետվությանը պետք է կցվեն աերոֆոտոհանույթային և դաշտային տեղագրական աշխատանքների սխեմաները, առանձնացնելով այն հատակագծերը, որոնք կատարվել են տարբեր հանույթային եղանակներով և ռելիեֆի անկման սխեմաները:
22. ԱՐՏԱԴՐԱՆՔԸ ՀՍԿՈՂ ՏԵԽՆԻԿԱԿԱՆ ԲՆՈՒԹԱԳՐԵՐԸ
Տեղագրական 1:500, 1:1000, 1:2000, 1:5000 մասշտաբների հատակագծերն ունեն հետևյալ հսկման տեխնիկական բնութագրերը.
22.1. Հատակագծերի վրա տեղանքի առարկաների և ուրվագծերի ցայտուն ուրվապատկերումը մոտակա հանույթային հիմքի կետերի նկատմամբ - միջին սխալանքը 0.5 մմ-ից ոչ ավելի; լեռնային և անտառապատ տարածքներում - 0.7 մմ-ից ոչ ավելի:
22.2. Հատակագծերի վրա մոտակա ուրվագծային կետերի փոխադարձ դիրքերի սահմանային սխալանքը կապիտալ և բարձրահարկ կառուցապատ տարածքներում - 0.4 մմ-ից ոչ ավելի:
22.3. Ռելիեֆի հանույթի միջին սխալանքը մոտակա հանույթային հիմքի կետերի նկատմամբ - ոչ ավելի հետևյալ մեծություններից.
22.3.1. Ռելիեֆի անկման ընդունված բարձրության 1/4-ը - տեղանքի թեքման անկյան ոչ ավելի 20 դեպքում, բացառությամբ 1:2000 և 1:5000 մասշտաբների հատակագծի ռելիեֆի անկման 0.5 մ-ի դեպքում.
22.3.2. Ռելիեֆի անկման ընդունված բարձրության 1/3-ը տեղանքի թեքման անկյան 20 և ավելի, իսկ 1:2000 և 1:5000 մասշտաբների հատակագծերի համար ռելիեֆի անկման 0.5 մ-ի դեպքում, ինչպես նաև տեղանքի թեքման փոքր անկյունների դեպքում:
Մշակվել է ՀՀ կառավարությանն առընթեր անշարժ գույքի կադաստի պետական կոմիտեի գեոդեզիայի վարչության կողմից:
Հավելված N 32
Տեղագրական քարտեզների եվ հատակագծերի թերթերի կտրտման համակարգ (այսուհետ` նոմենկլատուրա)
1:10 000 մասշտաբի թերթերի կտրտման համակարգը
M—38—112—A—b—3
1 |
2 |
3 |
4 |
1:5000 և 1:2000 մասշտաբների թերթերի կտրտման համակարգ (նոմենկլատուրա)
M—38—112—(124)
1 |
2 |
3 |
4 |
5 |
6 |
7 |
8 |
9 |
10 |
11 |
12 |
13 |
14 |
15 |
16 |
17 |
|
19 |
|
21 |
|
23 |
|
25 |
|
27 |
|
29 |
|
|
32 |
33 |
|
|
36 |
|
38 |
|
40 |
|
42 |
|
44 |
|
46 |
|
48 |
49 |
|
51 |
|
53 |
|
55 |
|
57 |
|
59 |
|
61 |
|
|
64 |
65 |
|
|
68 |
|
70 |
|
72 |
|
74 |
|
76 |
|
78 |
|
80 |
81 |
|
83 |
|
85 |
|
87 |
|
89 |
|
91 |
|
93 |
|
|
96 |
97 |
|
|
100 |
|
102 |
|
104 |
|
106 |
|
108 |
|
110 |
|
112 |
113 |
|
115 |
|
117 |
|
119 |
|
121 |
|
|
124 |
|
126 |
|
128 |
129 |
130 |
|
132 |
|
134 |
|
136 |
|
138 |
|
140 |
|
142 |
|
144 |
145 |
|
147 |
|
149 |
|
151 |
|
153 |
|
155 |
|
157 |
|
159 |
160 |
161 |
|
|
164 |
|
166 |
|
168 |
|
170 |
|
172 |
|
174 |
|
176 |
177 |
|
179 |
|
181 |
|
183 |
|
185 |
|
187 |
|
189 |
|
191 |
192 |
193 |
|
|
196 |
|
198 |
|
200 |
|
202 |
|
204 |
|
206 |
|
208 |
209 |
|
211 |
|
213 |
|
215 |
|
217 |
|
219 |
|
221 |
|
223 |
224 |
225 |
|
|
228 |
|
230 |
|
232 |
|
234 |
|
236 |
|
238 |
|
240 |
241 |
242 |
243 |
244 |
245 |
246 |
247 |
248 |
249 |
250 |
251 |
252 |
253 |
254 |
255 |
256 |
1:5000
M—38—112—(124-д)
а |
б |
в |
г |
д |
е |
ж |
з |
u |
1:2000
Ուղղանկյուն համակարգում կտրատված 1:5000 մասշտաբի
թերթերի շրջանակի (ռամկայի) չափսերը - 40x40 սմ
1:2000, 1:1000 և 1:500 մասշտաբի համար - 50x50 սմ
4—Б
А | Б |
В | Г |
1:2000
4—Б—II
I | II |
III | IV |
1:1000
4—Б—10
1 |
2 |
3 |
4 |
5 |
6 |
7 |
8 |
9 |
10 |
11 |
12 |
13 |
14 |
15 |
16 |
1:500
Հավելված N 33
(պարտադիր)
Տեղագրական հատակագծի տեղեկաքարտ (ֆորմուլյար)
_____________________________________________________________ (կազմակերպության անվանումը)
Տեղագրական հատակագծի տեղեկաքարտ ___________________________________ (ֆորմուլյար) (նոմենկլատուրա)
Մասշտաբ 1:____________________ Կոորդինատային համակարգը______________ Ռելիեֆի անկումը________________մ. Բարձունքային համակարգը_______________ Հանույթի տեսակը____________________ Հատակագծի անկյունների գագաթների Հանույթի տարածքը__________________ կոորդինատները
1. Գլխավոր գեոդեզիական հիմքը ________________________________________ _____________________________________________________________ (կետերի դասը և անվանումը, հենանիշերի (ռեպերների) համարները)
2. Աերոֆոտոհանույթ: հանույթի տարին_______, ծածկագիրը________, մասշտաբը______
ԱՖԱ: տեսակը_________ N__________ մմ; ծածկույթը: երկայնակի _____________% լայնակի___________%
3. Ֆոտոգրամետրիական և ֆոտոլաբորատորային աշխատանքներ. Պլանաբարձունքային խտացման եղանակը ___________________________________ Ընդհանուր կետերի և ճանաչման կետերի չհամընկեցումը հատակագծում, մմ: միջինը_______, ամենամեծ_______, կետերի ընդհանուր քանակը_____ բարձրությամբ, մ: միջինը_______, ամենամեծ_______, կետերի ընդհանուր քանակը______ Ֆոտոհատակագծերի պատրաստումը Ֆոտոտրանսֆորմացիայի եղանակը _______________________________________ Գոտիների քանակը _________________. գոտու բարձրությունը _________________ Չհամընկեցումը ճեղքվածքներով, մմ միջինը, ամենամեծը Չհամընկեցումը կետերով, մմ: միջին____________, ամենամեծ ___________________ Չհամընկեցումը համատեղումներով, մմ միջին______________ ամենամեծ ___________ կողմերի չափերի շեղվածությունը տեսականից, մմ հյուսիսային________, հարավային_________, արևմտյան_______, արևելյան _______ d1____________________, d2____________________, 4. Դաշտային աշխատանքներ պլանաբարձունքային հիմքի զարգացման եղանակը _____________________________ _____________________________________________________________ (աշխատանքի եղանակը, անկապքը, գործիքները)
Աշխատանքն կատարվել է _________ մինչև _____________ 200 _____________ թ. _____________________________________________________________ (պաշտոնը, անուն, ազգանուն, ստորագրությունը, ամսաթիվը)
Ստուգումների ընթացքում չի համընկել. հատակագծում, մմ միջին_______, ամենաշատ________ կետերի ընդհանուր քանակը_____ բարձրությամբ, մ միջին_______, ամենաշատ_______ կետերի ընդհանուր քանակը_______ Աշխատանքն ընդունեց_______________________________________________ (պաշտոնը, անուն, ազգանուն, ստորագրությունը, ամսաթիվը) Որակի մասին վերստուգում իրականացնող անձի եզրակածությունը______________________________________________ (պաշտոնը, անուն, ազգանուն, ստորագրությունը, ամսաթիվը) 5. Ստերեոտեղագրական և գծագրական աշխատանքներ ռելիեֆի պատկերումը կատարվել է ____________ մինչև ________ 200 __________ թ. _____________________________________________________________ (պաշտոնը, անուն, ազգանուն, ստորագրությունը, ամսաթիվը) բնագրի կազմումը կատարվել է __________ մինչև __________ 200 ____________ թ. _____________________________________________________________ (պաշտոնը, անուն, ազգանուն, ստորագրությունը, ամսաթիվը)
Ստուգիչ կետերից չեն համընկել հատակագծում, մմ միջին________, ամենաշատ_______ կետերի ընդհանուր քանակը_____ բարձրությամբ, մ միջին________, ամենաշատ_______ կետերի ընդհանուր քանակը______ Աշխատանքն ընդունեց ______________________________________________ (պաշտոնը, անուն, ազգանուն, ստորագրությունը, ամսաթիվը)
Վերստուգում իրականացնող անձի եզրակացությունը______________________________________________ (պաշտոնը, անուն, ազգանուն, ստորագրությունը, ամսաթիվը)
Գծագրումը կատարվել է ____________ մինչև ______________ 200 __________ թ. _____________________________________________________________ (պաշտոնը, անուն, ազգանուն, ստորագրությունը, ամսաթիվը)
Ճշտումները (ուղղումները) կատարել է _____________________________________ (պաշտոնը, անուն, ազգանուն, ստորագրությունը, ամսաթիվը)
Աշխատանքն ընդունեց_______________________________________________ (պաշտոնը, անուն, ազգանուն, ստորագրությունը, ամսաթիվը)
Վերստուգում իրականացնող անձի եզրակացությունը______________________________________________ (պաշտոնը, անուն, ազգանուն, ստորագրությունը, ամսաթիվը) э Թողարկումը թույլատրում եմ___________________________________________ (պաշտոնը, անուն, ազգանուն, ստորագրությունը, ամսաթիվը)
Լրացուցիչ տեղեկություններ կազմակերպչական, տեխնոլոգիական, ստուգման և աշխատանքի որակի մասին. |
Հավելված N 34
Գլոբալ նավիգացիոն արբանյակային համակարգի ռադիոազդանշանների կառուցվածքը (տեղեկատվական) եվ նրա անցման վրա ազդող գործոնները
1. Գլոբալ նավիգացիոն արբանյակային համակարգի յուրաքանչյուր արբանյակ հաղորդում է ռադիոազդանշան երկու կրող հաճախականություններով - L1 և L2:
ГЛОНАСС համակարգում L1 - ի արժեքը կազմում է մոտ 1.6 ГГЦ, իսկ L2 - ի արժեքը - մոտ 1.2 ГГЦ:
GPS համակարգում L1 - ի արժեքը կազմում է մոտ 1575.42 МГЦ, իսկ L2 - ի արժեքը - մոտ 1227.60 МГЦ:
2. L1 - հաճախականության վրա հաղորդվում է ստանդարտ ճշտության ռադիոազդանշան, բարձր ճշտության ռադիոազդանշան և ծառայողական տեղեկատվություն; L1 - հաճախականության վրա - բարձր ճշտության ռադիոազդանշան և ծառայողական տեղեկատվության:
3. Ռադիոազդանշանների փոխանցման վրա ազդող գործոնների թվին են պատկանում՝ մեխանիկական խոչընդոտները, արտացոլող օբյեկտները, ռադիոխանգարումները, մթնոլորտային և գետնի մակերևույթի լուսաբեկումները (ռեֆրակցիա):
4. Այնպիսի խոչընդոտները, ինչպիսին են շենքերը և շինությունները, խիտ բուսականությունը և խոշոր առարկաները, երբ նրանք գտնվում են արբանյակի և ընդունիչի կապող ուղղու վրա (անկախ փնտրման շարունակելիությունից), բացառում են այդ արբանյակի հետ դիտումների հնարավորությունը: Էլեկտրահաղորդման գծերը, լարերը և (մինչև 2 - 3 սմ տրամագծով մալուխները) կաբելները ռադիոազդանշանների անցման համար խոչընդոտներ չեն հանդիսանում:
5. Այն օբյեկտները, որոնք գտնվում են ընդունիչին մետ (50 մ-ից քիչ) և արտացոլում են ռադիոազդանշանները, քիչ թե շատ տոկոսով, կախված հեռավորությունից և մակերեսից, ստեղծում են ճանապարհի ոչ միանշանակ երևույթը (էֆեկտ), որոնք իջեցնում (ցածրացնում) են արբանյակային որոշումների ճշտությունը: Այդպիսի օբյեկտներ են հանդիսանում արհեստական կառուցվածքները և խոշոր առարկաները, հատկապես մետաղականները: Ճանապարհի ոչ միանշանակ երևույթի (էֆեկտի) հայտնվելուց խուսափելու համար աշխատանքային գործընթացում (պրոցես) անհրաժեշտ է հետևել, որպեսզի արբանյակների դիտարկման կետերը չգտնվեն այն գոտիներում, որոնք մոտ են խոշոր մետաղական օբյեկտներին (բարձր լարման էլ. հաղորդիչ գծերի սյուներ, նավթատար տարաներ և այլն):
6. Ռադիոխոչընդոտները, որոնք ստեղծում են ռադիոազդանշաններ (հզոր ռադիոկայանները), գտնվելով ընդունիչից 1 կմ-ից քիչ հեռավորության վրա, ինչպես նաև կախված բարձր լարման էլեկտրահաղորդիչ գծերը, որոնք գտնվում են ընդունիչից 50 մ-ից քիչ հեռավորության վրա, իջեցնում են արբանյակային որոշումների ճշտությունը:
Անհրաժեշտ է խուսափել արբանյակային ընդունիչի տեղաբաշխումը այդպիսի օբյեկտներին մոտ:
7. Արբանյակային որոշումներ կատարելու ընթացքում խորհուրդ է տրվում դիտարկել այն արբանյակները, որոնց բարձրությունը հորիզոնի վրա կազմում է ոչ պակաս 150, քանի որ հակառակ դեպքում ստացված արդյունքները կլինեն բավականին աղավաղված մթնոլորտային լուսաբեկումների (ռեֆրակցիայի) ազդեցությունից:
Հավելված N 35
Գեոդեզիական նշանների տեսակները
նկ. 4.2. Եռոտանի-բուրգ, պողպատե անկյունակից (50x50x5 կամ 35x35x4) հանովի փոքրաֆազային դիտոցային նշանառուով, 1.2-ից մինչև 0.4 մ բարձրությամբ մինչև սեղանիկ:
Ծանոթություն: Եռոտանի-բուրգի կոնստրուկցիան ունիվերսալ է: Ժայռային ապառներում բետոնե մոնոլիտները փոխարինվում են խարիսխով կազմված պողպատյա սալիկից (200x200x4մմ) ամրացված հեղույսով նշանի ոտքի հետ: Վերևից լցվում է քարի ծածկույթ: Դիտարկումների ժամանակ դիտոցային նշանը հանվում է և անհրաժեշտության դեպքում կարող է բարձրացվել սեղանիկից 3.5; 7.0; 10.5 մ վերև:
նկ. 4.3 Դիտարկումներ կատարելու համար մետաղյա շարժական հրապարակ բուրգ-եռոտանիներից: Պատրաստվում է պողպատե անկյունակներից |
նկ. 4.4 Г - տեսքի նշաձող (փայտյա կամ մետաղյա) |
նկ. 4.5 Եռանկյունավորման աշտարակ (տուր) հանովի |
|
|
Նկ. 4.6. Բուրգ-եռոտանի հանովի դիտոցային |
Նկ. 4.7. Հանովի մետաղական նշանաձող դիտոցային |
Հավելված N 36
(պարտադիր)
Կենտրոնների տեսակները
1- բետոնե խարիսխ 50սմ տրամագծով, 2- չուգունե թասակ կափարիչով, 3- ասֆալտ կամ հողի մակերես մաքրված ճմահողից, 4- բետոնե շաղախ, 5-բետոնե շրջանակ (թասակի բարձիկ), 6- Ազբոցեմենտե կամ երկաթբետոնե խողովակ (12-16 սմ տրամագծով) լցված բետոնե շաղախով, կամ երկաթբետոնյա հենասյուն կլոր (12-16 սմ) կամ ուղղանկյուն կտրվածքով, կամ ռելս, 7-ռելս, 8-մետաղական հարթակ, 9-հեղույս (16-20 մմ տրամագծով), 10-մետաղյա բռնակ, 11-կապը բետոնե շաղախում, 12-Ցեմենտե շաղախի շերտ (2-3 սմ), 13-անկյունակ (50x50 մմ) |
1- Ասֆալտ կամ հողի մակերևույթ մաքրված ճմահողից, 2. -Մետաղյա բռնակ (ամրիչ), 3. - Ցեմենտյա շաղախի շերտ, 4 - Բետոնե մոնոլիտներ քառակողմ բուրգի տեսքով:
Ծանոթություն: Կենտրոնն ամրացվում է չկառուցապատված տարածքներում, ինչպես նաև կառուցապատված տարածքներում, որտեղ հնարավոր չէ պատի նշանների ամրացում: |
1 - չուգունե թասակ կափարիչով, 2 - ասֆալտ կամ հողի մակերևույթ մաքրված ճմահողից, 3 - ամրիչներ ցեմենտյա շաղախով, 4 - բետոնե շրջանակ կամ աղյուսի շար, 5 - հակակոռոզիոն շերտ, 6 - մետաղական ամրիչներ, 7 -բետոնյա մոնոլիտ քառանիստ կտրվածքով բուրգի տեսքով, 8 - մետաղական (35-60 մմ տրամագծով), ազբոցեմենտյա, երկաթբետոնյա խողովակ լցված ցեմենտյա շաղախով, Երկաթբետոնյա կլոր հենասյուն (80-160 մմ) կամ ուղղանկյուն կտրվածքով, ցանկացած կտրվածքի ռելս:
Ծանոթություն: Կենտրոնն ամրացվում է չկառուցապատված տարածքներում, ինչպես նաև կառուցապատ տարածքներում այնտեղ, որտեղ հնարավոր չէ պատի նշանի ամրացում: |
Տեսակը 8գռ. 1- անցք 2մմ տրամագծով դիտոցային սարքի տեղակայման համար, 2- գրառում, որը սկսվում է գեոդեզիական աշխատանքները կատարող կազմակերպության անվանման առաջին տառերից:
Ծանոթություն: Պատի նշանն օգտագործվում է որպես պատի հենանիշ (ռեպեր) նիվելիրային 3 և 4 դասերի համար, ինչպես 6 գռ. տիպի կենտրոնի մակերեսը և որպես վերգետնյա աշխատանքային կենտրոնի վերականգնման համար: |
| |
Նկար 5.7. Եռանկյունավորման, պոլիգոնոմետրիական, տրիլատերացիոն 2,3,4 դասերի կետերի արտաքին ձևավորումը տեղանքում չկառուցապատված տարածքներում: |
Նկար 5.8. Եռանկյունավորման, պոլիգոնոմետրիական, տրիլատերացիոն 2,3,4 դասերի և Եռանկյունավորման, պոլիգոնոմետրիական, տրիլատերացիոն 1 և 2 կարգերի կետերի արտաքին ձևավորումը տեղանքում չկառուցապատված տարածքներում: |
Հավելված N 37
(խորհուրդ է տրվում)
Երկարաժամկետ ԵՎ ժամանակավոր ամրացվող հանույթային հիմքի կետերի (նշանների) տեսակները
Հանույթային հիմքի երկարաժամկետ ամրացման կետերի (նշանների) տեսակներ
Նկար. 6.1. |
Նկար. 6.2. |
Նկար. 6.3. |
Նկար. 6.4. |
Հանույթային հիմքի ժամանակավոր ամրացման կետերի տեսակներ (պլանային և բարձունքային)
| |||
Նկար. 6.5. Հանույթային հիմքի |
Նկար. 6.6. Մետաղական |
Նկար. 6.7. Ցցանիշ |
Նկար. 6.8. Փայտյա սյուն, |
| |
Նկար. 6.9. Խաչ (ներկով) |
Նկար. 6.10. Ձող, կոփված |
Հավելված N 38
(պարտադիր)
Պոլիգոնոմետրիական կետերի կենտրոնների ամրացման ԵՎ գեոդեզիական նշանների կառուցման քարտի օրինակ
քաղաք Երևան՝ 1 կարգի պոլիգոնոմետրիական կետի ամրացման (պոլիգոնոմետրիա, նիվելիրացում, դասը, կարգը)
Ամրացման վայրի նկարագրությունը
գտնվում է Լենինգրադյան և Հալաբյան փողոցների խաչմերուկում, անկյունների վրա, 14.75 մ հարավ-արևմուտք դպրոցի անկյունից, 11.47 հյուսիս-արևմուտք մայթի անկյունից, 16.91 մ հարավ- արևելք դիտահորի կենտրոնից, 2.06 մ հարավ N101 սյունից:
Կատարող _______________________
Ղեկավար _______________________ |
Կառուցման քարտ
11.02.105 |
|
Մ-42-125 |
Գոռնի «4» դաս |
|
N 171 նոր տեղում |
Կայանում կատարվել են աշխատանքներ՝ | կառուցվել է քառանիստ մետաղյա բուրգ H=5.10 մ |
|
(նոր տեղում, համակցված է) |
Նոր կենտրոնը համատեղված է՝ |
տեղադրված է նոր կենտրոն, տեսակը 1գ.ռ. |
| ||
Կառուցման գիծ |
հին կենտրոնի |
նոր կենտրոնի |
Կողմնորոշիչ կետերը որոշված են |
|
Ուղղությունների սխեման
| |||||||||||||||||||||||||||||||||||||||||||||||||||
Ծանոթություն: Տեխնիկ- |
Սարչապետ գյուղ. նրանից 1.0կմ հարավ արևմուտք, 0.9կմ արևելք բարեկարգ |
Կայանի մոտեցման ճանապարհների սխեմա
Բերման տարրերի գրաֆիկական որոշումը
Ստուգողական անկյուն ջրբաժան-լեռնային-հարավային որոշված գրաֆիկական 1450 00/
Ռեդուկցիան. e1=0.025մ; Q1=207030/ ուղղությունը՝ ջրբաժան կետը, չափված թեոդոլիտով 145015/
կետը հանձնված է պահպանման կետով 12.08.2001 թ. Մարգովսկի
ամսաթիվը
Տեղական ինքնակառավարման մարմին Արագածոտնի մարզ քաղաք Աշտարակ
կայանում շինարարական աշխատանքները և կենտրոնի ամրացումը կատարվել են 5 օգոստոսի 2001 թ-ից
մինչև 6 օգոստոսի 2001 թ.
տեղեկությունների ճշտությունը
հաստատում ենք մեր ստորագրություններով
շինարարական խմբի ղեկավար Պողոսյան Ա. Ա. անուն, ազգանուն, ստորագրություն |
Բանվորներ՝ 1. Թորոսյան Ս. Վ. |
2. Թադևոսյան Կ. Ս. |
Ստուգում և ընդունում
1. Նշանի հավաքման որակը ստուգված է զննումով 20 օգոստոսի 2001 թ. (ստուգման եղանակը, ամսաթիվը, գնահատականը)
2. Կենտրոնի ամրացման որակը ստուգված է բացումով 20 օգոստոսի 2001 թ. (ստուգման եղանակը, բացումով, մետաղյա ձողով)
Որակը լավ կամ կառուցման ընթացքում, ամսաթիվ, գնահատականը
3. Խարիսխների խորությունը և կոնստրուկցիան ստուգված է բացումով 20 օգոստոսի 2001 թ. (ստուգման եղանակը, ամսաթիվը, գնահատականը)
Որակը լավ կամ կառուցման ընթացքում, ամսաթիվ, գնահատականը
4. Տևողություն ըստ նախագծված ուղղությունների ստուգեց խմբի պետ Պողոսյան 20 օգոստոսի 2001 թ. (պաշտոն, ազգանուն, ամսաթիվ)
Կայանն ընդունված է ընդհանուր գնահատականով լավ և ենթակա է վճարման: Խմբի պետ Պողոսյան Վ. Ն. (ազգանուն,ստորագրություն, ամսաթիվ) 20 օգոստոսի 2001 թ. Կայանն ընդունված է գնահատականը՝ լավ Գլխավոր ինժեներ՝ Փիլիպոսյան ստորագրություն |
Ա Կ Տ
նոր ամրացման (լրացվում է նոր ամրացման դեպքում)
__________ 2001 թ. մենք, ստորև ստորագրողներս, ինժեներ-տեղագրող _____________ տեխնիկ-շինարար ________________ բանվոր _________________ կազմեցինք սույն ակտն այն մասին, որ նոր կայանը (կետը) « » դասի հետևյալ անվան տակ _______ համատեղված է կայանի հետ ____________________ նոր կենտրոնը համատեղված է ճիշտ հատակագծում կայանի անվանումը ___________________________________ հին և նոր կենտրոնների պլանային դիրքը կենտրոնները ցույց են տրված կենտրոնացման թերթում __________________________ նոր կենտրոնի վերին դրոշմանիշն ամրացված է ______ սմ _______________________ (վերև կամ ներքև, վերինի, միջինի, ներքինի հին կենտրոնների)
Ինժեներ-տեղագրող _________________________
տեխնիկ-շինարար __________________________
բանվոր ____________________________ |
Հավելված N 39
(խորհուրդ է տրվում)
Արբանյակային ԵՎ եռանկյունավորման ցանցերի կառուցման սխեմաների օրինակներ
Նկար 8.1. համատարած արբանյակային (եռանկյունավորման) ցանց
Նկար 8.2. եռանկյունների շղթա և հատում | Նկար 8.3. տեղադրում |
Պայմանական նշաններ
Եռանկյունավորման ելակետային կողմ Որոշվող կետ Եռանկյունավորման կողմերը երկկողմանի ուղղություններով |
Հավելված N 40
(պարտադիր)
Բերման տարրերի որոշումը
Գեոդեզիական խտացման ցանցերի և հանույթային ցանցերի զարգացման ընթացքում լինում են դեպքեր, երբ գեոդեզիական չափումները կատարվում են գործիքը (սարքի) կետի կենտրոնի հետ ոչ կենտրոնացված դիրքով կամ դիտոցային նշանառուն խախտված է կետի կենտրոնից (ռեդուկցիա): Կենտրոնացումների և ռեդուկցիաների տարրերը որոշվում են գրաֆիկորեն կենտրոնացման թերթի վրա:
Որոշումները կատարվում են երեք կայաններից այնպես, որ նախագծվող հարթությունները հատվեն մոտ 1200 կամ 600 անկյան տակ:
Նշանի C կենտրոնի, գործիքի (սարքի) J առանցքի և դիտոցային V նշանի նախագծումը կատարվում է ստուգված թեոդոլիտի (տախեոմետրի) օգնությամբ ուղղաձիգ շրջանի երկու դիրքերով, նշանի (կետի) բարձրությունից քիչ ավելի կամ հավասար հեռավորություններից:
Յուրաքանչյուր ինն ուղղություններից կենտրոնացման թերթի կողմերի վրա նշվում են չորսական կետ (երկու կետերով նշվում է ուղղությունը՝ ստացված մեկ շրջանով, և մյուս երկուսով՝ մյուս շրջանի համար):
Յուրաքանչյուր զույգ կետերի միջև նշվում է միջին կետը:
Միացնելով միանման միջին կետերն ուղիղ գծերով, ստանում են թեոդոլիտի կանգնման կետերից C, J և V կետերի պրոյեկցիաների հատումների ուղղությունները:
Եթե կետերի փոխարեն հատումներում ստացվում են անկապքային եռանկյունիներ, ապա փնտրվող կետերը նշում են այդ եռանկյունիների մեջ: Անկապքային եռանկյունիների կողմերը չպետք է լինեն 5 մմ-ից ավելի գործիքի առանցքի և կետի կենտրոնի նախագծման դեպքում և 10 մմ՝ դիտոցային գլանի (գլխիկի) նախագծման դեպքում:
Կենտրոնացման Le գծային տարրերը և Lr ռեդուկցիան չափում են կենտրոնացման թերթի վրա C կետից մինչև 7 կետը և C-ից V կետը 1 մմ-ի ճշտությամբ:
Կենտրոնացման Qc անկյունային տարրերը և Qr ռեդուկցիան կառուցում են գործիքի J առանցքի և դիտոցային V նշանի պրոյեկտման դեպքում, դրանք չափվում են անկյունաչափով անկյան փոքրագույն բաժանման ճշտությամբ ժամացույցի սլաքի ուղղությամբ տվյալ կետի կենտրոնի պրոյեկցիայի ուղղությունից մինչև մյուս երկու գծագրված երկու կետերի ուղղությունները:
Կետերի ուղղությունների միջև անկյունը, որը ստացվել է որպես գրաֆիկորեն չափված ուղղությունների տարբերություն չպետք է տարբերվի գործիքով կանգնած կետից չափված անկյունից ավելի քան 20, երբ lc(r)<10 սմ-ից, դեպքում, 10, երբ - 10≤ lc(r) ≤ 20 սմ-ի դեպքում և 0.50, երբ -lc(r) >20 սմ-ի դեպքում:
Գծային չափումների ժամանակ հեռաչափերի կենտրոնացման տարրերը և անդրադարձիչների ռեդուկցիաները որոշվում են այնպես, ինչպես և անկյունային դիտումների դեպքում, բայց կենտրոնացման թերթերի վրա պարտադիր գծագրվում է դեպի բոլոր այն կետերի ուղղությունները, որոնց վրա չափվել են հեռավորություններ:
Հեռաչափի և անդրադարձիչի չկենտրոնացման չափված հեռավորության ուղղումը հանդիսանում է կետի կենտրոնի և գործիքի կենտրոնի հատվածի պրոյեկցիան համապատասխան ուղղությունների վրա:
Կենտրոնացման և ռեդուկցիայի ուղղումը չափված գծերում ստանում են անմիջապես որոշման թերթից:
Բերման տարրերի գրաֆիկական որոշումը
(կենտրոնացման թերթ)
Եռանկունավորում 1 կարգ |
օբյեկտ 11.02.001 թերթ N 1 |
Պոլիգոնոմետրիա |
|
N 1 կետում |
25 օգոստոսի 2001թ. |
գծագրի վրա 89000/ |
դիտումներից 89003/ |
|
ստուգողական անկյուն. Բջնի |
|
N 1 - Հադիս |
|
|
Կենտրոնացման մասերը |
Ռեդուկցիայի մասերը |
l1=0.0345 |
l=0.0415 |
Q= 166000/ դեպի Բջնի կետ | Q= 112000/ Բջնի կետի համար |
Q= 255000/ դեպի Հադիս կետ |
Q= 201000/ Հադիս կետի համար |
Սկզբնական ուղղությունները դեպի Բջնի
Ուղղությունները դեպի կողմնորոշիչ կետեր.
Գծագրի վրա |
Դիտումներից |
Կետ Բջնի 0000/ |
0000/ |
Կետ Հադիս 89000/ | 89003/ |
Կողմնորոշիչ կետ N 1 264000/ |
264030/ |
Կողմնորոշիչ կետ N |
|
|
|
Որոշումները կատարեց |
Ստուգեց |
Բերման տարրերի գրաֆիկական որոշումը գծային չափումների դեպքում
(կենտրոնացման թերթ)
Պոլիգոնոմետրիա 4 դաս |
օբյեկտ 11.02.001 թերթ N 1 |
դեպի հյուսիսային կետ, բուրգ |
26 օգոստոսի 2001 թ. |
գծագրի վրա 151000/ |
դիտումներից 151017/ |
|
ստուգողական անկյուն. Բուգոր |
|
հյուսիսային - Լեռնային |
|
|
Կենտրոնացման մասերը |
Ռեդուկցիայի տարրերը |
dc- դեպի կետ | dr= +0.037 մ Բջնի կետի համար |
dc- դեպի կետ |
dr= -0.031 մ Հադիս կետի համար |
Նկ. 9.2
Որոշումները կատարեց |
Ստուգեց |
Հավելված N 41
(խորհուրդ է տրվում)
Պոլիգոնոմետրիական 4 դասի, 1 ԵՎ 2 կարգերի կառուցման սխեմաների օրինակները
Նկար 10.1. Պոլիգոնոմետրիական ընթացքների |
Նկար 10.2. Պոլիգոնոմետրիական ընթացքների |
Հասարակ պարալակտիկ օղակներ
Բարդ պարալակտիկ օղակներ
Պայմանական նշաններ
բարձր դասի պոլիգոնոմետրիա եռանկյունավորման ելակետ և ելման հանգուցային կետ պոլիգոնոմետրիական ընթացք |
l - բազիսային ժեզլի երկարությունը
b - օժանդակ բազիսի երկարությունը
s - չափվող գծի երկարությունը
a, f - պարալակտիկ անկյուններ
Y- բազիսին կից անկյուն
Հավելված N 42
(պարտադիր)
1:500; 1:1000 և 1:2000 մասշտաբների հատակագծերի շրջանակների (ռամկաների) ձևավորման օրինակ
Շիրակի մարզ, Գյումրու տարածք
Հավելված N 43
Հանութային հիմքի կետերի կոորդինատների որոշման սխեմաների տեսակներ
Արբանյակային որոշման
O - Գեոդեզիական բարձունքային հիմքի կետերը
△ - Գեոդեզիական պլանային հիմքի կետերը
o - Հանութային հիմքի կետերը
նկար 12.1 Հանութային հիմքի զարգացումը ցանցերի կառուցման եղանակով
ա
նկ. 12.2
△ - Գեոդեզիական հիմքի կետ
o - Հանութային հիմքի կետ
Հանութային հիմքի զարգացումը կախված կետերի որոշման եղանակից
Բևեռային եղանակ
նկ. 12.3 |
նկ. 12.4 |
նկ. 12.5 |
նկ. 12.6 ա-ուղիղ, |
Հատումներ բ-հակադարձ, |
գ-համակցված |
Եռանկյունների կառուցումներով հանութային հիմքի զարգացումը
նկ.1 2.7 |
նկ. 12.8 |
նկ. 12.9 |
գեոդեզիական քառանկյուն |
անկյան տեղադրում |
կենտրոնական |
նկ.12.10 եռանկյունիների շղթա երկու կողմերի միջև |
նկ.12.11 |
|
նկ.12.12 եռանկյունիների շղթա երկու կողմերի միջև |
Պայմանական նշաններ
ելային կետ,
● - որոշվող կետ,
o - օժանդակ,
= - չափված գծի,
- - - ----- միակողմանի ուղղություններ
Հավելված N 44
Կարճ տեղեկություններ արբանյակային նավիգացիոն ГЛОНАСС եվ GPS համակարգերի մասին
1. ՌԴ գլոբալ նավիգացիոն արբանյակային ГЛОНАСС համակարգը լիարժեք ծավալումից (տարածումից) հետո պետք է ընդգրկի 24 արբանյակ, որոնք գտնվում են 19100 կմ բարձրության վրա {22}:
2. ԱՄՆ-ի գլոբալ նավիգացիոն արբանյակային համակարգը (GPS Global Positioning System) ընդգրկում է 21 աշխատանքային և 3 պահուստային արբանյակներ, որոնք գտնվում են 20000 կմ բարձրության վրա {23}:
3. Արբանյակային ռադիոազդանշանների ընդունման սարքավորումը (արբանյակային ընդունիչ) բաղկացած է հետևյալ ֆունկցիոնալ մասերից.
1. Անտենաներ,
2. Ռադիոազդանշաններ ընդունիչ հանգույց (բլոկ),
3. Միկրոհամակարգիչ,
4. Ղեկավարման հանգույց,
5. Ինդիկացման հանգույց դիսփլեյի հետ,
6. Հիշողության սարքավորում,
7.Կապի սարքավորում արտաքին ԷՀՄ-ով,
8. Սնուցող հանգույց:
Ղեկավարման հանգույցի ստեղնաշարը և դիսփլեյը հանդիսանում են ընդունիչի ղեկավարման օրգանները,
9. Արբանյակային ընդունիչների կոնկրետ կոնստրուկցիաներում թվարկած մասերը կարող են համախմբված լինել մեկ կամ մի քանի հանգույցներում: Օրինակ, «հողաչափ Λ | »:
Ընդունիչում գոյություն ունեն հետևյալ հանգույցները. անտենա, Ռադիոազդանշանների ընդունման հանգույց (հաղորդիչ, սենսոր): Հսկիչ 3),4),5),6),7) խմբավորիչ մասով: Սնուցող հանգույց (ակումուլյատորային մարտկոց):
4. Գեոդեզիական կառուցվածքների և հանույթների զարգացման արբանյակային տեխնոլոգիայի էությունը հանդիսանում է գլոբալ նավիգացիոն արբանյակային համակարգի և հաշվարկային մշակումների համակարգի ( ԷՀՄ և ծրագրավորման ապահովում) օգտագործումը տեղանքի կետերի կոորդիանտները և բարձրությունները ստանալու համար:
5. Կետի դիրքի որոշումը, որի վրա տեղադրված է արբանյակային ընդունիչը, իրագործում են այդ ընդունիչի օգնությամբ չափված ծածկագրային և փուլային կեղծ հեռավորությունները մինչև դիտարկվող արբանյակները:
6. Կետի դիրքը կարելի է ստանալ նաև օգտագործելով գլոբալ նավիգացիոն արբանյակային համակարգերը ինչպես բացարձակ, այնպես էլ հարաբերական որոշումների միջոցով: Բացարձակ որոշումները կատարում են տարածական հակադարձ գծային հատումների սկզբունքով, որը առաջացել է չափված կեղծ հեռավորություններից մինչև 4 և ավելի արբանյակներից մեկ կետում, որի վրա տեղադրված է արբանյակային ընդունիչը:
Տեղաբաշխվածության բացարձակ որոշումների ճշտությունը սահմանափակված է մի շարք գործոններով, որոնց շարքերում հիմնականը հանդիսանում է էֆեմերիդ արբանյակների անկապքների ազդեցությունը:
Բացարձակ եղանակով տեղաբաշխվածության որոշման ստանդարտ ճշտությունը չի գերազանցում 5 մ, որը թույլ չի տալիս այդ եղանակը օգտագործել խոշոր մասշտաբի հանույթների իրականացման համար:
Հարաբերական որոշումների եղանակը հիմնված է համահարաբերական անկապքների փոխհատուցումների վրա (որոնք վերաբերում են նաև էֆմերիդային անկապքներին ( ծածկագրային և փուլային կեղծ հեռավորությունների միաժամանակ որոշումների ժամանակ մինչև տվյալ (միևնույն) աստղային համակարգի արբանյակները երկու կետերից:
7. Արբանյակային որոշումները հարաբերական եղանակներով ապահովում են որոշելու գեոդեզիական հիմքի կետերի պլանային կոորդինատները և բարձրությունները կոորդինատային և բարձունքային համակարգում:
Հավելված N 45
(տեղեկատու)
Արբանյակային որոշումների եղանակները
1. Արբանյակային հարաբերական որոշումներն իրագործելու (իրականացնելու) համար օգտագործվում են երկու կամ ավելի ընդունիչներ, որոնցից մեկը հանդիսանում է բազային կայան, իսկ մյուսները՝ շարժական:
2. Բազային և շարժական կայաններից արբանյակների դիտումներն իրագործվում են ընդունումներով, համախմբված սեանսներում:
3. Տարբերվում են հետևյալ արբանյակային հարաբերական որոշումների եղանակները.
3.1 Ստատիկ եղանակ, որի դեպքում շարժական կայանից կետի վրա դիտարկումը կատարվում է մեկ շրջանով ոչ պակաս 1ժամ տևողությամբ:
3.2 Արագ ստատիկ եղանակ, որի դեպքում շարժական կայանից դիտարկումը կետի վրա կատարվում է մեկ շրջանով 5-20 րոպե տևողությամբ: Կետի վրա դիտարկման տևողության կողմնորոշիչ նշանակությունը արագ ստատիկ եղանակի դեպքում, կախված դիտարկվող արբանյակների քանակից բերված են աղյուսակ 14.1-ում:
Դիտարկումների տևողությունը արագ ստատիկ եղանակի կիրառման դեպքում:
դիտարկվող արբանյակների քանակը |
Դիտարկումների շարունակելիությունը րոպե |
H |
≥ 20 |
3.4 Կինեմատիկ եղանակ, որի դեպքում շարժական կայանը գտնվում է անընդհատ աշխատանքային ռեժիմում, ինչպես կետի վրա ընդունում կատարելու ժամանակ, այնպես էլ կետից-կետ տեղափոխման ժամանակ: Նրա տարբերատեսակներից է հանդիսանում «Կանգնիր-գնա» եղանակը և անընդհատ կինեմատիկայի եղանակը: «Կանգնիր-գնա» եղանակի աշխատանքը դասավորվում է շարժական կայանի ընդունում կատարումից, որը կոչվում է սկզբնատառայնություն (մոտ 15 րոպե տևողությամբ) և կատարումներ, կապված այդ սկզբնատառայնությունից ընդունումները որոշվող կետերի վրա մինչև 1 րոպե շարունակելիությամբ:
Անընդհատ կինեմատիկ եղանակի իրագործման դեպքում ընդունում կատարելու համար կետերի վրա կանգ առնել չի պահանջվում: Սակայն այդ եղանակի ճշտությունը տեղագրական հանույթների արտադրության համար բավարար չէ, և օգտագործել այդ աշխատանքների համար խորհուրդ չի տրվում...
4. 3.3-3.4 կետերում տրված բոլոր ցուցումներն ընդունված է անվանել դինամիկական (տես. {24,25}):
Հավելված N 46
(պարտադիր)
Կ Ա Տ Ա Լ Ո Գ
Պլանային և բարձունքային ճանաչման կետերի կոորդինատների և բարձրությունների
օբյեկտ______________________
սեղան (հատակագիծ)____________
մասշտաբ___________________
N |
հանույթի |
կոորդինատները |
բարձրությունը |
բարձրությունը |
ծանոթություն |
Այն դեպքերում, երբ արբանյակային սարքավորումների շահագործման փաստաթղթերը ընդգրկում են ստույգ ցուցումներ դիտումների նվազագույն անհրաժեշտ ժամանակի այս կամ այն եղանակի իրագործման համար, նախագծման և արբանյակային որոշումների ընթացքում նպատակահարմար է դիտարկումների ժամանակը ճշտել համաձայն շահագործման փաստաթղթերի ցուցումների:
հ/հ |
ճանաչման կետի |
կետի |
X |
Y |
կենտրոնները |
հողի |
e |
1 |
2 |
3 |
4 |
5 |
6 |
7 |
8 |
|
|
|
|
|
|
|
|
Կատալոգը կազմեց |
________________________________________________ պաշտոն, անվանատառեր, ազգանուն, ստորագրություն, ամսաթիվ |
Կատալոգի տվյալները հաշվվել է հաշվարկներով և բանաձևերով | |
կարդաց |
________________________________________________ պաշտոնը, անվանատառեր, ազգանուն, ստորագրություն, ամսաթիվ |
լսեց |
________________________________________________ պաշտոն, անվանատառեր, ազգանուն, ստորագրություն, ամսաթիվ |
ստուգեց |
________________________________________________ պաշտոն, անվանատառեր, ազգանուն, ստորագրություն, ամսաթիվ |
